Sustainable Ecotourism through Cutting-Edge Technologies
Abstract
:1. Introduction
Responsible travel to natural areas that conserves the environment, socially and economically sustains the well-being of local people, and creates knowledge and understanding through interpretation and education of all involved (including staff, travellers, and community residents).
- Better infrastructures and access to ecotourism destinations.
- A pattern change from mass to personalised tourism.
- Increased interest in the protection of the environment.
- A shift in the perceived profile of an ecotourist, as different and eco-friendly
- Citizens’ engagement in the protection of the environment.
- Potential contributions to local economies.
2. Objectives of Project AdVENt
- (a)
- To research on the vegetation of the region of interest and to create an online resource of the vascular plants of the Oiti and Parnassus National Parks available to the scientific community and the general public, aiming to promote research in the relevant fields of botany, ecology, etc.;
- (b)
- To digitise in 2D, 3D, and 360° selected natural and cultural treasures of the region for the creation of new rich digital content for the presentation and promotion of the region;
- (c)
- To develop an integrated Augmented Reality (AR) mobile application to enrich the tourist experience, particularly customised for the accommodation of mountaineering and hiking;
- (d)
- To research and develop AI technology and mobile applications for the image-based identification of plant species of the region of interest.
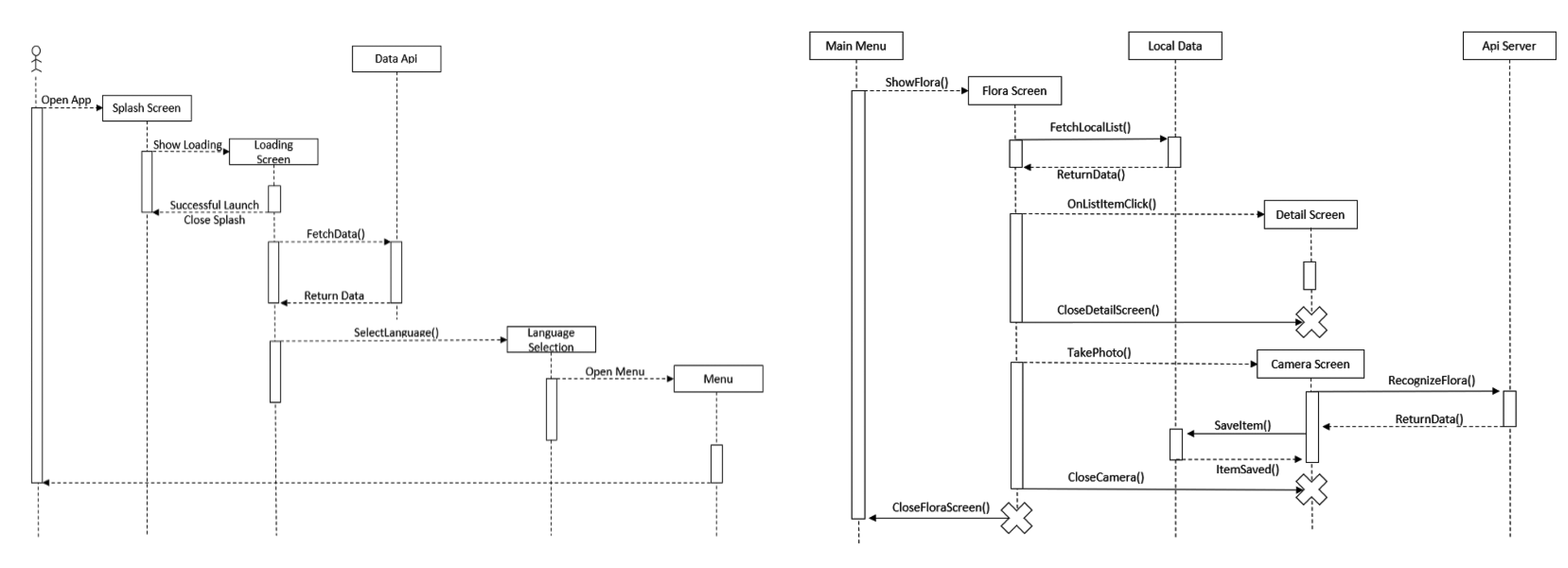
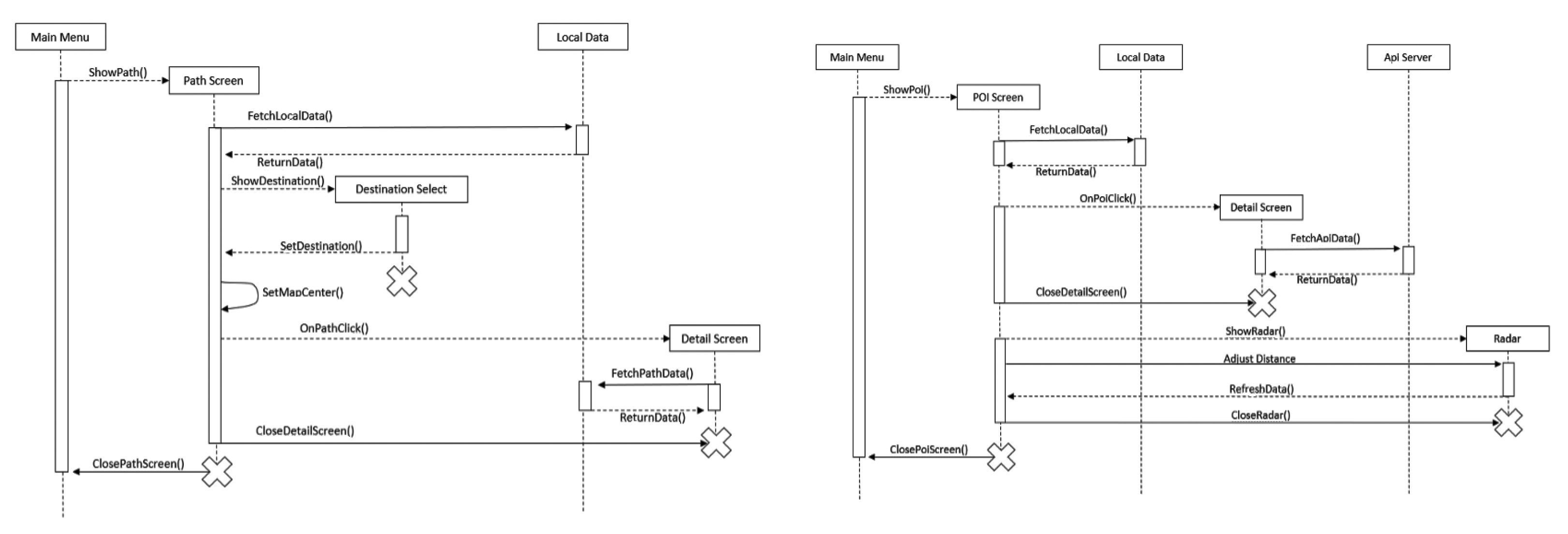
3. Innovation in AdVENt
3.1. Resource of Vascular Plants of the Oiti and Parnassus National Parks
3.1.1. Methodology
3.1.2. Implementation and Results
3.2. Digitisation and Content Creation
3.2.1. Methodology
3.2.2. Implementation and Results
3.3. Cutting-Edge Technologies
3.3.1. Methodology
3.3.2. Implementation and Results
4. AdVENt’s Contribution and Multiplier Effects
5. Conclusions
Author Contributions
Funding
Institutional Review Board Statement
Informed Consent Statement
Data Availability Statement
Acknowledgments
Conflicts of Interest
References
- Casson, L. Travel in the Ancient World; JHU Press: Baltimore, MD, USA, 1994. [Google Scholar]
- Smith, P. The History of Tourism: Thomas Cook and the Origins of Leisure Travel; Psychology Press: London, UK, 1998; Volume 4. [Google Scholar]
- Jayapalan, N. Introduction to Tourism; Atlantic Publishers & Dist: Ghaziabad, India, 2001. [Google Scholar]
- Gyr, U. The history of tourism: Structures on the path to modernity. Notes 2010, 2, 1–18. [Google Scholar]
- Walton, J.K.; Ray, M. Tourism-Encyclopedia Britannica. 2012. Available online: https://www.britannica.com/topic/tourism (accessed on 29 December 2021).
- Blondel, J.; Aronson, J. Biology and Wildlife of the Mediterranean Region; Oxford University Press: Oxford, UK, 1999. [Google Scholar]
- Médail, F. Mediterranean. In Encyclopedia of Ecology; Jørgensen, S.E., Ed.; Elsevier: Amsterdam, The Netherlands, 2008. [Google Scholar]
- Ollero, H.S.; Saiz, J.M. Flora vascular endémica española. In La diversidad biológica de España; Pearson Educación Madrid: Madrid, Spain, 2002; pp. 175–195. [Google Scholar]
- Martín-Bravo, S.; Valcárcel, V.; Vargas, P.; Luceño, M. Geographical speciation related to Pleistocene range shifts in the western Mediterranean mountains (Reseda sect. Glaucoreseda, Resedaceae). Taxon 2010, 59, 466–482. [Google Scholar] [CrossRef]
- Solomou, A.D.; Sfougaris, A. Predicting Woody Plant Diversity as Key Component of Ecosystems: A Case Study in Central Greece. Int. J. Agric. Environ. Inf. Syst. (IJAEIS) 2019, 10, 1–20. [Google Scholar] [CrossRef] [Green Version]
- Solomou, A.D.; Sfougaris, A. Contribution of Agro-Environmental Factors to Yield and Plant Diversity of Olive Grove Ecosystems (Olea europaea L.) in the Mediterranean Landscape. Agronomy 2021, 11, 161. [Google Scholar] [CrossRef]
- Hobbs, R.J.; Richardson, D.M.; Davis, G. Mediterranean-type ecosystems: Opportunities and constraints for studying the function of biodiversity. In Mediterranean-Type Ecosystems; Springer: Berlin/Heidelberg, Germany, 1995; pp. 1–42. [Google Scholar]
- Dimopoulos, P.; Raus, T.; Bergmeier, E.; Constantinidis, T.; Iatrou, G.; Kokkini, S.; Strid, A.; Tzanoudakis, D. Vascular plants of Greece: An annotated checklist; Botanic Garden and Botanical Museum Berlin-Dahlem: Berlin, Germany, 2013; Volume 31, 372p. [Google Scholar]
- Dimopoulos, P.; Raus, T.; Bergmeier, E.; Constantinidis, T.; Iatrou, G.; Kokkini, S.; Strid, A.; Tzanoudakis, D. Vascular plants of Greece: An annotated checklist. Supplement. Willdenowia 2016, 46, 301–347. [Google Scholar] [CrossRef] [Green Version]
- Dionisio, M.; Nisi, V.; Nunes, N.; Bala, P. Transmedia storytelling for exposing natural capital and promoting ecotourism. In Proceedings of the International Conference on Interactive Digital Storytelling, Los Angeles, CA, USA, 15–18 November 2016; Springer: Berlin/Heidelberg, Germany, 2016; pp. 351–362. [Google Scholar]
- Cranmer, E.E. Designing valuable augmented reality tourism application experiences. In Augmented Reality and Virtual Reality; Springer: Berlin/Heidelberg, Germany, 2019; pp. 73–87. [Google Scholar]
- tom Dieck, M.C.; Jung, T.; Michopoulou, E. Experiencing virtual reality in heritage attractions: Perceptions of elderly users. In Augmented Reality and Virtual Reality; Springer: Berlin/Heidelberg, Germany, 2019; pp. 89–98. [Google Scholar]
- Armingeon, M.; Komani, P.; Zanwar, T.; Korkut, S.; Dornberger, R. A case study: Assessing effectiveness of the augmented reality application in Augusta Raurica. In Augmented Reality and Virtual Reality; Springer: Berlin/Heidelberg, Germany, 2019; pp. 99–111. [Google Scholar]
- Han, D.I.D.; Weber, J.; Bastiaansen, M.; Mitas, O.; Lub, X. Virtual and augmented reality technologies to enhance the visitor experience in cultural tourism. In Augmented Reality and Virtual Reality; Springer: Berlin/Heidelberg, Germany, 2019; pp. 113–128. [Google Scholar]
- Moorhouse, N.; Jung, T.; tom Dieck, M.C. Tourism marketers perspectives on enriching visitors city experience with augmented reality: An exploratory study. In Augmented Reality and Virtual Reality; Springer: Berlin/Heidelberg, Germany, 2019; pp. 129–144. [Google Scholar]
- Lama, S.; Pradhan, S. ICT in Sustainable Tourism: A Systematic Review. 2020. Available online: https://aisel.aisnet.org/cgi/viewcontent.cgi?article=1058&context=acis2020 (accessed on 29 December 2021).
- Tang, L.; Zhong, H. The Construction and Application of Virtual Reality Technology in the New Ecotourism Model. In Proceedings of the 2021 4th International Conference on Information Systems and Computer Aided Education, Dalian, China, 24–26 September 2021; pp. 2231–2236. [Google Scholar]
- Karetsos, G.; Solomou, A.D.; Trigas, P.; Tsagari, K. The vascular flora of Mt. Oiti National Park and the surrounding area in Greece. J. For. Sci. 2018, 64, 435–454. [Google Scholar] [CrossRef] [Green Version]
- UNEP. World atlas of desertification. In Edward Arnold, London; UNEP: Sao Jose dos Campos, Brazil, 1992. [Google Scholar]
- Thornthwaite, C.W. An approach toward a rational classification of climate. Geogr. Rev. 1948, 38, 55–94. [Google Scholar] [CrossRef]
- Thornthwaite, C.W.; Mather, J.R. The water balance. Publ. Climatol. 1955, 8, 1–104. [Google Scholar]
- Tsiros, I.X.; Nastos, P.; Proutsos, N.D.; Tsaousidis, A. Variability of the aridity index and related drought parameters in Greece using climatological data over the last century (1900–1997). Atmos. Res. 2020, 240, 104914. [Google Scholar] [CrossRef]
- Strid, A. The mountain flora of Greece with special reference to the Anatolian element. Proc. R. Soc. Edinburgh Sect. B Biol. Sci. 1986, 89, 59–68. [Google Scholar] [CrossRef]
- Strid, A.; Tan, K. Mountain Flora of Greece; Edinburgh University Press: Edinburgh, UK, 1991; Volume 2. [Google Scholar]
- Strid, A.; Tan, K. (Eds.) Flora Hellenica: Gymnospermae to Caryophyllaceae; Koeltz Sientific Books: Königstein, Germany, 1997; Volume 1. [Google Scholar]
- Karetsos, G. The Ecology and Vegetation Study of Mount Oiti. Ph.D. Thesis, University of Patras, Patras, Greek, 2002. [Google Scholar]
- Strid, A.; Tan, K. (Eds.) Flora Hellenica: Nymphaeaceae to Platanaceae; A.R.G. Ganter Verlag: Ruggell, Liechtenstein, 2003; Volume 2. [Google Scholar]
- Solomou, A.; Karetsos, G.; Trigas, P.; Proutsos, N.; Avramidou, E.; Korakaki, E.; Kougioumtzis, K.; Goula, A.; Pavlidis, G.; Stamouli, S.; et al. Vascular Plants of Oiti and Parnassos National Parks of Greece, as Important Components of Biodiversity and Touring Experiences. In Proceedings of the 9th International Conference on Information and Communication Technologies in Agriculture, Food & Environment, Thessaloniki, Greece, 24–27 September 2020. [Google Scholar]
- Maxted, N.; Ford-Lloyd, B.V.; Jury, S.; Kell, S.; Scholten, M. Towards a definition of a crop wild relative. Biodivers. Conserv. 2006, 15, 2673–2685. [Google Scholar] [CrossRef]
- Kritsis, K.; Kiourt, C.; Stamouli, S.; Sevetlidis, V.; Solomou, A.; Karetsos, G.; Katsouros, V.; Pavlidis, G. GRASP-125: A Dataset for Greek Vascular Plant Recognition in Natural Environment. Sustainability 2021, 13, 11865. [Google Scholar] [CrossRef]
- Giuffrida, M.V.; Minervini, M.; Tsaftaris, S. Learning to Count Leaves in Rosette Plants. In Proceedings of the Computer Vision Problems in Plant Phenotyping (CVPPP), Swansea, UK, 10 September 2015; pp. 1.1–1.13. [Google Scholar] [CrossRef] [Green Version]
- Dobrescu, A.; Valerio Giuffrida, M.; Tsaftaris, S.A. Leveraging Multiple Datasets for Deep Leaf Counting. In Proceedings of the IEEE International Conference on Computer Vision (ICCV) Workshops, Venice, Italy, 22–29 October 2017. [Google Scholar]
- Dobrescu, A.; Valerio Giuffrida, M.; Tsaftaris, S.A. Understanding Deep Neural Networks for Regression in Leaf Counting. In Proceedings of the IEEE/CVF Conference on Computer Vision and Pattern Recognition (CVPR) Workshops, Nashville, TN, USA, 20–25 June 2019. [Google Scholar]
- Schunck, D.; Magistri, F.; Rosu, R.A.; Cornelißen, A.; Chebrolu, N.; Paulus, S.; Léon, J.; Behnke, S.; Stachniss, C.; Kuhlmann, H.; et al. Pheno4D: A spatio-temporal dataset of maize and tomato plant point clouds for phenotyping and advanced plant analysis. PLoS ONE 2021, 16, 1–18. [Google Scholar] [CrossRef] [PubMed]
- Rzanny, M.; Mäder, P.; Deggelmann, A.; Chen, M.; Wäldchen, J. Flowers, leaves or both? How to obtain suitable images for automated plant identification. Plant Methods 2019, 15, 1–11. [Google Scholar] [CrossRef] [PubMed]
- Smilkov, D.; Thorat, N.; Kim, B.; Viégas, F.B.; Wattenberg, M. SmoothGrad: Removing noise by adding noise. arXiv 2017, arXiv:1706.03825. [Google Scholar]
- Chattopadhay, A.; Sarkar, A.; Howlader, P.; Balasubramanian, V.N. Grad-CAM++: Generalized gradient-based visual explanations for deep convolutional networks. In Proceedings of the 2018 IEEE Winter Conference on Applications of Computer Vision (WACV), Lake Tahoe, NV, USA, 12–15 March 2018; pp. 839–847. [Google Scholar] [CrossRef] [Green Version]





















| Field Name | Field Description |
|---|---|
| Group | The large group (i.e., Pteridophytes, Gymnosperms, or Angiosperms) to which the species belongs |
| Family | Family of the species |
| Genus | Genus of the species |
| Taxon | Species/subspecies |
| Author(s) citation | Authorship of the species |
| Scientific name | Valid scientific name of the species |
| Common name | Common name of the species |
| National extinction risk | National IUCN Red List threat category of the species |
| Global extinction risk | Global IUCN Red List threat category of the species |
| Status | Characterisation of the species as native, alien, and range restricted according to [13] |
| Endemic | Species with a distribution restricted to the territory of Greece |
| Crop wild relative | Indication that the species is a wild relative of a crop plant according to the definition provided by [34] |
| Medicinal | Indication that the species has a known medicinal use |
| Regional distribution | Distribution of the species in the 13 floristic regions of Greece according to [13] |
| Life-form categories | Life-form category of the species according to [13] |
| Habitat categories | Habitat categories of the species according to [13] |
| Flowering period | Starting and ending months of the flowering period of the species |
| Description | Description of the main morphological characters of the species |
| Other information | Additional available information for the species, e.g., traditional uses, historical data, mythology and art, etc. |
| References | The available references related to the species |
Publisher’s Note: MDPI stays neutral with regard to jurisdictional claims in published maps and institutional affiliations. |
© 2022 by the authors. Licensee MDPI, Basel, Switzerland. This article is an open access article distributed under the terms and conditions of the Creative Commons Attribution (CC BY) license (https://creativecommons.org/licenses/by/4.0/).
Share and Cite
Pavlidis, G.; Solomou, A.; Stamouli, S.; Papavassiliou, V.; Kritsis, K.; Kiourt, C.; Sevetlidis, V.; Karetsos, G.; Trigas, P.; Kougioumoutzis, K.; et al. Sustainable Ecotourism through Cutting-Edge Technologies. Sustainability 2022, 14, 800. https://doi.org/10.3390/su14020800
Pavlidis G, Solomou A, Stamouli S, Papavassiliou V, Kritsis K, Kiourt C, Sevetlidis V, Karetsos G, Trigas P, Kougioumoutzis K, et al. Sustainable Ecotourism through Cutting-Edge Technologies. Sustainability. 2022; 14(2):800. https://doi.org/10.3390/su14020800
Chicago/Turabian StylePavlidis, George, Alexandra Solomou, Spyridoula Stamouli, Vassilis Papavassiliou, Kosmas Kritsis, Chairi Kiourt, Vasileios Sevetlidis, George Karetsos, Panayiotis Trigas, Konstantinos Kougioumoutzis, and et al. 2022. "Sustainable Ecotourism through Cutting-Edge Technologies" Sustainability 14, no. 2: 800. https://doi.org/10.3390/su14020800
APA StylePavlidis, G., Solomou, A., Stamouli, S., Papavassiliou, V., Kritsis, K., Kiourt, C., Sevetlidis, V., Karetsos, G., Trigas, P., Kougioumoutzis, K., Goula, K., Proutsos, N., Pistikos, G., Theodoridis, Y., Galanopoulos, E., Paraskevas, N., Foskolou, U., & Papadopoulos, M. (2022). Sustainable Ecotourism through Cutting-Edge Technologies. Sustainability, 14(2), 800. https://doi.org/10.3390/su14020800

