Assessing the Structural Behavior of a New UHPC-Infilled Top Chords Integrated Deck Plate System at Construction Stage
Abstract
1. Introduction
2. Experimental Program
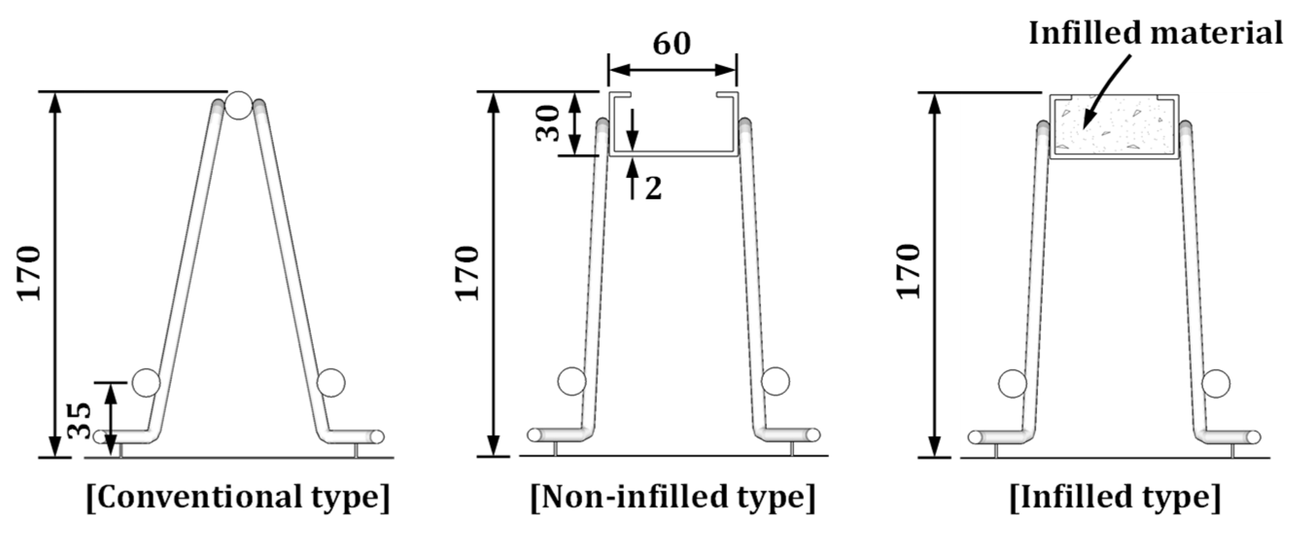
2.1. Test Specimens
2.2. Testing Equipment and Procedure
3. Test Results and Analysis
4. Theoretical Strength Estimation Process of the Proposed Deck Plate System
4.1. Theoretical Strength Estimation Based on Bending Failure Mechanism
4.2. Theoretical Strength Estimation Based on Shear Failure Mechanism
4.3. Comparison between the Results of the Test and Proposed Estimation Process
5. Conclusions
- (1)
- The proposed deck plate system retains a much higher peak strength and initial stiffness than the conventional steel wire-integrated deck plate system. The test results indicate that the values of the peak strength and initial stiffness of the proposed deck plate specimens are at least two-times greater than those of the conventional deck plate specimen (D13-X), confirming the effectiveness of the proposed system.
- (2)
- The theoretical strength estimation process developed in this study can predict the failure modes and peak strength of the proposed deck plate system accurately. With the use of the effective length factor of 1.0, it was able to accurately predict the failure modes of all test specimens except specimen CM-D100, and the maximum relative error of peak strength estimation is only approximately 7%.
- (3)
- The use of calibrated effective length factors can improve the theoretical strength estimation of the proposed deck plate system. For example, it was able to reduce the relative error in the peak strength of D13-X specimen by approximately 43% and to predict the failure modes of all the test specimens accurately. However, this calibration was based on a limited number of test data, and thus. it may be improved by performing more tests on the proposed deck plate system.
- (4)
- The peak strength and initial stiffness of the proposed deck plate system increase with the increasing amount of infilled material. The comparison between the test results of the two specimens with no (CX-X0) and fully infilled material (CU-D100) shows that the peak strength and initial stiffness of the latter are 76% and 34% higher than those of the former, respectively.
- (5)
- The buckling of compression components is the main failure mode of the proposed deck plate system at construction stage. The test specimens with no or partially infilled material failed by the buckling of top chords, while those with fully infilled material by the buckling of lattice members. The transition from the former to the latter occurs somewhere between the infilled amounts of 50% and 60%. It is recommended to use a larger amount of infilled material than the transition value for economic feasibility of the proposed deck plate system.
- (6)
- The use of UHPC as infilled material, instead of high-strength mortar, and inner shear connectors can increase the peak strength and initial stiffness of the proposed system. The test results show that that specimen infilled with UHPC (CU-D100) has a peak load and initial stiffness 14% and 19% higher than the one infilled with high-strength mortar (CM-D100), respectively. Similarly, the specimen with inner shear connectors (CU-D100) has a peak load and initial stiffness 8% and 14% higher than the one without them (CX-D100), respectively.
Author Contributions
Funding
Institutional Review Board Statement
Informed Consent Statement
Data Availability Statement
Conflicts of Interest
References
- Yoo, B.U. A Study on Structural Behavior of Composite Deck Plate using a Pre-assembled RE-bar Truss. J. Korea Inst. Struct. Maint. Ins. 2006, 10, 129–136. (In Korean) [Google Scholar]
- Kim, S.B.; Park, D.S.; Kim, S.S. A Study on the Development of New-shaped Shear Connector with Vertical Bars of Deck Plate. J. Archit. Inst. Korea 2011, 27, 47–54. (In Korean) [Google Scholar]
- Lee, S.K.; Lee, Y.J. An Evaluation of Structural Safety for Steel Wire-Integrated Deck Plate System. J. Archit. Inst. Korea 2007, 23, 43–50. (In Korean) [Google Scholar] [CrossRef]
- Woo, S.Y.; Jung, H.M.; Lee, S.H.; Chae, H.S.; Choi, S.M. An Evaluation of Bending and Shear Resisting Strengths of Wire-Integrated Deck Plate System using Lightweight Concrete. J. Archit. Inst. Korea 2008, 28, 293–296. (In Korean) [Google Scholar]
- Lee, Y.J. Test research of Structural Safety for Steel Wire-Integrated Deck Plate System. J. Korea. Inst. Struct. Maint. Insp. 2010, 14, 220–228. (In Korean) [Google Scholar]
- Kim, Y.J.; Oh, S.H.; Yoon, M.H.; Lee, Y.H.; Kim, H.C.; Byon, E.H. Experimental Investigation of Deck plate System with Non-Welding Truss Type Deformed Steel Wires (TOX Deck Plate Slab). Int. J. Steel Struct. 2009, 9, 315–327. [Google Scholar] [CrossRef]
- Shin, J.W.; Lee, J.E.; Lee, Y.J.; Kim, B.Y. Experimental and Numerical Investigation on Structural Performance of Steel Deck Plate Bolted with Truss Girder. Appl. Sci. 2019, 9, 3166. [Google Scholar] [CrossRef]
- Kim, S.B.; Kang, M.J.; Kim, S.S. An Experimental Study on Structural Performance Evaluation of Steel Wire-Integrated Deck plate. Int. J. Steel Struct. 2015, 15, 945–958. [Google Scholar] [CrossRef]
- Lee, J.E.; Lee, Y.J.; Lee, S.K.; Jung, B.J. An Experimental Study for the Evaluation of the Structural Behavior Eco Deck Plate. J. Korea Inst. Struct. Maint. Insp. 2013, 17, 40–48. (In Korean) [Google Scholar] [CrossRef]
- Lee, Y.J.; Yoon, S.C.H. Development of Steel Wire-Integrated Deck Plate Applicable to Slab with 180 mm Thickness. J. Korea Inst. Struct. Maint. Insp. 2012, 16, 89–98. (In Korean) [Google Scholar]
- Kim, S.B.; Park, J.Y.; Kim, S.S. Performance Evaluation of Steel Wire-integrated Void Deck plate with Omega Type Plate. J. Archit. Inst. Korea 2011, 27, 31–38. (In Korean) [Google Scholar]
- Yoo, D.Y.; Yoon, Y.S. A Review on Structural Behavior, Design, and Application of Ultra-High-Performance Fiber-Reinforced concrete. Int. J. Concr. Struct. Mater. 2016, 10, 125–142. [Google Scholar] [CrossRef]
- Abdulhameed, A.A.; Hanoon, A.N.; Abdulhameed, H.A.; Banyhussan, Q.S.; Mansi, A.S. Push-out test of steel–concrete–steel composite sections with various core materials: Behavioural study. Arch. Civ. Mech. Eng. 2021, 21, 17. [Google Scholar] [CrossRef]
- Hanoon, A.N.; Abdulhameed, A.A.; Kharnoob, M.M.; Abdulhameed, H.A. Push-Out Test of Steel-Concrete-Steel Composite Section for Pre-Installation and Post-Installation Techniques of Shear Connectors. Key Eng. Mater. 2020, 862, 12–16. [Google Scholar] [CrossRef]
- Kim, Y.H.; Kang, J.Y.; Koo, H.B.; Kim, D.J. Pull-out resistance capacity of a new perfobond shear connector for steel pile cap strengthening. Adv. Mater. Sci. Eng. 2016, 2016, 1374689. [Google Scholar] [CrossRef]
- Dolati, S.S.K.; Mehrabi, A. Review of available systems and materials for splicing prestressed-precast concrete piles. Structures 2021, 30, 850–865. [Google Scholar] [CrossRef]
- Dolati, S.S.K.; Mehrabi, A. Alternative systems and materials for splicing prestressed-precast concrete piles. Transp. Res. Rec. 2021, 03611981211052949. [Google Scholar] [CrossRef]
- Kim, Y.H.; Kang, J.Y.; Kim, S.H.; Kim, D.J. Structural performance of steel pile caps strengthened with perfobond shear connectors under lateral loading. Appl. Sci. 2016, 6, 317. [Google Scholar] [CrossRef]
- Rhim, H.C.; Kang, J.Y.; Kim, Y.H.; Kim, D.J. Push-out test and analysis of steel pile caps strengthened with perfobond shear connectors. Mag. Concr. Res. 2020, 72, 182–193. [Google Scholar] [CrossRef]
- Kang, S.H.; Lee, J.H.; Hong, S.G.; Moon, J. Microstructural investigation of heat-treated ultra-high performance concrete for optimum production. Materials 2017, 10, 1106. [Google Scholar] [CrossRef] [PubMed]
- Kang, S.H.; Hong, S.G.; Moon, J. The effect of superabsorbent polymer on various scale of pore structure in ultra-high performance concrete. Constr. Build. Mater. 2018, 172, 29–40. [Google Scholar] [CrossRef]
- ASTM A370-12a; Standard Test Methods and Definitions for Mechanical Testing of Steel Products. ASTM International: West Conshohocken, PA, USA, 2012.
- Kang, S.H.; Hong, S.G. Performance of Fresh and Hardened Ultra High Performance Concrete without Heat Treatment. J. Korea Concr. Inst. 2014, 26, 23–34. (In Korean) [Google Scholar] [CrossRef]
- ASTM C39/C39M-11; Standard Test Methods for Compressive Strength of Cylindrical Concrete Specimens. ASTM International: West Conshohocken, PA, USA, 2011.
- AFGC-SETRA. Ultra High Performance Fibre-Reinforced Concretes. Interim Recommendations; SETRA: Bagneux, France, 2002. [Google Scholar]
- JSCE. Recommendations for Design and Construction of Ultra High Strength Concrete Structures (Draft); Japan Society of Civil Engineers: Tokyo, Japan, 2004.
- Uchida, Y.; Niwa, J.; Tanaka, Y.; Katagiri, M. Outlines of “Recommendations for Design and Construction of Ultra High Strength Fiber Reinforced Concrete Structures by JSCE. Concr. J. 2005, 43, 3–8. [Google Scholar] [CrossRef]
- ACI 318-08; Building Code Requirements for Structural Concrete (ACI 318-08) and Commentary. ACI Committee 318: Farmington Hills, MI, USA, 2005.
- Lee, S.H.; Park, H.C.; Oh, B.H.; Cho, S.B. Structural Behavior of Steel Wire Truss Deck with Continuous Lattices to the Longitudinal Direction. Int. J. Steel Struct. 2009, 21, 37–44. [Google Scholar]
- Kim, S.B.; Kang, M.J.; Kim, S.S. Flexural Behavior of an Alternative Lath Mortar Deck plate. Int. J. Steel Struct. 2016, 16, 59–71. [Google Scholar] [CrossRef]
- Lee, K.J.; Kim, W.Y.; Jung, J.W.; Kim, E.K.; Yang, I.S. Structural Performance of RC slab using steel wire integrated deck plate. J. Archit. Inst. Korea 2014, 34, 523–524. (In Korean) [Google Scholar]
- Abebe, D.Y.; Choi, J.H.; Park, J.U. Study on Inelastic Buckling and Residual Strength of H-Section Steel Column Member. Int. J. Steel Struct. 2015, 15, 365–374. [Google Scholar] [CrossRef]
- Narvydas, E. Buckling strength of hydraulic cylinders—An engineering approach and finite element analysis. Mechanics 2016, 22, 474–477. [Google Scholar] [CrossRef]
- Florescu, V.; Mocanu, S.; Rece, L.; Motounu, D.C.; Gherghina, A.; Burlacu, A. Design Contributions to the Elaboration of New Modeling Schemes for the Buckling Assessment of Hydraulic Actuators. Metals 2020, 10, 1143. [Google Scholar] [CrossRef]
- ANSI/AISC 360-16; Specification for Structural Steel Buildings. AISC Committee: Chicago, IL, USA, 2016.


























| Specimen | Shape of Top Chord (Unit: mm) | Type of Infilled Material | Existence of Inner Shear Connector | Amount of Infilled Material |
|---|---|---|---|---|
| D13-X | D13 rebar | N/A | N/A | N/A |
| CX-X0 | Lipped C-section (C-60 × 30 × 10 × 2) | 0% | ||
| CM-D100 | Mortar (GP400) | Yes | 100% | |
| CU-D20 | UHPC | 20% | ||
| CU-D40 | 40% | |||
| CU-D100 | 100% | |||
| CU-X100 | No |
| W/C | 0.23 | Cement | 1 |
|---|---|---|---|
| Slica fume | 0.25 | Slica sand | 1.1 |
| Crushed quartz | 0.35 | Super-plasticizer | 0.04 |
| Steel fiber | 2 (%) |
| Infilled Material | Elastic Modulus (GPa) | Compressive Strength (MPa) |
|---|---|---|
| High-strength mortar | 36.4 | 60.0 |
| UHPC | 40.0 | 71.9 |
| Specimen | Peak Load (kN) | Initial Stiffness (kN/mm) | Failure Mode | Main Failure Mechanism |
|---|---|---|---|---|
| D13-X | 16.35 | 0.319 | Buckling of D13 rebar | Bending |
| CX-X0 | 36.12 | 0.641 | Buckling of lipped C-section | |
| CU-D20 | 33.85 | 0.601 | ||
| CU-D40 | 42.33 | 0.753 | ||
| CM-D100 | 55.74 | 0.724 | Buckling of lattice member | Shear |
| CU-D100 | 63.42 | 0.861 | ||
| CU-X100 | 58.68 | 0.758 |
| Specimen | Peak Load (kN) | Ratio of Peak Loads | Initial Stiffness (kN/mm) | Ratio of Initial Stiffness Values |
|---|---|---|---|---|
| CX-X0 | 36.12 | 1.00 | 0.641 | 1.00 |
| CU-D20 | 33.85 | 0.94 | 0.601 | 0.94 |
| CU-D40 | 42.33 | 1.17 | 0.753 | 1.17 |
| CU-D100 | 63.42 | 1.76 | 0.861 | 1.34 |
| Specimen | Peak Load (kN) | Ratio of Peak Loads | Initial Stiffness (kN/mm) | Ratio of Initial Stiffness Values |
|---|---|---|---|---|
| CM-D100 | 55.74 | 1.00 | 0.724 | 1.00 |
| CU-D100 | 63.42 | 1.14 | 0.861 | 1.19 |
| Specimen | Peak Load (kN) | Ratio of Peak Loads | Initial Stiffness (kN/mm) | Ratio of Initial Stiffness Values |
|---|---|---|---|---|
| CU-X100 | 58.68 | 1.00 | 0.758 | 1.00 |
| CU-D100 | 63.42 | 1.08 | 0.861 | 1.14 |
| Case | Failure Mode | Strain Value | |
|---|---|---|---|
| εt | εb | ||
| A-1 | Yielding of bottom chord | In elastic range | Fy_b/Es (=εy_b) |
| A-2 | Buckling of lipped C-section | fcr_t/Es (=εcr_t) | In elastic range |
| Case | Failure Mode | Strain Value | ||
|---|---|---|---|---|
| εt | εI | εb | ||
| B-1 | Yielding of bottom chord | In elastic range | In elastic range | Fy_b/Es (=εy_b) |
| B-2 | Yielding of infilled material | Fy_I/EI (=εy_I) | In elastic range | |
| B-3 | Yielding of lipped C-section | Fy_t/Es (=εy_t) | In elastic range | |
| Specimen | Theoretical Results | Test Results | Strength Ratio (Pe/Pt) | ||||
|---|---|---|---|---|---|---|---|
| Theoretical Strength (kN, Pe) | Failure Mode | ||||||
| Bending Failure Mechanism | Shear Failure Mechanism (Pes) | Peak Strength (kN, Pt) | Failure Mode | ||||
| w/o Infilled Material (Pbx) | w/Infilled Material (Pbo) | ||||||
| D13-X | 23.43 | N/A | 62.12 | Buckling of D13 rebar | 16.35 | Buckling of D13 rebar | 1.433 |
| CX-X0 | 36.14 | Buckling of lipped C-section | 36.12 | Buckling of lipped C-section | 1.001 | ||
| CU-D20 | 36.14 | 62.15 | 33.85 | 1.068 | |||
| CU-D40 | 44.48 | 62.15 | 42.33 | 1.051 | |||
| CM-D100 | N/A | 62.03 | Yielding of bottom chord | 58.51 | Buckling of lattice member | 1.060 | |
| CU-D100 | 62.15 | 62.12 | Buckling of lattice member | 63.42 | 0.980 | ||
| CU-X100 | 62.15 | 58.68 | 1.059 | ||||
| Specimen | Theoretical Results | Test Results | Strength Ratio (Pe/Pt) | |||
|---|---|---|---|---|---|---|
| Theoretical Strength (kN, Pe) | Failure Mode | |||||
| Bending Failure Mechanism (Peb) | Shear Failure Mechanism (Pes) | Peak Strength (kN, Pt) | Failure Mode | |||
| D13-X | 16.35 | 59.89 | Buckling of D13 rebar | 16.35 | Buckling of D13 rebar | 1.000 |
| CX-X0 | 36.14 | Buckling of lipped C-section | 36.12 | Buckling of lipped C-section | 1.001 | |
| CU-D20 | 36.14 | 33.85 | 1.068 | |||
| CU-D40 | 44.48 | 42.33 | 1.051 | |||
| CM-D100 | 62.03 | 59.89 | Buckling of lattice member | 58.51 | Buckling of lattice member | 1.024 |
| CU-D100 | 62.15 | 63.42 | 0.944 | |||
| CU-X100 | 62.15 | 58.68 | 1.021 | |||
| Specimen | Theoretical Strength (kN, Pe) | Failure Mode | ||
|---|---|---|---|---|
| Bending Failure Mechanism | Shear Failure Mechanism (Pes) | |||
| w/o Infilled Material (Pbx) | w/Infilled Material (Pbo) | |||
| CX-X0 | 36.14 | N/A | 59.89 | Buckling of lipped C-section |
| CU-D20 | 36.14 | 62.15 | ||
| CU-D40 | 44.48 | |||
| CU-D50 | 55.24 | |||
| CU-D60 | 72.50 | 59.89 | Buckling of lattice member | |
| CU-D100 | N/A | |||
Publisher’s Note: MDPI stays neutral with regard to jurisdictional claims in published maps and institutional affiliations. |
© 2022 by the authors. Licensee MDPI, Basel, Switzerland. This article is an open access article distributed under the terms and conditions of the Creative Commons Attribution (CC BY) license (https://creativecommons.org/licenses/by/4.0/).
Share and Cite
Son, H.-J.; Kim, Y.-H.; Hong, S.-G.; Kim, D.-J. Assessing the Structural Behavior of a New UHPC-Infilled Top Chords Integrated Deck Plate System at Construction Stage. Sustainability 2022, 14, 12845. https://doi.org/10.3390/su141912845
Son H-J, Kim Y-H, Hong S-G, Kim D-J. Assessing the Structural Behavior of a New UHPC-Infilled Top Chords Integrated Deck Plate System at Construction Stage. Sustainability. 2022; 14(19):12845. https://doi.org/10.3390/su141912845
Chicago/Turabian StyleSon, Hong-Jun, Young-Ho Kim, Sung-Gul Hong, and Dae-Jin Kim. 2022. "Assessing the Structural Behavior of a New UHPC-Infilled Top Chords Integrated Deck Plate System at Construction Stage" Sustainability 14, no. 19: 12845. https://doi.org/10.3390/su141912845
APA StyleSon, H.-J., Kim, Y.-H., Hong, S.-G., & Kim, D.-J. (2022). Assessing the Structural Behavior of a New UHPC-Infilled Top Chords Integrated Deck Plate System at Construction Stage. Sustainability, 14(19), 12845. https://doi.org/10.3390/su141912845

