Next Article in Journal
Impact of Prolonged Exposure to Sour Service on the Mechanical Properties and Corrosion Mechanism of NACE Carbon Steel Material Used in Wet Sour Gas Multiphase Pipeline
Next Article in Special Issue
The Application of In Situ Methods to Monitor VOC Concentrations in Urban Areas—A Bibliometric Analysis and Measuring Solution Review
Previous Article in Journal
The Effect of Customer Involvement on Green Innovation and the Intermediary Role of Boundary Spanning Capability
Previous Article in Special Issue
Experimental Study on the Operating Parameters of a Pulse-Jet Filter Bag Cleaning System
 
 
Font Type:
Arial Georgia Verdana
Font Size:
Aa Aa Aa
Line Spacing:
Column Width:
Background:
Article

Environmental Benefits and Energy Savings from Gas Radiant Heaters’ Flue-Gas Heat Recovery

by
Edyta Dudkiewicz
*,
Natalia Fidorów-Kaprawy
and
Paweł Szałański
Faculty of Environmental Engineering, Wroclaw University of Science and Technology, Wybrzeże Wyspiańskiego 27, 50-370 Wroclaw, Poland
*
Author to whom correspondence should be addressed.
Sustainability 2022, 14(13), 8013; https://doi.org/10.3390/su14138013
Submission received: 23 May 2022 / Revised: 14 June 2022 / Accepted: 27 June 2022 / Published: 30 June 2022

Abstract

:
This paper demonstrates the need and potential for using waste heat recovery (WHR) systems from infrared gas radiant heaters, which are typical heat sources in large halls, due to the increasing energy-saving requirements for buildings in the EU and the powerful and wide-spread development of the e-commerce market. The types of gas radiant heaters are discussed and the classification of WHR systems from these devices is performed. The article also presents for the first time our innovative solution, not yet available on the market, for the recovery of heat from the exhaust gases of ceramic infrared heaters. The energy analysis for an industrial hall shows that this solution allows for environmental benefits at different levels, depending on the gas infrared heater efficiency, by reducing the amount of fuel and emissions for domestic hot water (DHW) preparation (36.8%, 15.4% and 5.4%, respectively, in the case of low-, standard- and high-efficiency infrared heaters). These reductions, considering both DHW preparation and hall heating, are 16.1%, 7.6% and 3.0%, respectively. The key conclusion is that the innovative solution can spectacularly improve the environmental effect and achieve the highest level of fuel savings in existing buildings that are heated with radiant heaters with the lowest radiant efficiency.

1. Introduction

In view of EU environmental policy, reducing energy consumption, developing energy-saving technologies and solutions, and reducing pollutant emissions are immensely relevant concerns [1,2]. Waste heat recovery (WHR) systems enable these tasks to be achieved, and the favorable global situation implies that solutions for waste heat recovery from gas-fired radiant heaters for large-hall heating should attract the interest of many stakeholders. The global 2021 report of the radiant heaters market indicates that it is an industry that is growing strongly, with a significant increase in product sales in recent years, and the pandemic period has not halted the hall-building investment due to the growth of the thriving e-commerce industry [3]. The increase in the construction of large-space halls, despite the lockdown, affected the good sales situation of heating systems, including gas radiant heaters. Regionally, North America was the largest production area for radiant tube heaters with a market share of nearly 40%. This was followed by Europe with a market share of 35% and China with a 10% share. With the current high demand for radiant tube heaters, the industry is expected to have a good future. This situation favors the development of innovative condensing and WHR technologies to increase thermal efficiency and protect the environment, especially since the benefits that can be obtained from the use of waste energy are obvious:
  • Fuel savings;
  • Reduction in expenses for transportation;
  • Reduction in expenses for fuel processing;
  • Reduced emission of harmful compounds (ecological effect) [4].
Poland is a country with a very high potential for industrial waste heat. According to the report of the Polish Green Building Council (PLGBC) 16.7% of logistics facilities passed the certification process in 2020, which is 3.7% more than in 2019. In contrast, the 2021 annual report stated that the number of warehousing and industrial facilities that were built in accordance with multicriteria certifications was higher than the number of built office buildings and resulted in a 61% increase in the number of facilities, compared to the previous year [5]. Due to the dynamic growth in this sector, the share of certified warehouse and industrial spaces is already at 28%. This is largely due to Poland’s strategic location, investments in transport infrastructure development and increased demand from the e-commerce sector, especially during the COVID-19 pandemic, for which a special version of the certification system was developed: WELL Health-Safety. Attention is drawn to this because in the current building certification methodology (BREEAM), it is possible to obtain 1 to 2 points by using high-efficiency gas radiators.
Generally, the dynamic increase in the number of hall buildings that are constructed with a tendency to build green buildings equipped with innovative technological energy-saving solutions makes it necessary to consider the benefits of these solutions from various perspectives. In the case of the system that is proposed in this article, recovering heat from the exhaust gases of gas radiators, the solution can also be applied in modernized objects with already existing low-efficiency heating systems, which allows the improvement of their energy consumption and brings environmental benefits.

1.1. Setting the Problem and the Purpose

Gas radiant heaters of various types and radiation efficiencies can be used to heat large-space buildings. The choice of heating with radiant heaters depends on many factors [6,7]. In recent years, numerous configurations of heat exchanger solutions and heat transfer media have made it possible to create a WHR system for any type of infrared gas radiator. The potentiality of a WHR system in EU countries is presented in Section 1.2, while gas radiant heater characteristics are described in Section 1.3. When choosing a heat recovery system, it should be considered that for radiant heaters with a lower radiation efficiency, higher waste heat recovery can be achieved, but gas consumption will be also higher. The overall scheme of known systems is presented in Section 1.4, in which our innovative solution is considered. Its construction is described in Section 1.4.1.
The innovative energy-saving solution uses the recovered heat for the preparation of DHW (domestic hot water) in a large hall. Two evaluation criteria for the system of ceramic radiant heaters’ flue-gas heat recovery were selected: energy savings and environmental benefits.
The main aim of this article is to compare the energy and environmental effects resulting from the application of our newly invented heat recovery system from the flue- gas of ceramic radiant heaters of different efficiencies. The utilitarian aim is to present and popularize innovative heat recovery solutions.

1.2. WHR Potentiality

Wherever goods are produced, thermal processes are carried out, machines and equipment are operated, and waste heat is generated and released into the environment by radiation, convection, conduction, or in the form of cooling fluids, exhaust gases, steam, or air [6,7]. Sensible and latent heat that is generated during these processes but is not their target is defined as waste heat. For industrial processes, the waste heat that is generated is defined as industrial waste heat, while that from processes associated with the operation of residential and public buildings is called commercial waste heat [8]. The potential for waste heat utilization may be considered as: theoretical (physical) potential, technical potential and economic (feasible) potential [9,10,11,12].
The theoretical potential analyses the occurrence of waste heat in the physical sense as heat with a source above ambient temperature, and it does not consider the possibility of recovering and using this heat. The technical potential, on the other hand, defines the possibility of recovering and using waste heat, and then technological solutions are considered. The technical constraints are, for example: the minimum temperature for a recovery system operation or temperature reduction due to heat transfer. The technical potential for waste heat utilization is determined by boundary conditions and requires the description of technology and determination of the heating or cooling demand. In addition, the technical potential can also be divided into the theoretical technical potential and the applicable technical potential. The first is calculated by means of a theoretical process analysis and the second is calculated on the basis of data, taking into account all the parameters that are specific to the recovery process under analysis. When considering the economic potential, also called feasible potential, financial parameters such as energy prices, interest rates and payback periods are considered [10,11]. Figure 1 shows a graph developed acc. to Ref. [13], which illustrates the methods to estimate waste heat potential.
In line with current efforts to reduce CO2 emissions and increase energy efficiency in appliances and buildings, the use of waste heat recovery systems plays an important role and technical solutions in this area are one of the main areas of research. It is considered that, in certain solutions, WHR systems can be more economical than renewable energy installations [6,12]. The potentiality for industrial WHR in countries in the European Union is displayed in Ref. [13].
Solutions for waste heat recovery systems can be based on the following devices: heat pipes; heat pumps: air/air, water/air, air/water, water/water; regenerators in furnaces; recuperators; rotary heat exchangers; plate heat exchangers; shell and tube heat exchangers; economizers; spiral-type heat exchangers; and water-tube boilers [13,14,15,16,17].
The design of an optimal heat recovery system depends on many factors, while the key factor is the temperature of the waste heat carrier, which can be divided into three ranges: low temperature for temperatures below 100 °C; medium temperature for temperatures between 100 °C and 400 °C; and high temperature for temperatures above 400 °C [16]. For each temperature range of the waste heat carrier, the incorporation of a heat recovery system is possible by using an appropriate recovery unit. In some cases, the waste heat is divided according to additional temperature criteria. Considering the waste heat from the flue gases, by temperature it can be classified into ranges: low—for temperatures below 230 °C; medium—for temperatures between 230 °C and 650 °C; and high—for temperatures above 650 °C [6,14].

1.3. Gas Radiant Heaters

Infrared gas heaters are primarily installed to heat the entire interior of a large building, a separate area, or to heat up a workstation [18,19,20]. Ceramic radiators can also be used outdoors to heat sports stands, train station platforms or to defrost ramps. In addition to the heating function, they can be used, among other things, to dry thin layers of loose materials and paint coatings (on the product surface) in the brick and ceramics industry.
Radiant gas heaters are most commonly used in warehouses, logistics centers and production halls. They are also known to be used in aircraft hangars and shelters, auditoriums and sports facilities in the United States, as well as in indoor swimming pools, wholesale and retail pavilions, livestock buildings and breeding farms, greenhouses, churches, and public transport vehicle depots [6,19,20]. The heating of living and office spaces with gas-fired radiant heaters is not permitted. They must not be implemented in rooms where flammable materials are stored and where substances forming explosive mixtures, flammable gases, dust and vapors are produced or stored.
The main division of gas infra-red heaters is determined by their construction; therefore, based on the method of combustion of the air–gas mixture and the flue gases removal, infra-red heaters can be divided into: high-intensity, so-called ceramic or luminous radiators; and low-intensity radiant tube heaters, so-called dark radiant tube heaters. The main difference in their design is where the combustion of the air–gas mixture occurs: in tube heaters it takes place inside the tube, while in ceramic heaters it takes place on the surface of the ceramic plate [18,20].
Ceramic radiant heaters are less popular than tubular radiant heaters, but sometimes they can be the better, or only, solution. They can be mounted on columns or vertical partitions so that they do not burden roofs, and they do not require the installation of chimneys due to the discharge of flue gases into the room. Ceramic radiant heaters are also easier to access for annual maintenance. Some types have a higher radiant efficiency, not achievable with tubular radiant heaters, which also require a supply of clean air for combustion. However, the dustiness of the air outside the hall can be so high that it is impossible to supply it to the tube heater. It then becomes necessary to use only ceramic radiant heaters, which draw air from inside the hall, supplied from outside through appropriate filters. The criterion for dividing gas infrared heaters can also be the type of infrared heater power control. Some models have automatic burner control and a manual heat-output setting with a potentiometric controller. Automatic modulation of the burner is possible in various power ranges, e.g., from 50 to 70% [20,21].
The radiation factor Rf is a parameter that determines the quality of the radiant heater and the energy consumption. It is defined as the ratio of heat that is emitted from the device by the reference radiation plane to the heat load, which is related to the calorific value of the gas that is used in the test. It is determined depending on the type of radiant heater, based on the guidelines that are contained in two standards: PN-EN 419-2 [22] and PN-EN 416-2 [23]. The radiant factor Rf of ceramic radiant tube heaters that are available on the market ranges from 60.6% to 80.9%, while for tube heaters the range is from 55% to 83% [24].
Appliances placed on the market that comply with eco-design requirements are described by parameters according to Regulation 2015/1188 [25]:
  • Seasonal energy efficiency of space heating ηs, %—the ratio between the demand for space heating that is provided by the on-site space heater and the annual energy consumption that is required to meet that demand;
  • Nitrogen oxides emissions, mg/kWhinput–nitrogen oxide emissions at a rated heat output based on GCV (gross calorific value moisture free) for gaseous or liquid-fuel space heaters and commercial space heaters.
Table 1, in accordance with Annex II of Regulation [25], sets out the specific eco-design requirements for commercial space heaters.
The temperature of the exhaust gases at the exit of a tubular radiant heater depends on its type and efficiency. For highly efficient tube heaters (with radiation efficiency ηR = 72%), the temperature of the exhaust gases at the exit of the heater is slightly less than 200 °C, while for heaters with lower efficiency (ηR = 52–59%), the temperature of the exhaust gases is approximately 350 °C. On the other hand, the temperature on the surface of the ceramic panel of a luminous radiant heater can reach a value of up to 1200 °C. Moreover, the screen of a ceramic radiant heater with lower efficiency heats up to high temperatures, generating heat by convection and radiation [26]. Radiant heaters can be equipped with modulating burners, with power controlled depending on the external or internal temperature, which results in savings in gas consumption.

1.4. Flue-Gases Heat Recovery of Gas Radiant Heaters

Waste heat recovery systems for gas infrared heaters using flue-gas/water, flue-gas/air and air/air heat exchangers have appeared on the market, providing additional economic benefits. They can be designed for a single unit (individual) or a group (collective) of units [21,27]. Figure 2 shows a new graph presenting the division of heat recovery systems from the flue-gas of gas radiant heaters with exemplary heat exchangers.
The recovery systems shown in Figure 2 can be divided into:
  • With a flue-gas/air heat exchanger dedicated to individual radiant tube heaters;
  • With a flue-gas/air heat exchanger dedicated to a group of radiant tube heaters;
  • With a flue-gas/water heat exchanger dedicated to radiant tube heaters;
  • With an air/air heat exchanger dedicated to ceramic radiant heaters;
  • With a flue-gas/water heat exchanger dedicated to ceramic radiant heaters.
The characteristics of four of these systems have been widely described by the authors in publications [6,14,21,26].
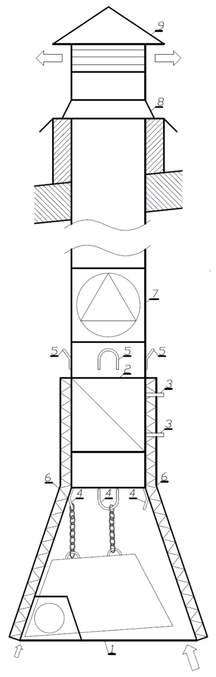
The fifth system with an exhaust gas/water heat exchanger dedicated to a single ceramic radiator, presented in detail in Figure 3, is the authors’ innovative solution described in the patent application [28]. Its working principle is described below. Individual recovery systems on the heated water side can be combined into the collective system described in Section 2.4.

1.4.1. The Innovative WHR Solution

The system for waste heat recovery and the removal of pollutants from ceramic gas radiators, according to the invention [28], is characterized by the fact that it has the form of a hood located above the ceramic gas radiant heater, into which a heat exchanger is integrated, whereby the ceramic gas radiant heater under the hood is fixed at an angle to the floor level, and its lower edge is located above the edge of the hood. In the multi-row cross-flow finned heat exchanger that is installed in the hood, the heat from the air/flue-gas mixture stream is transferred to the liquid working medium. The channel exhaust fan is fixed in the flue-gas duct. The cooled flue gases are discharged through a duct to the roof-mounted ejector.

1.5. Environmental Outlook

The environmental impact of heating systems is indisputable, especially in buildings in the industrial sectors. The importance of the effect of a heating system can be detected by measuring and comparing the emissions of each source and their toxicity.
Environmental pollution varies significantly between seasons, and the critical impact of heating systems makes it very high in winter. When determining this impact, the emissions of CO, CO2, NOx, SO2, PMs, N2O, CH4, volatile organic compounds, polycyclic aromatic hydrocarbons and aldehydes are typically analyzed. These emissions depend mainly on the type of heat source that is used in the heating system. Generally, the heat sources can be coal, wood, natural gas, diesel oil, solar energy, bioenergy, geothermal energy and waste heat [29].
In the heating systems that are analyzed in this paper, the main source of pollutant emissions is the combustion of natural gas. In such systems, additional emission are usually caused by electricity consumption for auxiliary devices (pumps, fans). However, this influence can be avoided when the demand for electricity is covered, for example, by using photovoltaic panels.
In the case of gas fuels, the KOBIZE report (National Centre for Balancing and Managing Emissions Institute of Environmental Protection National Research Institute) [30,31] provides emission values of PM2.5, PM10, CO2, CO, NOx/NO2, SOx/SO2 and benzo(a)pyrene. The Ministry of Environmental Protection, Natural Resources and Forestry in Poland [32] provides SO2, NO2, CO, CO2 and PM emissions for natural gas. Furthermore, while calculating CO2 emissions from natural gas combustion, the CO2 emission factor from the KOBIZE report [30] is used, when determining the energy performance of buildings.
On the topic of the environmental impact of natural gas, various possibilities are discussed in the literature [29]. It is indicated that the use of natural gas boilers instead of solid fuel boilers can reduce CO2, NOx and PM2.5 emissions [33,34]. Another possibility may be that, in the event of a system malfunction, a natural gas leakage can have a more significant impact on global warming than CO2 emissions from gas combustion [35].
In order to minimize both toxic and global-warming gas emissions, it is vital to increase the usage of renewable energy and WHR systems [29]. This is particularly important in the case of existing buildings, which use much more energy than newly constructed energy-efficient ones.

2. Materials and Methods—Energy Analysis

The following section focuses on the energy-saving potential for DHW preparation in an industrial hall using a WHR system with the varying seasonal efficiency of infrared radiant ceramic heaters. The results of the analysis are the calculated savings in energy consumption when using heat recovery and a comparison of this consumption for systems with radiant heaters of varying efficiency.

2.1. The Hall Description

The light production industrial hall is located in Lower Silesia in Poland in the II climatic zone (−18 °C). The total cubage and surface area of the hall is 7907 m3 and 1468 m2, respectively. Labor time is divided into one shift from 6 a.m. to 2 p.m. with 253 male workers. Since a high degree of soiling work is performed in the hall, the bathroom is equipped with showers and washbasins.

2.2. Gas Radiant Heaters and WHR Systems Selection

The efficiency of the radiant heater is an important determinant in the selection of a heating system with a heat recovery system because, as mentioned before, the lower the efficiency of the radiator, the greater the recovery potential. Three solutions of the WHR systems with the flue gas/water heat exchanger cooperating with ceramic radiant heaters of varying efficiency with a 1-stage were adopted for analysis. The selected devices are shown in Figure 4 [36].

2.3. Conventional Heat Source for DHW Preparation

As the conventional heat source for DHW preparation, a condensation gas boiler was used. Its heat output enabled maintaining the minimum DHW temperature of 45 °C in a water tank during the day, which is suitable for workers’ bath. The gas boiler needs to run in winter when the energy gain from the waste source is too low, and during the whole summer. For the purposes of the analysis, it was assumed that the DHW temperature was maintained during the industrial hall operation and turned off during night and weekend breaks.

2.4. System of DHW Preparation

The simplified scheme of a DHW preparation system for production hall workers is shown in Figure 5. The analyzed system consists of infrared heaters to warm the hall, a condensing gas boiler to supply the storage water heater and a WHR system, described above, which supports the production of DHW by means of flue-gas to water heat exchangers supplying the coil of the hot water tank.

2.5. Energy Demand (Methodology and Software)

As the characteristics of the heating energy consumption of the building influence the amount of energy that can be derived from the economizer, the appropriate calculations were made for the building. EDSL Tas building-simulation software [37] was applied to estimate the energy demand for space heating purposes in one-hour steps. The final energy demand based on the efficiency of ceramic heaters for the space heating of the industrial hall (summed for each month) is shown in the Table 2. The yearly usable energy demand was equal to 84.2 MWh. During breaks between shifts and holidays, the industrial hall was not heated.
The analysis of energy consumption for the preparation of DHW was conducted using the proprietary hour-by-hour method described in detail in previous publications [14,38], which considers the temperature value of hot water in the tank, the hot water consumption profile and the temperature of the inlet water. The hour-by-hour method sums up the energy balance in each of the 8760 h of the year and allows verification of the water temperature values in the tank. The calculated heat demand for DHW preparation was equal to 130,500 kWh. The monthly final energy demand is shown in Table 2. To determine the seasonal performance of the DHW preparation system loaded with conventional and waste sources, the final energy demand values were determined. When calculating the efficiency of hot water preparation, a condensation gas boiler (85.0%); centralized preparation; insulated circuits; limited circulation time; distribution in one room (80.0%); and a storage tank in a domestic hot-water system that was manufactured after 2005 (85.0%) were assumed, according to the Regulation of the Minister of Infrastructure and Development of 27 February 2015 on the methodology for determining the energy performance of a building or part of a building and energy performance certificates [39]. The overall efficiency of the DHW preparation system was assumed to be 57.8%.

2.6. Waste Heat Recovery

The system of waste heat recovery from flue gases with its use for DHW preparation is a particularly suitable alternative energy source in industrial halls because the demand for domestic tap water during the year is constant.
To calculate the amount of energy that is recovered from the WHR system, different efficiencies were assumed for different types of radiators. The recovery efficiency depends on the thermal and radiation efficiency of the gas radiant heater, the flue-gas temperature and the insulation level of the equipment. In this paper, the recovery efficiency refers to the amount of heat that is lost by radiant heaters, resulting from the radiant factor (Figure 4) and the heat that was not directed to the occupied zone. The results of tests and analyses made it possible to assume the efficiency of the recovery system at the following levels: high efficiency—28%, standard efficiency—42% and low efficiency—58%. In the analysis, the auxiliary electrical energy that was related to the operation of the fan and circulation pump was not considered.

3. Results

3.1. Reduction in Final Energy Demand

To demonstrate the benefits of WHR, it is necessary to consider the energy demand for both the heating and preparation of DHW. The results of the analysis that included the calculation of the final energy demand of the industrial hall (heating and DHW), without and with WHR, are shown in Figure 6. The waste heat recovery system cooperating with the high-efficiency heater is designated with WHR+HEH, with the standard-efficiency heater—WHR + SHE, and with the low-efficiency heater—WHR + LEH.
The share of use of both heat sources—conventional and waste—for DHW preparation varies according to the efficiency of the radiators. The final energy demand of the gas boiler in the case of operation with radiant heat recovery is shown in Figure 7. A high WHR level and cooperation with low-efficiency heaters results in the lowest consumption of conventional energy (from the boiler) for DHW preparation. The distribution of the final energy gains from two sources in particular months for three types of heaters are presented in Figure 7.

3.2. Environmental Benefits

Based on the final energy demand that was determined in the previous section for the particular variants analyzed, the consumption of natural gas was determined (Figure 8), assuming the calorific value of high-methane natural gas of 36.56 MJ/m3 [30]. The reduction in gas consumption after the application of the WHR system is proportional to the reduction in energy demand in individual variants, assuming the drive of the auxiliary equipment from photovoltaic cells.
Using the natural gas consumption in Figure 9, Figure 10 and Figure 11 the environmental impact of the reduction in natural gas demand resulting from the waste heat recovery system from ceramic gas radiant heaters and its use for heating domestic hot water is illustrated. This impact was illustrated by changes in CO2, NO2 and CO emissions. The emissions of SO2 and PM, which have much lower values in the case of natural gas, have been omitted. Calculations were made assuming the emission factors of 55.44 kg/GJ for CO2 based on [30], 1280 kg/m3·106 for NO2 and 360 kg/m3·106 for CO based on [32].

4. Discussion and Conclusions

Until recently, the technologies that were used in the process of heat recovery from low-temperature media were considered to be uneconomic in terms of heat-to-work conversion. Currently, theoretical, experimental and numerical analyses and studies are being conducted to determine the potential, possibility of recovery, and utilization of low-temperature waste heat. There is an observed demand for novel high-efficiency heat exchanger designs that could operate in such systems, especially that potential for industrial waste heat recovery in EU countries induces such actions [13]. Waste heat recovery enables an excellent opportunity for energy savings and is beneficial from an environmental perspective. Waste heat from radiant heaters is classified as low-temperature waste heat; however, its value depends on devices that are characterized by radiant factor and seasonal efficiency. In many existing industrial buildings, low-efficiency ceramic heaters with a seasonal energy efficiency that is lower than the 85%, required in eco-design, are implemented. The amount of heat that is lost in this case seems to be suitable for implementation of the WHR system. The WHR system, constructed by the authors of [28], proved that waste heat recovery from the flue gases of ceramic heaters is achievable on a satisfying level. Furthermore, in the literature, avoiding high flue-gas temperatures is recommended, and this is why WHR systems are the appropriate choice to cool the flue gases that are discharged from the halls.
The analysis of the results allowed us to notify several important aspects:
  • A limited amount of waste energy in the system.
The use of low-efficiency radiant heaters results in the final energy requirement for hall heating being twice as much as the usable-energy need. In the case of high-efficiency radiant heaters, the results are not so divergent. It should be noted that the waste energy that is used in the WHR system results from the difference in final and usable energy; hence, the amount of waste energy that can be used is limited. This is confirmed in Figure 6, where the difference is lowest in the case of high-efficiency radiators for which the share of recovered energy in the annual DHW demand is 5.4%;
  • A heat recovery system supports the DHW preparation system.
The use of a flue-gas/water or air/water recovery system seems to be highly desirable in the analyzed case, due to the high energy demand for DHW preparation. Comparing the final energy demand for the preparation of DHW (shown in Table 2) with the energy demand to heat the industrial hall with radiant heaters of different efficiency, it is clear that the energy demand for the preparation of DHW is very high. In the case of standard radiators, it is almost the same as for central heating, and greater for heating the hall with high-efficiency radiators;
  • Ensuring adequate waste heat collection.
The final energy demand for DHW preparation shown in Table 2 is significant; this is obviously due to the large number of employees in the hall. This is an advantageous situation because, as previous analyses have shown, the use of a heat recovery system is justified when using as much waste heat as possible [14]. Additionally, the high demand for energy for DHW preparation is advantageous in this system, as the water in the hot water tank does not overheat. Further, based on the analysis, it may be stated that the recovered waste energy is managed.
The hour-by-hour analysis allowed the temperature of the water in the tank to be examined after the operation of each heat source and the water distribution. For the WHR+HHE system, the water temperature in the hot water tank was obtained at the desired level and did not exceed 47 °C. In the WHR+LEH system, it is important to check the selection of the appropriate water tank capacity and temperature distribution. In the case studied, it reached 84 °C on the coldest days of the year;
  • The consequence of the temperature of the flue gases.
The amount of available energy is not the only factor determining the level of heat recovery. On the basis of research [6,21,28], it was found that the higher the efficiency of the radiant heater, the lower the temperature of the flue gases and the construction elements of the heater (see Section 1.3). A smaller temperature difference between the flue gases and the medium in the system limits heat exchange and results in a smaller share of waste energy being transferred to the hot water system. This multiplies the difference between the amount of energy that is recovered from the systems with heaters of various efficiencies. In the case of low-efficiency radiators, the high temperature of the flue gases and the construction elements makes it possible to recover a large part of the energy;
  • Final thermal energy consumption: the entire building vs. DHW preparation only.
The highest final energy demand for the hall, which is obvious, occurs when low-efficiency radiant heaters are applied. The demand is 24% higher than for a hall that is heated with high-efficiency radiant heaters and 15% higher than with standard radiant heaters. The recovery system saves 36.8% of the final energy for DHW preparation in the case of low-efficiency radiators, 15.4% in the case of standard radiators and 5.4% in the case of high-efficiency radiators. In the analyzed case, the heating systems with a waste heat recovery of low-efficiency and standard radiant heaters required more energy (more fuel) to heat the hall and prepare DHW than the system with high-efficiency radiant heaters with the WHR system, as well as without it (Figure 6). The analysis also shows that the use of the WHR system in the case of low-efficiency radiators results in a lower energy consumption than in the case of standard radiators without the WHR system (Figure 6).
The proposed solution is particularly recommended in the case of modernizing the heating system in halls where radiant heaters with a low radiation efficiency are used, especially those that are not currently allowed to be sold.
The summary of the total final energy demand of the industrial hall is crucial, as the analysis of the results only in the context of preparation for DHW is explicit and shows the great advantage of the system in the case of low-efficiency radiant heaters. Then, the final energy demand from the boiler for DHW preparation is the lowest (Figure 6).
In conclusion, the analysis of a gas-fired radiant heating system with the WHR system must consider the sum of the final thermal-energy demands for the whole building;
  • Limited period for waste heat recovery.
Waste heat utilization is only possible in the heating season during the operation of the radiant gas heaters for heating the hall. The level of heat recovery is not directly dependent on weather conditions, but the operation of radiant heaters depends on the indoor and/or outdoor temperature. In the winter months with the lowest temperatures, the amount of recovered energy is higher than in the warmer months, and in the summer season (June–August) when the heaters are not operating, there is no heat recovery (Figure 7). During the heating season in the coldest months, the LEH+WHR system can cover up to 70% of the energy demand for the preparation of DHW (Figure 7);
  • Emissions reduction potentiality.
The emissions of pollutants and greenhouse gases from the considered heating and DHW systems are directly proportional to the final energy demand and depend on the gas consumption (Figure 8) for these systems, assuming the supply of auxiliary devices with electricity from photovoltaic cells. Therefore, the impact of the efficiency of the ceramic radiant heater, and the effect of the application of the analyzed WHR system for particular types of devices on the amount of emissions is analogous to the impact of these factors on the demand for final energy that is supplied from natural gas.
Therefore, the quantity of gas that is burned and the associated emissions of each of the analyzed compounds (CO2, CO and NO2) decreases as the efficiency of the radiant heaters increases. The use of high-efficiency radiators instead of low-efficiency radiators reduces the emissions from the heating system by 19.3%; the use of standard radiators reduces the emissions by 11.8% (Figure 8, Figure 9, Figure 10 and Figure 11). The same trend also occurs when a WHR system is used, but the differences between radiant heaters of different efficiencies are much smaller. The use of high-efficiency devices with a WHR system, instead of low-efficiency devices, also with a WHR system, reduces the total emissions from the heating system and DHW by 6.7%; the use of standard devices reduces the total emissions by 2.9%. The use of a WHR system significantly reduces the emissions of compounds that are associated with gas combustion. For high-efficiency radiant heaters, this reduction is 5.4% in a DHW system and 3.0% when the whole energy demand for a building is considered. For standard radiant heaters, these values are 15.4% and 7.6%, respectively, and for low-efficiency heaters the values are 36.8% and 16.1%.

The Bottom Line

Considering all the aspects that are mentioned above, it must be underlined that the innovative solution can improve the system efficiency for all types of ceramic radiant heaters. The spectacular improvement of the environmental effect and the achievement of the highest level of fuel savings can be obtained in existing industrial buildings that are heated with luminous heaters with the lowest radiant efficiency.

5. Patents

This paper presents the solution described in the patent application (not published) [28] E. Dudkiewicz and P. Szałański, “System for waste heat recovery and contaminant removal from ceramic gas radiant heaters P.440644 [WIPO ST 10/C PL440644],” 2022.

Author Contributions

Conceptualization, E.D., N.F.-K. and P.S.; methodology, E.D., N.F.-K. and P.S.; software, N.F.-K.; writing—original draft, E.D., N.F.-K. and P.S.; writing—review and editing, E.D., N.F.-K. and P.S. All authors have read and agreed to the published version of the manuscript.

Funding

This research received no external funding.

Conflicts of Interest

The authors declare no conflict of interest.

References

  1. Amanowicz, Ł.; Wojtkowiak, J. Comparison of Single- and Multipipe Earth-to-Air Heat Exchangers in Terms of Energy Gains and Electricity Consumption: A Case Study for the Temperate Climate of Central Europe. Energies 2021, 14, 8217. [Google Scholar] [CrossRef]
  2. Kordana, S.; Słyś, D. An analysis of important issues impacting the development of stormwater management systems in Poland. Sci. Total Environ. 2020, 727, 138711. [Google Scholar] [CrossRef]
  3. Cognitive Market Research, Global Radiant Heaters Market Report. 2022. Available online: https://www.cognitivemarketresearch.com/radiant-heaters-market-report (accessed on 1 April 2022).
  4. Wajs, J. Możliwości odzysku ciepła z procesów technologicznych. In Proceedings of the Forum Techniczne „Efektywne i Ekologiczne Przetwórstwo Ryb", Ustka, Polska, 14–15 September 2017. [Google Scholar]
  5. Kuczera, A. Zrównoważone Certyfikowane Budynki, Raport 2021. 2020. Available online: https://plgbc.org.pl/ (accessed on 15 April 2022).
  6. Dudkiewicz, E. Wielokryterialna Ocena Systemy Odzysku Ciepła Odpadowego z Promienników Gazowych; Polska Akademia Nauk, Komitet Inżynierii Środowiska: Wrocław, Polska, 2021. [Google Scholar]
  7. Alwetaishi, M.; Gadi, M.; Issa, U. Reliance of building energy in various climatic regions using multi criteria. Int. J. Sustain. Built Environ. 2017, 6, 555–564. [Google Scholar] [CrossRef]
  8. Huang, F.; Zheng, J.; Baleynaud, J.; Lu, J. Heat recovery potentials and technologies in industrial zones. J. Energy Inst. 2016, 90, 951–961. [Google Scholar] [CrossRef]
  9. Brückner, S.; Liu, S.; Miró, L.; Radspieler, M.; Cabeza, L.F.; Lävemann, E. Industrial waste heat recovery technologies: An economic analysis of heat transformation technologies. Appl. Energy 2015, 151, 157–167. [Google Scholar] [CrossRef]
  10. Brückner, S.; Schäfers, H.; Peters, I.; Lävemann, E. Using industrial and commercial waste heat for residential heat supply: A case study from Hamburg, Germany. Sustain. Cities Soc. 2014, 13, 139–142. [Google Scholar] [CrossRef]
  11. Panayiotou, G.P.; Bianchi, G.; Georgiou, G.; Aresti, L.; Argyrou, M.; Agathokleous, R.; Tsamos, K.M.; Tassou, S.; Florides, G.; Kalogirou, S.; et al. Preliminary assessment of waste heat potential in major European industries. Energy Procedia 2017, 123, 335–345. [Google Scholar] [CrossRef]
  12. Brueckner, S.; Miró, L.; Cabeza, L.F.; Pehnt, M.; Laevemann, E. Methods to estimate the industrial waste heat potential of regions—A categorization and literature review. Renew. Sustain. Energy Rev. 2014, 38, 164–171. [Google Scholar] [CrossRef]
  13. Bianchi, G.; Panayiotou, G.P.; Aresti, L.; Kalogirou, S.A.; Florides, G.A.; Tsamos, K.; Tassou, S.A.; Christodoulides, P. Estimating the waste heat recovery in the European Union Industry. Energy Ecol. Environ. 2019, 4, 211–221. [Google Scholar] [CrossRef] [Green Version]
  14. Dudkiewicz, E.; Fidorów-Kaprawy, N. Hybrid Domestic Hot Water System Performance in Industrial Hall. Resources 2020, 9, 65. [Google Scholar] [CrossRef]
  15. Jaber, H.; Khaled, M.; Lemenand, T.; Ramadan, M. Short Review on Heat Recovery from Exhaust Gas, in: Technol. Mater. Renew. Energy Environ. Sustain. 2016, 1758, 030045. [Google Scholar] [CrossRef]
  16. Jouhara, H.; Khordehgah, N.; Almahmoud, S.; Delpech, B.; Chauhan, A.; Tassou, S.A. Waste heat recovery technologies and applications. Therm. Sci. Eng. Prog. 2018, 6, 268–289. [Google Scholar] [CrossRef]
  17. Reddy, C.C.S.; Naidu, S.V.; Rangaiah, G.P. Waste heat recovery methods and technologies. Chem. Eng. 2013, 120, 28–38. [Google Scholar]
  18. Zhelykh, V.; Ulewicz, M.; Spodyniuk, N.; Shapoval, S.; Shepitchak, V. Analysis of the processes of heat exchange on infrared heater surface. Diagnostyka 2016, 17, 81–85. [Google Scholar]
  19. Spodyniuk, N.; Zhelykh, V.; Dzeryn, O. Combined heating systems of premises for breeding of young pigs and poultry. FME Trans. 2018, 46, 651–657. [Google Scholar] [CrossRef]
  20. Marklowitz, C.A.M. Installing Gas-Fired Infrared Heaters. HPAC Eng. 2004, 8, 44–48. [Google Scholar]
  21. Dudkiewicz, E.; Szałański, P. Overview of exhaust gas heat recovery technologies for radiant heating systems in large halls. Therm. Sci. Eng. Prog. 2020, 18, 100522. [Google Scholar] [CrossRef]
  22. PN-EN 419-2:2012; Gazowe Promienniki Wysokotemperaturowe do Stosowania w Pomieszczeniach Niemieszkalnych—Część 2: Racjonalne Zużycie Energii. Polish Committee for Standardization: Warsaw, Poland, 2012.
  23. PN-EN 416-2:2010; Gazowe Jednopalnikowe Promienniki Niskotemperaturowe do Stosowania w Pomieszczeniach Niemieszkalnych—Część 2: Racjonalne Zużycie Energii. Polish Committee for Standardization: Warsaw, Poland, 2010.
  24. Dudkiewicz, E. Selecting of heating by gas radiant heaters in relation to the new ecodesign requirements on the example of large–cubage halls. E3S Web Conf. 2018, 44, 00036. [Google Scholar] [CrossRef] [Green Version]
  25. Rozporządzenie Komisji (UE). 2015/1188 z Dnia 28 Kwietnia 2015 r. w Sprawie Wykonania Dyrektywy Parlamentu Europejskiego i Rady 2009/125/WE w Odniesieniu do Wymogów Dotyczących Ekoprojektu Dla Miejscowych Ogrzewaczy Pomieszczeń; European Commission: Brussels, Belgium, 2014. [Google Scholar]
  26. Dudkiewicz, E.; Szałański, P. A review of heat recovery possibility in flue gases discharge system of gas radiant heaters. E3S Web Conf. 2019, 116, 00017. [Google Scholar] [CrossRef]
  27. Schwank, Technologie Kondensacyjne i Odzyskiwanie Ciepła. 2020. Available online: https://schwank.pl (accessed on 1 March 2022).
  28. Dudkiewicz, E.; Szałański, P. System for Waste Heat Recovery and Contaminant Removal from Ceramic Gas Radiant Heaters. P.440644 [WIPO ST 10/C PL440644], 2022. [Google Scholar]
  29. Mahmoud, M.; Ramadan, M.; Naher, S.; Pullen, K.; Olabi, A.-G. The impacts of different heating systems on the environment: A review. Sci. Total Environ. 2020, 766, 142625. [Google Scholar] [CrossRef]
  30. Wartości Opałowe (WO) i Wskaźniki Emisji CO2 (WE) w Roku 2019 do Raportowania w Ramach Systemu Handlu Uprawnieniami do Emisji za Rok 2022; Krajowy Ośrodek Bilansowania i Zarządzania Emisjami: Warszawa, Polska, 2021; Available online: https://kobize.pl (accessed on 1 March 2022).
  31. Wskaźniki Emisji Zanieczyszczeń ze Spalania Paliw dla Źródeł O Nominalnej Mocy Cieplnej do 5 MW, Zastosowane do Automatycznego Wyliczenia Emisji w Raporcie do Krajowej Bazy za 2020 r; National Centre for Emissions Management: Warszawa, Polska, 2021; Available online: https://kobize.pl (accessed on 1 March 2022).
  32. Wskaźniki Emisji Substancji Zanieczyszczających Wprowadzanych do Powietrza z Procesów Energetycznego Spalania Paliw. Ministerstwo Ochrony Środowiska, Warszawa. 1996. Available online: https://odpady-help.pl/uploads/files/89/WSKAZNIKI-EMISJI-SUBSTANCJI-ZANIECZYSZCZAJACYCH-WPR0WADZANYCH-DO-POWIETRZA.pdf (accessed on 1 March 2022).
  33. Cui, Y.; Zhang, W.; Wang, C.; Streets, D.G.; Xu, Y.; Du, M.; Lin, J. Spatiotemporal dynamics of CO2 emissions from central heating supply in the North China Plain over 2012–2016 due to natural gas usage. Appl. Energy 2019, 241, 245–256. [Google Scholar] [CrossRef]
  34. Aste, N.; Adhikari, R.; Compostella, J.; Del Pero, C. Energy and environmental impact of domestic heating in Italy: Evaluation of national NOx emissions. Energy Policy 2013, 53, 353–360. [Google Scholar] [CrossRef]
  35. Mena, M.; Oliva, E.; Saide, P.; Spak, S.; de la Maza, C.; Osses, M.; Tolvett, S.; Campbell, J.E.; Tsao, T.E.C.-C.; Molina, L.T. Estimating the health benefits from natural gas use in transport and heating in Santiago, Chile. Sci. Total Environ. 2012, 429, 257–265. [Google Scholar] [CrossRef] [PubMed]
  36. Schwank, Zasada Działania Jasnych Promienników Podczerwieni. Available online: https://schwank.pl (accessed on 1 March 2022).
  37. EDSLTas. Available online: https://www.edsl.net/main/Software.aspx (accessed on 1 May 2017).
  38. Dudkiewicz, E.; Fidorów-Kaprawy, N. The energy analysis of a hybrid hot tap water preparation system based on renewable and waste sources. Energy 2017, 127, 198–208. [Google Scholar] [CrossRef]
  39. Regulation of the Minister of Infrastructure and Development of 27 February 2015 on the Methodology for Determining the Energy Performance of A Building or Part of A Building and Energy Performance Certificates; Ministry of Infrastructure and Development Poland: Warsaw, Poland, 2015.
Figure 1. Methods to estimate the potential of waste heat based on Ref. [13].
Figure 1. Methods to estimate the potential of waste heat based on Ref. [13].
Sustainability 14 08013 g001
Figure 2. WHR systems from flue-gas of gas-fired radiant heaters.
Figure 2. WHR systems from flue-gas of gas-fired radiant heaters.
Sustainability 14 08013 g002
Figure 3. System for heat recovery from ceramic gas heater: 1—hood; 2—heat exchanger; 3—connections for medium; 4—brackets to fix radiators; 5—brackets to fix hood; 6—insulation; 7—fan, 8—roof base, 9—roof ejector [28].
Figure 3. System for heat recovery from ceramic gas heater: 1—hood; 2—heat exchanger; 3—connections for medium; 4—brackets to fix radiators; 5—brackets to fix hood; 6—insulation; 7—fan, 8—roof base, 9—roof ejector [28].
Sustainability 14 08013 g003
Figure 4. Luminous heaters selection (high, standard and low efficiency; adopted acc. Ref. [36]).
Figure 4. Luminous heaters selection (high, standard and low efficiency; adopted acc. Ref. [36]).
Sustainability 14 08013 g004
Figure 5. The simplified scheme of the analyzed DHW preparation system with WHR.
Figure 5. The simplified scheme of the analyzed DHW preparation system with WHR.
Sustainability 14 08013 g005
Figure 6. Yearly final energy consumption of the gas boiler without and with the WHR system for heating and DHW preparation (left) and for only DHW preheating (right).
Figure 6. Yearly final energy consumption of the gas boiler without and with the WHR system for heating and DHW preparation (left) and for only DHW preheating (right).
Sustainability 14 08013 g006
Figure 7. Monthly distribution of the energy share of the gas boiler and the WHR system in case of various heaters.
Figure 7. Monthly distribution of the energy share of the gas boiler and the WHR system in case of various heaters.
Sustainability 14 08013 g007
Figure 8. Yearly whole gas consumption for heating and DHW preparation (left) and for only DHW preheating (right).
Figure 8. Yearly whole gas consumption for heating and DHW preparation (left) and for only DHW preheating (right).
Sustainability 14 08013 g008
Figure 9. Yearly whole CO2 emission for heating and DHW preparation (left) and for only DHW preheating (right).
Figure 9. Yearly whole CO2 emission for heating and DHW preparation (left) and for only DHW preheating (right).
Sustainability 14 08013 g009
Figure 10. Yearly whole CO emission for heating and DHW preparation (left) and for only DHW preheating (right).
Figure 10. Yearly whole CO emission for heating and DHW preparation (left) and for only DHW preheating (right).
Sustainability 14 08013 g010
Figure 11. Yearly total NO2 emission for heating and DHW preparation (left) and for only DHW preheating (right).
Figure 11. Yearly total NO2 emission for heating and DHW preparation (left) and for only DHW preheating (right).
Sustainability 14 08013 g011
Table 1. Eco-design requirements for gas heaters acc. to Ref. [25].
Table 1. Eco-design requirements for gas heaters acc. to Ref. [25].
Seasonal Energy Efficiency of Space Heating
by Infrared Heater ηs, %
Emissions of Nitrogen Oxides by the Ceramic and Tube Radiant Heater, mg/kWhinput
CeramicTube
85 74200
Table 2. The demand for heating energy for the hall space depending on the efficiency of ceramic heaters (MWh) and the final energy for preparation of DHW (MWh).
Table 2. The demand for heating energy for the hall space depending on the efficiency of ceramic heaters (MWh) and the final energy for preparation of DHW (MWh).
MonthUsable Energy: Heating Final Energy: Heating by Infrared Heaters with Different EfficiencyFinal Energy:
DHW
HighStandardLow
MWhMWhMWhMWhMWh
January15.820.624.831.414.2
February15.620.324.531.013.5
March12.416.119.424.613.7
April6.07.89.411.911.2
May0.70.91.11.48.4
June0.00.00.00.07.7
July0.00.00.00.07.6
August0.00.00.00.07.4
September0.81.11.31.69.1
October4.76.17.49.311.5
November10.013.115.719.912.0
December18.123.628.435.914.3
Yearly84.2109.4131.9167.0130.5
Publisher’s Note: MDPI stays neutral with regard to jurisdictional claims in published maps and institutional affiliations.

Share and Cite

MDPI and ACS Style

Dudkiewicz, E.; Fidorów-Kaprawy, N.; Szałański, P. Environmental Benefits and Energy Savings from Gas Radiant Heaters’ Flue-Gas Heat Recovery. Sustainability 2022, 14, 8013. https://doi.org/10.3390/su14138013

AMA Style

Dudkiewicz E, Fidorów-Kaprawy N, Szałański P. Environmental Benefits and Energy Savings from Gas Radiant Heaters’ Flue-Gas Heat Recovery. Sustainability. 2022; 14(13):8013. https://doi.org/10.3390/su14138013

Chicago/Turabian Style

Dudkiewicz, Edyta, Natalia Fidorów-Kaprawy, and Paweł Szałański. 2022. "Environmental Benefits and Energy Savings from Gas Radiant Heaters’ Flue-Gas Heat Recovery" Sustainability 14, no. 13: 8013. https://doi.org/10.3390/su14138013

APA Style

Dudkiewicz, E., Fidorów-Kaprawy, N., & Szałański, P. (2022). Environmental Benefits and Energy Savings from Gas Radiant Heaters’ Flue-Gas Heat Recovery. Sustainability, 14(13), 8013. https://doi.org/10.3390/su14138013

Note that from the first issue of 2016, this journal uses article numbers instead of page numbers. See further details here.

Article Metrics

Back to TopTop