Shaping the Optimal Technology for Servicing the Long-Distance Deliveries of Packaged Cargo by Road Transport
Abstract
:1. Introduction
- the theory system methods to formulate the problem of choosing the optimal TTSD structure;
- the queueing theory methods to represent the demand model as a flow of requests for deliveries of packaged cargo;
- the graph theory to represent the approach to shape the full set of alternative TTSDs for the given structure of a logistics chain and to define the optimal TTSD;
- the principles of the object-oriented programming to simulate the processes of servicing the flow of requests for deliveries of packaged cargo;
- the methodology of the regression analysis to define the functional dependencies between the efficiency criterion and the parameters of demand for cargo deliveries;
- the functional analysis methods to define the areas of the most efficient use of the alternative TTSDs.
2. Literature Review
3. Mathematical Model for Shaping the Optimal Schemes of Packaged Cargo Delivery
- the consignment weight , [tons];
- the delivery distance , [km];
- the time interval between the moments of current request reception and the reception of the next request in a flow , [hours];
- Boolean variables that characterize the following conditions to be fulfilled while servicing the request for cargo delivery:
- ∘
- just-in-time delivery ,
- ∘
- the necessity of cargo consolidation ,
- ∘
- the return of empty transport containers to a freight owner ,
- ∘
- loading and unloading (LU) by freight owner without the use of services provided by contractors ,
- ∘
- the delivery by using the freight owners’ transport ,
- ∘
- the availability of a cargo processing area at a freight owner’s premises ,
- ∘
- the type of package ;
- the external model factors ;
- the set of specific characteristics of participants of the delivery process conditioned by assumptions and limitations.
- the availability of empty shipping containers and their technical characteristics;
- the availability of the required vehicles and the corresponding technical and economical characteristics of the available fleet;
- the information on the availability and characteristics of loading and unloading (LU) facilities;
- the information on the availability and characteristics of equipment for packaging, labeling, and documentation;
- the information related to the cost of the cargo temporary storage operations performed by a freight owner;
- data on the costs associated with staff salaries, bank transfers, communication services, and depreciation in the case of the independent servicing of the request for cargo delivery.
- Characteristics of a freight forwarder include:
- data on the availability of the required vehicle and its technical and financial characteristics;
- data on the number of workers of all required work types involved in the implementation of a request for delivery;
- data on the cost of servicing operations performed by workers involved in the servicing process;
- data on the costs associated with the request implementation;
- the profitability level.
- Characteristics of a freight terminal are the following:
- the availability of shipping containers and the corresponding technical characteristics of the facilities;
- the information on the availability of the LU facilities and the corresponding parameters of the facilities;
- data on the cost of involved workers and other activities related to the handling of cargo at the terminal;
- the information on the availability and characteristics of equipment for packaging, labeling, and supporting documentation;
- the cost of temporary cargo storage;
- the tariff for the processing of a consignment.
4. Algorithm for Shaping the Optimal TTSD for Long-Distance Deliveries of Packaged Cargo
4.1. Models for Shaping the Complete Set of Alternative TTSD
- consultations with freight forwarding companies: a1—completed, a2—did not take place;
- the evaluation of the possibility to serve the request by the company’s own vehicles: b1—completed, b2—did not take place;
- a search at the logistics website: c1—took place, c2—did not take place;
- providing the information at logistics websites: d1—completed, d2—did not take place;
- the analysis of alternatives: e1—performed, e2—not performed;
- a coordination of rates with the carrier: f1—took place, f2—did not take place;
- a coordination of rates with the cargo owner: g1—took place, g2—did not take place;
- transportation characteristics: aa1—a consignment as a single cargo, aa2—a consignment as a cargo in the consumer packaging, aa3—a consignment as a single cargo loaded on a pallet or in a container, aa4—a consignment as a cargo in the packaging provided by a consumer;
- the availability of consumer packaging: ab1—available, ab2—not available;
- the availability of packing means: ac1—available, ac2—not available;
- a return of shipping tare: ad1—took place, ad2—did not take place;
- the availability of LU facilities: ae1—available, ae2—not available;
- the labeling applied: af1—automated, af2—manual;
- the paperwork operations: ag1—automated, ag2—manual;
- the labels’ reading: ai1—automated, ai2—manual;
- required vehicle body type based on the cargo transport characteristics: ak1—van, onboard general-purpose vehicle (tented), ak2—other;
- the availability of the required vehicle type: al1—available, al2—not available;
- the loading and unloading scheme of a vehicle: am1—from the rear side of the vehicle, am2—from the sides, am3—combined;
- the required scheme for the vehicle loading: an1—from the rear side of the vehicle, an2—from the sides, an3—combined;
- the required scheme for the vehicle unloading: ao1—from the rear side, ao2—from the sides, ao3—combined;
- the availability of a cargo processing area: ap1—available, ap2—not available;
- the type of the used packaging method: aq1—mechanized, aq2—manual;
- the warehouse recycling operations: at1—no need, at2—the consolidation of cargo units is required, at3—the reconfiguration of a cargo unit is required, at4—the disbanding of the cargo unit is required.
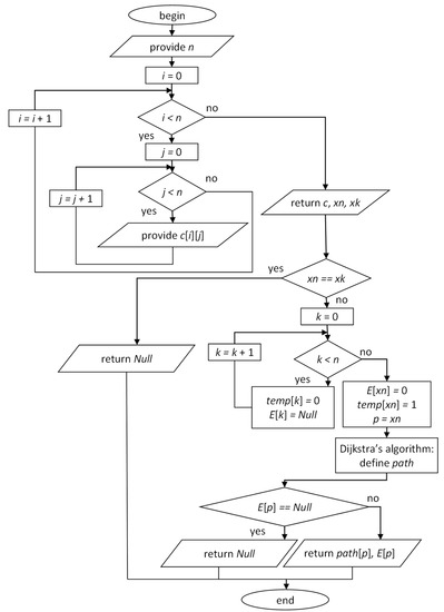
4.2. Algorithm for Defining the Chains of Minimum Length
5. Case Study: Shaping the Optimal Schemes for Long-Distance Delivery of Packaged Cargo by Road Transport in Ukraine
6. Analysis of the Experimental Results and Discussion
- shaping the alternative hypotheses about the functional dependencies;
- estimating the coefficients of regression models to check the hypotheses;
- evaluating the adequacy of the obtained regression models and choosing the most adequate one (based on the highest value of the determination coefficient).
- 1-065: direct delivery of cargo as a single consignment; load and unload performed by a client without cargo consolidation; a cargo processing area is available at the freight owner’s location; labeling operations and paperwork are automated;
- 1-069: direct delivery of cargo as a single consignment without cargo consolidation operations; load and unload performed by a contractor; a cargo processing area is available at the freight owner’s location; labeling operations and paperwork are automated;
- 1-070: direct delivery of cargo as a single consignment; load and unload performed by a freight owner without consolidation; a cargo processing area is not provided by a freight owner; labeling operations and paperwork are manual;
- 1-194: direct delivery of a consignment as in the consumer’s container; load and unload performed by a freight owner without consolidation; a cargo processing area is available at the freight owner’s location; labeling operations and paperwork are manual;
- 1-197: direct delivery of a consignment loaded on a pallet by a freight owner; load and unload performed by a contractor; a cargo processing area is not provided by a freight owner; labeling operations and paperwork are manual;
- 1-198: direct delivery of a consignment loaded on a pallet by a freight owner; load and unload performed by a contractor; a cargo processing area is available at the freight owner’s location; labeling operations and paperwork are automated.
- the numeric parameters of the requests flow should be evaluated to propose the stable TTSD structures;
- the possibility of involvement in the delivery process of a partner freight forwarder or a freight terminal should be assessed preliminarily;
- the availability of production resources for each of the participants (freight owner, partner forwarder, carriers) should be checked.
- the parameters of demand for the given delivery cluster (group of clients distinguished by their geographical location, type of cargoes, frequency of orders, etc.) should be studied—the distributions of the demand parameters and the corresponding numeric characteristics should be defined;
- for the known demand parameters, the computer simulations of the delivery process should be performed and the total costs of using the alternative TTSDs should be determined for the consignments generated for the given demand parameters;
- the ranges of demand parameters where the alternative TTSD structures are the best possible option should be assessed (these ranges of the demand parameters define the areas of the most efficient use for the alternative TTSD structures);
- the obtained areas of the most efficient use should be used by transport operators (preferably as the module of the decision-support system) to choose the structure of the delivery scheme while servicing the consignments for deliveries.
7. Conclusions
- the basic structures of the supply chains may be considered in a more detailed way (current research examines just the simplest structures);
- studies for the wider range of input parameters should be carried out (the developed model allows considering numeric parameters not included in the plan of the performed simulation experiment);
- the developed methodology should be applied to other types of cargo and types of transport.
Author Contributions
Funding
Institutional Review Board Statement
Informed Consent Statement
Acknowledgments
Conflicts of Interest
References
- Sciller, P.L.; Bruun, E.C.; Kenworthy, J.R. An Introduction to Sustainable Transportation: Policy, Planning and Implementation; Earthscan: London, UK, 2010. [Google Scholar]
- Grava, S. Urban Transportation Systems: Choices for Communities; McGrow-Hill: New York, NY, USA, 2002. [Google Scholar]
- Ortúzar, J.D. Future transportation: Sustainability, complexity, and individualization of choices. Commun. Transp. Res. 2021, 1, 100010. [Google Scholar] [CrossRef]
- Bosona, T. Urban freight last mile logistics—Challenges and opportunities to improve sustainability: A literature review. Sustainability 2020, 12, 8769. [Google Scholar] [CrossRef]
- Wang, W.; Wu, Y. Is uncertainty always bad for the performance of transportation systems? Commun. Transp. Res. 2021, 1, 100021. [Google Scholar] [CrossRef]
- Bogoviz, A.V.; Ragulina, Y.V.; Lobova, S.V.; Zhukov, B.M.; Stepanova, O.M. Services infrastructure forming in the process of transport logistics stock movement. Int. Rev. Manag. Mark. 2016, 6, 278–283. [Google Scholar]
- Ranieri, L.; Digiesi, S.; Silvestri, B.; Roccotelli, M. A review of last mile logistics innovations in externalities cost reduction vision. Sustainability 2018, 10, 782. [Google Scholar] [CrossRef] [Green Version]
- Wang, Y.; Rodrigues, V.S.; Evans, L. The use of ICT in road freight transport for CO2 reduction—An exploratory study of UK’s grocery retail industry. Int. J. Logist. Manag. 2015, 26, 2–29. [Google Scholar] [CrossRef] [Green Version]
- Perego, A.; Perotti, S.; Mangiaracina, R. ICT for logistics and freight transportation: A literature review and research agenda. Int. J. Phys. Distrib. Logist. Manag. 2011, 41, 457–483. [Google Scholar] [CrossRef]
- Li, Y.; Yu, Y. The use of freight apps in road freight transport for CO2 reduction. Eur. Transp. Res. Rev. 2017, 9, 6. [Google Scholar] [CrossRef] [Green Version]
- Moros-Daza, A.; Cassandro-De La Hoz, D.; Jaller-Martelo, M.; Paternina-Arboleda, C.D. Using advanced information systems to improve freight efficiency: Results from a pilot program in Colombia. Lect. Notes Comput. Sci. 2019, 11756, 22–38. [Google Scholar]
- Paksoy, T.; Bektaş, T.; Özceylan, E. Operational and environmental performance measures in a multi-product closed-loop supply chain. Transp. Res. Part E Logist. Transp. Rev. 2011, 47, 532–546. [Google Scholar] [CrossRef]
- Sundo, M.B.; Vergel, K.N.; Sigua, R.G.; Regidor, J.R.F. Methods of estimating energy demand and CO2 emissions for inter-regional road transport. Int. J. GEOMATE 2016, 11, 2182–2187. [Google Scholar] [CrossRef]
- Llano, C.; Pérez-Balsalobre, S.; Pérez-García, J. Greenhouse gas emissions from intra-national freight transport: Measurement and scenarios for greater sustainability in Spain. Sustainability 2018, 10, 2467. [Google Scholar] [CrossRef] [Green Version]
- Sakai, T.; Kawamura, K.; Hyodo, T. Logistics facilities for intra and inter-regional shipping: Spatial distributions, location choice factors, and externality. J. Transp. Geogr. 2020, 86, 102783. [Google Scholar] [CrossRef]
- Hirata, T.; Fukaya, T. Potential of truck platooning for transporting empty trucks considering intercity freight demand imbalances. Logforum 2020, 16, 373–383. [Google Scholar] [CrossRef]
- Hirsch, P. Minimizing empty truck loads in round timber transport with tabu search strategies. Int. J. Inf. Syst. Supply Chain Manag. 2011, 4, 15–41. [Google Scholar] [CrossRef] [Green Version]
- McKinnon, A.C.; Ge, Y. The potential for reducing empty running by trucks: A retrospective analysis. Int. J. Phys. Distrib. Logist. Manag. 2006, 36, 391–410. [Google Scholar] [CrossRef]
- Ivanova, O. Modelling inter-regional freight demand with input-output, gravity and SCGE methodologies. In Modelling Freight Transport; Elsevier: Amsterdam, The Netherlands, 2014; pp. 13–42. [Google Scholar]
- Jourquin, B. A multi-flow multi-modal assignment procedure on large freight transportation networks. Stud. Reg. Sci. 2006, 35, 929–945. [Google Scholar] [CrossRef] [Green Version]
- Zhalechian, M.; Tavakkoli-Moghaddam, R.; Zahiri, B.; Mohammadi, M. Sustainable design of a closed-loop location-routing-inventory supply chain network under mixed uncertainty. Transp. Res. Part E Logist. Transp. Rev. 2016, 89, 182–214. [Google Scholar] [CrossRef]
- Marufuzzaman, M.; Ekşioğlu, S.D. Managing congestion in supply chains via dynamic freight routing: An application in the biomass supply chain. Transp. Res. Part E Logist. Transp. Rev. 2017, 99, 54–76. [Google Scholar] [CrossRef]
- Lewe, J.-H.; Hivin, L.F.; Mavris, D.N. A multi-paradigm approach to system dynamics modeling of intercity transportation. Transp. Res. Part E Logist. Transp. Rev. 2014, 71, 188–202. [Google Scholar] [CrossRef]
- Apivatanagul, P.; Regan, A.C. Long haul freight network design using shipper-carrier freight flow prediction: A California network improvement case study. Transp. Res. Part E Logist. Transp. Rev. 2010, 46, 507–519. [Google Scholar] [CrossRef]
- Minett, C.F.; Salomons, A.M.; Daamen, W.; Van Arem, B.; Kuijpers, S. Eco-routing: Comparing the fuel consumption of different routes between an origin and destination using field test speed profiles and synthetic speed profiles. IEEE Forum Integr. Sustain. Transp. Syst. 2011, 5973621, 32–39. [Google Scholar]
- Bektaş, T.; Laporte, G. The pollution-routing problem. Transp. Res. Part B Methodol. 2011, 45, 1232–1250. [Google Scholar] [CrossRef]
- Zhang, W.; Jenelius, E.; Ma, X. Freight transport platoon coordination and departure time scheduling under travel time uncertainty. Transp. Res. Part E Logist. Transp. Rev. 2017, 98, 1–23. [Google Scholar] [CrossRef]
- Bhoopalam, A.K.; Agatz, N.; Zuidwijk, R. Planning of truck platoons: A literature review and directions for future research. Transp. Res. Part B Methodol. 2018, 107, 212–228. [Google Scholar] [CrossRef] [Green Version]
- Boysen, N.; Briskorn, D.; Schwerdfeger, S. The identical-path truck platooning problem. Transp. Res. Part B: Methodol. 2018, 109, 26–39. [Google Scholar] [CrossRef]
- Tsugawa, S.; Jeschke, S.; Shladovers, S.E. A review of truck platooning projects for energy savings. IEEE Trans. Intell. Veh. 2016, 1, 68–77. [Google Scholar] [CrossRef]
- Khakdaman, M.; Rezaei, J.; Tavasszy, L.A. Shippers’ willingness to delegate modal control in freight transportation. Transp. Res. Part E Logist. Transp. Rev. 2020, 141, 102027. [Google Scholar] [CrossRef]
- Mesa-Arango, R.; Ukkusuri, S.V. Attributes driving the selection of trucking services and the quantification of the shipper’s willingness to pay. Transp. Res. Part E Logist. Transp. Rev. 2014, 71, 142–158. [Google Scholar] [CrossRef]
- Naumov, V. Substantiating the logistics chain structure while servicing the flow of requests for road transport deliveries. Sustainability 2020, 12, 1635. [Google Scholar] [CrossRef] [Green Version]
- Ramazan, B.; Bitileuova, Z.; Musalieva, R.; Naumov, V.; Taran, I. Choosing the logistics chain structure for deliveries of bulk loads: Case study of the Kazakhstan Republic. Nauk. Visnyk Natsionalnoho Hirnychoho Universytetu 2021, 2021, 142–147. [Google Scholar] [CrossRef]
- Zhang, M.; Janic, M.; Tavasszy, L.A. A freight transport optimization model for integrated network, service, and policy design. Transp. Res. Part E: Logist. Transp. Rev. 2015, 77, 61–76. [Google Scholar] [CrossRef]
- Yamada, T.; Imai, K.; Nakamura, T.; Taniguchi, E. A supply chain-transport supernetwork equilibrium model with the behaviour of freight carriers. Transp. Res. Part E Logist. Transp. Rev. 2011, 47, 887–907. [Google Scholar] [CrossRef]
- Shintani, K.; Konings, R.; Imai, A. The impact of foldable containers on container fleet management costs in hinterland transport. Transp. Res. Part E: Logist. Transp. Rev. 2010, 46, 750–763. [Google Scholar] [CrossRef]
- Yamada, T.; Febri, Z. Freight transport network design using particle swarm optimisation in supply chain-transport supernetwork equilibrium. Transp. Res. Part E: Logist. Transp. Rev. 2015, 75, 164–187. [Google Scholar] [CrossRef]
- Dullaert, W.; Zamparini, L. The impact of lead time reliability in freight transport: A logistics assessment of transport economics findings. Transp. Res. Part E: Logist. Transp. Rev. 2013, 49, 190–200. [Google Scholar] [CrossRef]
- Burkovskis, R. Efficiency of freight forwarder’s participation in the process of transportation. Transport 2008, 23, 208–213. [Google Scholar] [CrossRef]
- Wisner, J.D.; Tan, K.C. Supply chain management and its impact on purchasing. J. Supply Chain Manag. 2000, 36, 33–42. [Google Scholar] [CrossRef]
- Nugymanova, G.; Nurgaliyeva, M.; Zhanbirov, Z.H.; Naumo, V.; Taran, I. Choosing a servicing company’s strategy while interacting with freight owners at the road transport market. Nauk. Visnyk Natsionalnoho Hirnychoho Universytetu 2021, 2021, 204–210. [Google Scholar] [CrossRef]
- Naumov, V. Evaluation of freight forwarder risk to transportation market entry. East. -Eur. J. Enterp. Technol. 2015, 4, 28–31. [Google Scholar] [CrossRef] [Green Version]
- Knuth, D.E. A generalization of Dijkstra’s algorithm. Inf. Processing Lett. 1977, 6, 1–5. [Google Scholar] [CrossRef]
- Core Library for Simulations of Delivery Chains. Available online: https://github.com/naumovvs/delivery-chain-simulation/tree/master (accessed on 1 April 2022).






| Series of the Experiment | Level of Input Factor | |||||||||
|---|---|---|---|---|---|---|---|---|---|---|
| 1 | +1 | +1 | +1 | +1 | +1 | +1 | +1 | +1 | +1 | +1 |
| 2 | +1 | +1 | +1 | +1 | +1 | +1 | +1 | +1 | +1 | –1 |
| … | … | … | … | … | … | … | … | … | … | … |
| 2047 | –1 | –1 | –1 | –1 | –1 | –1 | –1 | –1 | –1 | +1 |
| 2048 | –1 | –1 | –1 | –1 | –1 | –1 | –1 | –1 | –1 | –1 |
| Bounds of Input Parameters | Input Factors | |||||||||
|---|---|---|---|---|---|---|---|---|---|---|
| –1 | 0.001 | 50 | 0.2 | 1 | 1 | 1 | 1 | 1 | 1 | 1 |
| +1 | 30 | 1500 | 12.2 | 4 | 2 | 2 | 2 | 2 | 2 | 2 |
| LSC Type | Consignment Weight [tons] | Synergistic Effect [UAH/Request] | ||||||
|---|---|---|---|---|---|---|---|---|
| 0.001 | 5 | 10 | 15 | 20 | 25 | 30 | ||
| LSC1 | 1-198 | 1-194 | 1-194 | 1-194 | 1-194 | 1-194 | 1-194 | 20,097 |
| LSC2 | 2-368 | 2-368 | 2-258 | 2-258 | 2-258 | 2-258 | 2-258 | 6005 |
| LSC3 | 3-022 | 3-258 | 3-386 | 3-386 | 3-386 | 3-386 | 3-386 | 23,341 |
| LSC4 | 4-014 | 4-386 | 4-258 | 4-258 | 4-258 | 4-258 | 4-258 | 32,114 |
| Type of Participants | LSC Structure | |||
|---|---|---|---|---|
| LSC1 | LSC2 | LSC3 | LSC4 | |
| Freight owners | 0.885 | 0.82 | 0.795 | 0.778 |
| Freight forwarders | – | 0.004 | 0.006 | 0.006 |
| Carriers | 0.115 | 0.176 | 0.082 | 0.097 |
| Terminals | – | – | 0.117 | 0.119 |
Publisher’s Note: MDPI stays neutral with regard to jurisdictional claims in published maps and institutional affiliations. |
© 2022 by the authors. Licensee MDPI, Basel, Switzerland. This article is an open access article distributed under the terms and conditions of the Creative Commons Attribution (CC BY) license (https://creativecommons.org/licenses/by/4.0/).
Share and Cite
Naumov, V.; Shulika, O.; Orda, O.; Vasiutina, H.; Bauer, M.; Oliskevych, M. Shaping the Optimal Technology for Servicing the Long-Distance Deliveries of Packaged Cargo by Road Transport. Sustainability 2022, 14, 7283. https://doi.org/10.3390/su14127283
Naumov V, Shulika O, Orda O, Vasiutina H, Bauer M, Oliskevych M. Shaping the Optimal Technology for Servicing the Long-Distance Deliveries of Packaged Cargo by Road Transport. Sustainability. 2022; 14(12):7283. https://doi.org/10.3390/su14127283
Chicago/Turabian StyleNaumov, Vitalii, Olha Shulika, Oleksandra Orda, Hanna Vasiutina, Marek Bauer, and Myroslav Oliskevych. 2022. "Shaping the Optimal Technology for Servicing the Long-Distance Deliveries of Packaged Cargo by Road Transport" Sustainability 14, no. 12: 7283. https://doi.org/10.3390/su14127283
APA StyleNaumov, V., Shulika, O., Orda, O., Vasiutina, H., Bauer, M., & Oliskevych, M. (2022). Shaping the Optimal Technology for Servicing the Long-Distance Deliveries of Packaged Cargo by Road Transport. Sustainability, 14(12), 7283. https://doi.org/10.3390/su14127283

