Research on Torsional Characteristic and Stiffness Reinforcement of Main Girder of Half-Through Truss Bridge
Abstract
1. Introduction
2. Equivalent Calculation of Torsional Moment of Inertia
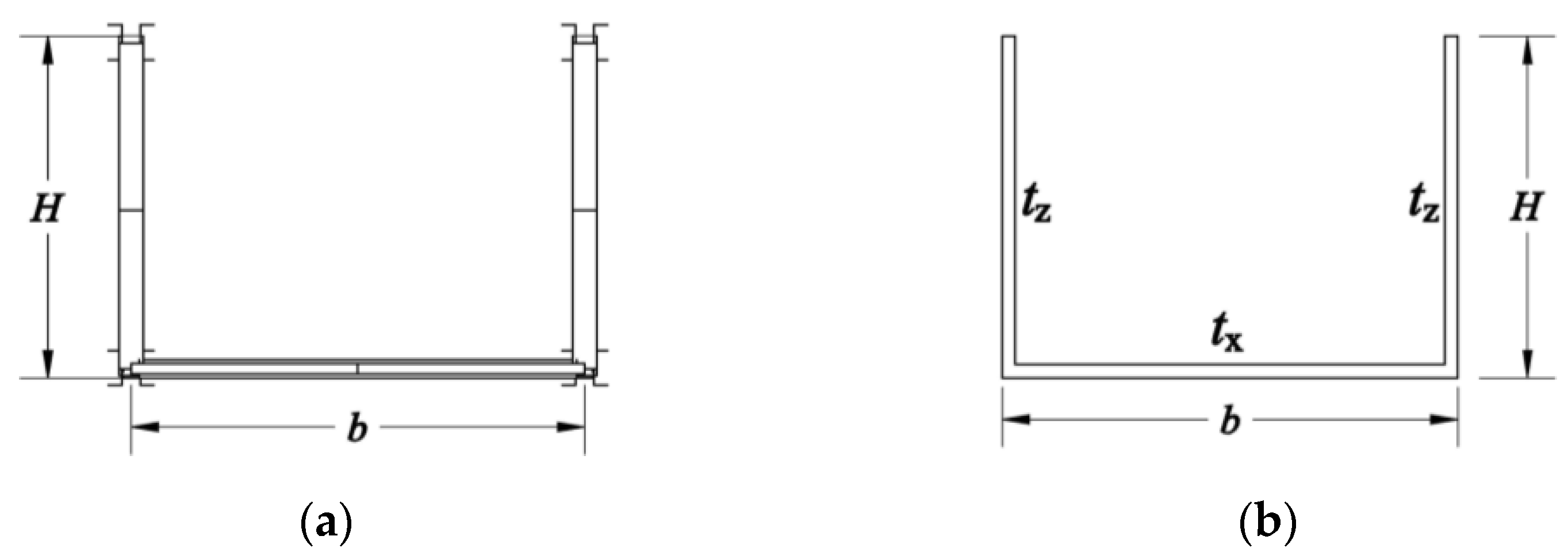
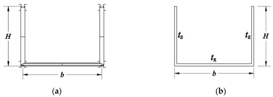
2.1. Equivalent Model of Section of Main Girder
2.2. Equivalent Wall Thickness
3. Example and Finite Element Analysis
3.1. Example
3.2. Finite Element Analysis
3.3. Analysis of Calculation Results
4. Calculation Correction Considering Restraint Torsional Effect
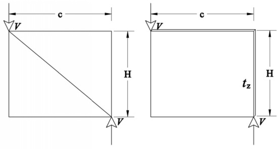
4.1. Torsional Characteristics of Half-Through Truss Girder
4.2. Correction of Theoretical Value of Torsional Stiffness
5. Reinforcement Method of Torsional Stiffness and Effect Assessment
5.1. Discussion of Reinforcement Method of Torsional Stiffness
- (1)
- Change the dimension parameters of bridge structure
- (2)
- Installation of reinforcing members
5.2. Test of the Reinforcement Method
5.3. Effect Assessment
- (1)
- Resisting erosion.
- (2)
- Resisting earthquake and shock.
6. Conclusions
- (1)
- Based on the principle of making truss bridges equivalent to thin-walled members, the calculation formula of the free torsional moment of inertia of the half-through truss bridge is deduced. The correction formula of the torsional moment of inertia of the main truss against warping deformation is deduced, and the analytical results are compared with the finite element results. The results show that the modified formula can accurately characterize the torsional principle of the half-through truss bridge, but because the transverse stiffness of the bottom chords is not considered, the error of the analytical solution is more than 10% when the width-span ratio is large. However, it is still applicable to the half-through truss bridge with a general width-span ratio and does not affect explaining the torsional characteristics of the half-through truss bridge.
- (2)
- The main truss strengthens the torsional stiffness of the whole bridge by resisting warping, which increases rapidly with the increase of the width-span ratio. The corrected value of the torsional moment of inertia is far higher than the uncorrected result, which is the dominant factor of the torque resistance of the half-through truss bridge. The most important parameter affecting the torsional stiffness of the half-through truss bridge is the width-span ratio. The torsional stiffness of the bridge will increase with an increase in bridge width and decrease rapidly with a decrease in bridge span.
- (3)
- Strengthening the torsional stiffness of the half-through truss pedestrian bridge by blindly strengthening the size of bridge components or increasing the volume of the bridge is not suitable for existing bridges. By analogy with the open thin-walled member, it is found that the torsional stiffness of the whole bridge can be improved by adding X-shaped frames between the transverse girders of the half-through truss pedestrian bridge. The effect of adding X-shaped reinforcing frames is remarkable, which can greatly improve the torsional stiffness. The strengthened torsional stiffness not only can improve the deformation performance of the bridge, but it can also improve the stability of the bridge. This method does not change the appearance and material of the structure and does not require large-scale disassembly. The strengthened aluminum alloy bridges not only can maintain the advantage of corrosion resistance, but can also be improved in resisting extreme loads, such as earthquakes and shock.
Author Contributions
Funding
Institutional Review Board Statement
Informed Consent Statement
Data Availability Statement
Acknowledgments
Conflicts of Interest
References
- Wen, Q.J.; Ren, Z.J. Structural analysis of a large aluminum alloy truss double-arch bridge. Structures 2021, 29, 924–936. [Google Scholar] [CrossRef]
- Heitel, S.; Koriath, H.; Herzog, C.S.; Specht, G. Comparative life-cycle cost analysis of pedestrian bridges made from different materials. Bautechnik 2008, 85, 687–695. [Google Scholar] [CrossRef]
- Das, S.K.; Kaufman, J.G. Aluminum alloys for bridges and bridge decks. Miner. Met. Mater. Soc. 2007, 61–74. [Google Scholar]
- Wen, Q.J.; Yue, Z.X. Nonlinear stability of the upper chords in half-through truss bridges. Steel Compos. Struct. 2020, 36, 307–319. [Google Scholar]
- Raza, S.; Khan, M.K.I.; Menegon, S.J.; Tsang, H.; Wilson, J.L. Strengthening and Repair of Reinforced Concrete Columns by Jacketing: State-of-the-Art Review. Sustainability 2019, 11, 3208. [Google Scholar] [CrossRef]
- Dey, P.; Narasimhan, S.; Walbridge, S. Evaluation of Design Guidelines for the Serviceability Assessment of Aluminum Pedestrian Bridges. J. Bridge Eng. 2017, 22, 4016109. [Google Scholar] [CrossRef]
- Yu, J.L.; Luo, Y.Z. Influence of torsion stiffness of spatial truss string system on structural stability. J. Zhejiang Univ. (Eng. Sci.) 2013, 47, 1353–1360. [Google Scholar]
- Li, G.H. Study on the Theory of Bridge and Structure; Shanghai Science and Technology Literature Press: Shanghai, China, 1983; pp. 122–123. [Google Scholar]
- Adamakos, T.; Vayas, I.; Petridis, S.; Iliopoulos, A. Modeling of curved composite I-girder bridges using spatial systems of beam elements. J. Constr. Steel Res. 2011, 67, 462–470. [Google Scholar] [CrossRef]
- Vayas, I.; Adamakos, T.; Iliopoulos, A. Spatial systems for modelling steel-concrete composite bridges-comparison of grillage systems and FE models. Steel Constr. 2010, 3, 100–111. [Google Scholar] [CrossRef]
- Smyrnaios, S.; Iliopoulos, A.; Vayas, I. Truss models for inelastic stability analysis and design of steel plate girders. Eng. Struct. 2015, 105, 165–173. [Google Scholar] [CrossRef]
- Okumura, T.; Watanabe, H. An Investigation of Truss Bridges Under Torsional Loading. Proc. Inst. Civ. Eng. 1965, 121, 1–9. [Google Scholar] [CrossRef][Green Version]
- Xu, G. Calculation of torsional moment of inertia of Space Truss. J. Taiyuan Univ. Sci. Technol. 1984, 1, 46–57. [Google Scholar]
- Giltner, B.; Kassimali, A. Equivalent Beam Method for Trusses. Pract. Period. Struct. Des. Constr. 2000, 5, 70–77. [Google Scholar] [CrossRef]
- Zhou, X.H.; Qin, F.J.; Di, J.; Qiao, P. Continuous Analysis Method for Deck-truss Composite Stiffening Girder Based on Energy Principle. China J. Highw. Transp. 2014, 2710, 34–43. [Google Scholar]
- Li, Y.L.; Wang, L.; Xiang, H.Y.; Chen, Z.X. A Computational method of torsional moment of inertia of plate truss girders. Eng. Mech. 2018, 35, 125–131. [Google Scholar]
- Tamura, S. Composite construction of suspension truss and floor slab (No. 1). Bridge 1974, 10, 38–52. [Google Scholar]
- Xu, Y.L.; Ko, J.M.; Yu, Z. Modal analysis of tower-cable system of tsing ma long suspension bridge. Eng. Struct. 1997, 19, 857–867. [Google Scholar] [CrossRef]
- Siekierski, W. Equivalent moment of inertia of a truss bridge with steel-concrete composite deck. Struct. Eng. Mech. 2015, 55, 801–813. [Google Scholar] [CrossRef]
- Xiong, B.; Luo, X.L.; Tan, H. Analysis of Torsional Stiffness of All-composite Truss. Acat Mater. Compos. Sin. 2015, 32, 501–507. [Google Scholar]
- Chen, B.Z. Mechanics of Thin-Walled Structures; Shanghai Jiaotong University Press: Shanghai, China, 1998; pp. 96–97. [Google Scholar]
- Yan, S.P. Mechanics of Materials; Science Press: Beijing, China, 2012; pp. 100–101. [Google Scholar]
- Yue, Z.X.; Wen, Q.J.; Zhuo, T. Stability Analysis of Half-Through Truss Bridge. Eng. Mech. 2018, 35, 270–277. [Google Scholar]
- Murthasmith, S.E. Cross Stiffeners for Beams in Torsion. J. Struct. Eng. 1995, 121, 1119–1124. [Google Scholar] [CrossRef]


















| Component | Cross Section of Component (mm) |
|---|---|
| Upper and bottom chord | Double 230 × 90 × 12 |
| Web member of the main girder | □ 120 × 160 × 10 |
| Upper member of the transverse girder and Web member of the transverse girder | □ 70 × 70 × 5 |
| Bottom member of the transverse girder | Double □ 70 × 70 × 5 |
| The X-shaped bottom horizontal frame | Double □ 120 × 160 × 10 |
Publisher’s Note: MDPI stays neutral with regard to jurisdictional claims in published maps and institutional affiliations. |
© 2022 by the authors. Licensee MDPI, Basel, Switzerland. This article is an open access article distributed under the terms and conditions of the Creative Commons Attribution (CC BY) license (https://creativecommons.org/licenses/by/4.0/).
Share and Cite
Yue, Z.; Wen, Q.; Ding, Y. Research on Torsional Characteristic and Stiffness Reinforcement of Main Girder of Half-Through Truss Bridge. Sustainability 2022, 14, 6628. https://doi.org/10.3390/su14116628
Yue Z, Wen Q, Ding Y. Research on Torsional Characteristic and Stiffness Reinforcement of Main Girder of Half-Through Truss Bridge. Sustainability. 2022; 14(11):6628. https://doi.org/10.3390/su14116628
Chicago/Turabian StyleYue, Zixiang, Qingjie Wen, and Youliang Ding. 2022. "Research on Torsional Characteristic and Stiffness Reinforcement of Main Girder of Half-Through Truss Bridge" Sustainability 14, no. 11: 6628. https://doi.org/10.3390/su14116628
APA StyleYue, Z., Wen, Q., & Ding, Y. (2022). Research on Torsional Characteristic and Stiffness Reinforcement of Main Girder of Half-Through Truss Bridge. Sustainability, 14(11), 6628. https://doi.org/10.3390/su14116628

