The Impact of Ecological Knowledge on Young Consumers’ Attitudes and Behaviours towards the Food Market
Abstract
1. Introduction
2. Ecological Knowledge and the Consumers’ Attitudes and Behaviours
3. The Polish Consumer as the Object of the Research in the Context of Environmental Awareness, Attitudes and Behaviours
| The Scope of the Research in Terms of Object | Selected Papers |
|---|---|
| Ecological knowledge, attitudes and behaviours of the consumers | M. Grzybowska-Brzezińska [68,69,70], D. Kiełczewski [71], A. Dąbrowska [60], M. Burgiel, J. Zrałek [72], A. Matel [73], I. Escher, J. Petrykowska [74], L. Witek, K. Szalonka [75], W. Patrzałek [65], J. Zrałek [59], L. Witek [63,76]. |
| Conditions of sustainable consumption | D. Kiełczewski D. [77,78], M. Grzybowska-Brzezińska [79], K. Wasilik [80], A. Dąbrowska, F. Bylok, M. Janoś-Kresło D. Kiełczewski, I. Ozimek [81], T. Zalega [82], B. Jaros [83], W. Łuczka [84], K. Gutkowska, J. Czarnecki [85], G. Zasuwa [86], E.M. Marek [87]. |
4. Materials and Methods
4.1. Questionnaire
4.2. Data Collection
4.3. Data Analysis
- recognize the values of a particular social group and the importance of ecological norms,
- evaluate the level of knowledge of the threats resulting from the destruction of the natural environment,
- study the correlation between ecological awareness and specific behaviours of people and their plans for the future [92].
5. Results and Discussion
- the questionnaire and selection of research tools in the study were based on literature studies,
- the analysis of the collected research material conducted in the work focuses mainly on qualitative variables measured with the use of the Likert scale (seven-point),
- the theoretical construct proposed in the work was developed on the basis of literature studies, while the empirical construct was based on our own research.
- synthesis (comparing separate factors as a comprehensive cognitive approach to the studied phenomenon) and analysis (the analysis of certain wholes into component parts—theses, structures and phenomena—and considering each of them separately)
- deduction (deduction as a research process involving the transition from the general to the detailed) and induction (as a type of reduction reasoning—the process of concluding based on the premises that are individual cases)
- comparing and contrasting value features and data results
- generalization and concluding are the final process of implemented research issues
5.1. Reliability and Validity
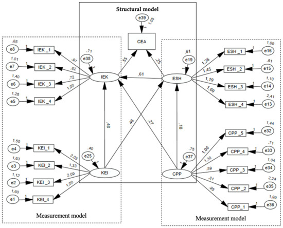
5.2. Structural Model
- η m × 1 is the vector of endogenous hidden variables,
- ξ k × 1 is the vector of exogenous hidden variables,
- Bm × m is the matrix of regression coefficients for endogenous variables,
- Γm × k is the matrix of coefficients for exogenous variables,
- ζ m × 1 is the vector of random components.
x = Πxξ + δ
- y p × 1 is the vector of observable endogenous variables,
- x q × 1 is the vector of observable exogenous variables,
- Πy, Πx are the factor load matrices,
- ε p × 1, δq × 1 are the measurement error vectors.
- Chi-square/df = 2.021 (<3)
- p-value for the model < 0.001 (>0.05)
- Goodness of fit index (GFI) = 0.902 (≥0.9)
- CFI = 0.904 (≥0.9)
- Adjusted goodness of fit index (AGFI) = 0.871(≥0.8)
- Root mean square error of approximation (RMSEA) = 0.062 (≤0.08)
5.3. Measurement Model
5.4. Hypothesis Testing
6. Conclusions
7. Limitations and Future Research
Author Contributions
Funding
Institutional Review Board Statement
Informed Consent Statement
Data Availability Statement
Conflicts of Interest
References
- Boulstridge, E.; Carrigan, M. Do consumers really care about corporate responsibility? Highlighting the attitude-behaviour gap. J. Commun. Manag. 2000, 4, 355–368. [Google Scholar] [CrossRef]
- Moser, A.K. Thinking green, buying green? Drivers of pro-environmental purchasing behavior. J. Consum. Mark. 2015, 32, 167–175. [Google Scholar] [CrossRef]
- Hassan, L.; Shiu, E.; Shaw, D. Who says there is an intention-behaviour gap? Assessing the empirical evidence of an intention–behaviour gap in ethical consumption. J. Bus. Ethics 2016, 136, 219–236. [Google Scholar] [CrossRef]
- Cowe, R.; Williams, S. Who are the ethical consumers? In Ethical Consumerism Report; Cooperative Bank: Manchester, UK, 2000. [Google Scholar]
- Fraj-Andrés, E.; Martínez-Salinas, E. Impact of environmental knowledge on ecological consumer behaviour. J. Int. Consum. Mark. 2007, 19, 73–102. [Google Scholar] [CrossRef]
- Bolton, R.N.; Parasuraman, A.; Hoefnagels, A.; Migchels, N.; Kabadayi, S.; Gruber, T.; Solnet, D. Understanding generation Y and their use of social media: A review and research agenda. J. Serv. Manag. 2013, 24, 245–267. [Google Scholar] [CrossRef]
- Witek, L.; Kuźniar, W. Green purchase behavior: The effectiveness of sociodemographic variables for explaining green purchases in emerging market. Sustainability 2021, 13, 209. [Google Scholar] [CrossRef]
- Ajzen, I.; Fishbein, M. Understanding Attitudes and Predicting Social Behavior: Attitudes, Intentions, and Perceived Behavioral Control; Prentice Hall: Englewood Cliffs, NJ, USA, 1980. [Google Scholar]
- Ha, H.-Y.; Janda, S. Predicting consumer intentions to purchase energy-efficient products. J. Consum. Mark. 2012, 29, 461–469. [Google Scholar] [CrossRef]
- Han, H.; Hsu, L.-T.; Sheu, C. Application of the Theory of Planned Behaviour to green hotel choice: Testing the effect of environmental friendly activities. Tour Manag. 2010, 31, 325–334. [Google Scholar] [CrossRef]
- Mostafa, M.M. A hierarchical analysis of the green consciousness of the Egyptian consumer. Psychol. Mark. 2007, 24, 445–473. [Google Scholar] [CrossRef]
- Chen, M.-F.; Tung, P.-J. Developing an extended Theory of Planned Behaviour model to predict consumers’ intention to visit green hotels. Int. J. Hosp. Manag. 2014, 36, 221–230. [Google Scholar] [CrossRef]
- Yeh, S.-S.; Guan, X.; Chiang, T.-Y.; Ho, J.-L.; Huan, T.-C. Reinterpreting the theory of planned behavior and its application to green hotel consumption intention. Int. J. Hosp. Manag. 2021, 94, 102827. [Google Scholar] [CrossRef]
- Moon, S.-J. Investigating beliefs, attitudes, and intentions regarding green restaurant patronage: An application of the extended theory of planned behavior with moderating effects of gender and age. Int. J. Hosp. Manag. 2021, 92, 102727. [Google Scholar] [CrossRef]
- Qi, X.; Ploeger, A. Explaining consumers’ intentions towards purchasing green food in Qingdao, China: The amendment and extension of the theory of planned behavior. Appetite 2019, 133, 414–422. [Google Scholar] [CrossRef]
- Liobikienė, G.; Mandravickaitė, J.; Bernatonienė, J. Theory of planned behavior approach to understand the green purchasing behavior in the EU: A cross-cultural study. Ecol. Econ. 2016, 125, 38–46. [Google Scholar] [CrossRef]
- Ramsey, C.E.; Rickson, R.E. Environmental knowledge and attitudes. J. Environ. Educ. 1976, 8, 10–18. [Google Scholar] [CrossRef]
- Schelly, C. Bringing the body into environmental behavior: The corporeal element of social practice and behavioral change. Hum. Ecol. Rev. 2018, 24, 138. [Google Scholar] [CrossRef]
- Ramayah, T.; Lee, J.W.C.; Lim, S. Sustaining the environment through recycling: An empirical study. J. Environ. Manag. 2012, 102, 141–147. [Google Scholar] [CrossRef]
- Hassan, A.; Noordin, T.A.; Sulaiman, S. The status on the level of environmental awareness in the concept of sustainable development amongst secondary school students. Procedia Soc. Behav. Sci. 2010, 2, 1276–1280. [Google Scholar] [CrossRef]
- Cerri, J.; Testa, F.; Rizzi, F. The more I care, the less I will listen to you: How information, environmental concern and ethical production influence consumers’ attitudes and the purchasing of sustainable products. J. Clean. Prod. 2018, 175, 343–353. [Google Scholar] [CrossRef]
- Arrobas, F.; Ferreira, J.; Brito-Henriques, E.; Fernandes, A. Measuring tourism and environmental sciences students’ attitudes towards sustainable tourism. J. Hosp. Leis. Sport Tour. Educ. 2020, 27, 100273. [Google Scholar] [CrossRef] [PubMed]
- Dhir, A.; Sadiq, M.; Talwar, S.; Sakashita, M.; Kaur, P. Why do retail consumers buy green apparel? A knowledge-attitude-behaviour-context perspective. J. Retail. Consum. Serv. 2021, 59, 102398. [Google Scholar] [CrossRef]
- Liu, P.; Teng, M.; Han, C. How does environmental knowledge translate into pro-environmental behaviors? The mediating role of environmental attitudes and behavioral intentions. Sci. Total Environ. 2020, 728, 138126. [Google Scholar] [CrossRef]
- Pagiaslis, A.; Krontalis, A.K. Green consumption behavior antecedents: Environmental concern, knowledge, and beliefs. Psychol. Mark. 2014, 31, 335–348. [Google Scholar] [CrossRef]
- Bratu, S. Is green consumerism really an environmentally concious behavior? Geopolit. Hist. Int. Relat. 2017, 9, 167–173. [Google Scholar] [CrossRef]
- Diamantopoulos, A.; Schlegelmilch, B.B.; Sinkovics, R.R.; Bohlen, G.M. Can socio-demographics still play a role in profiling green consumers? A review of the evidence and an empirical investigation. J. Bus. Res. 2003, 56, 465–480. [Google Scholar] [CrossRef]
- Flamm, B. The impacts of environmental knowledge and attitudes on vehicle ownership and use. Transp. Res. 2009, 14, 272–279. [Google Scholar] [CrossRef]
- Gram-Hanssen, K. Standby consumption in households analyzed with a practice theory approach. J. Ind. Ecol. 2010, 14, 150–165. [Google Scholar] [CrossRef]
- Khan, M.S.; Saengon, P.; Alganad, A.M.N.; Chongcharoen, D.; Farrukh, M. Consumer green behaviour: An approach towards environmental sustainability. Sustain. Dev. 2020, 28, 1168–1180. [Google Scholar] [CrossRef]
- Paço, A.; Lavrador, T. Environmental knowledge and attitudes and behaviours towards energy consumption. J. Environ. Manag. 2017, 197, 384–392. [Google Scholar] [CrossRef] [PubMed]
- Misra, S.; Panda, R.K. Environmental consciousness and brand equity. An impact assessment using analytical hierarchy process(AHP). Mark. Intell. Plan. 2017, 35, 40–61. [Google Scholar] [CrossRef]
- Fransson, N.; Garling, T. Environmental concern: Conceptual definitions, measurement methods, and research findings. J. Environ. Psychol. 1999, 19, 369–382. [Google Scholar] [CrossRef]
- Hartmann, P.; Apaolaza-Ibanez, V. Consumer attitude and purchase intention toward green energy brands: The roles of psychological benefits and environmental concern. J. Bus. Res. 2012, 65, 1254–1263. [Google Scholar] [CrossRef]
- Oreg, S.; Katz-Gerro, T. Predicting pro-environmental behavior cross- nationally: Values, the theory of planned behavior, and value-belief-norm theory. Environ. Behav. 2006, 38, 462–483. [Google Scholar] [CrossRef]
- Mohd Suki, N.; Mohd Suki, N. Consumption values and consumer environmental concern regarding green products. Int. J. Sustain. Dev. World Ecol. 2015, 22, 269–278. [Google Scholar] [CrossRef]
- Bang, H.-K.; Ellinger, A.E.; Hadjimarcou, J.; Traichal, P.A. Consumer concern, knowledge, belief, and attitude toward renewable energy: An application of the reasoned action theory. Psychol. Mark. 2000, 17, 449–468. [Google Scholar] [CrossRef]
- Polonsky, M.J.; Garma, R.; Landreth Grau, S. Western consumers’ understanding of carbon offsets and its relationship to behavior. Asia Pac. J. Mark. Logist. 2011, 23, 583–603. [Google Scholar] [CrossRef]
- Shao, J. Are present sustainability assessment approaches capable of promoting sustainable consumption? A cross-section review on information transferring approaches. Sustain. Prod. Consum. 2016, 7, 79–93. [Google Scholar] [CrossRef]
- Nin, Y.; Zhoumin, S.; Zaoying, K. Why green consumption behavior is “easier said than done”? Evidence from China Market. Int. J. Bus. Soc. Sci. 2016, 7, 143–155. [Google Scholar]
- Arcury, T.A. Environmental attitude and environmental knowledge. Hum. Organ. 1990, 49, 300–304. [Google Scholar] [CrossRef]
- Tikka, P.M.; Kuitunen, M.T.; Tynys, S.M. Effects of educational background on students’ attitudes, activity levels, and knowledge concerning the environment. J. Environ. Educ. 2000, 31, 12–19. [Google Scholar] [CrossRef]
- Luo, Y.; Deng, J. The new environmental paradigm and nature-based tourism motivation. J. Travel Res. 2008, 46, 392–402. [Google Scholar] [CrossRef]
- Eagly, A.H.; Chaiken, S. The advantages of an inclusive definition of attitude. Soc. Cogn. 2007, 25, 582–602. [Google Scholar] [CrossRef]
- Armitage, C.J.; Conner, M. Efficacy of the theory of planned behaviour: A meta-analytic review. Br. J. Soc. Psychol. 2001, 40, 471–499. [Google Scholar] [CrossRef]
- Kotchen, M.; Reiling, S. Environmental attitudes, motivations, and contingent valuation of nonuse values: A case study involving endangered species. Ecol. Econ. 2000, 32, 93–107. [Google Scholar] [CrossRef]
- McDonald, S.; Oates, C.; Thyne, M.; Timmis, A.; Carlie, C. Flying in the face of environmental concern: Why green consumers continue to fly. J. Mark. Manag. 2015, 31, 1503–1528. [Google Scholar] [CrossRef]
- Czarnezki, J.; Jönsson, K.; Kuh, K. Crafting next generation eco-label policy. Environ. Law 2018, 48, 411. [Google Scholar]
- Report of the World Commission on Environment and Development: Our Common Future. Available online: https://sustainabledevelopment.un.org/content/documents/5987our-common-future.pdf (accessed on 15 December 2020).
- Meenakshi, S.; Leela, R. Environmentally sustainable consumption: A review and agenda for future research. Glob. J. Finance Manag. 2014, 6, 367–374. [Google Scholar]
- Gordon, R.; Carrigan, M.; Hastings, G. A framework for sustainable marketing. Mark. Theory 2011, 11, 143–163. [Google Scholar] [CrossRef]
- Axelrod, L.J.; Lehman, D.R. Responding to environmental concerns: What factors guide individual action? J. Environ. Psychol. 1993, 13, 149–159. [Google Scholar] [CrossRef]
- Steg, L.; Bolderdijk, J.W.; Keizer, K.; Perlaviciute, G. An integrated framework for encouraging pro-environmental behaviour: The role of values, situational factors and goals. J. Environ. Psychol. 2014, 38, 104–115. [Google Scholar] [CrossRef]
- Ramayah, T.; Lee, J.W.C.; Mohamad, O. Green product purchase intention: Some insights from a developing country. Resour. Conserv. Recycl. 2010, 54, 1419–1427. [Google Scholar] [CrossRef]
- Sheltzer, L.; Stackman, R.W.; Moore, L.F. Business —Environment attitudes and the new environmental paradigm. J. Environ. Educ. 1991, 22, 20. [Google Scholar]
- Chan, E.S.; Hon, A.H.; Chan, W.; Okumus, F. What drives employees’ intentions to implement green practices in hotels? The role of knowledge, awareness, concern and ecological behaviour. Int. J. Hosp. Manag. 2014, 40, 20–28. [Google Scholar] [CrossRef]
- Dagher, G.K.; Itani, O.S. The influence of environmental attitude, environmental concern and social influence on green purchasing behavior. Rev. Bus. Res. 2012, 12, 104–110. [Google Scholar]
- Aini, M.S.; Fakhrul’l-Razi, A.; Laily, H.P.; Jariah, M. Environmental concerns, knowledge and practice gap among Malaysian teachers. Int. J. Sustain. High. Educ. 2003, 4, 305–313. [Google Scholar]
- Zrałek, J. Konsument Wobec Wyzwań Zrównoważonej Konsumpcji. Zrównoważone Zachowania Konsumenckie i Ich Determinanty; Wydawnictwo Uniwersytetu Ekonomicznego w Katowicach: Katowice, Poland, 2018; pp. 87–215. [Google Scholar]
- Dąbrowska, A. Postawy polskich konsumentów—Od konsumpcjonizmu do zrównoważonej konsumpcji. Handel Wewnętrzny 2015, 2, 88–100. [Google Scholar]
- Bauman, Z. Praca, Konsumpcjonizm, Nowi Ubodzy; Wydawnictwo WAM: Kraków, Poland, 2006; p. 65. [Google Scholar]
- Dąbrowska, A. Zachowania konsumentów na rynku żywnościowych produktów tradycyjnych i regionalnych. Wyzwania dla marketing. Handel Wewnętrzny 2018, 3, 106–117. [Google Scholar]
- Witek, L. Zachowania Nabywców Względem Produktów Ekologicznych—Determinanty, Model i Implikacje dla Marketingu; Oficyna Wydawnicza Politechniki Rzeszowskiej: Rzeszów, Poland, 2019. [Google Scholar]
- Kieżel, E. Wiedza ekonomiczna polskich konsumentów jako podstawa innowacyjnej konsumpcji. Handel Wewnętrzny 2018, 3, 219–230. [Google Scholar]
- Patrzałek, W. Znaczenie Świadomości Ekologicznej w Zachowaniach Konsumenckich; Prace Naukowe Uniwersytetu Ekonomicznego we Wrocławiu: Wrocław, Poland, 2017. [Google Scholar]
- Instytut Badania Rynku i Opinii Społecznej IMAS International. Raport Żywność Ekologiczna w Polsce w Opiniach Konsumentów; Instytut Badania Rynku i Opinii Społecznej IMAS International: Wrocław, Poland, 2019. [Google Scholar]
- Research Institute of Organic Agriculture. The World of Organic Agriculture—Statistics and Emerging Trends; Research Institute of Organic Agriculture: Frick, Switzerland, 2019. [Google Scholar]
- Grzybowska-Brzezińska, M. Świadomość ekologiczna konsumentów a zachowania na rynku żywności. Studia I Mater. Pol. Stowarzyszenia Zarządzania Wiedzą 2011, 51, 242–253. [Google Scholar]
- Grzybowska-Brzezińska, M. Uwarunkowania rozwoju ekokonsumpcji w zachowaniach konsumentów północno-wschodniej Polski. Handel Wewnętrzny 2012, 9–10, 209–217. [Google Scholar]
- Grzybowska-Brzezińska, M. Zachowania młodych konsumentów i seniorów na rynku żywności ekologicznej, Zeszyty Naukowe Uniwersytetu Szczecińskiego. Probl. ZarządzaniaFinans. I Mark. 2012, 25, 211–222. [Google Scholar]
- Kiełczewski, D. Zmiany zachowań konsumenckich jako czynnik zrównoważonego rozwoju. Handel Wewnętrzny 2012, 5, 201–208. [Google Scholar]
- Burgiel, A.; Zrałek, J. Is sustainable consumption possible in Poland? an examination of consumers’ attitudes toward deconsumption practices. Acta Sci. Pol. Oeconomia 2015, 14, 15–25. [Google Scholar]
- Matel, A. Przesłanki ekologizacji konsumpcji z perspektywy zachowań konsumenckich. Zarządzanie. Teor. I Prakt. 2016, 2, 55–61. [Google Scholar]
- Escher, I.; Petrykowska, J. Żywność ekologiczna w opinii młodych polskich konsumentów—wyniki badania, Zeszyty Naukowe Szkoły Głównej Gospodarstwa Wiejskiego. Ekon. I Organ. Gospod. Żywnościowej 2016, 113, 33–44. [Google Scholar] [CrossRef]
- Witek, L.; Szalonka, K. Percepcja zdrowej żywności a zachowania konsumentów, Zeszyty Naukowe Szkoły Głównej Gospodarstwa Wiejskiego. Ekon. I Organ. Gospod. Żywnościowej 2017, 120, 159–174. [Google Scholar] [CrossRef]
- Witek, L. Typologia konsumentów na rynku produktów ekologicznych, Zeszyty Naukowe Uniwersytetu Szczecińskiego nr 824. Probl. Zarządzania Finans. I Mark. 2014, 35, 209–217. [Google Scholar]
- Kiełczewski, D. Struktura pojęcia konsumpcji zrównoważonej. Ekon. I Środowisko 2007, 2, 36–50. [Google Scholar]
- Kiełczewski, D. Konsumpcja a Perspektywy Zrównoważonego Rozwoju; Wydawnictwo Uniwersytetu w Białymstoku: Białystok, Poland, 2008. [Google Scholar]
- Grzybowska-Brzezińska, M. Wpływ instrumentów marketingu ekologicznego na zachowania konsumentów na rynku produktów spożywczych, Zeszyty Naukowe Uniwersytetu Szczecińskiego. Probl. ZarządzaniaFinans. I Mark. 2013, 30, 47–58. [Google Scholar]
- Wasilik, K. Trendy w zachowaniach współczesnych konsumentów—konsumpcjonizm a konsumpcja zrównoważona. Konsumpcja I Rozw. 2014, 1, 66–74. [Google Scholar]
- Dąbrowska, A.; Bylok, F.; Janoś-Kresło, M.; Kiełczewski, D.; Ozimek, I. Kompetencje Konsumentów. Innowacyjne Zachowania. Zrównoważona Konsumpcja; PWE: Warsaw, Poland, 2015. [Google Scholar]
- Zalega, T. Zrównoważony rozwój a zrównoważona konsumpcja—wybrane aspekty. Konsumpcja I Rozw. 2015, 4, 3–26. [Google Scholar]
- Jaros, B. Bariery i pozytywne tendencje w rozwoju zrównoważonej konsumpcji w Polsce. Ekon. Środowisko 2016, 2, 24–36. [Google Scholar]
- Łuczka, W. Zrównoważona konsumpcja i uwarunkowania jej rozwoju. Handel Wewnętrzny 2016, 6, 136–145. [Google Scholar]
- Gutkowska, K.; Czarnecki, J. Sustainable Development, sustainable consumption, sustainable household, sustainable consumer: Theoretical and empirical impressions. Konsumpcja Rozwój 2018, 4, 144–162. [Google Scholar]
- Zasuwa, G. Preferencje wartości a wybory konsumentów dotyczące zrównoważonej konsumpcji. Mark. I Rynek 2019, 1, 14–29. [Google Scholar] [CrossRef]
- Marek, E.M. Intention not to waste food in Poland: An application of the Theory of Planned Behaviour. J. Environ. Res. 2019, 3, 63–64. [Google Scholar]
- Suki, N.M. Consumer environmental concern and green product purchase in Malaysia: Structural effects of consumption values. J. Clean. Prod. 2016, 132, 204–214. [Google Scholar] [CrossRef]
- Urena, F.; Bernabeu, R.; Olmeda, M. Women, men and organic food: Differences in their attitudes and willingness to pay: A Spanish case study. J. Consum. Stud. 2008, 32, 18–26. [Google Scholar]
- Dimitri, C.; Dettmann, R. Organic food consumers: What do we really know about them? Br. Food J. 2012, 114, 1157–1183. [Google Scholar] [CrossRef]
- Górka, K.; Poskrobko, B.; Radecki, W. Ochrona Środowiska. Problemy Społeczne, Ekonomiczne i Prawne; PWE: Warsaw, Poland, 2001. [Google Scholar]
- Wódz, J. Zagrożenia Ekologiczne. Warunki Życia. Wizje Przyszłości, Polityka w Dziedzinie Środowiska. Ogólne Zasady i Podstawowe Ramy. 1993. Available online: http://www.europarl.europa.eu/ftu/pdf/pl/FTU_5.4.1.pdf (accessed on 14 December 2020).
- Apanowicz, J. Metodologia Ogólna; Wydawnictwo Diecezji Pelplińskiej “BERNARDINUM”: Gdynia, Poland, 2002. [Google Scholar]
- Bollen, K.A. Structural Equations with Latent Variables; Wiley: Hoboken, NJ, USA, 1989. [Google Scholar]
- Pearl, J. Causality: Models, Reasoning, and Inference; Cambridge University Press: Cambridge, UK, 2000. [Google Scholar]
- Kaplan, D. Structural Equation Modeling: Foundations and Extensions, 2nd ed.; SAGE: Thousand Oaks, CA, USA, 2009. [Google Scholar]
- Kline, R.B. Principles and Practice of Structural Equation Modeling, 3rd ed.; Guilford Press: New York, NY, USA, 2011. [Google Scholar]
- Gatnar, E. Statystyczne Modele Struktury Przyczynowej Zjawisk Ekonomicznych; Wydawnictwo Akademii Ekonomicznej, Im. Karola Adamieckiego w Katowicach: Katowice, Poland, 2003. [Google Scholar]
- Osińska, M. Ekonometryczna Analiza Zależności Przyczynowych, 1st ed.; Wydawn. Naukowe Uniwersytetu Mikołaja Kopernika: Toruń, Poland, 2008. [Google Scholar]
- Konarski, R. Modele równań Strukturalnych: Teoria i Praktyka; Wydawnictwo Naukowe PWN: Warszawa, Poland, 2014. [Google Scholar]
- Osińska, M.; Pietrzak, M.B.; Żurek, M. Wykorzystanie modeli równań strukturalnych do opisu psychologicznych mechanizmów podejmowania decyzji na rynku kapitałowym. Acta Univ. Nicolai Copernic. Ekon. Xlii Nauk. Humanist. Społeczne 2011, 402, 7–21. [Google Scholar] [CrossRef]
- Sroka, W. Wykorzystanie modelu równań strukturalnych do oceny wpływu kapitału ludzkiego na sukces ekonomiczny przodujących gospodarstw karpackich. Rocz. Nauk Rol. 2009, 96, 194–203. [Google Scholar]
- Sagan, A. Model Pomiarowy Satysfakcji i Lojalności; Statsoft Polska: Kraków Poland, 2003. [Google Scholar]
- Garson, G.D. Hierarchical Linear Modeling: Guide and Applications; Sage: Asheboro, NC, USA, 2012. [Google Scholar]
- Karasiewicz, K.; Makarowski, R. Zimowe Warsztaty Analityczne. Modelowanie strukturalne z programem AMOS—Wybrane Modele Równań Strukturalnych na Przykładach z Psychologii; Uniwersytet Gdański: Gdańsk, Poland, 2012. [Google Scholar]
- Van Heerden, S.; Theron, C. The elaboration and empirical evaluation of the De Goede learning potential structural model. S. Afr. J. Bus. Manag. 2014, 45, 1–29. [Google Scholar] [CrossRef]
- Shin, Y.H.; Im, J.; Jung, S.E.; Severt, K. Consumers’ willingness to patronize locally sourced restaurants: The impact of environmental concern, environmental knowledge, and ecological behavior. J. Hosp. Mark. Manag. 2017, 26, 644–658. [Google Scholar] [CrossRef]
- Ajzen, I. The theory of planned behavior. Organ. Behav. Hum. Decis. Process. 1991, 50, 179–211. [Google Scholar] [CrossRef]
- Larios-Gómez, E. Relation among ecological affect, concern and knowledge and purchase behavior: A study regarding Mexican consumers. Rev. Mark. 2019, 18, 73–100. [Google Scholar] [CrossRef]
- Fraj, E.; Martinez, E. Ecological consumer behaviour: An empirical analysis. Int. J. Consum. Stud. 2007, 31, 26–33. [Google Scholar] [CrossRef]
- Singh, A.; Verma, P. Factors influencing Indian consumers’ actual buying behavior towards organic food products. J. Clean. Prod. 2017, 167, 473–483. [Google Scholar] [CrossRef]
- Da Silva Tamashiro, H.R.; da Silveira, J.A.G.; Acevedo, C.R. An empirical study of the determinants of green shopping behavior in Brazil. Ama Mark. Public Policy Acad. Conf. Proc. 2013, 23, 68–69. [Google Scholar]
- Guven, G.; Sulun, Y. Pre-service teachers’ knowledge and awareness about renewable energy. Renew. Sustain. Energy Rev. 2017, 80, 663–668. [Google Scholar] [CrossRef]
- Zareie, B.; Navimipour, N.J. The impact of electronic environmental knowledge on the environmental behaviors of people. Comput. Hum. Behav. 2016, 59, 1–8. [Google Scholar] [CrossRef]
- Islam, M.T.; Dias, P.; Huda, N. Young consumers’ e-waste awareness, consumption, disposal, and recycling behavior: A case study of university students in Sydney, Australia. J. Clean. Prod. 2021, 282, 124490. [Google Scholar] [CrossRef]
- Donmez-Turan, A.; Kiliclar, I.E. The analysis of pro-environmental behaviour based on ecological worldviews, environmental training/ knowledge and goal frames. J. Clean. Prod. 2021, 279, 123518. [Google Scholar] [CrossRef]
- Akehurst, G.; Afonso, C.; Gonçalves, H. Re-examining green purchase behavior and the green consumer profile: New evidences. Manag. Decis. 2012, 50, 972–988. [Google Scholar] [CrossRef]
- Lu, L.; Bock, D.; Joseph, M. Green marketing: What the Millennials buy. J. Bus. Strategy 2013, 34, 3–10. [Google Scholar] [CrossRef]
- Kanchanapibul, M.; Lack, E.; Wang, X.; Chan, H.K. An empirical investigation of green purchase behavior among the young generation. J. Clean. Prod. 2014, 66, 528–536. [Google Scholar] [CrossRef]
- Black, I.R.; Cherrier, H. Anti-consumption as part of living a sustainability lifestyle: Daily practices, contextual motivation and subjective values. J. Consum. Behav. 2010, 9, 437–453. [Google Scholar] [CrossRef]
- Escher, I.; Petrykowska, J. Proekologiczne zachowania młodych polskich konsumentów. Handel Wewnętrzny 2015, 2, 129–130. [Google Scholar]
- Lago, N.C.; Marcon, A.; Duarte Ribeiro, J.L.; de Medeiros, J.F.; Brião, V.B.; Antoni, V.L. Determinant attributes and the compensatory judgment rules applied by young consumers to purchase environmentally sustainable food products. Sustain. Prod. Consum. 2020, 23, 256–273. [Google Scholar] [CrossRef]


| Specification | Rural Areas | Urban Areas | |||||
|---|---|---|---|---|---|---|---|
| Amount | % of n in the Table | Amount | % of n in the Table | Total Amount | % of n in the Table | ||
| Female The average net monthly income per capita in the household | below the average of the surveyed area | 52 | 19.62 | 20 | 7.55 | 72 | 27.17 |
| within the average of the surveyed area (approx. PLN 1400) | 64 | 24.15 | 35 | 13.21 | 99 | 37.36 | |
| above the average of the surveyed area | 20 | 7.55 | 15 | 5.66 | 35 | 13.21 | |
| Male The average net monthly income per capita in the household | below the average of the surveyed area | 9 | 3.40 | 4 | 1.51 | 13 | 4.91 |
| within the average of surveyed area (approx. PLN 1400) | 16 | 6.04 | 10 | 3.77 | 26 | 9.81 | |
| above the average of the surveyed area | 9 | 3.40 | 11 | 4.15 | 20 | 7.55 | |
| 170 | 64.15 | 95 | 35.85 | 265 | 100% | ||
| Estimate | S.E. | C.R. | p | |||
|---|---|---|---|---|---|---|
| ESH | <--- | CPP | 0.183 | 0.077 | 2.395 | 0.017 |
| ESH | <--- | KEI | 0.459 | 0.131 | 3.517 | *** |
| IEK | <--- | ESH | 0.612 | 0.127 | 4.834 | *** |
| IEK | <--- | CPP | 0.27 | 0.092 | 2.922 | 0.003 |
| IEK | <--- | KEC | 0.482 | 0.149 | 3.244 | 0.001 |
| KEC_4 | <--- | KEI | 1 | |||
| KEC_3 | <--- | KEI | 2.092 | 0.336 | 6.221 | *** |
| KEC_2 | <--- | KEI | 1.334 | 0.24 | 5.552 | *** |
| KEC_1 | <--- | KEI | 2.034 | 0.33 | 6.167 | *** |
| IEK_4 | <--- | IEK | 1 | |||
| IEK_3 | <--- | IEK | 0.721 | 0.089 | 8.125 | *** |
| IEK_2 | <--- | IEK | 0.819 | 0.086 | 9.538 | *** |
| IEK_1 | <--- | IEK | 0.974 | 0.093 | 10.482 | *** |
| ESH_4 | <--- | ESH | 1 | |||
| ESH_3 | <--- | ESH | 1.188 | 0.171 | 6.954 | *** |
| ESH_2 | <--- | ESH | 1.453 | 0.197 | 7.388 | *** |
| ESH_1 | <--- | ESH | 1.26 | 0.179 | 7.049 | *** |
| CPP_5 | <--- | CPP | 1 | |||
| CPP_4 | <--- | CPP | 1.381 | 0.173 | 7.997 | *** |
| CPP_3 | <--- | CPP | 0.893 | 0.123 | 7.239 | *** |
| CPP_2 | <--- | CPP | 0.813 | 0.146 | 5.566 | *** |
| CPP_1 | <--- | CPP | 0.947 | 0.149 | 6.347 | *** |
| CEA | <--- | IEK | 0.553 | 0.097 | 5.723 | *** |
| CEA | <--- | ESH | 0.253 | 0.121 | 2.082 | 0.037 |
| Designation in the SEM Diagram | Content of the Determinant | Assigned Hidden Variable | Factor Analysis FCA | |||
|---|---|---|---|---|---|---|
| IEK_1 | The constant pursuit to expand knowledge concerning green food and developing healthy food habits | Interest in ecological knowledge (IEK) Cronbach’s alpha (0.79), AVE (0.6) | 0.732 | |||
| IEK_2 | In recent years I have increased the level of knowledge and awareness in terms of developing healthy food habits significantly | 0.757 | ||||
| IEK_3 | I try to catch up with the ongoing social campaigns devoted to healthy eating and to put them into practice | 0.523 | ||||
| IEK_4 | I expand my knowledge concerning eating habits on a regular basis by referring to the information presented by the experts | 0.728 | ||||
| KEI_1 | The production of beef on a global scale leads to climate change to a great extent | Knowledge of ecological Issues (KEI) Cronbach’s alpha (0.77), AVE (0.52) | 0.696 | |||
| KEI_2 | Purchasing local products eliminates the emission of greenhouse gases related to the food supply | 0.695 | ||||
| KEI_3 | Diets’ rich in fruits and vegetables instead of in meat and products of animal origin make a positive impact on the environment | 0.597 | ||||
| KEI_4 | Purchasing from the locals makes them verify their cultivation which is beneficial to the environment | 0.413 | ||||
| ESH_1 | I always check the country of origin of my food | Ecological shopping habits (ESH) Cronbach’s alpha (0.74), AVE (0.51) | 0.593 | |||
| ESH_2 | Purchasing food products. I always check if it has a certificate of high quality | 0.662 | ||||
| ESH_3 | I most often purchase food in the shops dedicated to green products | 0.738 | ||||
| ESH_4 | I prefer food products grown regionally/locally | 0.475 | ||||
| CPP_1 | When shopping for food I always use my own reusable bags | Conscious Purchasing Planning (CPP) Cronbach’s alpha (0.76), AVE (0.53) | 0.628 | |||
| CPP_2 | I plan my meals in advance | 0.527 | ||||
| CPP_3 | I cook using the ingredients at hand | 0.659 | ||||
| CPP_4 | Before shopping. I look into the cupboards and the fridge | 0.769 | ||||
| CPP_5 | When shopping I take a shopping list | 0.659 | ||||
Publisher’s Note: MDPI stays neutral with regard to jurisdictional claims in published maps and institutional affiliations. |
© 2021 by the authors. Licensee MDPI, Basel, Switzerland. This article is an open access article distributed under the terms and conditions of the Creative Commons Attribution (CC BY) license (http://creativecommons.org/licenses/by/4.0/).
Share and Cite
Kuźniar, W.; Surmacz, T.; Wierzbiński, B. The Impact of Ecological Knowledge on Young Consumers’ Attitudes and Behaviours towards the Food Market. Sustainability 2021, 13, 1984. https://doi.org/10.3390/su13041984
Kuźniar W, Surmacz T, Wierzbiński B. The Impact of Ecological Knowledge on Young Consumers’ Attitudes and Behaviours towards the Food Market. Sustainability. 2021; 13(4):1984. https://doi.org/10.3390/su13041984
Chicago/Turabian StyleKuźniar, Wiesława, Tomasz Surmacz, and Bogdan Wierzbiński. 2021. "The Impact of Ecological Knowledge on Young Consumers’ Attitudes and Behaviours towards the Food Market" Sustainability 13, no. 4: 1984. https://doi.org/10.3390/su13041984
APA StyleKuźniar, W., Surmacz, T., & Wierzbiński, B. (2021). The Impact of Ecological Knowledge on Young Consumers’ Attitudes and Behaviours towards the Food Market. Sustainability, 13(4), 1984. https://doi.org/10.3390/su13041984

