Evaluation Model for Particulate Matter Emissions in Korean Construction Sites
Abstract
:1. Introduction
2. Literature Review
2.1. Construction Site PM Status of South Korea
2.2. Management Method for Construction Site PM
2.3. Research Scope
3. Methods
3.1. Building an Emission Factor Database for Calculating Construction Site PM Emissions
3.1.1. Primary Emissions
3.1.2. Secondary Emission
3.1.3. Fugitive Emission
3.2. Method for Calculating PM Emissions from Construction Sites
3.3. Method for Setting Emission Permission Standard for PM
4. Results
4.1. Emission Factor Database
4.2. Emission Permission Standards for PM
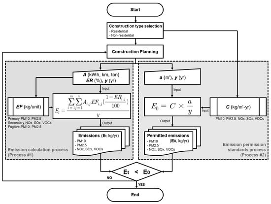
4.3. Proposal for PM Emissions Evaluation Model for Construction Sites
5. Examination of the PM Emissions Evaluation Model for Construction Sites
5.1. Emission Factors and Emission Calculation Methods
5.2. Case Study
6. Discussion
7. Conclusions
Author Contributions
Funding
Conflicts of Interest
References
- Rückerl, R.; Schneider, A.; Breitner, S.; Cyrys, J.; Peters, A. Health effects of particulate air pollution: A review of epidemiological evidence. Inhal. Toxicol. 2011, 23, 555–592. [Google Scholar] [CrossRef] [PubMed]
- Morino, Y.; Chatani, S.; Tanabe, K.; Fujitani, Y.; Morikawa, T.; Takahashi, K.; Sato, K.; Sugata, S. Contributions of condensable particulate matter to atmospheric organic aerosol over Japan. Environ. Sci. Technol. 2018, 52, 8456–8466. [Google Scholar] [CrossRef] [PubMed]
- Pande, P.; Dey, S.; Chowdhury, S.; Choudhary, P.; Ghosh, S.; Srivastava, P.; SenGupta, B. Seasonal transition in PM10 exposure and associated all-cause mortality risks in India. Environ. Sci. Technol. 2018, 52, 8756–8763. [Google Scholar] [CrossRef] [PubMed]
- Yang, X.; Lu, D.; Tan, J.; Sun, X.; Zhang, Q.; Zhang, L.; Li, Y.; Wang, W.; Liu, Q.; Jiang, G. Two-dimensional silicon fingerprints reveal dramatic variations in the sources of particulate matter in Beijing during 2013–2017. Environ. Sci. Technol. 2020, 54, 7126–7135. [Google Scholar] [CrossRef] [PubMed]
- Yoo, S.Y.; Kim, T.; Ham, S.; Choi, S.; Park, C.-R. Importance of urban green at reduction of particulate matters in Sihwa Industrial Complex, Korea. Sustainability 2020, 12, 7647. [Google Scholar] [CrossRef]
- Kim, H.C.; Kim, S.; Kim, B.-U.; Jin, C.-S.; Hong, S.; Park, R.; Son, S.-W.; Bae, C.; Bae, M.; Song, C.-K.; et al. Recent increase of surface particulate matter concentrations in the Seoul Metropolitan Area: Korea. Sci. Rep. 2017, 7, 4710. [Google Scholar] [CrossRef] [PubMed] [Green Version]
- The Ministry of the Environment. Comprehensive Plan on Fine Dust Management, Korea Environmental Policy [Bulletin]. 2018; p. 15. Available online: https://repository.kei.re.kr/handle/2017.oak/22230 (accessed on 15 July 2020).
- Lee, H.; Chang, I.; Kim, B.H.S. Specialist Perception on Particulate Matter Policy in Korea: Causal Relationship Analysis with Q-Methodology and System Thinking. Ann. Reg. Sci. 2019, 63, 341–373. [Google Scholar] [CrossRef]
- Kim, H.; Tae, S.; Yang, J. Calculation Methods of Emission Factors and Emissions of Fugitive Particulate Matter in South Korean Construction Sites. Sustainability 2020, 12, 9802. [Google Scholar] [CrossRef]
- Korea Ministry of Government Legislation. Clean Air Conservation Act. 2019. Available online: https://elaw.klri.re.kr/kor_mobile/viewer.do?hseq=49746&type=sogan&key=16 (accessed on 15 July 2020).
- Korea Ministry of Government Legislation. Special Act on the Improvement of Air Quality in Atmospheric Management Area. 2019. Available online: http://www.law.go.kr/ (accessed on 15 July 2020). (In Korean)
- The Ministry of the Environment. Status of Air Pollution; National Air Pollutants Emission Service. 2017. Available online: https://airemiss.nier.go.kr/mbshome/mbs/airemiss/index.do (accessed on 15 July 2020). (In Korean)
- United States Environmental Protection Agency (EPA). Cross-State Air Pollution Rule (CSAPR). 2011. Available online: https://www.epa.gov/csapr (accessed on 12 August 2020).
- European Union (EU). National Emission Ceilings Directive; European Environment Agency (EEA) Executive Office of Energy and Environmental Affairs. 2016. Available online: https://www.eea.europa.eu/themes/air/air-pollution-sources-1/national-emission-ceilings (accessed on 20 August 2020). (In Korean).
- Ministry of Internal Affairs and Communications. Air Pollution Control Act, Japan. 2020. Available online: https://elaws.e-gov.go.jp/document?lawid=343AC0000000097 (accessed on 28 June 2021). (In Korean)
- Ministry of Internal Affairs and Communications. Automotive NOx and PM Law, Japan. 2020. Available online: https://elaws.e-gov.go.jp/document?lawid=404AC0000000070_20201123_501AC0000000014 (accessed on 28 June 2021).
- The Ministry of the Environment (ME). Air Pollutant Emission-Cap Management for Industrial Work Place; Korea Environment Corporation. 2020. Available online: https://www.keco.or.kr/en/core/climate_air2/contentsid/1947/index.do (accessed on 15 July 2020).
- European Union (EU). Urban Access Regulations in Europe. 2018. Available online: https://urbanaccessregulations.eu/countries-mainmenu-147/italy-mainmenu-81/winter-emergency-measures-in-emilia-romagna-lombardia-piemont-and-veneto (accessed on 20 August 2020).
- Stuttgart. Feinstaubalarm (Fine Dust Alarm). 2016. Available online: https://www.stuttgart.de/feinstaubalarm (accessed on 20 August 2020).
- United States Environmental Protection Agency (EPA). National Ambient Air Quality Standards (NAAQS) for PM. 2020. Available online: https://www.epa.gov/pm-pollution/national-ambient-air-quality-standards-naaqs-pm (accessed on 12 August 2020).
- Bay Area Air Quality Management District. 2021. Available online: https://www.baaqmd.gov/ (accessed on 20 August 2020).
- South Coast Air Quality Management District. 2021. Available online: http://www.aqmd.gov/nav/about (accessed on 20 August 2020).
- The State Council of China. Three-Year Action Plan for Cleaner Air. 2018. Available online: http://english.www.gov.cn/policies/ (accessed on 20 August 2020).
- The Ministry of the Environment (ME). Emergency Reduction Measures for Ultra-Fine Dust. 2019. Available online: https://www.cleanair.go.kr/dust/dust/dust-emergency01.do (accessed on 15 July 2020). (In Korean)
- National Assembly Research Service. Policy and Legislation Report of Air Pollutant Emission-Cap Management for Industrial Work Place. 2019. Available online: https://www.assembly.go.kr/ (accessed on 15 July 2020). (In Korean)
- International Organization for Standardization (ISO). Sustainability in Buildings and Civil Engineering Works—Core Rules for Environmental Product Declarations of Construction Products and Services. 2017. Available online: https://www.iso.org/standard/61694.html (accessed on 12 August 2020).
- United States Environmental Protection Agency (EPA). Heavy Construction Operations. In AP-42: Compilation of Air Emissions Factors; Chapter 13.2.3; 1995; Available online: https://www.epa.gov/sites/production/files/2020-10/documents/13.2.3_heavy_construction_operations.pdf (accessed on 15 July 2020).
- United States Environmental Protection Agency (EPA). AP-42: Compilation of Air Emissions Factors. 2006. Available online: https://www.epa.gov/air-emissions-factors-and-quantification/ap-42-compilation-air-emissions-factors (accessed on 20 August 2020).
- European Environmental Agency (EEA). European Monitoring and Evaluation Programme/EEA Air Pollutant Emission Inventory Guidebook. 2019. Available online: https://www.eea.europa.eu/publications/emep-eea-guidebook-2019 (accessed on 20 August 2020).
- National Institute of Environmental Research (NIER). National Air Pollutant Emission Calculation Method Manual Ⅲ; 2013. Available online: http://airemiss.nier.go.kr/user/boardList.do?command=view&page=1&boardId=85&boardSeq=146&id=airemiss_040200000000 (accessed on 20 August 2020). (In Korean)
- National Institute of Environmental Research (NIER). Air Pollutant Emission Factors. 2015. Available online: http://airemiss.nier.go.kr/user/boardList.do?command=view&page=1&boardId=85&boardSeq=154&id=airemiss_040200000000 (accessed on 20 August 2020). (In Korean).
- NIER. Improvement in the Calculation Method of the Amount of Fugitive Dust Emission Amount and the Development of Real-Time Measurement Method of Resuspended Road Dust; Final Report; National Institute of Environmental Research: Incheon, Korea, 2008. [Google Scholar]
- Ministry of Land, Infrastructure and Transport (MOLIT). Statistics on Building Permission and Commencement Works. 2017. Available online: http://stat.molit.go.kr/portal/cate/statView.do?hRsId=466&hFormId=&hSelectId=&sStyleNum=&sStart=&sEnd=&hPoint=&hAppr= (accessed on 15 July 2020). (In Korean)



| Classification | Air Pollutant Management Methods | |
|---|---|---|
| Emission Management | Concentration Management | |
| Related policies | Air Pollutant Emission-Cap Management for Industrial Work Place (ME, 2020) | Emergency Reduction Measures for Ultra-Fine Dust (ME, 2019) |
| Object of management | Annual total emissions | Concentration |
| Management unit | kg/yr | μg/m3 |
| Management criteria | Permitted emissions | PM concentrations of current and following days |
| Target substances | NOx, SOx, TSP Emissions | PM2.5 |
| Inclusion of construction site | No | Yes |
| Characteristic | Preventive management | Post management |
| Classification | Construction Site PM Emission Methods | ||
|---|---|---|---|
| Primary Emissions | Secondary Emissions | Fugitive Emissions | |
| Object of measurement | Construction equipment | Construction equipment | Construction activities |
| Target substances | PM10, PM2.5 | NOx, SOx, and VOCs | PM10, PM2.5 |
| Equipment (Loading Weight) | Activities | Construction Site Particulate Matter Emission Factor (kg/unit) | |||||||||
|---|---|---|---|---|---|---|---|---|---|---|---|
| Primary Emissions a | Secondary Emissions b | Fugitive Emissions c | |||||||||
| PM10 | PM2.5 | Unit | NOx | SOx | VOCs | Unit | PM10 | PM2.5 | Unit | ||
| Bulldozer | Bulldozing | 2.20 × 10−4 | 2.02 × 10−4 | kWh | 3.67 × 10−3 | 2.60 × 10−6 | 1.10 × 10−4 | kWh | 4.15 × 10−3 | 2.81 × 10−3 | ton |
| Loader | Loading | 2.20 × 10−4 | 2.02 × 10−4 | kWh | 3.67 × 10−3 | 2.60 × 10−6 | 1.10 × 10−4 | kWh | 8.74 × 10−4 | 1.32 × 10−4 | ton |
| Excavator | Dragline | 1.90 × 10−4 | 1.75 × 10−4 | kWh | 3.54 × 10−3 | 2.60 × 10−6 | 1.30 × 10−4 | kWh | 3.36 × 10−3 | 2.10 × 10−4 | ton |
| Loading | 8.74 × 10−4 | 1.32 × 10−4 | |||||||||
| Crane | Lifting | 1.20 × 10−4 | 1.10 × 10−4 | kWh | 3.45 × 10−3 | 2.54 × 10−6 | 1.60 × 10−4 | kWh | N/A | N/A | - |
| Travel | 4.50 × 10−1 | 4.50 × 10−2 | VKT | ||||||||
| Concrete pump | Pumping | 2.00 × 10−5 | 1.84 × 10−5 | kWh | 2.00 × 10−3 | 2.54 × 10−6 | 4.60 × 10−4 | kWh | N/A | N/A | - |
| Roller | Compacting | 3.40 × 10−4 | 3.13 × 10−4 | kWh | 3.80 × 10−3 | 2.65 × 10−6 | 2.20 × 10−4 | kWh | 4.92 × 10−2 | 4.92 × 10−3 | ton |
| Compressor | Compressing | 1.00 × 10−4 | 9.20 × 10−5 | kWh | 3.41 × 10−3 | 2.54 × 10−6 | 1.70 × 10−4 | kWh | N/A | N/A | - |
| Boring machine | Drilling | 1.20 × 10−4 | 1.10 × 10−4 | kWh | 3.40 × 10−3 | 2.60 × 10−6 | 1.20 × 10−4 | kWh | 7.26 × 10−2 | 1.45 × 10−2 | hole |
| Fork lift (3 t) | Lifting | 2.80 × 10−4 | 2.58 × 10−4 | kWh | 3.69 × 10−3 | 2.65 × 10−6 | 1.70 × 10−4 | kWh | N/A | N/A | - |
| Travel | 4.50 × 10−1 | 4.50 × 10−2 | VKT | ||||||||
| Dump truck (8 t) | Travel | 4.30 × 10−4 | 3.96 × 10−4 | km | 1.96 × 10−2 | 2.46 × 10−4 | 7.46 × 10−4 | km | 5.56 × 10−1 | 5.56 × 10−2 | VKT |
| Dump truck (25 t) | Travel | 4.30 × 10−4 | 3.96 × 10−4 | km | 1.96 × 10−2 | 3.85 × 10−4 | 7.46 × 10−4 | km | 9.29 × 10−1 | 9.29 × 10−2 | VKT |
| Concrete mixer truck (15 t) | Travel | 4.30 × 10−4 | 3.96 × 10−4 | km | 1.96 × 10−2 | 2.46 × 10−4 | 7.46 × 10−4 | km | 7.38 × 10−1 | 7.38 × 10−2 | VKT |
| Trailer (20 t) | Travel | 4.30 × 10−4 | 3.96 × 10−4 | km | 1.96 × 10−2 | 3.85 × 10−4 | 7.46 × 10−4 | km | 8.40 × 10−1 | 8.40 × 10−2 | VKT |
| Classification of Construction Site Emission Sources | ||
|---|---|---|
| Large | Medium | Small |
| A. Non-road-mobile pollution sources | A-1. Construction equipment | - |
| B. Road-mobile pollution sources | B-1. Freight trucks | B-1-①. Dump trucks |
| B-1-②. Concrete mixer trucks | ||
| C. Fugitive dust | C-1. Residential facilities | - |
| C-2. Non-residential facilities | - | |
| Unit: kg/yr, kg/m2-yr | |||||||||||
|---|---|---|---|---|---|---|---|---|---|---|---|
| Building Type | Residential Buildings | Non-Residential Buildings | |||||||||
| a Permitted Area (m2) | 70,254,000 | 101,618,000 | |||||||||
| Emission Sources | PM10 | PM2.5 | NOx | SOx | VOCs | PM10 | PM2.5 | NOx | SOx | VOCs | |
| Primary emissions (kg/yr) | A-1 | 2.49 × 106 | 2.29 × 106 | - | - | - | 3.60 × 106 | 3.31 × 106 | - | - | - |
| B-1-① | 1.48 × 105 | 1.36 × 105 | - | - | - | 2.14 × 105 | 1.97 × 105 | - | - | - | |
| B-1-② | 4.03 × 104 | 3.71 × 104 | - | - | - | 5.83 × 104 | 5.36 × 104 | - | - | - | |
| Secondary emissions (kg/yr) | A-1 | - | - | 4.66 × 107 | 2.91 × 104 | 5.99 × 106 | - | - | 6.74 × 107 | 4.22 × 104 | 8.66 × 106 |
| B-1-① | - | - | 4.94 × 106 | 1.98 × 103 | 2.21 × 105 | - | - | 7.14 × 106 | 2.86 × 103 | 3.20 × 105 | |
| B-1-② | - | - | 1.36 × 106 | 5.57 × 102 | 5.99 × 104 | - | - | 1.97 × 106 | 8.05 × 102 | 8.66 × 104 | |
| Fugitive emissions (kg/yr) | C-1 | 8.36 × 106 | 8.36 × 105 | - | - | - | - | - | - | - | - |
| C-2 | - | - | - | - | - | 2.82 × 107 | 2.82 × 106 | - | - | - | |
| b Total emissions (kg/yr) | 1.10 × 107 | 3.30 × 106 | 5.29 × 107 | 3.16 × 104 | 6.27 × 106 | 3.21 × 107 | 6.38 × 106 | 7.65 × 107 | 4.59 × 104 | 9.06 × 106 | |
| c Unit emissions (kg/m2-yr) | 1.57 × 10−1 | 4.70 × 10−2 | 7.53 × 10−1 | 4.50 × 10−4 | 8.92 × 10−2 | 3.16 × 10−1 | 6.28 × 10−2 | 7.53 × 10−1 | 4.52 × 10−4 | 8.92 × 10−2 | |
| Construction Type | PM10 | PM2.5 | |
|---|---|---|---|
| Residential | House | 0.0072 | 0.00072 |
| Apartment | 0.0247 | 0.00247 | |
| Non-residential | 0.0426 | 0.00426 | |
| Road construction | 0.0941 | 0.00941 | |
| Equipment | Activities | A. NIER, 2008 (Process #2) | B. This Study (Process #1) | Notes | ||
|---|---|---|---|---|---|---|
| Bulldozer | Bulldozing | PM10 | PM10 | a | ||
| PM2.5 | ||||||
| Loader | Loading | N/A | b | |||
| Excavator | Dragline | - | ||||
| Loading | N/A | b | ||||
| Crane | Lifting | N/A | N/A | c | ||
| Travel | N/C | - | ||||
| Concrete pump | Pumping | N/A | N/A | c | ||
| Roller | Compacting | - | ||||
| Compressor | Compressing | N/A | N/A | c | ||
| Boring machine | Drilling | N/C | - | |||
| Fork lift | Lifting | N/A | N/A | c | ||
| Travel | N/C | - | ||||
| Concrete mixer truck | Travel | N/C | - | |||
| Dump Truck, Trailer | Travel | - | ||||
| Emission Methods | Process | PM2.5 | PM10 | NOx | SOx | VOCs |
|---|---|---|---|---|---|---|
| (kg/yr) | ||||||
| Direct Emission | #1 | 1.54 × 100 | 1.68 × 100 | - | - | - |
| #2 | 6.04 × 102 | 6.56 × 102 | - | - | - | |
| Secondary Emission | #1 | - | - | 7.78 × 101 | 7.32 × 101 | 7.28 × 100 |
| #2 | - | - | 1.30 × 104 | 7.78 × 100 | 1.54 × 103 | |
| Fugitive Emission | #1 | 2.01 × 102 | 1.98 × 103 | - | - | - |
| #2 | 2.41 × 102 | 2.16 × 103 | - | - | - | |
| Total | #1 (Et) | 2.02 × 102 | 1.98 × 103 | 7.78 × 101 | 7.32 ×10−1 | 7.28 × 100 |
| #2 (E0) | 8.44 × 102 | 2.82 × 103 | 1.30 × 104 | 7.78 × 100 | 1.54 × 103 | |
Publisher’s Note: MDPI stays neutral with regard to jurisdictional claims in published maps and institutional affiliations. |
© 2021 by the authors. Licensee MDPI, Basel, Switzerland. This article is an open access article distributed under the terms and conditions of the Creative Commons Attribution (CC BY) license (https://creativecommons.org/licenses/by/4.0/).
Share and Cite
Kim, H.; Tae, S. Evaluation Model for Particulate Matter Emissions in Korean Construction Sites. Sustainability 2021, 13, 11428. https://doi.org/10.3390/su132011428
Kim H, Tae S. Evaluation Model for Particulate Matter Emissions in Korean Construction Sites. Sustainability. 2021; 13(20):11428. https://doi.org/10.3390/su132011428
Chicago/Turabian StyleKim, Hyunsik, and Sungho Tae. 2021. "Evaluation Model for Particulate Matter Emissions in Korean Construction Sites" Sustainability 13, no. 20: 11428. https://doi.org/10.3390/su132011428
APA StyleKim, H., & Tae, S. (2021). Evaluation Model for Particulate Matter Emissions in Korean Construction Sites. Sustainability, 13(20), 11428. https://doi.org/10.3390/su132011428

