From Lean 5S to 7S Methodology Implementing Corporate Social Responsibility Concept
Abstract
:1. Introduction
2. Materials and Methods
2.1. Lean 6S
2.2. Lean 5S/6S and Quality
2.3. Sustainability
2.4. CSR
2.5. CSR and Sustainability
2.6. CSR and Quality
2.7. CSR and Lean Relationship
2.8. Survey Methodology
- (1)
- Is any type of LEAN tool used in your organization?
- (2)
- Is Lean methodology part of your organization strategy?
- (3)
- What are the objectives that your organization seeks to achieve thanks to the implementation of LEAN tools? (Multiple option).
- (4)
- Which of the following tools do you consider essential for a correct LEAN implementation in your organization? (Multi-option).
- (5)
- In your experience, what has been the most effective LEAN tool used in your organization?
- (6)
- Have your organization identified their employees’ LEAN competencies according to ISO 18404?
- (7)
- How do you think the implementation of LEAN could be improved in your organization? (Multi-option).
- (1)
- Governance of the organization: 1 question;
- (2)
- Human rights: 8 questions;
- (3)
- Labor practices: 5 questions;
- (4)
- Environment: 4 questions;
- (5)
- Practice fair trading: 5 questions;
- (6)
- Consumer affairs: 7 questions;
- (7)
- Active participation and community development: 7 questions.
3. Results
3.1. LEAN Questionnaire Results
3.2. CSR Questionnaire Results
3.3. LEAN and CSR Survey Results
4. Discussion
5. Conclusions
- Carrying out an empirical test of the 7S to validate the hypothesis exposed.
- Presenting concise methodology to prepare a CSR plan and its implementation in accordance with the ISO 26000:2010 standard, enhancing the 7S process.
- Continuing to improve the quality of the 7S framework; there is the possibility of including TQM in it, giving the opportunity to combine it with CSR in a systematic and procedural way.
- Continuing to develop the validation of the positive relation between CSR, sustainability and Lean, expanding the survey to a greater number of organizations.
Author Contributions
Funding
Institutional Review Board Statement
Informed Consent Statement
Acknowledgments
Conflicts of Interest
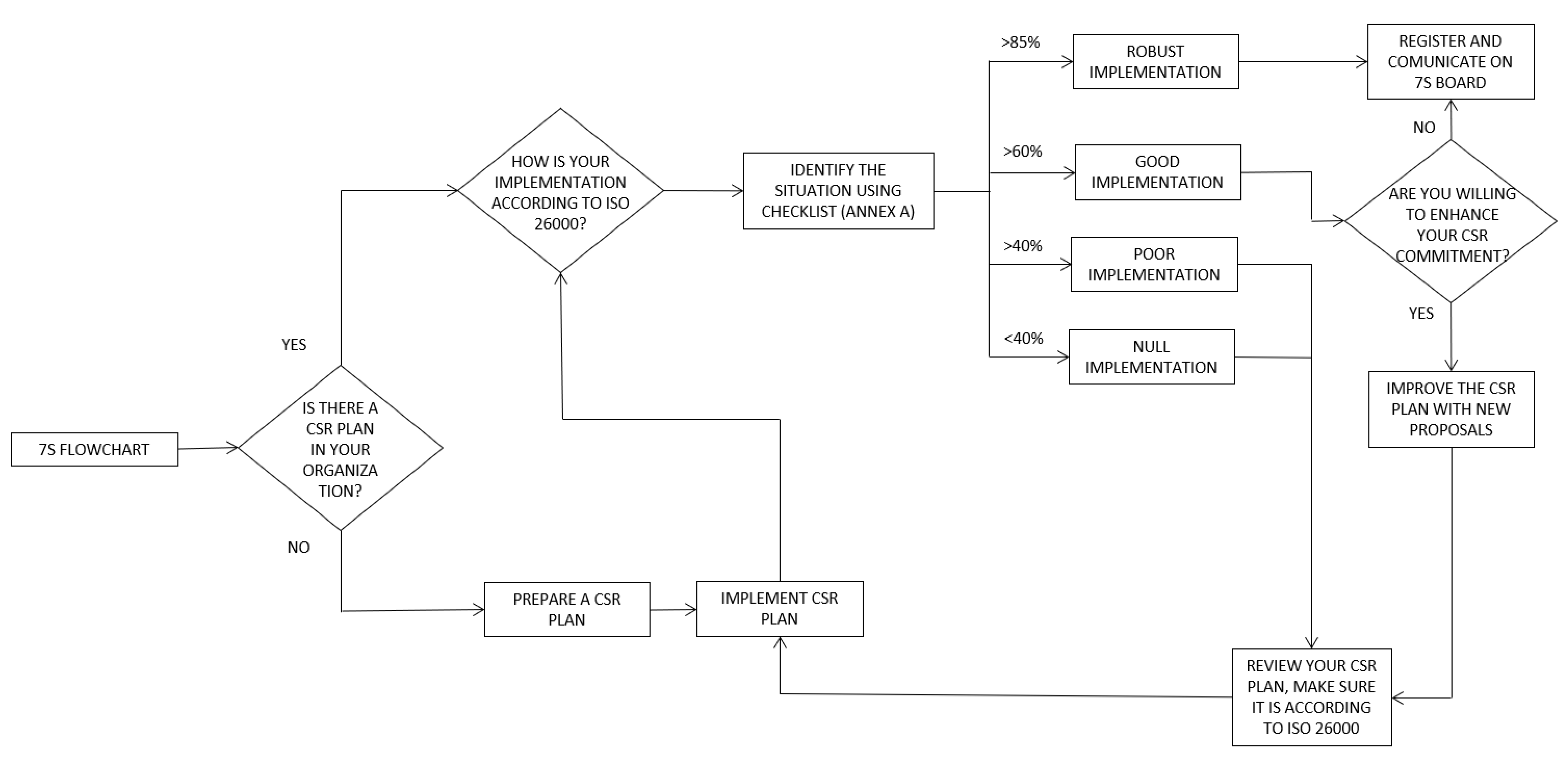
Appendix A
| CSR Compliance Evaluation Checklist | |||
|---|---|---|---|
| Determine the level of your organization’s CSR implementation The objective of this checklist is to identify your organization’s CSR’s implementation level, it is presented according to the seven fundamental matters defined on the ISO 26000:2010 standard: (1) Governance of the organization: 1 question (2) Human rights: 8 questions (3) Labor practices: 5 questions (4) Environment: 4 questions (5) Practice fair trading: 5 questions (6) Consumer affairs: 7 questions (7) Active participation and community development: 7 questions | |||
| 1. Governance of the organization | YES | NO | N/A |
| 1. Does your organization incorporate some or all of the CSR principles: (1) accountability, (2) transparency, (3) ethical behavior, (4) respect for the interests of stakeholders, (5) respect the principle of legality, (6) respect to international standards of behavior, (7) respect for human rights, in decision-making and their subsequent implementation? | - | ||
| 2. Human rights | YES | NO | N/A |
| 1. Does your organization identify, prevent and address the actual or potential impacts on human rights, resulting from its activity, or those with which it has a relationship? | |||
| 2. Does your organization intensify its vigilance when it operates in circumstances in which the probability of facing dilemmas related to the abuse of human rights is greater? | |||
| 3. Does your organization take the necessary measures to avoid its complicity when it identifies reprehensible acts that go against society, the economy or the environment? | |||
| 4. Does your organization have mechanisms to receive complaints or claims for human rights abuses? | |||
| 5. Does your organization prevent any type of discrimination based on any type of prejudice? | |||
| 6. Does your organization guarantee respect for the civil and political rights of individuals? | |||
| 7. Does your organization avoid getting involved in activities that go against economic, social and cultural rights? | |||
| 8. Does your organization avoid getting involved in the use of child, forced or compulsory labor? | |||
| 3. Labor practices | YES | NO | N/A |
| 1. Does your organization ensure that the work performed by your employees or freelancers is within the framework of a labor or commercial contract? | |||
| 2. Does your organization ensure that working conditions are adequate to guarantee a good quality of life for its workers? | |||
| 3. Does your organization give adequate notice to the competent authorities and workers’ representatives when an operational change is going to negatively impact employment? | |||
| 4. Does your organization manage the risks to health and safety of its workers? | |||
| 5. Does your organization train its workers in a theoretical and practical way? | |||
| 4. Environment | YES | NO | N/A |
| 1. Does your organization identify waste and sources of pollution generated by its activity? | |||
| 2. Does your organization control the indiscriminate use of energy, water and other resources? | |||
| 3. Does your organization calculate its level of greenhouse gas emissions? | |||
| 4. Does your organization identify the possible negative impact that its activity may have on biodiversity and ecosystems? | |||
| 5. Practice fair trading | YES | NO | N/A |
| 1. Does your organization identify the risks of corruption, and implement mechanisms to avoid being involved in corrupt practices? | |||
| 2. Does your organization avoid making financial or other contributions to political parties or decision makers? | |||
| 3. Does your organization respect competition laws and regulations? | |||
| 4. Does your organization adequately monitor the organizations with which it interacts to avoid being involved in practices that go against its code of values? | |||
| 5. Does your organization avoid engaging in activities such as counterfeiting or piracy, which violate property rights? | |||
| 6. Consumer affairs | YES | NO | N/A |
| 1. Does your organization follow fair marketing practices, and provide accurate information that can be easily understood by consumers? | |||
| 2. Does your organization ensure that its products and services are safe for consumers? | |||
| 3. Does your organization inform consumers about the impact their purchasing decisions have on the environment? | |||
| 4. Does your organization have a customer service? | |||
| 5. Does your organization limit the collection and processing of personal data from consumers to those strictly necessary, with the informed consent of the consumer? | |||
| 6. If your organization provides an essential service to consumers, does it guarantee not to disconnect it for non-payment without first giving the consumer or group of consumers the opportunity to find a reasonable time to make the payment? | |||
| 7. Does your organization train consumers so that they can evaluate and compare its products or services against those of your competition? | |||
| 7. Active participation and community development | YES | NO | N/A |
| 1. Does your organization actively participate in a development program in the community you are in? | |||
| 2. Does your organization get involved in actions that promote education and culture in the community in which it is located? | |||
| 3. Does your organization choose to create stable direct employment, rather than temporary unstable employment? | |||
| 4. Is your organization part of alliances with universities or research laboratories? | |||
| 5. Does your organization carry out initiatives aimed at strengthening the capacities and opportunities of local suppliers in the community in which it is located? | |||
| 6. Does your organization make sure to eliminate any negative impact that its activity may have on the health of the people in your community? | |||
| 7. Does your organization align itself with any NGO, local government, or other organizations in order to maximize synergies that directly benefit the community in which it is located? | |||
| RESULTS | |||
| This checklist has been defined to identify a basic level of CSR’s implementation. These are the possible results depending on the % of positive answers: ROBUST: 85–100% GOOD: 60–85% POOR: 40–60% NULL: 40% | |||
References
- Rajadell, M.; Sánchez, J. Lean Manufacturing: La Evidencia de una Necesidad; Díaz de Santos: Madrid, Spain, 2010. [Google Scholar]
- Gil, M. Cultura Lean; Profit Editorial: Barcelona, Spain, 2017. [Google Scholar]
- Locher, D. Lean Office: Metodología Lean en Servicios Generales, Comerciales y Administrativos; Profit Editorial: Barcelona, Spain, 2017. [Google Scholar]
- Erdil, N.O.; Aktas, C.B.; Arani, O.M. Embedding sustainability in lean six sigma efforts. J. Clean. Prod. 2018, 198, 520–529. [Google Scholar] [CrossRef]
- Osada, T. 5s-Tezukuri No Manajiment Shuho (5s-Handmade Management Technique); Japan Plant Maintenance: Tokyo, Japan, 1989. [Google Scholar]
- Monden, Y. Toyota Production System: An Integrated Approach to Just-In-Time; CRC Press: Boca Raton, FL, USA, 2011. [Google Scholar]
- Gapp, R.; Fisher, R.; Kobayashi, K. Implementing 5S within a Japanese context: An integrated management system. Manag. Decis. 2008, 46, 565–579. [Google Scholar] [CrossRef] [Green Version]
- Khamis, N.; Abrahman, M.N.; Jamaludin, K.R.; Ismail, A.R.; Ghani, J.A.; Zulkifli, R. Development of 5S practice checklist for manufacturing industry. In Proceedings of the World Congress on Engineering, London, UK, 1–3 July 2009; Volume 1, pp. 1–5. [Google Scholar]
- Jiménez, M.; Romero, L.; Fernández, J.; del Mar Espinosa, M.; Domínguez, M. Extension of the Lean 5S Methodology to 6S with An Additional Layer to Ensure Occupational Safety and Health Levels. Sustainability 2019, 11, 3827. [Google Scholar] [CrossRef] [Green Version]
- Garza-Reyes, J.A. Lean and green—A systematic review of the state of the art literature. J. Clean. Prod. 2015, 102, 18–29. [Google Scholar] [CrossRef] [Green Version]
- Kobayashi, K. What Is 5S?: A Content Analysis of a Japanese Management Approach. Ph.D. Dissertation, Griffith University, Brisbane, Australia, 2005. [Google Scholar]
- Singh, A.; Ahuja, I.S. Evaluating the impact of 5S methodology on manufacturing performance. Int. J. Bus. Contin. Risk Manag. 2014, 5, 272. [Google Scholar] [CrossRef]
- Singh, A.; Ahuja, I.S. Review of 5S methodology and its contributions towards manufacturing performance. Int. J. Process Manag. Benchmarking 2015, 5, 408–424. [Google Scholar] [CrossRef]
- Sati, S.A.M. The Impact of Implementation of 5S Methodology as Tool for Continuous Improvement to the Quality Operations in Industrial Sector Case Study: COLDAIR Engineering Company for Manufacturing and Assembling. Ph.D. Thesis, Sudan University of Science & Technology, Khartoum, Sudan, 2018. [Google Scholar]
- International Organization for Standardization [ISO]. UNE-ISO 13053-1. Quantitative Methods in Process Improvement. Six Sigma. Part 1: DMAIC Methodology; International Organization for Standardization: Geneva, Switzerland, 2012. [Google Scholar]
- International Organization for Standardization [ISO]. UNE-ISO 13053-2. Quantitative Methods in Process Improvement. Six Sigma. Part 2: Tools and Techniques; International Organization for Standardization: Geneva, Switzerland, 2012. [Google Scholar]
- International Organization for Standardization [ISO]. UNE-ISO 18404. Quantitative Methods in Process Improvement. Six Sigma. Competencies for Key Personnel and Their Organizations in Relation to Six Sigma and Lean Implementation; International Organization for Standardization: Geneva, Switzerland, 2015. [Google Scholar]
- Jiménez, M.; Romero, L.; Domínguez, M.; Espinosa, M.D.M. 5S methodology implementation in the laboratories of an industrial engineering university school. Saf. Sci. 2015, 78, 163–172. [Google Scholar] [CrossRef]
- Brundtland, G.H. Report of the World Commission on Environment and Development: Our Common Future; UN: New York, NY, USA; Oxford University Press: Oxford, UK, 1987. [Google Scholar]
- World Commission on Environment and Development. Our Common Future; Oxford University Press: Oxford, UK, 1987; Volume 17, pp. 1–91. [Google Scholar]
- Purser, R.E.; Park, C.; Montuori, A. Limits to anthropocentrism: Toward an ecocentric organization paradigm? Acad. Manag. Rev. 1995, 20, 1053–1089. [Google Scholar] [CrossRef]
- Sharma, S.; Starik, M.; Husted, B. Organizations and the Sustainability Mosaic: Crafting Long-Term Ecological and Societal Solutions; Edward Elgar Publishing: Cheltenham, UK, 2007. [Google Scholar]
- Porritt, J. Capitalism as If the World Matters; Routledge: London, UK, 2007. [Google Scholar]
- Borland, H.; Lindgreen, A. Sustainability, Epistemology, Ecocentric Business, and Marketing Strategy: Ideology, Reality, and Vision. J. Bus. Ethics 2013, 117, 173–187. [Google Scholar] [CrossRef]
- Belz, F.-M.; Peattie, K. Sustainability Marketing; Wiley & Sons Glasgow: Hoboken, NJ, USA, 2009. [Google Scholar]
- Wolf, J. The Relationship between Sustainable Supply Chain Management, Stakeholder Pressure and Corporate Sustainability Performance. J. Bus. Ethics 2014, 119, 317–328. [Google Scholar] [CrossRef]
- Carter, C.R.; Rogers, D.S. A framework of sustainable supply chain management: Moving toward new theory. Int. J. Phys. Distrib. Logist. Manag. 2008, 38, 360–387. [Google Scholar] [CrossRef]
- Gold, S.; Schleper, M.C. A pathway towards true sustainability: A recognition foundation of sustainable supply chain management. Eur. Manag. J. 2017, 35, 425–429. [Google Scholar] [CrossRef]
- International Organization for Standardization [ISO]. UNE EN ISO 26000. Guidance on Social Responsibility; International Organization for Standardization: Geneva, Switzerland, 2021. [Google Scholar]
- Bowen, H.R. Social Responsibilities of the Businessman; Harper & Row: New York, NY, USA, 1953. [Google Scholar]
- Friedman, M. Capitalism and Freedom; University of Chicago Press: Chicago, IL, USA, 1962. [Google Scholar]
- Freeman, R.E. A Stakeholder Approach to Strategic Management; Pitman: Boston, USA, 1984. [Google Scholar]
- Freeman, R.E.; Martin, K.; Parmar, B. Stakeholder Capitalism. J. Bus. Ethics 2007, 74, 303–314. [Google Scholar] [CrossRef]
- Fernández, J.F.; Sanjuán, A.B. La teoría del stakeholder o de los grupos de interés, pieza clave de RSE, del éxito empresarial y de la sostenibilidad. aDResearch Revista Internacional de Investigación en Comunicación 2012, 6, 130–143. [Google Scholar] [CrossRef]
- Cherrafi, A.; Elfezazi, S.; Chiarini, A.; Mokhlis, A.; Benhida, K. The integration of lean manufacturing, Six Sigma and sustainability: A literature review and future research directions for developing a specific model. J. Clean. Prod. 2016, 139, 828–846. [Google Scholar] [CrossRef]
- Salem, A.H.; Deif, A. Developing a Greenometer for green manufacturing assessment. J. Clean. Prod. 2017, 154, 413–423. [Google Scholar] [CrossRef] [Green Version]
- Javed, M.; Rashid, M.A.; Hussain, G.; Ali, H.Y. The effects of corporate social responsibility on corporate reputation and firm financial performance: Moderating role of responsible leadership. Corp. Soc. Responsib. Environ. Manag. 2020, 27, 1395–1409. [Google Scholar] [CrossRef]
- Kong, Y.; Antwi-Adjei, A.; Bawuah, J. A systematic review of the business case for corporate social responsibility and firm performance. Corp. Soc. Responsib. Environ. Manag. 2020, 27, 444–454. [Google Scholar] [CrossRef]
- Wei, A.-P.; Peng, C.-L.; Huang, H.-C.; Yeh, S.-P. Effects of Corporate Social Responsibility on Firm Performance: Does Customer Satisfaction Matter? Sustainability 2020, 12, 7545. [Google Scholar] [CrossRef]
- Haddach, A.; Ammari, M.; Laglaoui, A. Role of lean, environmental and social practices to increasing firm’s overall performance. J. Mater. Environ. Sci. 2016, 7, 505–514. [Google Scholar]
- Persaud, N.; Dagher, R. The United Nations: 2030 Sustainable Development Goals Agenda. In The Role of Monitoring and Evaluation in the UN 2030 SDGs Agenda; Springer: Berlin/Heidelberg, Germany, 2021; pp. 1–41. [Google Scholar]
- Parast, M.M. An assessment of the impact of corporate social responsibility on organizational quality performance: Empirical evidence from the petroleum industry. Oper. Manag. Res. 2021, 14, 138–151. [Google Scholar] [CrossRef]
- Yang, M.G.; Hong, P.; Modi, S.B. Impact of lean manufacturing and environmental management on business performance: An empirical study of manufacturing firms. Int. J. Prod. Econ. 2011, 129, 251–261. [Google Scholar] [CrossRef]
- Han, H.; Al-Ansi, A.; Chi, X.; Baek, H.; Lee, K.-S. Impact of Environmental CSR, Service Quality, Emotional Attachment, and Price Perception on Word-of-Mouth for Full-Service Airlines. Sustainability 2020, 12, 3974. [Google Scholar] [CrossRef]
- Anil, A.P.; Satish, K.P. TQM practices and its performance effects—An integrated model. Int. J. Qual. Reliab. Manag. 2019, 36, 1318–1344. [Google Scholar] [CrossRef]
- Abbas, J. Impact of total quality management on corporate green performance through the mediating role of corporate social responsibility. J. Clean. Prod. 2020, 242, 118458. [Google Scholar] [CrossRef]
- Do, M.-H.; Huang, Y.-F.; Do, T.-N. The effect of total quality management-enabling factors on corporate social responsibility and business performance: Evidence from Vietnamese coffee firms. Benchmarking Int. J. 2021, 28, 1296–1318. [Google Scholar] [CrossRef]
- Yuen, K.F.; Thai, V.; Wong, Y.D. The effect of continuous improvement capacity on the relationship between of corporate social performance and business performance in maritime transport in Singapore. Transp. Res. Part E Logist. Transp. Rev. 2016, 95, 62–75. [Google Scholar] [CrossRef]
- Khurshid, M.A.; Amin, M.; Ismail, W.K.W. Total quality and socially responsible management (TQSR-M). Benchmarking Int. J. 2018, 25, 2566–2588. [Google Scholar] [CrossRef]
- Tsou, Y.-H.; Huang, Y.-F.; Liu, S.-C.; Do, M.-H. The Effects of Total Quality Management and Corporate Social Responsibility on Firm Performance: A Future Research Agenda. J. Asian Financ. Econ. Bus. 2021, 8, 277–287. [Google Scholar] [CrossRef]
- Khihel, F.; Harbal, A. CSR and Lean Management integration impact in firms strategy. Revue du Contrôle de la Comptabilité et de l’audit 2019, 3, 426–450. [Google Scholar]
- Resta, B.; Dotti, S.; Gaiardelli, P.; Boffelli, A. Lean manufacturing and sustainability: An integrated view. In Proceedings of the IFIP International Conference on Advances in Production Management Systems, Iguassu Falls, Brazil, 3–7 September 2016; pp. 659–666. [Google Scholar]
- Hải, H.V.; Mai, N.P. An Exploratory Study of the Relationship between Lean Production and Corporate Social Responsibility in Vietnamese SMEs. VNU J. Sci. Econ. Bus. 2014, 30, 28–38. [Google Scholar]







| Nº | Stage | Description |
|---|---|---|
| 1 | Seiri | Remove all unnecessary tools and parts. Keep only essential items. |
| 2 | Seiton | Arrange the work, workers, equipment, parts, and instructions in such a way that the work flows free of inefficiencies through the value-added tasks with a work division necessary to meet demand. |
| 3 | Seiso | Clean the workspace and all equipment, and keep it clean and tidy ready for the next user. |
| 4 | Safety | Reduce labor risks and ensure the compliance with safety and health regulations. |
| 5 | Seiketsu | Ensure procedures and setups throughout the operation promote interchangeability. Normal and abnormal situations are distinguished, using visible and simple rules. |
| 6 | Shitsuke | Make it a way of life. This means commitment. Ensure disciplined adherence to rules and procedures. |
| Methodology | Role | Knowledge of 5S Tool |
|---|---|---|
| Six Sigma | Green Belt | As user |
| Black Belt | As user | |
| Master Black Belt | As user | |
| Lean | Lean Practitioner | As user |
| Lean Leader | As authority | |
| Lean Expert | As authority | |
| Lean Six Sigma | Green Belt | As user |
| Black Belt | As authority | |
| Master Black Belt | As authority |
Publisher’s Note: MDPI stays neutral with regard to jurisdictional claims in published maps and institutional affiliations. |
© 2021 by the authors. Licensee MDPI, Basel, Switzerland. This article is an open access article distributed under the terms and conditions of the Creative Commons Attribution (CC BY) license (https://creativecommons.org/licenses/by/4.0/).
Share and Cite
Fernández Carrera, J.; Amor del Olmo, A.; Romero Cuadrado, M.; Espinosa Escudero, M.d.M.; Romero Cuadrado, L. From Lean 5S to 7S Methodology Implementing Corporate Social Responsibility Concept. Sustainability 2021, 13, 10810. https://doi.org/10.3390/su131910810
Fernández Carrera J, Amor del Olmo A, Romero Cuadrado M, Espinosa Escudero MdM, Romero Cuadrado L. From Lean 5S to 7S Methodology Implementing Corporate Social Responsibility Concept. Sustainability. 2021; 13(19):10810. https://doi.org/10.3390/su131910810
Chicago/Turabian StyleFernández Carrera, Jon, Alfredo Amor del Olmo, María Romero Cuadrado, María del Mar Espinosa Escudero, and Luis Romero Cuadrado. 2021. "From Lean 5S to 7S Methodology Implementing Corporate Social Responsibility Concept" Sustainability 13, no. 19: 10810. https://doi.org/10.3390/su131910810
APA StyleFernández Carrera, J., Amor del Olmo, A., Romero Cuadrado, M., Espinosa Escudero, M. d. M., & Romero Cuadrado, L. (2021). From Lean 5S to 7S Methodology Implementing Corporate Social Responsibility Concept. Sustainability, 13(19), 10810. https://doi.org/10.3390/su131910810

