Factors Influencing Young Drivers’ Willingness to Engage in Risky Driving Behavior: Continuous Lane-Changing
Abstract
1. Introduction
1.1. Continuous Lane-Changing Behavior
1.2. Potential Factors Influencing Young Drivers’ Risky Driving
1.2.1. The PWM
1.2.2. The TPB and Additional Factors
1.3. Current Study
2. Materials and Methods
2.1. Participants and Procedure
2.2. Measures
2.3. Data Analysis
3. Results
3.1. Descriptive Analysis
3.2. EFA Results
3.3. Measurement Model Analysis Results
3.4. Structural Model Analysis Results
4. Discussion
5. Conclusions and Future Work
Author Contributions
Funding
Institutional Review Board Statement
Informed Consent Statement
Data Availability Statement
Acknowledgments
Conflicts of Interest
Appendix A
| Items | M | SD | Skewness | Kurtosis | 1(%) | 2(%) | 3(%) | 4(%) | 5(%) | |
|---|---|---|---|---|---|---|---|---|---|---|
| AT | AT1 | 2.88 | 1.03 | 0.03 | −0.64 | 8.7 | 28.7 | 33.7 | 24.1 | 4.8 |
| AT2 | 2.89 | 1.13 | 0.14 | −0.68 | 11.4 | 26.6 | 33.3 | 19.3 | 9.4 | |
| AT3 | 2.56 | 0.94 | 0.51 | 0.17 | 10.2 | 41.4 | 34.7 | 10.0 | 3.7 | |
| AT4 | 2.86 | 1.09 | 0.41 | −0.50 | 7.5 | 34.5 | 32.8 | 15.2 | 10.0 | |
| SN | SN1 | 3.14 | 1.08 | −0.08 | −0.57 | 7.1 | 20.0 | 36.4 | 25.4 | 11.2 |
| SN2 | 3.05 | 1.08 | 0.07 | −0.59 | 7.1 | 23.9 | 36.6 | 21.8 | 10.6 | |
| SN3 | 2.92 | 1.04 | 0.08 | −0.46 | 8.7 | 25.2 | 38.5 | 20.4 | 7.3 | |
| SN4 | 2.83 | 0.99 | 0.09 | −0.39 | 8.9 | 27.9 | 39.1 | 19.3 | 4.8 | |
| PBC | PBC1 | 2.95 | 1.09 | 0.10 | −0.59 | 8.7 | 26.0 | 35.6 | 21.0 | 8.7 |
| PBC2 | 2.82 | 1.22 | 0.14 | −0.89 | 16.2 | 25.4 | 28.7 | 19.5 | 10.2 | |
| PBC3 | 3.07 | 1.16 | −0.08 | −0.83 | 10.0 | 22.5 | 29.5 | 26.2 | 11.9 | |
| MN | MN1 | 2.80 | 0.97 | −0.24 | 0.28 | 7.1 | 32.4 | 38.9 | 16.4 | 5.2 |
| MN2 | 2.85 | 1.02 | −0.42 | 0.27 | 7.3 | 32.0 | 36.0 | 18.1 | 6.7 | |
| MN3 | 3.04 | 1.04 | −0.67 | 0.16 | 4.8 | 28.5 | 33.7 | 23.7 | 9.4 | |
| PR | PR1 | 3.74 | 1.11 | −0.48 | −0.83 | 1.7 | 15.8 | 20.0 | 32.0 | 30.6 |
| PR2 | 3.59 | 1.14 | −0.26 | −0.95 | 2.7 | 16.0 | 28.7 | 24.3 | 28.3 | |
| PR3 | 2.96 | 1.14 | 0.04 | −0.73 | 10.8 | 24.5 | 32.6 | 22.2 | 9.8 | |
| PR4 | 2.92 | 1.11 | 0.04 | −0.69 | 10.8 | 25.4 | 33.1 | 22.7 | 8.1 | |
| PS | PS1 | 2.83 | 0.99 | 0.09 | −0.50 | 10.4 | 16.6 | 41.6 | 24.9 | 6.4 |
| PS2 | 2.87 | 1.03 | 0.16 | −0.57 | 15.8 | 25.6 | 30.1 | 20.2 | 8.3 | |
| PS3 | 2.85 | 1.06 | 0.16 | −0.62 | 5.4 | 25.4 | 33.3 | 24.7 | 11.2 | |
| PS4 | 3.08 | 1.03 | −0.05 | −0.55 | 6.7 | 27.2 | 34.9 | 24.3 | 6.9 | |
| PF | PF1 | 3.00 | 1.05 | −0.22 | −0.37 | 10.4 | 16.6 | 41.6 | 24.9 | 6.4 |
| PF2 * | 2.80 | 1.17 | 0.12 | −0.83 | 15.8 | 25.6 | 30.1 | 20.2 | 8.3 | |
| PF3 * | 3.11 | 1.07 | 0.06 | −0.71 | 5.4 | 25.4 | 33.3 | 24.7 | 11.2 | |
| PF4 | 2.98 | 1.03 | 0.06 | −0.59 | 6.7 | 27.2 | 34.9 | 24.3 | 6.9 | |
| PF5 | 3.16 | 1.08 | −0.07 | −0.65 | 6.2 | 21.2 | 34.1 | 26.6 | 11.9 | |
| BW | BW1 | 2.09 | 0.95 | 0.86 | 0.69 | 28.7 | 43.5 | 20.6 | 4.8 | 2.5 |
| BW2 | 1.85 | 1.01 | 1.40 | 1.92 | 45.1 | 34.7 | 14.6 | 1.2 | 4.3 | |
| BW3 | 2.19 | 0.98 | 1.00 | 1.07 | 22.8 | 48.7 | 19.8 | 4.56 | 4.2 |
References
- World Health Organization. Global Status Report on Road Safety 2018; World Health Organization: Geneva, Switzerland, 2018. [Google Scholar]
- Cui, D. The Age Structure of Chinese Drivers Has Quietly Changed. Available online: http://news.hexun.com/2020-07-24/201761846.html (accessed on 13 December 2020).
- Ye, L.; Liu, S.; Ding, Z.; Guo, M. The impact of family climate for road safety on young drivers’ risk driving behavior. J Transp. Syst. Eng. Inf. Technol. 2019, 19, 233–238. [Google Scholar]
- Delhomme, P.; Cristea, M.; Paran, F. Implementation of automatic speed enforcement: Covariation with young drivers’ reported speeding behaviour and motivations. Eur. Rev. Appl. Psychol. 2014, 64, 131–139. [Google Scholar] [CrossRef]
- Scott-Parker, B.; Hyde, M.K.; Watson, B.; King, M.J. Speeding by young novice drivers: What can personal characteristics and psychosocial theory add to our understanding? Accid. Anal. Prev. 2013, 50, 242–250. [Google Scholar] [CrossRef]
- Forward, S.E. Speeding behaviour of adolescents and the image of a typical person who speeds. Trans. Transp. Sci. 2020, 11, 12–24. [Google Scholar] [CrossRef]
- Vankov, D.; Schroeter, R.; Twisk, D. Understanding the predictors of young drivers’ speeding intention and behaviour in a three-month longitudinal study. Accid. Anal. Prev. 2021, 151, 105859. [Google Scholar] [CrossRef]
- Lee, C.; Brown, J.G.; Beck, K.H. Intentions and willingness to drive while drowsy among university students: An application of an extended theory of planned behavior model. Accid. Anal. Prev. 2016, 93, 113–123. [Google Scholar] [CrossRef]
- Brown, P.M.; George, A.M.; Rickwood, D. Perceived risk and anticipated regret as factors predicting intentions to text while driving among young adults. Transp. Res. Part F Traffic Psychol. Behav. 2019, 62, 339–348. [Google Scholar] [CrossRef]
- Gauld, C.S.; Lewis, I.; White, K.M. Concealing their communication: Exploring psychosocial predictors of young drivers’ intentions and engagement in concealed texting. Accid. Anal. Prev. 2014, 62, 285–293. [Google Scholar] [CrossRef]
- Nemme, H.E.; White, K.M. Texting while driving: Psychosocial influences on young people’s texting intentions and behaviour. Accid. Anal. Prev. 2010, 42, 1257–1265. [Google Scholar] [CrossRef]
- Shevlin, B.R.K.; Goodwin, K.A. Past behavior and the decision to text while driving among young adults. Transp. Res. Part. F Traffic Psychol. Behav. 2019, 60, 58–67. [Google Scholar] [CrossRef]
- Potard, C.; Kubiszewski, V.; Camus, G.; Courtois, R.; Gaymard, S. Driving under the influence of alcohol and perceived invulnerability among young adults: An extension of the theory of planned behavior. Transp. Res. Part. F Traffic Psychol. Behav. 2018, 55, 38–46. [Google Scholar] [CrossRef]
- Rivis, A.; Abraham, C.; Snook, S. Understanding young and older male drivers’ willingness to drive while intoxicated: The predictive utility of constructs specified by the theory of planned behaviour and the prototype willingness model. Br. J. Health Psychol. 2011, 16, 445–456. [Google Scholar] [CrossRef] [PubMed]
- Gauld, C.S.; Lewis, I.; White, K.M.; Fleiter, J.J.; Watson, B. Smartphone use while driving: What factors predict young drivers’ intentions to initiate, read, and respond to social interactive technology? Compu. Hum. Behav. 2017, 76, 174–183. [Google Scholar] [CrossRef]
- Ibrahim, A.N.H.; Borhan, M.N.; Mhd Yunin, N.A. Getting young drivers to buckle up: Exploring the factors influencing seat belt use by young drivers in Malaysia. Sustainability 2021, 13, 162. [Google Scholar] [CrossRef]
- Scott-Parker, B.; Watson, B.; King, M.J.; Hyde, M.K. Confirmatory factor analysis of the behaviour of young novice drivers scale (BYNDS). Accid. Anal. Prev. 2012, 49, 385–391. [Google Scholar] [CrossRef]
- Scott-Parker, B.; Oviedo-Trespalacios, O. Young driver risky behaviour and predictors of crash risk in Australia, New Zealand and Colombia: Same but different? Accid. Anal. Prev. 2017, 99, 30–38. [Google Scholar] [CrossRef]
- Oviedo-Trespalacios, O.; Scott-Parker, B. Transcultural validation and reliability of the Spanish version of the behaviour of young novice drivers scale (BYNDS) in a Colombian young driver population. Transp. Res. Part. F Traffic Psychol. Behav. 2017, 49, 188–204. [Google Scholar] [CrossRef]
- Oviedo-Trespalacios, O.; Scott-Parkerdef, B. Young drivers and their cars: Safe and sound or the perfect storm? Accid. Anal. Prev. 2018, 110, 18–28. [Google Scholar] [CrossRef] [PubMed]
- Reesi, H.A.; Freeman, J.; Davey, J.; Adawi, S.A.; Maniri, A.A. Measuring risky driving behaviours among young drivers: Development of a scale for the Oman setting. Transp. Res. Part. F Traffic Psychol. Behav. 2018, 55, 78–89. [Google Scholar] [CrossRef]
- National Highway Traffic Safety Administration. Traffic Safety Facts Annual Report 2012; National Highway Traffic Safety Administration: Washington, DC, USA, 2014.
- Traffic Management Bureau of Ministry of Public Security. Road Traffic Accident Statistics’ Annual Report of PRC (2015); Traffic Management Bureau of Ministry of Public Security: Beijing, China, 2016.
- Wang, X.; Li, Y. Characteristic analysis of lane changing behavior based on the naturalistic driving data. J. Transport. Inform. Saf. 2016, 34, 17–22. [Google Scholar]
- Wang, X.; Yang, M. Cut-in behavior analyses based on naturalistic driving data. J. Tongji Univ. Nat. Sci Ed. 2018, 46, 1057–1063. [Google Scholar]
- Yang, M.; Wang, X.; Quddus, M. Examining lane change gap acceptance, duration and impact using naturalistic driving data. Transport. Part. C Emerg. Technol. 2019, 104, 317–331. [Google Scholar] [CrossRef]
- Wang, X.; Yang, M.; Hurwitz, D. Analysis of cut-in behavior based on naturalistic driving data. Accid. Anal. Prev. 2019, 124, 127–137. [Google Scholar] [CrossRef]
- Ma, Y.; Yin, B.; Jiang, X.; Du, J.; Chan, C. Psychological and environmental factors affecting driver’s frequent lane-changing driving behaviours: A national sample of drivers in China. IET Intell. Transp. Syst. 2020, 14, 825–833. [Google Scholar] [CrossRef]
- Wang, X.; Xu, L.; Hao, Y. What factors predict drivers’ self-reported lane change violation behavior at urban intersections? A study in China. PLoS ONE 2019, 14, e0216751. [Google Scholar] [CrossRef]
- State Council of PRC. Regulation on the Implementation of the Road Traffic Safety Law of the People’s Republic of China (2017 Amendment); State Council of PRC: Beijing, China, 2017. [Google Scholar]
- Rong, S. A New Type of “Electronic Police” is Being Piloted to Automatically Capture Drivers’ Continuous Lane-Changings by the Traffic Police Corps of Shanghai Public Security Bureau. Available online: http://www.shxwcb.com/185684.html (accessed on 13 December 2020).
- Meng, Z.; Zhu, X.; Ma, Z. Driving characteristics analysis of ramp area based on natural driving data. J. Tongji Univ. Nat. Sci. Ed. 2017, 45, 6–13. [Google Scholar]
- Hao, Y.; Xu, L.; Wang, X. Risk characteristics analysis of dangerous lane-changing behavior at signalized intersections based on VAT. J. Wuhan Univ. Technol. Transp. Sci. Eng. Ed. 2019, 43, 92–96. [Google Scholar]
- Hao, Y.; Xu, L.; Qi, B.; Wang, T.; Zhao, W. A machine learning approach for highway intersection risk caused by harmful lane-changing behaviors. In Proceedings of the 19th COTA International Conference of Transportation Professionals, Nanjing, China, 6–7 July 2019; ASCE Press: Reston, NJ, USA, 2019. [Google Scholar]
- Hao, Y.; Xu, L.; Wang, X.; Li, Y.; Chen, G. Aggressive lane-change analysis closing to intersection based on UAV video and deep learning. In Proceedings of the 5th International Conference on Transportation Information and Safety (ICTIS), Liverpool, UK, 25–28 June 2019; IEEE Press: Piscataway, NJ, USA, 2019. [Google Scholar]
- Xu, L.; Chen, Q.; Hao, Y. Research on risk identification of lane-changing behavior at signalized intersections based on time-varying trajectory. J. Wuhan Univ. Technol. Transp. Sci. Eng. Ed. 2020, 44, 11–16. [Google Scholar]
- Xu, L.; Liu, Z. Improved method of intersection lane guidance system based on lane selection. J. East. China Jiaotong Univ. 2018, 35, 14–19. [Google Scholar]
- Casado-Sanz, N.; Guirao, B.; Galera, A.L.; Attard, M. Investigating the risk factors associated with the severity of the pedestrians injured on Spanish crosstown roads. Sustainability 2019, 11, 5194. [Google Scholar] [CrossRef]
- Casado-Sanz, N.; Guirao, B.; Attard, M. Analysis of the risk factors affecting the severity of traffic accidents on Spanish cross-town roads: The driver’s perspective. Sustainability 2020, 12, 2237. [Google Scholar] [CrossRef]
- Gerrard, M.; Gibbons, F.X.; Houlihan, A.E.; Stock, M.L.; Pomery, E.A. A dual-process approach to health risk decision making: The prototype willingness model. Dev. Rev. 2008, 28, 29–61. [Google Scholar] [CrossRef]
- Gibbons, F.X.; Gerrard, M.; Blanton, H.; Russell, D.W. Reasoned action and social reaction: Willingness and intention as independent predictors of health risk. J. Pers. Soc. Psychol. 1998, 74, 1164–1180. [Google Scholar] [CrossRef]
- Gibbons, F.X.; Gerrard, M.; Ouelette, J.A.; Burzette, R. Cognitive antecedents to adolescent health risk: Discriminating between behavioral intention and behavioral willingness. Psychol. Health 1998, 13, 319–339. [Google Scholar] [CrossRef]
- Demir, B.; Özkan, T.; Demir, S. Pedestrian violations: Reasoned or social reactive? Comparing theory of planned behavior and prototype willingness model. Transp. Res. Part F Traffic Psychol. Behav. 2019, 60, 560–572. [Google Scholar] [CrossRef]
- Tang, T.; Wang, H.; Zhou, X.; Gong, H. Understanding electric bikers’ red-light running behavior: Predictive utility of theory of planned behavior vs prototype willingness model. J. Adv. Transport. 2020, 7097302. [Google Scholar] [CrossRef]
- Elliott, M.A.; Mccartan, R.; Brewster, S.E.; Coyle, D.; Emerson, L.; Gibson, K. An application of the prototype willingness model to drivers’ speeding behaviour. Eur. J. Soc. Psychol. 2017, 47, 735–747. [Google Scholar] [CrossRef]
- Basse, M.; Twisk, D.; Kaye, S. Pro-social behaviour in young passengers: Predictive utility of the social reaction pathway of the prototype willingness model. Transp. Res. Part F Traffic Psychol. Behav. 2020, 74, 151–160. [Google Scholar] [CrossRef]
- Chaleshgar, M.; Morowati, S.M.; Abedini, S. Predictors of speeding among drivers based on prototype willingness model. J. Res. Health 2013, 3, 436–444. [Google Scholar]
- Harbeck, E.L.; Ian, G.A. Driver prototypes and behavioral willingness: Young driver risk perception and reported engagement in risky driving. J. Saf. Res. 2018, 66, 195–204. [Google Scholar] [CrossRef]
- Preece, C.; Watson, A.; Kaye, S.A.; Fleiter, J. Understanding the psychological precursors of young drivers’ willingness to speed and text while driving. Accid. Anal. Prev. 2018, 117, 196–204. [Google Scholar] [CrossRef]
- Ajzen, I. The theory of planned behavior. Organ. Behav. Hum. Dec. 1991, 50, 179–211. [Google Scholar] [CrossRef]
- Ajzen, I. Constructing a Theory of Planned Behavior Questionnaire. Available online: http://people.umass.edu/aizen/pdf/tpb.measurement.pdf (accessed on 13 December 2020).
- Newton, J.D.; Newton, F.J.; Ewing, M.T. Conceptual overlap between moral norms and anticipated regret in the prediction of intention: Implications for theory of planned behaviour research. Psychol. Health 2012, 28, 495–513. [Google Scholar] [CrossRef]
- Benson, T.; Mclaughlin, M.; Giles, M. The factors underlying the decision to text while driving. Transp. Res. Part F Traffic. Psychol. Behav. 2015, 35, 85–100. [Google Scholar] [CrossRef]
- Conner, M.; Lawton, R.; Parker, D.; Chorlton, K.; Manstead, A.S.; Stradling, S. Application of the theory of planned behaviour to the prediction of objectively assessed breaking of posted speed limits. Br. J. Psychol. 2011, 98, 429–453. [Google Scholar] [CrossRef] [PubMed]
- Moan, I.S.; Rise, J. Predicting intentions not to “drink and drive” using an extended version of the theory of planned behavior. Accid. Anal. Prev. 2011, 43, 1378–1384. [Google Scholar] [CrossRef]
- Wang, X.; Xu, L. The factors underlying drivers’ unwillingness to give way to ambulances: An application of an extended theory of planned behavior. J. Transp. Health 2021, 20, 101000. [Google Scholar] [CrossRef]
- Przepiorka, A.M.; Błachnio, A.P.; Sullman, M.J.M. Factors influencing intentions to text while driving among Polish drivers. Transp. Res. Part F Traffic Psychol. Behav. 2018, 55, 306–313. [Google Scholar] [CrossRef]
- Walsh, S.P.; White, K.M.; Hyde, M.K.; Watson, B. Dialling and driving: Factors influencing intentions to use a mobile phone while driving. Accid. Anal. Prev. 2008, 40, 1893–1900. [Google Scholar] [CrossRef] [PubMed]
- Pearson, M.; Hamilton, K. Investigating driver willingness to drive through flooded waterways. Accid. Anal. Prev. 2014, 72, 382–390. [Google Scholar] [CrossRef]
- Jiang, K.; Ling, F.; Feng, Z.; Wang, K.; Shao, C. Why do drivers continue driving while fatigued? An application of the theory of planned behaviour. Transp. Res. Part A Policy Pract. 2017, 98, 141–149. [Google Scholar] [CrossRef]
- Wu, M.L. AMOS Operation and Application of Structural Equation Modeling, 2nd ed.; Chongqing University Press: Chongqing, China, 2009. [Google Scholar]
- Kline, R.B. Principles and Practice of Structural Equation Modeling, 3rd ed.; The Guilford Press: New York, NY, USA, 2011. [Google Scholar]
- Byrne, B. Structural Equation Modeling with AMOS, 3rd ed.; Routledge: New York, NY, USA, 2016. [Google Scholar]
- Jean-Pasca, A. The prevention of young driver’s DWI (driving while intoxicated) and RWDI (riding with a driver under influence) in Europe: A social-sequential model. Traffic Inj. Prev. 2004, 5, 237–240. [Google Scholar]
- Phillips, R.O.; Ulleberg, P.; Vaa, T. Meta-analysis of the effect of road safety campaigns on accidents. Accid. Anal. Prev. 2011, 43, 1204–1218. [Google Scholar] [CrossRef]
- Delgado, M.K.; Wanner, K.J.; Mcdonald, C. Adolescent cellphone use while driving: An overview of the literature and promising future directions for prevention. Media Commun. 2016, 4, 79–89. [Google Scholar] [CrossRef] [PubMed]
- Berg, H.Y. Reducing crashes and injuries among young drivers: What kind of prevention should we be focusing on? Inj. Prev. 2006, 12, i15–i18. [Google Scholar] [CrossRef]
- Senserrick, T.; Ivers, R.; Boufous, S.; Chen, H.-Y.; Norton, R.; Stevenson, M.; Van Beurden, E.; Zask, A. Young driver education programs that build resilience have potential to reduce road crashes. Pediatrics 2009, 124, 1287–1292. [Google Scholar] [CrossRef]
- Bocina, I.; Hasukic, J. Safe driving is cool—Project on young driver road traffic injury prevention, Croatia, 2018–2019. Eur. J. Public Health 2020, 30, ckaa166.862. [Google Scholar] [CrossRef]
- Assailly, J.P. Road safety education: What works? Patient Educ. Couns. 2017, 100, S24–S29. [Google Scholar] [CrossRef]
- Taubman-Ben-Ari, O.; Mikulincer, M.; Gillath, O. From parents to children—similarity in parents and offspring driving styles. Transp. Res. Part F Traffic Psychol. Behav. 2005, 8, 19–29. [Google Scholar] [CrossRef]
- Simons-Morton, B.G.; Ouimet, M.C.; Zhang, Z.; Klauer, S.E.; Lee, S.E.; Wang, J.; Chen, R.; Albert, P.; Dingus, T.A. The effect of passengers and risk-taking friends on risky driving and crashes/near crashes among novice teenagers. J. Adolesc. Health 2011, 49, 587–593. [Google Scholar] [CrossRef]
- Scott-Parker, B.; Watson, B.; King, M.J.; Hyde, M.K. “I would have lost the respect of my friends and family if they knew I had bent the road rules”: Parents, peers, and the perilous behaviour of young drivers. Transp. Res. Part F Traffic Psychol. Behav. 2015, 28, 1–13. [Google Scholar] [CrossRef]
- Weston, L.; Hellier, E. Designing road safety interventions for young drivers: The power of peer influence. Transp. Res. Part F Traffic Psychol. Behav. 2018, 55, 262–271. [Google Scholar] [CrossRef]
- Stead, M.; Tagg, S.; MacKintosh, A.M.; Eadie, D. Development and evaluation of a mass media theory of planned behaviour intervention to reduce speeding. Health Educ. Res. 2005, 20, 36–50. [Google Scholar] [CrossRef]
- Yadav, R.P.; Kobayashi, M.A. Systematic review: Effectiveness of mass media campaigns for reducing alcohol-impaired driving and alcohol-related crashes. BMC Public Health 2015, 15, 857. [Google Scholar] [CrossRef]
- Li, J.; Amr, S.; Braver, E.R.; Langenberg, P.; Zhan, M.; Smith, G.S.; Dischinger, P.C. Are current law enforcement strategies associated with a lower risk of repeat speeding citations and crash involvement? A longitudinal study of speeding Maryland drivers. Ann. Epidemiol. 2011, 21, 641–647. [Google Scholar] [CrossRef]
- Mccartt, A.T.; Hu, W. Effects of red light camera enforcement on red light violations in Arlington County, Virginia. J. Saf. Res. 2014, 48, 57–62. [Google Scholar] [CrossRef] [PubMed]
- Ahmed, M.M.; Abdel-Aty, M. Evaluation and spatial analysis of automated red-light running enforcement cameras. Transp. Part. C Emer. Technol. 2015, 50, 130–140. [Google Scholar] [CrossRef]
- Bates, L.; Allen, S.; Watson, B. The influence of the elements of procedural justice and speed camera enforcement on young novice driver self-reported speeding. Accid. Anal. Prev. 2016, 92, 34–42. [Google Scholar] [CrossRef] [PubMed]
- Shaaban, K.; Pande, A. Evaluation of red-light camera enforcement using traffic violations. J. Traffic Transp. Engl. Ed. 2018, 5, 66–72. [Google Scholar] [CrossRef]






| Behavior | Attitude (AT) | Subjective Norms (SN) | Perceived Behavioral Control (PBC) | Reference |
|---|---|---|---|---|
| Speeding | Y | Y | Y | [4] |
| Y | Y | Y | [6] | |
| Y | Y | Y | [7] | |
| Driving while drowsy | Y | Y | Y | [8] |
| Texting while driving | Y | N | N | [9] |
| Y | Y | Y | [10] | |
| Y | Y a/N b | Y a/N b | [11] | |
| N | Y | N | [12] | |
| Drunk driving | Y | Y | Y | [13] |
| Y | Y | Y | [14] | |
| Smartphone phone use while driving | Y | Y | Y | [15] |
| Constructs | Items | Adapted Sources |
|---|---|---|
| AT | 1 = “strongly disagree” to 5 = “strongly agree” AT1. Continuous lane-changing will save me time. AT2. Continuous lane-changing will enable me to reach my destination faster. AT3. Continuous lane-changing will not affect traffic order. AT4. Continuous lane-changing will give me a sense of success. | [10,11,15,51,54,55,56,57,58,59,60] |
| SN | 1 = “strongly disagree” to 5 = “strongly agree” SN1. My parents think it is not okay to conduct continuous lane-changing. SN2. My friends think it is not okay to conduct continuous lane-changing. SN3. My parents would disapprove of my continuous lane-changing behavior. SN4. My friends would disapprove of my continuous lane-changing behavior. | [10,11,15,51,54,55,56,57,58,59,60] |
| PBC | 1 = “strongly disagree” to 5 = “strongly agree” PBC1. I can evaluate all situations when I conduct continuous lane-changing. PBC2. I can respond quickly to all emergencies when I conduct continuous lane-changing. PBC3. I have confidence in my driving ability to conduct continuous lane-changing. | [10,11,15,51,54,55,56,57,58,59,60] |
| Moral Norms (MN) | 1 = “strongly disagree” to 5 = “strongly agree” MN1. It is wrong for me to conduct continuous lane-changing. MN2. I will feel guilty if I conduct continuous lane-changing. MN3. Conducting continuous lane-changing goes against my principles. | [10,11,15,52,53,54,55,56] |
| Perceived Risk (PR) | 1 = “no extent at all”to5 = “a great extent” PR1. To what extent do you agree that it is likely you will have a crash if you conduct continuous lane-changing? PR2. To what extent do you agree that it is likely you will encounter an emergency if you conduct continuous lane-changing? PR3. To what extent do you agree that it is likely you will be caught by the police if you conduct continuous lane-changing? PR4. To what extent do you agree that it is likely you will be fined by the police if you conduct continuous lane-changing? | [7,8,9,57,58,59] |
| Prototype Similarity (PS) | PS1. Do the characteristics that describe the type of drivers your age who regularly conduct continuous lane-changing also describe you? (1 = definitely no to 5 = definitely yes) PS2. How similar are you to the type of drivers your age who regularly conduct continuous lane-changing? (1 = not at all similar to 5 = very similar) PS3. I am comparable to the typical person my age who regularly conducts continuous lane-changing. (1 = strongly disagree to 5 = strongly agree) PS4. To what extent are you like the typical driver your age who regularly conducts continuous lane-changing? (1 = no extent at all to 5 = a great extent) | [5,6,14,43,44,45,46,47,48] |
| Prototype Favorability (PF) | PF1. How favorable is your impression of the type of driver your age who regularly conducts continuous lane-changing? (1 = very unfavorable to 5 = very favorable) PF2 *. To what extent do you think a driver your age who regularly conducts continuous lane-changing is immature? (1 = no extent at all to 5 = a great extent) PF3 *. To what extent do you think a driver your age who regularly conducts continuous lane-changing is self-centered? (1 = no extent at all to 5 = a great extent) PF4. To what extent do you think a driver your age who regularly conducts continuous lane-changing is dynamic? (1 = no extent at all to 5 = a great extent) PF5. To what extent do you think a driver your age who regularly conducts continuous lane-changing is cool? (1 = no extent at all to 5 = a great extent) | [5,6,14,43,44,45,46,47,48] |
| Behavioral Willingness (BW) | 1 = “no extent at all”to5 = “a great extent” BW1. Suppose over the next month you are driving on an urban road worried about being late, but when approaching an intersection (see Figure 5a), you realize that you will miss the target lane unless you change lanes twice. To what extent would you be willing to conduct continuous lane-changing? BW2. Suppose over the next month you are driving on a freeway (see Figure 5b), but because of a distraction, you realize that you will miss the highway exit unless you change lanes twice. To what extent would you be willing to conduct continuous lane-changing? BW3. Suppose over the next month you are driving worried about being late (see Figure 5c), but the vehicles ahead of you and in the adjacent lane are all moving slowly. You need to change to a non-adjacent lane, to what extent would you be willing to conduct continuous lane-changing? | [5,6,14,43,44,45,46,47,48,56] |
| Variables | Description | Frequency | % |
|---|---|---|---|
| Age | M = 22.1, SD = 2.06 | — | — |
| Driving experience | M = 2.66, SD = 1.48 | — | — |
| Gender | 0 = “Male” | 306 | 63.6 |
| 1 = “Female” | 175 | 36.4 | |
| Education background | 1 = “Below high school” | 105 | 21.8 |
| 2 = “High school” | 231 | 48.0 | |
| 3 = “Undergraduate and above” | 145 | 30.2 | |
| Driving frequency (hours per week) | 1 = “0−5” | 91 | 18.9 |
| 2 = “6−10” | 141 | 29.3 | |
| 3 = “11−15” | 101 | 21.0 | |
| 4 = “16−20” | 72 | 15.0 | |
| 5 = “>20” | 76 | 15.8 | |
| Past behavior | 0 = “Never” | 218 | 45.3 |
| 1 = “Occasionally” | 107 | 22.2 | |
| 2 = “Sometimes” | 89 | 18.5 | |
| 3 = “Often” | 46 | 9.6 | |
| 4 = “Very often” | 21 | 4.4 |
| Variables | 1 | 2 | 3 | 4 | 5 | 6 | 7 | 8 |
|---|---|---|---|---|---|---|---|---|
| 1. AT | 1 | |||||||
| 2. SN | −0.32 ** | 1 | ||||||
| 3. PBC | 0.42 ** | −0.26 ** | 1 | |||||
| 4. MN | −0.16 ** | 0.23 ** | −0.22 ** | 1 | ||||
| 5. PR | −0.25 ** | 0.33 ** | −0.38 ** | 0.14 ** | 1 | |||
| 6. PS | 0.22 ** | −0.43 ** | 0.28 ** | −0.17 ** | −0.27 ** | 1 | ||
| 7. PF | 0.30 ** | −0.31 ** | 0.44 ** | −0.20 ** | −0.35 ** | 0.36 ** | 1 | |
| 8. BW | 0.43 ** | −0.48 ** | 0.52 ** | −0.24 ** | −0.42 ** | 0.48 ** | 0.53 ** | 1 |
| Mean | 2.79 | 2.98 | 2.95 | 2.90 | 3.30 | 2.91 | 3.02 | 2.04 |
| SD | 0.86 | 0.96 | 1.00 | 0.87 | 0.97 | 0.86 | 0.85 | 0.90 |
| Variables/Cronbach’s α | Items | EFA a | CFA b | ||||
|---|---|---|---|---|---|---|---|
| Loadings | % of Variance | Loadings | p–Value | CR | AVE | ||
| AT | 9.568 | 0.844 | 0.576 | ||||
| Cronbach’s α = 0.838 | AT1 | 0.781 | 0.733 | <0.001 | |||
| AT2 | 0.737 | 0.695 | <0.001 | ||||
| AT3 | 0.813 | 0.810 | <0.001 | ||||
| AT4 | 0.820 | 0.791 | <0.001 | ||||
| SN | 11.454 | ||||||
| Cronbach’s α = 0.936 | SN1 | 0.829 | 0.877 | <0.001 | 0.949 | 0.825 | |
| SN2 | 0.848 | 0.885 | <0.001 | ||||
| SN3 | 0.844 | 0.908 | <0.001 | ||||
| SN4 | 0.928 | 0.960 | <0.001 | ||||
| PBC | 7.293 | 0.837 | 0.632 | ||||
| Cronbach’s α = 0.836 | PBC1 | 0.801 | 0.789 | <0.001 | |||
| PBC2 | 0.749 | 0.813 | <0.001 | ||||
| PBC3 | 0.799 | 0.782 | <0.001 | ||||
| MN | 7.564 | 0.829 | 0.619 | ||||
| Cronbach’s α = 0.828 | MN1 | 0.855 | 0.842 | <0.001 | |||
| MN2 | 0.816 | 0.746 | <0.001 | ||||
| MN3 | 0.868 | 0.769 | <0.001 | ||||
| PR | 10.487 | 0.894 | 0.679 | ||||
| Cronbach’s α = 0.890 | PR1 | 0.871 | 0.888 | <0.001 | |||
| PR2 | 0.877 | 0.890 | <0.001 | ||||
| PR3 | 0.784 | 0.757 | <0.001 | ||||
| PR4 | 0.777 | 0.750 | <0.001 | ||||
| PS | 9.735 | 0.861 | 0.610 | ||||
| Cronbach’s α = 0.855 | PS1 | 0.827 | 0.847 | <0.001 | |||
| PS2 | 0.817 | 0.876 | <0.001 | ||||
| PS3 | 0.727 | 0.674 | <0.001 | ||||
| PS4 | 0.777 | 0.708 | <0.001 | ||||
| PF | 11.062 | 0.849 | 0.531 | ||||
| Cronbach’s α = 0.847 | PF1 | 0.684 | 0.663 | <0.001 | |||
| PF2 * | 0.737 | 0.727 | <0.001 | ||||
| PF3 * | 0.731 | 0.725 | <0.001 | ||||
| PF4 | 0.753 | 0.672 | <0.001 | ||||
| PF5 | 0.800 | 0.843 | <0.001 | ||||
| BW | 6.987 | 0.917 | 0.786 | ||||
| Cronbach’s α = 0.914 | BW1 | 0.725 | 0.882 | <0.001 | |||
| BW2 | 0.784 | 0.933 | <0.001 | ||||
| BW3 | 0.747 | 0.843 | <0.001 |
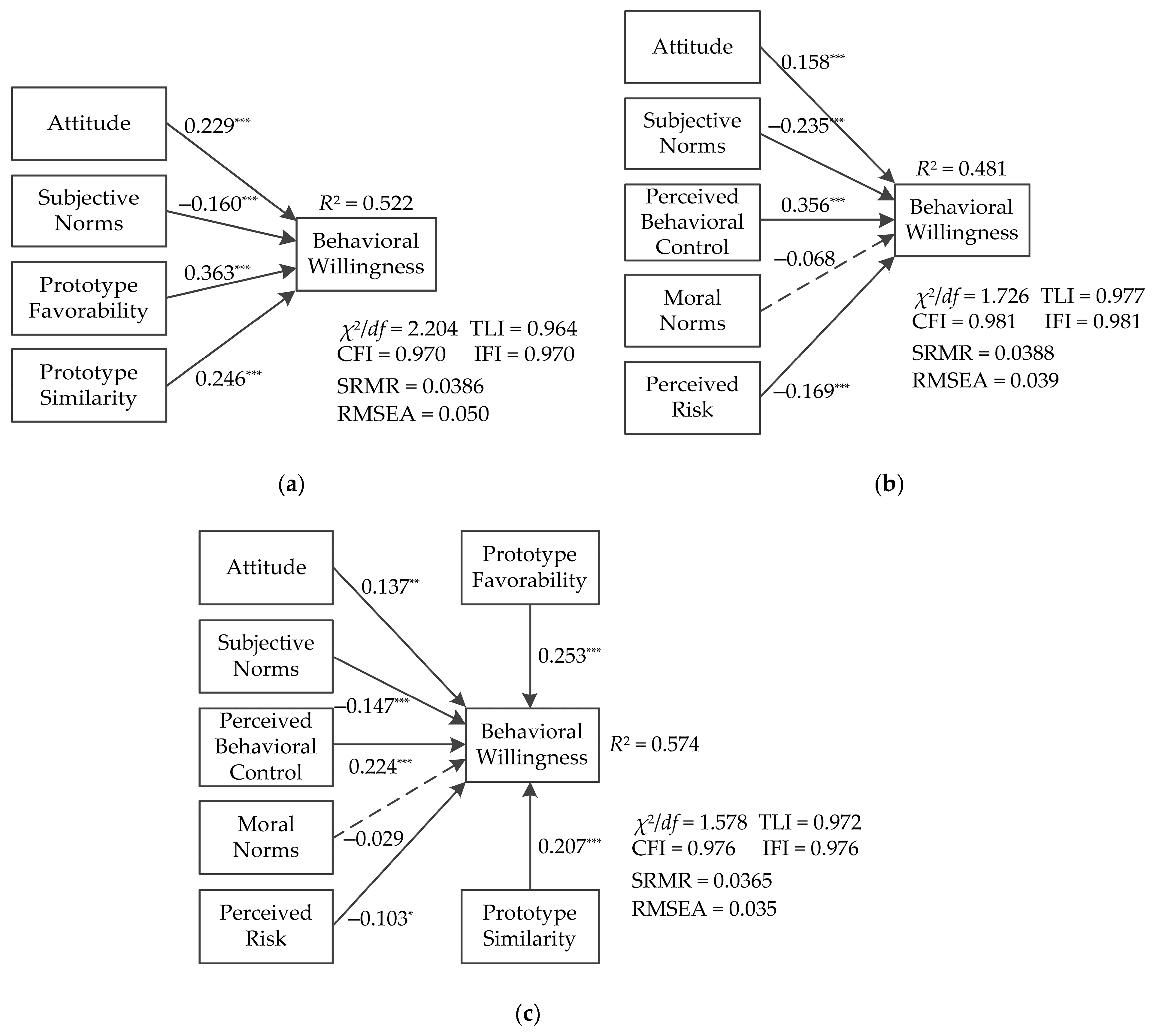
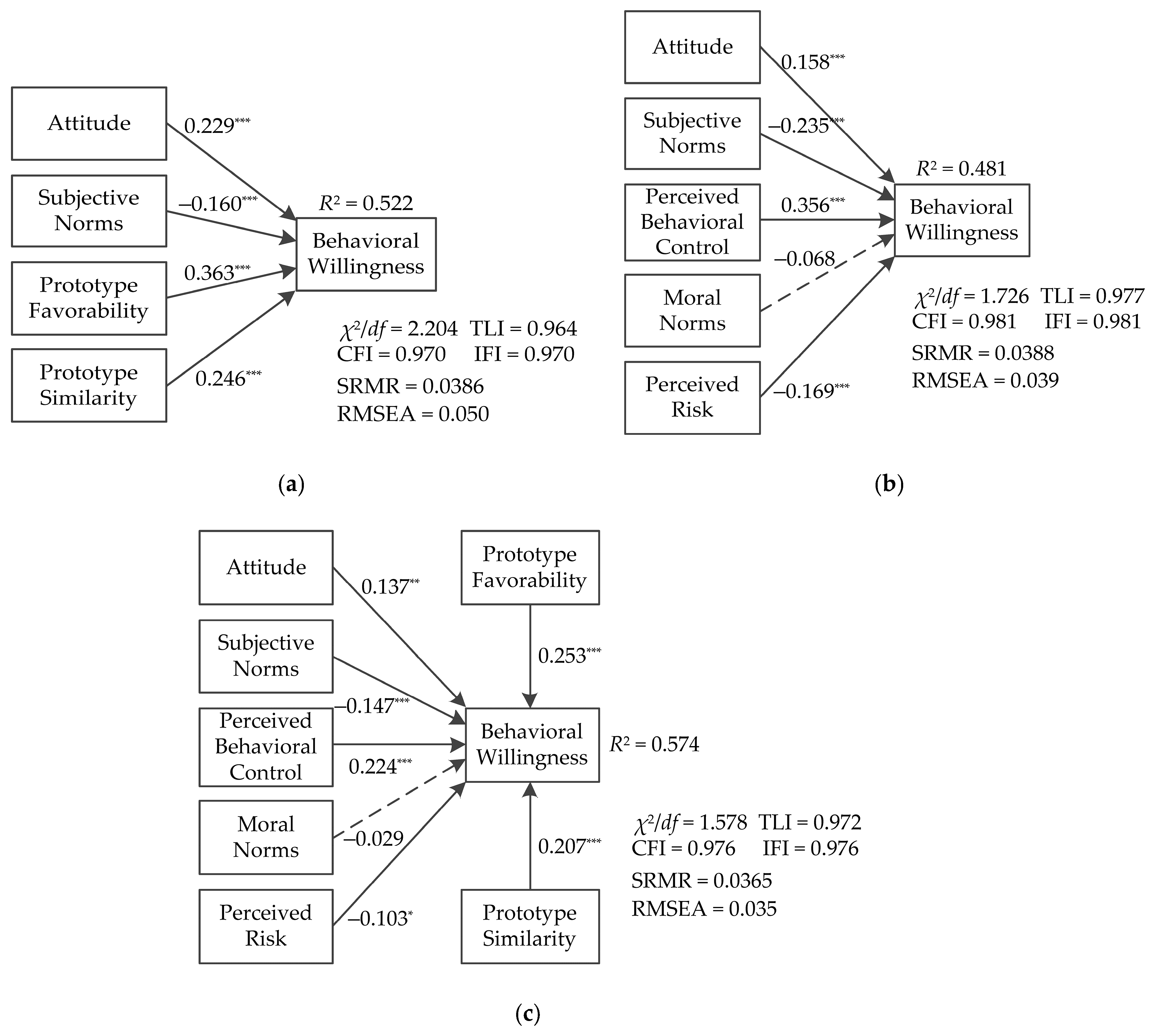
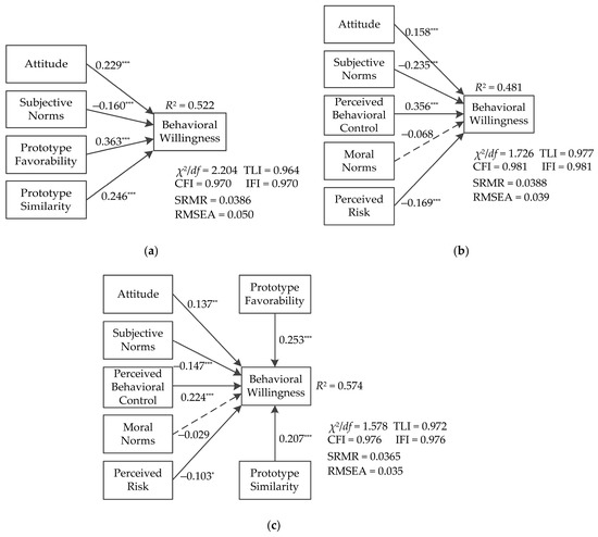
| Hypotheses | Paths | Mode l | Mode 2 | Mode 3 | |||
|---|---|---|---|---|---|---|---|
| β | Results | β | Results | β | Results | ||
| H1 | BW←AT | 0.229 *** | Supported | 0.158 *** | Supported | 0.137 ** | Supported |
| H2 | BW←SN | −0.160 *** | Supported | −0.235 *** | Supported | −0.147 *** | Supported |
| H3 | BW←PBC | — | — | 0.350 *** | Supported | 0.224 *** | Supported |
| H4 | BW←MN | — | — | −0. 068 | Not supported | −0.029 | Not supported |
| H5 | BW←PR | — | — | −0.169 *** | Supported | −0.103 * | Supported |
| H6 | BW←PS | 0.246 *** | Supported | — | — | 0.207 *** | Supported |
| H7 | BW←PF | 0.363 *** | Supported | — | — | 0.253 *** | Supported |
Publisher’s Note: MDPI stays neutral with regard to jurisdictional claims in published maps and institutional affiliations. |
© 2021 by the authors. Licensee MDPI, Basel, Switzerland. This article is an open access article distributed under the terms and conditions of the Creative Commons Attribution (CC BY) license (https://creativecommons.org/licenses/by/4.0/).
Share and Cite
Wang, X.; Xu, L. Factors Influencing Young Drivers’ Willingness to Engage in Risky Driving Behavior: Continuous Lane-Changing. Sustainability 2021, 13, 6459. https://doi.org/10.3390/su13116459
Wang X, Xu L. Factors Influencing Young Drivers’ Willingness to Engage in Risky Driving Behavior: Continuous Lane-Changing. Sustainability. 2021; 13(11):6459. https://doi.org/10.3390/su13116459
Chicago/Turabian StyleWang, Xiaoxiao, and Liangjie Xu. 2021. "Factors Influencing Young Drivers’ Willingness to Engage in Risky Driving Behavior: Continuous Lane-Changing" Sustainability 13, no. 11: 6459. https://doi.org/10.3390/su13116459
APA StyleWang, X., & Xu, L. (2021). Factors Influencing Young Drivers’ Willingness to Engage in Risky Driving Behavior: Continuous Lane-Changing. Sustainability, 13(11), 6459. https://doi.org/10.3390/su13116459
