Understanding Interdependencies among Social Sustainability Evaluation Criteria in an Emerging Economy
Abstract
1. Introduction
2. Background
2.1. Sustainable Supply Chain Management
2.2. Social Sustainability Evaluation Framework
2.3. Research Gap
3. Methods
3.1. Hesitant Fuzzy Sets (HFS)
3.2. ISM Approach
- V: element i will lead to element j
- A: element j will lead to element i
- X: element i and j will help achieve each other
- O: element i and j are unrelated
3.3. HF-MICMAC Approach
4. Proposed Model
5. Case Application
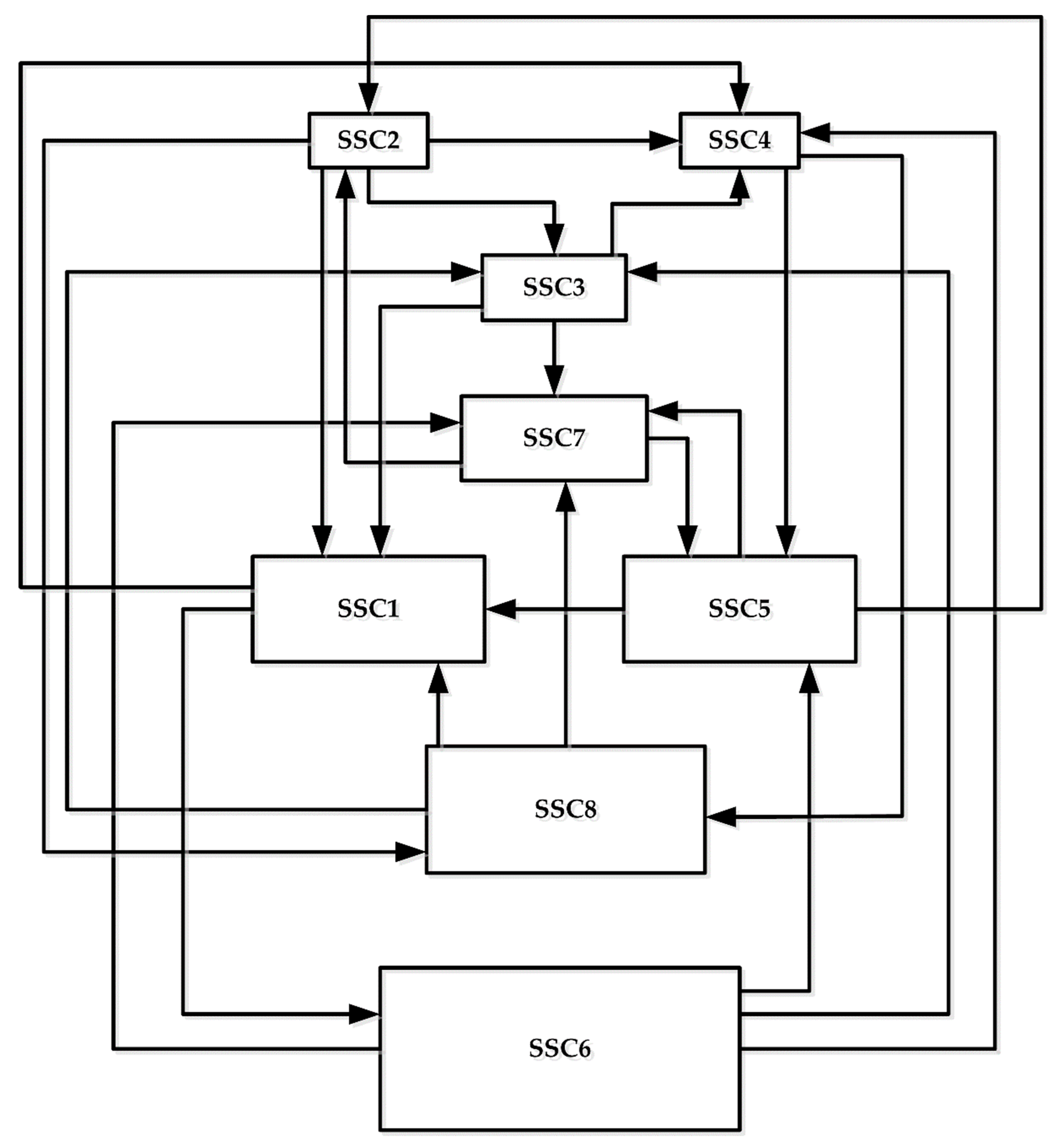
5.1. ISM Analysis
5.2. HF-MICMAC Analysis
5.3. Revised ISM Model
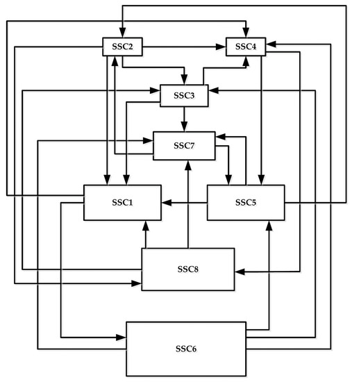
5.4. Integrated ISM and HF-MICMAC Model
6. Discussion
7. Conclusions
7.1. Theoretical Contribution
7.2. Implications for Practice
7.3. Limitations and Future research Directions
Author Contributions
Funding
Acknowledgments
Conflicts of Interest
References
- Mathivathanan, D.; Kannan, D.; Haq, A.N. Sustainable supply chain management practices in Indian automotive industry: A multi-stakeholder view. Resour. Conserv. Recycl. 2018, 128, 284–305. [Google Scholar] [CrossRef]
- Uddin, S.; Ali, S.M.; Kabir, G.; Suhi, S.A.; Enayet, R.; Haque, T. An AHP-ELECTRE framework to evaluate barriers to green supply chain management in the leather industry. Int. J. Sustain. Dev. World Ecol. 2019, 26, 732–751. [Google Scholar] [CrossRef]
- Govindan, K.; Seuring, S.; Zhu, Q.; Azevedo, S.G. Accelerating the transition towards sustainability dynamics into supply chain relationship management and governance structures. J. Clean. Prod. 2016, 112, 1813–1823. [Google Scholar] [CrossRef]
- Kannan, D. Role of multiple stakeholders and the critical success factor theory for the sustainable supplier selection process. Int. J. Prod. Econ. 2018, 195, 391–418. [Google Scholar] [CrossRef]
- Badri Ahmadi, H.; Kusi-Sarpong, S.; Rezaei, J. Assessing the social sustainability of supply chains using Best Worst Method. Resour. Conserv. Recycl. 2017, 126, 99–106. [Google Scholar] [CrossRef]
- Somsuk, N.; Laosirihongthong, T. Prioritization of applicable drivers for green supply chain management implementation toward sustainability in Thailand. Int. J. Sustain. Dev. World Ecol. 2017, 24, 175–191. [Google Scholar] [CrossRef]
- Ahi, P.; Searcy, C. An analysis of metrics used to measure performance in green and sustainable supply chains. J. Clean. Prod. 2015, 86, 360–377. [Google Scholar] [CrossRef]
- Chand, P.; Sirohi, S.; Sirohi, S.K. Development and application of an integrated sustainability index for small-holder dairy farms in Rajasthan, India. Ecol. Indic. 2015, 56, 23–30. [Google Scholar] [CrossRef]
- Govindan, K.; Khodaverdi, R.; Jafarian, A. A fuzzy multi criteria approach for measuring sustainability performance of a supplier based on triple bottom line approach. J. Clean. Prod. 2013, 47, 345–354. [Google Scholar] [CrossRef]
- Bai, C.; Sarkis, J. A grey-based DEMATEL model for evaluating business process management critical success factors. Int. J. Prod. Econ. 2013, 146, 281–292. [Google Scholar] [CrossRef]
- Delai, I.; Takahashi, S. Corporate sustainability in emerging markets: Insights from the practices reported by the Brazilian retailers. J. Clean. Prod. 2013, 47, 211–221. [Google Scholar] [CrossRef]
- Silvestre, B.S. Sustainable supply chain management in emerging economies: Environmental turbulence, institutional voids and sustainability trajectories. Int. J. Prod. Econ. 2015, 167, 156–169. [Google Scholar] [CrossRef]
- Silvestre, B.S. A hard nut to crack! Implementing supply chain sustainability in an emerging economy. J. Clean. Prod. 2015, 96, 171–181. [Google Scholar] [CrossRef]
- Zhu, Q.; Sarkis, J.; Yong, G. Green supply chain management in China: Pressures, practices and performance. Int. J. Oper. Prod. Manag. 2005, 25, 449–468. [Google Scholar] [CrossRef]
- Ehrgott, M.; Reimann, F.; Kaufmann, L.; Carter, C.R. Social sustainability in selecting emerging economy suppliers. J. Bus. Ethics 2011, 98, 99–119. [Google Scholar] [CrossRef]
- D’Eusanio, M.; Zamagni, A.; Petti, L. Social sustainability and supply chain management: Methods and tools. J. Clean. Prod. 2019, 235, 178–189. [Google Scholar] [CrossRef]
- Bruntdland, G.H. Report of the World Commission on Environment and Development: Our Common Future; UN: New York, NY, USA, 1987. [Google Scholar]
- Seuring, S. A review of modeling approaches for sustainable supply chain management. Decis. Support Syst. 2013, 54, 1513–1520. [Google Scholar] [CrossRef]
- Lin, Y.-H.; Tseng, M.-L. Assessing the competitive priorities within sustainable supply chain management under uncertainty. J. Clean. Prod. 2016, 112, 2133–2144. [Google Scholar] [CrossRef]
- Tseng, M.L.; Wu, K.J.; Hu, J.; Wang, C.H. Decision-making model for sustainable supply chain finance under uncertainties. Int. J. Prod. Econ. 2018, 205, 30–36. [Google Scholar] [CrossRef]
- Gong, M.; Gao, Y.; Koh, L.; Sutcliffe, C.; Cullen, J. The role of customer awareness in promoting firm sustainability and sustainable supply chain management. Int. J. Prod. Econ. 2019, 217, 88–96. [Google Scholar] [CrossRef]
- Fahimnia, B.; Sarkis, J.; Gunasekaran, A.; Farahani, R. Decision models for sustainable supply chain design and management. Ann. Oper. Res. 2017, 250, 277–278. [Google Scholar] [CrossRef]
- Formentini, M.; Taticchi, P. Corporate sustainability approaches and governance mechanisms in sustainable supply chain management. J. Clean. Prod. 2016, 112, 1920–1933. [Google Scholar] [CrossRef]
- Ahmad, W.N.K.; Rezaei, J.; Sadaghiani, S.; Tavasszy, L.A. Evaluation of the external forces affecting the sustainability of oil and gas supply chain using Best Worst Method. J. Clean. Prod. 2016, 153, 242–252. [Google Scholar] [CrossRef]
- Su, C.M.; Horng, D.J.; Tseng, M.L.; Chiu, A.S.F.; Wu, K.J.; Chen, H.P. Improving sustainable supply chain management using a novel hierarchical grey-DEMATEL approach. J. Clean. Prod. 2016, 134, 469–481. [Google Scholar] [CrossRef]
- Bai, C.; Kusi-Sarpong, S.; Sarkis, J. An Implementation Path for Green Information Technology Systems in the Ghanaian Mining Industry. J. Clean. Prod. 2017, 164, 1105–1123. [Google Scholar] [CrossRef]
- Silvestre, B.S.; Monteiro, M.S.; Viana, F.L.E.; de Sousa-Filho, J.M. Challenges for sustainable supply chain management: When stakeholder collaboration becomes conducive to corruption. J. Clean. Prod. 2018, 194, 766–776. [Google Scholar] [CrossRef]
- Hong, P.; Jagani, S.; Kim, J.; Youn, S.H. Managing sustainability orientation: An empirical investigation of manufacturing firms. Int. J. Prod. Econ. 2019, 211, 71–81. [Google Scholar] [CrossRef]
- Bai, C.; Sarkis, J. Integrating and extending data and decision tools for sustainable third-party reverse logistics provider selection. Comput. Oper. Res. 2019, 110, 188–207. [Google Scholar] [CrossRef]
- Dos Santos, B.M.; Godoy, L.P.; Campos, L.M.S. Performance Evaluation of Green Suppliers using Entropy-TOPSIS-F. J. Clean. Prod. 2019, 207, 498–509. [Google Scholar] [CrossRef]
- Amindoust, A. A resilient-sustainable based supplier selection model using a hybrid intelligent method. Comput. Ind. Eng. 2018, 126, 122–135. [Google Scholar] [CrossRef]
- Das, D. The impact of Sustainable Supply Chain Management practices on firm performance: Lessons from Indian organizations. J. Clean. Prod. 2018, 203, 179–196. [Google Scholar] [CrossRef]
- Armindo, J.; Fonseca, A.; Abreu, I.; Toldy, T. Is the economic dimension inducing the other sustainability dimensions, or is it the reverse? Perceptions from the Portuguese metal industry. Int. J. Sustain. Dev. World Ecol. 2019, 26, 571–582. [Google Scholar] [CrossRef]
- Wood, D.J. Corporate Social Performance Revisited. Acad. Manag. Rev. 1991, 16, 691–718. [Google Scholar] [CrossRef]
- Maloni, M.J.; Brown, M.E. Corporate Social Responsibility in the Supply Chain: An Application in the Food Industry. J. Bus. Ethics 2006, 68, 35–52. [Google Scholar] [CrossRef]
- Martínez-Blanco, J.; Lehmann, A.; Muñoz, P.; Antón, A.; Traverso, M.; Rieradevall, J.; Finkbeiner, M. Application challenges for the social Life Cycle Assessment of fertilizers within life cycle sustainability assessment. J. Clean. Prod. 2014, 69, 34–48. [Google Scholar] [CrossRef]
- Wu, Z.; Pagell, M. Balancing priorities: Decision-making in sustainable supply chain management. J. Oper. Manag. 2011, 29, 577–590. [Google Scholar] [CrossRef]
- Qorri, A.; Mujkić, Z.; Kraslawski, A. A conceptual framework for measuring sustainability performance of supply chains. J. Clean. Prod. 2018, 189, 570–584. [Google Scholar] [CrossRef]
- Nobrega, J.H.C.; Pio, P.G.C.; Fernandes, G.L.; Botêlho, S.T.; Araujo, T.C.; Anholon, R.; Quelhas, O.L.G. Sustainability in manufacturing processes: Practices performed in metal forming, casting, heat treatment, welding and electrostatic painting. Int. J. Sustain. Dev. World Ecol. 2019, 26, 684–697. [Google Scholar] [CrossRef]
- Hiruy, K.; Eversole, R. The contribution of research for development to the sustainable development goals: Lessons from fisheries research in Southeast Asia and the Pacific Island countries. Int. J. Sustain. Dev. World Ecol. 2019, 1–14. [Google Scholar] [CrossRef]
- Amindoust, A.; Ahmed, S.; Saghafinia, A.; Bahreininejad, A. Sustainable supplier selection: A ranking model based on fuzzy inference system. Appl. Soft Comput. 2012, 12, 1668–1677. [Google Scholar] [CrossRef]
- Azadnia, A.H.; Saman, M.Z.M.; Wong, K.Y. Sustainable supplier selection and order lot-sizing: An integrated multi-objective decision-making process. Int. J. Prod. Res. 2015, 53, 383–408. [Google Scholar] [CrossRef]
- Badri Ahmadi, H.; Hashemi Petrudi, S.H.; Wang, X. Integrating sustainability into supplier selection with analytical hierarchy process and improved grey relational analysis: A case of telecom industry. Int. J. Adv. Manuf. Technol. 2017, 90, 2413–2427. [Google Scholar] [CrossRef]
- Keskin, G.A.; İlhan, S.; Özkan, C. The Fuzzy ART algorithm: A categorization method for supplier evaluation and selection. Expert Syst. Appl. 2010, 37, 1235–1240. [Google Scholar] [CrossRef]
- Presley, A.; Meade, L.; Sarkis, J. A strategic sustainability justification methodology for organizational decisions: A reverse logistics illustration. Int. J. Prod. Res. 2007, 45, 4595–4620. [Google Scholar] [CrossRef]
- Bai, C.; Sarkis, J. Integrating sustainability into supplier selection with grey system and rough set methodologies. Int. J. Prod. Econ. 2010, 124, 252–264. [Google Scholar] [CrossRef]
- Luthra, S.; Govindan, K.; Kannan, D.; Mangla, S.K.; Garg, C.P. An integrated framework for sustainable supplier selection and evaluation in supply chains. J. Clean. Prod. 2017, 140, 1686–1698. [Google Scholar] [CrossRef]
- Kuo, R.J.; Wang, Y.C.; Tien, F.C. Integration of artificial neural network and MADA methods for green supplier selection. J. Clean. Prod. 2010, 18, 1161–1170. [Google Scholar] [CrossRef]
- Torra, V. Hesitant fuzzy sets. Int. J. Intell. Syst. 2010, 25, 529–539. [Google Scholar] [CrossRef]
- Xia, M.; Xu, Z. Hesitant fuzzy information aggregation in decision making. Int. J. Approx. Reason. 2011, 52, 395–407. [Google Scholar] [CrossRef]
- Farhadinia, B. A Novel Method of Ranking Hesitant Fuzzy Values for Multiple Attribute Decision-Making Problems. Int. J. Intell. Syst. 2013, 28, 752–767. [Google Scholar] [CrossRef]
- Jain, V.; Raj, T. Modeling and analysis of FMS performance variables by ISM, SEM and GTMA approach. Int. J. Prod. Econ. 2016, 171, 84–96. [Google Scholar] [CrossRef]
- Sivaprakasam, R.; Selladurai, V.; Sasikumar, P. Implementation of interpretive structural modelling methodology as a strategic decision making tool in a Green Supply Chain Context. Ann. Oper. Res. 2015, 233, 423–448. [Google Scholar] [CrossRef]
- Bhosale, V.A.; Kant, R. An integrated ISM fuzzy MICMAC approach for modelling the supply chain knowledge flow enablers. Int. J. Prod. Res. 2016, 54, 7374–7399. [Google Scholar] [CrossRef]
- Govindan, K.; Palaniappan, M.; Zhu, Q.; Kannan, D. Analysis of third party reverse logistics provider using interpretive structural modeling. Int. J. Prod. Econ. 2012, 140, 204–211. [Google Scholar] [CrossRef]
- Warfield, J.W. Developing interconnection matrices in structural modeling. IEEE Trans. Syst. Man Cybern. 1974, 4, 51–81. [Google Scholar] [CrossRef]
- Dubey, R.; Ali, S.S. Identification of flexible manufacturing system dimensions and their interrelationship using total interpretive structural modelling and fuzzy MICMAC analysis. Glob. J. Flex. Syst. Manag. 2014, 15, 131–143. [Google Scholar] [CrossRef]
- Mangla, S.K.; Luthra, S.; Mishra, N.; Singh, A.; Rana, N.P.; Dora, M.; Dwivedi, Y. Barriers to effective circular supply chain management in a developing country context. Prod. Plan. Control 2018, 29, 551–569. [Google Scholar] [CrossRef]
- Dalvi, M.V.; Kant, R. Modelling supplier development enablers: An integrated ISM–FMICMAC approach. Int. J. Manag. Sci. Eng. Manag. 2018, 13, 75–83. [Google Scholar] [CrossRef]
- Dixit, A.; Routroy, S.; Dubey, S.K. Analysis of government-supported health-care supply chain enablers: A case study. J. Glob. Oper. Strateg. Sourc. 2019. [Google Scholar] [CrossRef]
- Govindan, K.; Khodaverdi, R.; Vafadarnikjoo, A. Intuitionistic fuzzy based DEMATEL method for developing green practices and performances in a green supply chain. Expert Syst. Appl. 2015, 42, 7207–7220. [Google Scholar] [CrossRef]
- Kandasamy, W.V.; Smarandache, F.; Ilanthenral, K. Elementary Fuzzy Matrix Theory and Fuzzy Models for Social Scientists; University of New Mexico: Albuquerque, NM, USA, 2007. [Google Scholar]
- Kannan, G.; Pokharel, S.; Kumar, P.S. A hybrid approach using ISM and fuzzy TOPSIS for the selection of reverse logistics provider. Resour. Conserv. Recycl. 2009, 54, 28–36. [Google Scholar] [CrossRef]
- Mishra, N.; Singh, A.; Rana, N.P.; Dwivedi, Y.K. Interpretive structural modelling and fuzzy MICMAC approaches for customer centric beef supply chain: Application of a big data technique. Prod. Plan. Control 2017, 28, 945–963. [Google Scholar] [CrossRef]
- D’Eusanio, M.; Serreli, M.; Zamagni, A.; Petti, L. Assessment of social dimension of a jar of honey: A methodological outline. J. Clean. Prod. 2018, 199, 503–517. [Google Scholar] [CrossRef]
- Sutherland, J.W.; Richter, J.S.; Hutchins, M.J.; Dornfeld, D.; Dzombak, R.; Mangold, J.; Friemann, F. The role of manufacturing in affecting the social dimension of sustainability. CIRP Ann. 2016, 65, 689–712. [Google Scholar] [CrossRef]
- Morais, D.O.; Silvestre, B.S. Advancing social sustainability in supply chain management: Lessons from multiple case studies in an emerging economy. J. Clean. Prod. 2018, 199, 222–235. [Google Scholar] [CrossRef]
- Ryan, R.M.; Deci, E.L. Intrinsic and extrinsic motivations: Classic definitions and new directions. Contemp. Educ. Psychol. 2000, 25, 54–67. [Google Scholar] [CrossRef]
- Neumann, K. Know Why: Systems Thinking and Modeling; BoD: Norderstedt, Germany, 2015. [Google Scholar]




| Criteria | Description | References |
|---|---|---|
| Work safety and labor health (SSC1) | Indicates firms concentrate on safety and health of their operations. | [41,42,43,44] |
| Training, education and community development (SSC2) | This is in association with the employers’ influence in training and education on their employees. | [42,43] |
| Contractual stakeholders’ influence (SSC3) | This is related to given attention by potential suppliers to their stakeholders. | [9,43,45] |
| Occupational health and safety management system (SSC4) | This is related to implementation status of safety management. | [42,46,47] |
| Interests and rights of employees (SSC5) | This links to promoting employees’ related sustainable employment problems. | [41,47,48] |
| Rights of community (SSC6) | This is about rights of community which have an interest in outcomes of the organization’s actions. | [41,47,48] |
| Information disclosure (SSC7) | This is related to information on materials being consumed during production process or carbon emission information which can be disclosed to clients and stakeholders. | [41,47,48] |
| Employment practices (SSC8) | This is about practices associated with employees. | [9,46] |
| Linguistic Terms | Triangular Fuzzy Numbers | Crisp Numbers |
|---|---|---|
| None | 0 | |
| Very low (VL) | 0.1 | |
| Low (L) | 0.3 | |
| Medium (M) | 0.5 | |
| High (H) | 0.7 | |
| Very high (VH) | 0.9 | |
| Full | 1.0 |
| SSC8 | SSC7 | SSC6 | SSC5 | SSC4 | SSC3 | SSC2 | |
|---|---|---|---|---|---|---|---|
| SSC1 | A | O | V | A | V | A | A |
| SSC2 | V | A | O | A | V | V | |
| SSC3 | A | V | A | O | V | ||
| SSC4 | V | O | A | V | |||
| SSC5 | O | X | A | ||||
| SSC6 | O | V | |||||
| SSC7 | A |
| SSC1 | SSC2 | SSC3 | SSC4 | SSC5 | SSC6 | SSC7 | SSC8 | |
|---|---|---|---|---|---|---|---|---|
| SSC1 | 1 | 0 | 1* | 1 | 1* | 1 | 1* | 1* |
| SSC2 | 1 | 1 | 1 | 1 | 1* | 1* | 1* | 1 |
| SSC3 | 1 | 1* | 1 | 1 | 1* | 1* | 1 | 1* |
| SSC4 | 1* | 1* | 1* | 1 | 1 | 0 | 1* | 1 |
| SSC5 | 1 | 1 | 1* | 1* | 1 | 1* | 1 | 1* |
| SSC6 | 1* | 1* | 1 | 1 | 1 | 1 | 1 | 1* |
| SSC7 | 1* | 1 | 1* | 1* | 1 | 0 | 1 | 1* |
| SSC8 | 1 | 1* | 1 | 1* | 1* | 1* | 1 | 1 |
| SSC1 | SSC2 | SSC3 | SSC4 | SSC5 | SSC6 | SSC7 | SSC8 | |
|---|---|---|---|---|---|---|---|---|
| SSC1 | 0 | 0 | 0 | 1 | 0 | 1 | 0 | 0 |
| SSC2 | 1 | 0 | 1 | 1 | 0 | 0 | 0 | 1 |
| SSC3 | 1 | 0 | 0 | 1 | 0 | 0 | 1 | 0 |
| SSC4 | 0 | 0 | 0 | 0 | 1 | 0 | 0 | 1 |
| SSC5 | 1 | 1 | 0 | 0 | 0 | 0 | 1 | 0 |
| SSC6 | 0 | 0 | 1 | 1 | 1 | 0 | 1 | 0 |
| SSC7 | 0 | 1 | 0 | 0 | 1 | 0 | 0 | 0 |
| SSC8 | 1 | 0 | 1 | 0 | 0 | 0 | 1 | 0 |
| SSC1 | SSC2 | SSC3 | SSC4 | SSC5 | SSC6 | SSC7 | SSC8 | |
|---|---|---|---|---|---|---|---|---|
| SSC1 | 0 | 0 | 0 | {M,H,VH}, {VH} | 0 | {VL,L}, {VL} | 0 | 0 |
| SSC2 | {H,VH}, {L,M}, {H,VH} | 0 | {M, H}, {L,M} | {H,VH}, {M,H}, {VL,L} | 0 | 0 | 0 | {M}, {M,H}, {VL,L} |
| SSC3 | {L,M}, {L,M} | 0 | 0 | {M,H}, {M,H} | 0 | 0 | {VL,L}, {M,H} | 0 |
| SSC4 | 0 | 0 | 0 | 0 | {H,VH}, {L,M}, {L,M} | 0 | 0 | {L,M}, {VL,L}, {L,M,H} |
| SSC5 | {L,M}, {L}, {VL,L} | {H,VH}, {H,VH}, {M,H} | 0 | 0 | 0 | 0 | {H,VH}, {VL,L,M} | 0 |
| SSC6 | 0 | 0 | {H,VH}, {H,VH} | {H,VH}, {M,H} | {M,H,VH}, {M} | 0 | {M,H}, {L,M}, {VL} | 0 |
| SSC7 | 0 | {L,M}, {M}, {M,H} | 0 | 0 | {H,VH}, {VL,L,M} | 0 | 0 | 0 |
| SSC8 | {H,VH}, {H,VH}, {H,VH} | 0 | {L,M,H}, {M,H}, {L,M} | 0 | 0 | 0 | {VL,L,M}, {VL}, {L,M} | 0 |
| SSC1 | SSC2 | SSC3 | SSC4 | SSC5 | SSC6 | SSC7 | SSC8 | |
|---|---|---|---|---|---|---|---|---|
| SSC1 | 0 | 0 | 0 | 0.856 | 0 | 0.189 | 0 | 0 |
| SSC2 | 0.766 | 0 | 0.566 | 0.666 | 0 | 0 | 0 | 0.522 |
| SSC3 | 0.433 | 0 | 0 | 0.633 | 0 | 0 | 0.5 | 0 |
| SSC4 | 0 | 0 | 0 | 0 | 0.633 | 0 | 0 | 0.467 |
| SSC5 | 0.355 | 0.800 | 0 | 0 | 0 | 0 | 0.678 | 0 |
| SSC6 | 0 | 0 | 0.833 | 0.766 | 0.678 | 0 | 0.478 | 0 |
| SSC7 | 0 | 0.555 | 0 | 0 | 0.678 | 0 | 0 | 0 |
| SSC8 | 0.833 | 0 | 0.578 | 0 | 0 | 0 | 0.311 | 0 |
| SSC1 | SSC2 | SSC3 | SSC4 | SSC5 | SSC6 | SSC7 | SSC8 | |
|---|---|---|---|---|---|---|---|---|
| SSC1 | 0.678 | 0.678 | 0.566 | 0.678 | 0.678 | 0.189 | 0.678 | 0.522 |
| SSC2 | 0.633 | 0.633 | 0.566 | 0.633 | 0.633 | 0.189 | 0.633 | 0.522 |
| SSC3 | 0.633 | 0.633 | 0.566 | 0.633 | 0.633 | 0.189 | 0.633 | 0.522 |
| SSC4 | 0.633 | 0.633 | 0.566 | 0.633 | 0.633 | 0.189 | 0.633 | 0.522 |
| SSC5 | 0.678 | 0.678 | 0.566 | 0.678 | 0.678 | 0.189 | 0.678 | 0.522 |
| SSC6 | 0.633 | 0.678 | 0.566 | 0.678 | 0.633 | 0.189 | 0.678 | 0.522 |
| SSC7 | 0.633 | 0.678 | 0.566 | 0.678 | 0.633 | 0.189 | 0.678 | 0.522 |
| SSC8 | 0.633 | 0.633 | 0.566 | 0.633 | 0.633 | 0.189 | 0.633 | 0.522 |
| Criteria | Driving (DR) | DR Levels | Dependence (DP) | DP Levels | Net Driving Power (NDR = DR − DP) (Rank) | Prominence (PR = DR + DP) (Rank) |
|---|---|---|---|---|---|---|
| SSC1 | 4.667 | III | 5.154 | IV | −0.487 (4) | 9.821 (1) |
| SSC2 | 4.442 | I | 5.244 | V | −0.802 (6) | 9.686 (2) |
| SSC3 | 4.442 | I | 4.528 | III | −0.086 (3) | 8.970 (3) |
| SSC4 | 4.442 | I | 5.244 | V | −0.802 (6) | 9.686 (2) |
| SSC5 | 4.667 | III | 5.154 | IV | −0.487 (4) | 9.821 (1) |
| SSC6 | 4.577 | II | 1.512 | I | 3.065 (1) | 6.089 (5) |
| SSC7 | 4.577 | II | 5.244 | V | −0.667 (5) | 9.821 (1) |
| SSC8 | 4.442 | I | 4.176 | II | 0.266 (2) | 8.618 (4) |
| No. | Indirect Link (1*) | Via | Average Strength |
|---|---|---|---|
| 1 | 1 to 3 | 6 | 0.511 |
| 2 | 1 to 5 | 4 & 6 | 1.178 |
| 3 | 1 to 7 | 6 | 0.334 |
| 4 | 1 to 8 | 4 | 0.662 |
| 5 | 2 to 5 | 4 | 0.650 |
| 6 | 2 to 6 | 1 | 0.478 |
| 7 | 2 to 7 | 3 & 8 | 0.950 |
| 8 | 3 to 2 | 7 | 0.528 |
| 9 | 3 to 5 | 4 & 7 | 1.222 |
| 10 | 3 to 6 | 1 | 0.311 |
| 11 | 3 to 8 | 4 | 0.55 |
| 12 | 4 to 1 | 5 & 8 | 1.144 |
| 13 | 4 to 2 | 5 | 0.717 |
| 14 | 4 to 3 | 8 | 0.523 |
| 15 | 4 to 7 | 5 & 8 | 1.045 |
| 16 | 5 to 3 | 2 | 0.683 |
| 17 | 5 to 4 | 1 & 2 | 1.339 |
| 18 | 5 to 6 | 1 | 0.272 |
| 19 | 5 to 8 | 2 | 0.661 |
| 20 | 6 to 1 | 3 & 5 | 1.150 |
| 21 | 6 to 2 | 5 & 7 | 1.256 |
| 22 | 6 to 8 | 4 | 0.617 |
| 23 | 7 to 1 | 2 & 5 | 1.177 |
| 24 | 7 to 3 | 2 | 0.561 |
| 25 | 7 to 4 | 2 | 0.611 |
| 26 | 7 to 8 | 2 | 0.539 |
| 27 | 8 to 2 | 7 | 0.433 |
| 28 | 8 to 4 | 1 & 3 | 1.45 |
| 29 | 8 to 5 | 7 | 0.495 |
| 30 | 8 to 6 | 1 | 0.511 |
| SSC1 | SSC2 | SSC3 | SSC4 | SSC5 | SSC6 | SSC7 | SSC8 | |
|---|---|---|---|---|---|---|---|---|
| SSC1 | 1 | 0 | 0 | 1 | 1* | 1 | 0 | 1* |
| SSC2 | 1 | 1 | 1 | 1 | 1* | 0 | 1* | 1 |
| SSC3 | 1 | 0 | 1 | 1 | 1* | 0 | 1 | 0 |
| SSC4 | 1* | 1* | 0 | 1 | 1 | 0 | 1* | 1 |
| SSC5 | 1 | 1 | 1* | 1* | 1 | 0 | 1 | 1* |
| SSC6 | 1* | 1* | 1 | 1 | 1 | 1 | 1 | 1* |
| SSC7 | 1* | 1 | 0 | 1* | 1 | 0 | 1 | 0 |
| SSC8 | 1 | 0 | 1 | 1* | 0 | 0 | 1 | 1 |
| Criteria | Reachability Set | Antecedent Set | Intersection Set | Level |
|---|---|---|---|---|
| SSC1 | 1,4,5,6,8 | 1,2,3,4,5,6,7,8 | 1,4,5,6,8 | I |
| SSC2 | 1,2,3,4,5,7,8 | 2,4,5,6,7 | 2,4,5,7 | III |
| SSC3 | 1,3,4,5,7 | 2,3,5,6,8 | 3,5 | II |
| SSC4 | 1,2,4,5,7,8 | 1,2,3,4,5,6,7,8 | 1,2,4,5,7,8 | I |
| SSC5 | 1,2,3,4,5,7,8 | 1,2,3,4,5,6,7 | 1,2,3,4,5,7 | II |
| SSC6 | 1,2,3,4,5,6,7,8 | 1,6 | 1,6 | III |
| SSC7 | 1,2,4,5,7 | 2,3,4,5,6,7,8 | 2,4,5,7 | III |
| SSC8 | 1,3,4,7,8 | 1,2,4,5,6,8 | 1,4, 8 | III |
© 2020 by the authors. Licensee MDPI, Basel, Switzerland. This article is an open access article distributed under the terms and conditions of the Creative Commons Attribution (CC BY) license (http://creativecommons.org/licenses/by/4.0/).
Share and Cite
Vafadarnikjoo, A.; Ahmadi, H.B.; Hazen, B.T.; Liou, J.J.H. Understanding Interdependencies among Social Sustainability Evaluation Criteria in an Emerging Economy. Sustainability 2020, 12, 1934. https://doi.org/10.3390/su12051934
Vafadarnikjoo A, Ahmadi HB, Hazen BT, Liou JJH. Understanding Interdependencies among Social Sustainability Evaluation Criteria in an Emerging Economy. Sustainability. 2020; 12(5):1934. https://doi.org/10.3390/su12051934
Chicago/Turabian StyleVafadarnikjoo, Amin, Hadi Badri Ahmadi, Benjamin Thomas Hazen, and James J. H. Liou. 2020. "Understanding Interdependencies among Social Sustainability Evaluation Criteria in an Emerging Economy" Sustainability 12, no. 5: 1934. https://doi.org/10.3390/su12051934
APA StyleVafadarnikjoo, A., Ahmadi, H. B., Hazen, B. T., & Liou, J. J. H. (2020). Understanding Interdependencies among Social Sustainability Evaluation Criteria in an Emerging Economy. Sustainability, 12(5), 1934. https://doi.org/10.3390/su12051934

