Sustainability in Mineral Exploration—Exploring Less Invasive Technologies via Patent Analysis
Abstract
1. Introduction
- How much technology is being patented and who are the main players?
- How does the development of the technology compare across countries?
- What does patent activity reveal about the drivers for sustainable mineral exploration?
2. Materials and Methods
2.1. Definition of Technology Watch Needs
2.2. Definition of Data Sources
2.3. Development of Search Strategy and Data Set Generation
- Geosciences multidisciplinary
- Geochemistry geophysics
- Remote sensing
3. Results
3.1. Patent Activity and Key Players
3.2. Innovation Origin and Markets
3.3. Patent Citation and Collaboration
4. Discussion and Conclusions
Author Contributions
Funding
Acknowledgments
Conflicts of Interest
Appendix A
| Keywords concept 1 (TI/AB/CLMS) | AERIAL OR AERO OR AIRBORNE OR AIRCRAFT OR AIRPLANE OR AIRSHIP OR AVIATION OR HELICOPTER |
| Keywords concept 2 (TI/AB/CLMS) | ELECTROMAGNETIC+ |
| Keywords Concept 3 (TI/AB/CLMS) | SURVEY+ OR MAPPING OR PROSPECT+ OR EXPLOR+ |
| Patent class CPC & IPC | G01V3 Electric or magnetic prospecting or detecting |
| ORBIT query (for patent retrieval) | ((AERIAL OR AERO OR AIRBORNE OR AIRCRAFT OR AIRPLANE OR AIRSHIP OR AVIATION OR HELICOPTER)/TI/AB AND (ELECTROMAGNETIC+)/TI/AB/CLMS AND (SURVEY+ OR MAPPING OR PROSPECT+ OR EXPLOR+)/TI/AB/CLMS) AND (G01V-003)/IPC/CPC |
| Results (patent families, ORBIT) | 203 |
| WOS query (for scientific publications retrieval) | TOPIC: (AERIAL OR AERO* OR AIRBORNE OR AIRCRAFT OR AIRPLANE OR AIRSHIP OR AVIATION OR HELICOPTER) AND TOPIC: (ELECTROMAGNETIC*) AND TOPIC: (SURVEY* OR MAPPING OR PROSPECT* OR EXPLOR*) Refined by: WEB OF SCIENCE CATEGORIES: (GEOCHEMISTRY GEOPHYSICS OR GEOSCIENCES MULTIDISCIPLINARY OR REMOTE SENSING) Timespan: All years. Indexes: SCI-EXPANDED, SSCI, A&HCI, CPCI-S, CPCI-SSH, BKCI-S, BKCI-SSH, ESCI, CCR-EXPANDED, IC. |
| Results (scientific publications, WOS core) | 772 |
Appendix B
| Title & Applicant | Abstract | Image |
| Stabilization system for sensors on moving platforms Applicant: VALE | A stabilized field sensor apparatus that collects field data, in particular magnetic field data, with reduced motion noise. The apparatus includes: tear drop shaped housing, tow frame in the housing, a plurality of vibration isolating dampers spaced around the frame, a base assembly mounted to the dampers, a support pedestal having a bottom end fixed to the base assembly and an upper free end, a single spherical air bearing connected to the upper free end of the pedestal, an instrument platform with a lower hollow funnel having an upper inside apex supported on the air bearing for a one point support, principal and secondary gyro stabilizers for maintaining pivotal and rotational stability, and at least one field sensor mounted to the instrument platform for collecting the field data while being stabilized against motion noise including vibration, pivoting and rotation from the base assembly, from the tow frame and from the housing. | no image available |
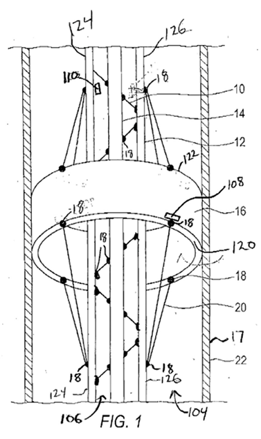
| Helicopter electromagnetic prospecting system Applicant: ANGLO AMERICAN | An airborne electromagnetic prospecting system (10) is disclosed. The system (10) comprises a transmitter loop structure (12) that is attached to, and arranged to be towed by, a helicopter (14). A transmitter (22) is fitted to the transmitter loop structure (12) for transmitting a primary electromagnetic field. A high drag bird (26) is attached to, and arranged to be towed by, the transmitter loop structure (12). A receiver (38) is fitted to the high drag bird (26) for receiving a primary and secondary resulting electromagnetic field, the secondary field arising from the interaction of the primary field with ground conductors that are traversed by the helicopter (14). Significantly, the high drag bird (26) is also attached to, and arranged to be towed by, the helicopter (14), so as to keep the position of the receiver (38) relative to the transmitter (22) substantially constant. | ![]() |
| Receiver coil assembly for airborne geophysical surveying with noise mitigation Applicant: GEOTECH | An airborne geophysical surveying system comprising a receiver coil assembly for towing by an aircraft, the receiver assembly including a receiver coil for sensing changes in a magnetic field component of a magnetic field, and a receiver coil orientation sensing system for sensing orientation changes of the receiver coil. A controller receives signals representing the sensed changes in the magnetic field component from the receiver coil and the sensed orientation changes from the receiver coil orientation sensing system and corrects the sensed changes in the magnetic field component to provide a signal that is corrected for noise caused by changing orientation of the receiver coil in a static geomagnetic field. | ![]() |
| Airborne electromagnetic transmitter coil system Applicant: GEOTECH | A tow assembly for an airborne electromagnetic surveying system comprising a semi-rigid transmitter coil frame supporting a transmitter coil, the transmitter coil frame being formed from a plurality of serially connected frame sections forming a loop, the transmitter coil frame having articulating joints at a plurality of locations about a circumference thereof enabling the transmitter coil frame to at least partially bend at the articulating joints, and a suspension assembly for towing the transmitter coil frame behind an aircraft, the suspension assembly comprising a plurality of ropes and attached to the circumference of the transmitter coil frame at spaced apart locations. | ![]() |
| Airborne electromagnetic time domain system, computer product, and method Applicant: GEOTECH | An airborne time domain electromagnetic surveying system is provided. The system includes a tow assembly with a flexible support frame. The flexible support frame spaced apart from the aircraft includes a transmitter section with a transmitter loop and a receiver section with a sensor aligned with the central axis of the transmitter section. The flexible support frame has a lightweight modular structure that enables the surface area of the transmitter section to be increased and decreased to suit particular survey applications. The transmitter loop sends a pulse in an “ON” interval, and in an “OFF” interval the sensor measures the earth response to the pulse. The tow assembly also includes a sensor for generating selected survey data in the “ON” interval. A transmitter driver enables the creation of an earthbound pulse. The system components are linked to a computer and control computer program linked thereto for controlling the functions thereof. The invention also includes a method for producing survey data using the tow assembly of the invention. | ![]() |
| Tow assembly for fixed wing aircraft for geophysical surveying Applicant: GEOTECH | An airborne geophysical electromagnetic (EM) survey tow assembly system for use with a fixed wing aircraft, including: receiver coil assembly comprising a substantially rigid tubular receiver coil frame forming a continuous internal passageway that extends around a central open area, and a receiver coil housed within the internal passageway; a winch system having a tow cable secured to the receiver coil assembly for extending the receiver coil assembly into a survey position; and a latch system for mounting to an underside of the aircraft having releasable latch members for engaging the receiver coil assembly when the receiver coil assembly is in a retracted position. | ![]() |
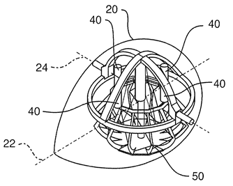
| Airborne electromagnetic system Applicant: ANGLO AMERICAN | A towed aircraft for use in an airborne electromagnetic geophysical prospecting system includes a transmitting antenna (34) and power generating means (24) for powering the antenna. A bird (72) (Figure 4) to which is mounted a receiving antenna (58) may be towed by the towed aircraft. | ![]() |
| Double-suspension receiver coil system and apparatus Applicant: GEOTECH | A receiver coil apparatus for an electromagnetic survey system, comprising: a tubular outer frame defining an internal passage; a rigid inner member; a receiver coil; a plurality of first elastic suspension members suspending the receiver coil from the rigid inner member within the internal passage; and a plurality of second elastic suspension members suspending the rigid inner member within the internal passage. | ![]() |
| Bucking circuit for annulling a magnetic field Applicant: VALE | A method and apparatus is provided for bucking a magnetic field of known geometry and time variation by means of a plurality of bucking loops. It utilizes multiple loops, each of which is energized by an electric current that creates a magnetic field of the known time variation. The multi-loop field forms a bucking magnetic field that better opposes the spatial variation in the known magnetic field over a volume than can the magnetic field from a single loop. The present invention is useful in electromagnetic measurements, where the magnetic field of a controlled source transmitter must be annulled at a magnetic field sensor. It is particularly useful for cases where the magnetic sensor may move relative to the transmitter, such as in certain airborne electromagnetic measurements. | ![]() |
Appendix C
Codes for Countries and Patent Offices
| Code | Country |
| AP | African Regional IP Organization |
| AT | Austria |
| AU | Australia |
| BR | Brazil |
| CA | Canada |
| CL | Chile |
| CN | China |
| CO | Colombia |
| DE | Germany |
| DK | Denmark |
| EP | European Patent Office |
| FI | Finland |
| FR | France |
| GB | United Kingdom |
| IN | India |
| IT | Italy |
| JP | Japan |
| KR | Korea (South) |
| MX | Mexico |
| NL | Netherlands |
| PL | Poland |
| RU | Russian Federation |
| SW | Sweden |
| US | United States of America |
| ZA | South Africa |
References
- Inigo, E.A. Sustainable innovation: Creating solutions for sustainable development. In Decent Work and Economic Growth. Encyclopedia of the UN Sustainable Development Goals; Leal Filho, W., Azul, A., Brandli, L., Özuyar, P., Wall, T., Eds.; Springer: Cham, Switzerland, 2019. [Google Scholar] [CrossRef]
- Baughey, K. Functional and Logical Structures: A Systems Engineering Approach (No. 2011-01-0517); SAE Technical Paper; SAE International: Warrendale, PA, USA, 2011. [Google Scholar] [CrossRef]
- Mudd, G.M. The environmental sustainability of mining in Australia: Key mega-trends and looming constraints. Resour. Policy 2010, 35, 98–115. [Google Scholar] [CrossRef]
- Gloaguen, R.; Ghamisi, P.; Lorenz, S.; Kirsch, M.; Zimmermann, R.; Booysen, R.; Andreani, L.; Jackisch, R.; Hermann, E.; Tusa, L.; et al. The Need for Multi-Source, Multi-Scale Hyperspectral Imaging to Boost Non-Invasive Mineral Exploration. In Proceedings of the InIGARSS 2018–2018 IEEE International Geoscience and Remote Sensing Symposium, Valencia, Spain, 22–27 July 2018; Volume 22, pp. 7430–7433. [Google Scholar] [CrossRef]
- UN General Assembly. Transforming our World: The 2030 Agenda for Sustainable Development, 21 October 2015, A/RES/70/1. Available online: https://www.un.org/en/development/desa/population/migration/generalassembly/docs/globalcompact/A_RES_70_1_E.pdf (accessed on 17 November 2020).
- Pour, S.H.; Wahab, A.K.A.; Shahid, S.; Asaduzzaman, M.; Dewan, A. Low impact development techniques to mitigate the impacts of climate-change-induced urban floods: Current trends, issues and challenges. Sustain. Cities Soc. 2020, 62, 102373. [Google Scholar] [CrossRef]
- Ferreira, J.J.M.; Fernandes, C.I.; Ferreira, F.A.F. Technology transfer, climate change mitigation, and environmental patent impact on sustainability and economic growth: A comparison of European countries. Technol. Forecast. Soc. Chang. 2020, 150, 119770. [Google Scholar] [CrossRef]
- Fu, B.; Wang, S.; Zhang, J.; Hou, Z.; Li, J. Unravelling the complexity in achieving the 17 sustainable-development goals. Natl. Sci. Rev. 2019, 6, 386–388. [Google Scholar] [CrossRef]
- UNDP; IFC; IPIECA; CCSI. Mapping the Oil and Gas Industry to the Sustainable Development Goals: An Atlas. 2017. Available online: https://www.undp.org/content/undp/en/home/librarypage/poverty-reduction/mapping-the-oil-and-gas-industry-to-the-sdgs--an-atlas.html (accessed on 17 November 2020).
- Krajčo, K.; Habánik, J.; Grenčíková, A. New technology impact on the Sustainable Development. Eng. Econ. 2019, 30. [Google Scholar] [CrossRef]
- Spangenberg, J.H.; Fuad-Luke, A.; Blincoe, K. Design for Sustainability (DfS): The interface of sustainable production and consumption. J. Clean. Prod. 2010, 18, 1485–1493. [Google Scholar] [CrossRef]
- NEXT New Exploration Techniques. Available online: https://www.new-exploration.tech/ (accessed on 23 September 2020).
- Smart Exploration Project. Available online: https://smartexploration.eu/ (accessed on 23 September 2020).
- PACIFIC Project. Available online: https://www.pacific-h2020.eu/ (accessed on 23 September 2020).
- INFACT Project. Available online: https://www.infactproject.eu/ (accessed on 6 February 2020).
- Hilson, G.; Murck, B. Sustainable development in the mining industry: Clarifying the corporate perspective. Resour. Policy 2000, 26, 227–238. [Google Scholar] [CrossRef]
- Ali, S.; Giurco, D.; Arndt, N.; Nickless, E.; Brown, G.; Demetriades, A.; Durrheim, R.; Enriquez, M.A.; Kinnaird, J.; Littleboy, A.; et al. Mineral supply for sustainable development requires resource governance. Nature 2017, 543, 367–372. [Google Scholar] [CrossRef]
- Azapagic, A. Developing a framework for sustainable development indicators for the mining and minerals industry. J. Clean. Prod. 2004, 12, 639–662. [Google Scholar] [CrossRef]
- Caron, J.; Durand, S.; Asselin, H. Principles and criteria of sustainable development for the mineral exploration industry. J. Clean. Prod. 2011, 119, 215–222. [Google Scholar] [CrossRef]
- Kesselring, M.; Wagner, F.; Kirsch, M.; Ajjabou, L.; Gloaguen, R. Sustainable test sites for mineral exploration: Development of sustainable test sites and knowledge spillover for industry. Sustainability 2020, 12, 2016. [Google Scholar] [CrossRef]
- Abraham, B.P.; Moitra, S.D. Innovation assessment through patent analysis. Technovation 2001, 21, 245–252. [Google Scholar] [CrossRef]
- Fleisher, C.S. Should the field be called competitive intelligence or something else? In Controversies in Competitive Intelligence: The Enduring Issues; Praeger: Westport, CT, USA, 2003; pp. 56–69. ISBN 1-56720-560-7. [Google Scholar]
- Negash, S. Business Intelligence. Commun. Assoc. Inf. Syst. 2004, 13, 77–195. [Google Scholar] [CrossRef]
- Herring, J.P. Key intelligence topics: A process to identify and define intelligence needs. In Competitive Intelligence Review: Published in Cooperation with the Society of Competitive Intelligence Professionals; Wiley: Hoboken, NJ, USA, 1999; Volume 10, pp. 4–14. [Google Scholar] [CrossRef]
- Witherly, K.; Irvine, R.; Morrison, E. The geotech VTEM time domain helicopter em system. ASEG Ext. Abstr. 2004, 1–4. [Google Scholar] [CrossRef]
- Sørense, K.I.; Auken, E. SkyTEM—A new high-resolution helicopter transient electromagnetic system. Explor. Geophys. 2004, 35, 194–202. [Google Scholar] [CrossRef]
- Sattel, D. An overview of Helicopter Time-Domain EM systems. ASEG Ext. Abstr. 2009, 1–7. [Google Scholar] [CrossRef]
- Dentith, M.; Mudge, S.T. Geophysics for the Mineral Exploration Geoscientist; Cambridge University Press: Cambridge, UK, 2014; p. 454. ISBN 10 0521809517. [Google Scholar]
- Legault, J.M. Airborne Electromagnetic Systems-State of the Art and Future Directions: CSEG Recorder. 2015, pp. 38–49. Available online: https://csegrecorder.com/articles/view/airborne-electromagnetic-systems-state-of-the-art-and-future-directions (accessed on 15 May 2020).
- Jürgens, B.; Herrero-Solana, V. Espacenet, Patentscope and Depatisnet: A comparison approach. World Pat. Inf. 2015, 42, 4–12. [Google Scholar] [CrossRef]
- Zhou, Y.; Pan, M.; Urban, F. Comparing the international knowledge flow of China’s wind and solar photovoltaic (PV) industries: Patent analysis and implications for sustainable development. Sustainability 2018, 10, 1883. [Google Scholar] [CrossRef]
- Albino, V.; Ardito, L.; Dangelico, R.M.; Petruzzelli, A.M. Understanding the development trends of low-carbon energy technologies: A patent analysis. Appl. Energy 2014, 135, 836–854. [Google Scholar] [CrossRef]
- Orbit Intelligence. Available online: https://www.orbit.com/ (accessed on 23 September 2020).
- Clarivative Web of Science. Available online: https://clarivate.com/webofsciencegroup/solutions/web-of-science/ (accessed on 23 September 2020).
- Choi, J.; Hwang, Y.S. Patent keyword network analysis for improving technology development efficiency. Technol. Forecast. Soc. Chang. 2014, 83, 170–182. [Google Scholar] [CrossRef]
- Daim, T.U.; Rueda, G.; Martin, H.; Gerdsri, P. Forecasting emerging technologies: Use of bibliometrics and patent analysis. Technol. Forecast. Soc. Chang. 2006, 73, 981–1012. [Google Scholar] [CrossRef]
- Liu, S.J.; Shyu, J. Strategic planning for technology development with patent analysis. Int. J. Technol. Manag. 1997, 13, 661–680. [Google Scholar] [CrossRef]
- Abbas, A.; Zhang, L.; Khan, S.U. A literature review on the state-of-the-art in patent analysis. World Pat. Inf. 2014, 37, 3–13. [Google Scholar] [CrossRef]
- Daly, A.; Valacchi, G.; Raffo, J. Mining Patent Data: Measuring Innovation in the Mining Industry with Patents. Economic Research Working Paper No. 56. WIPO. 2019. Available online: https://www.wipo.int/edocs/pubdocs/en/wipo_pub_econstat_wp_56.pdf (accessed on 23 September 2020).
- Zhou, X.; Zhang, Y.; Porter, A.L.; Guo, Y.; Zhu, D. A patent analysis method to trace technology evolutionary pathways. Scientometrics 2016, 100, 705–721. [Google Scholar] [CrossRef]
- Van Looy, B.; Callaert, J.; Debackere, K. Publication and patent behavior of academic researchers: Conflicting, reinforcing or merely co-existing? Res. Policy 2006, 35, 596–608. [Google Scholar] [CrossRef]
- Kitzing, L.; Fitch-Roy, O.; Islam, M.; Mitchell, C. An evolving risk perspective for policy instrument choice in sustainability transitions. Environ. Innov. Soc. Transit. 2018, 18. [Google Scholar] [CrossRef]
- Meijer, L.L.J.; Huijben, J.C.C.M.; Van Boxstael, A.; Romme, A.G.L. Barriers and drivers for technology commercialization by SMEs in the Dutch sustainable energy sector. Renew. Sustain. Energy Rev. 2019, 112, 114–126. [Google Scholar] [CrossRef]
- Andersen, B. The hunt for S-shaped growth paths in technological innovation: A patent study. J. Evol. Econ. 1999, 9, 487–526. [Google Scholar] [CrossRef]
- Haupt, R.; Kloyer, M.; Lange, M. Patent indicators for the technology life cycle development. Res. Policy 2007, 36, 387–398. [Google Scholar] [CrossRef]
- Eberhardt, M.; Helmers, C.; Yu, Z. What can explain the Chinese patent explosion? Oxf. Econ. Pap. 2017, 69, 239–262. [Google Scholar] [CrossRef]
- Long, C.X.; Wang, J. Evaluating patent promotion policies in China: Consequences for patent quantity and quality. In Economic Impacts of Intellectual Property-Conditioned Government Incentives; Springer: Singapore, 2016; pp. 235–257. [Google Scholar] [CrossRef]
- Mulamula, G.; Amadi-Echendu, J. An examination of the potential links between ICT technology transfer and sustainable development. Int. J. Technol. Manag. Sustain. Dev. 2017, 16, 119–139. [Google Scholar] [CrossRef]








| Key Intelligence Topic | Airborne Electromagnetic Methods |
|---|---|
| Keywords concept 1 | aerial or aero or airborne or aircraft or airplane or airship or aviation or helicopter |
| Keywords concept 2 | electromagnetic+ |
| Keywords concept 3 | survey+ or mapping or prospect+ or explor+ |
| Key Intelligence Topic | Airborne Electromagnetic Methods |
|---|---|
| CPC/IPC concept 3 | G01V3 Electric or magnetic prospecting or detecting |
| Research Institution | # Papers |
|---|---|
| Aarhus University (DK) | 64 |
| Jilin University (CN) | 46 |
| Geological Survey of Denmark and Greenland (DK) | 33 |
| Fugro (NL) | 26 |
| Geological Survey of Canada (CA) | 26 |
| Commonwealth Scientific Industrial Research Organisation (AU) | 23 |
| United States Geological Survey (US) | 23 |
| Chinese Academy of Sciences (CN) | 21 |
| University of British Columbia (CA) | 21 |
| French National Centre for Scientific Research (FR) | 20 |
| Royal Melbourne Institute of Technology (AU) | 19 |
| Leibniz Institute for Applied Geophysics (DE) | 17 |
| United States Department of Energy (US) | 17 |
| Helmholtz Association (DE) | 16 |
| Laurentian University (CA) | 16 |
Publisher’s Note: MDPI stays neutral with regard to jurisdictional claims in published maps and institutional affiliations. |
© 2020 by the authors. Licensee MDPI, Basel, Switzerland. This article is an open access article distributed under the terms and conditions of the Creative Commons Attribution (CC BY) license (http://creativecommons.org/licenses/by/4.0/).
Share and Cite
Ruiz-Coupeau, S.; Jürgens, B.; Keßelring, M.; Herrero-Solana, V. Sustainability in Mineral Exploration—Exploring Less Invasive Technologies via Patent Analysis. Sustainability 2020, 12, 9761. https://doi.org/10.3390/su12229761
Ruiz-Coupeau S, Jürgens B, Keßelring M, Herrero-Solana V. Sustainability in Mineral Exploration—Exploring Less Invasive Technologies via Patent Analysis. Sustainability. 2020; 12(22):9761. https://doi.org/10.3390/su12229761
Chicago/Turabian StyleRuiz-Coupeau, Stephane, Björn Jürgens, Michaela Keßelring, and Victor Herrero-Solana. 2020. "Sustainability in Mineral Exploration—Exploring Less Invasive Technologies via Patent Analysis" Sustainability 12, no. 22: 9761. https://doi.org/10.3390/su12229761
APA StyleRuiz-Coupeau, S., Jürgens, B., Keßelring, M., & Herrero-Solana, V. (2020). Sustainability in Mineral Exploration—Exploring Less Invasive Technologies via Patent Analysis. Sustainability, 12(22), 9761. https://doi.org/10.3390/su12229761









