Greenhouse Gas Emission Reductions by Reusing and Recycling Used Clothing in Japan
Abstract
:1. Introduction
2. Research Method
3. Basic Data of This Study
3.1. Discharge Flow of Used Clothing in Japan
3.2. Type of Clothing Discharged from Households
4. Interviews with Companies on Reusing and Recycling
4.1. Nakano & Co., Ltd.
4.2. Wacoal Holdings Corp. and Japan-Waste Co., Ltd.
5. Estimations of Material Compositions of Each Used Clothing Fabric Type and GHG Emissions from Manufacturing
6. Assuming Types of Reuse and Recycling and Calculation of GHG Emission Reductions by Them
6.1. Calculation of GHG Emission Reductions in Group 1 (Reuse Overseas)
6.2. Calculation of Group 2 GHG Emission Reductions (Textile Recycling to Wipers)
6.3. Calculation of Group 3 GHG Emission Reductions (Fiber Recycling (Reclaimed Fiber Felt))
6.4. Calculation of Group 4 GHG Emission Reductions (Chemical Recycling and/or Thermal Recycling (RPF))
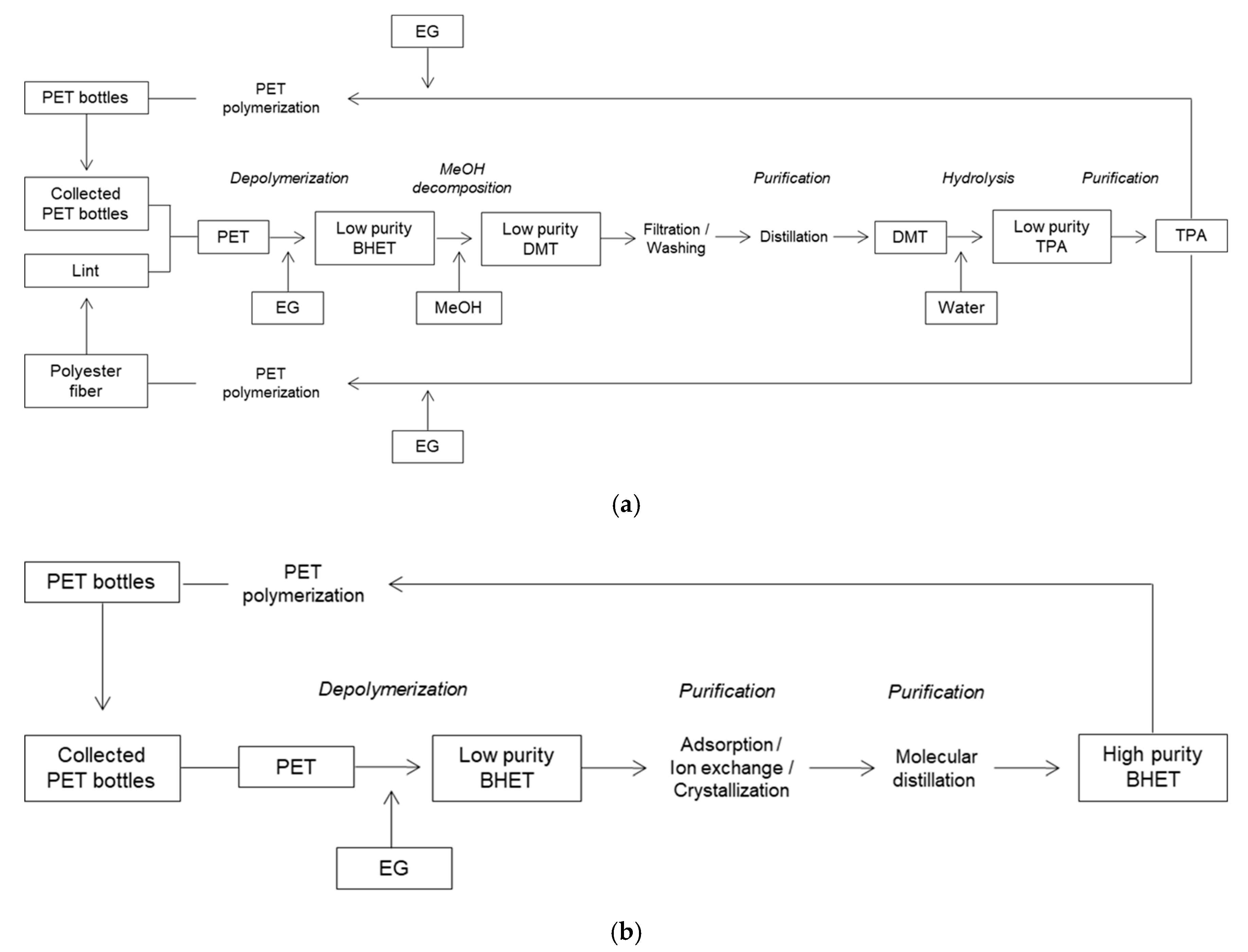
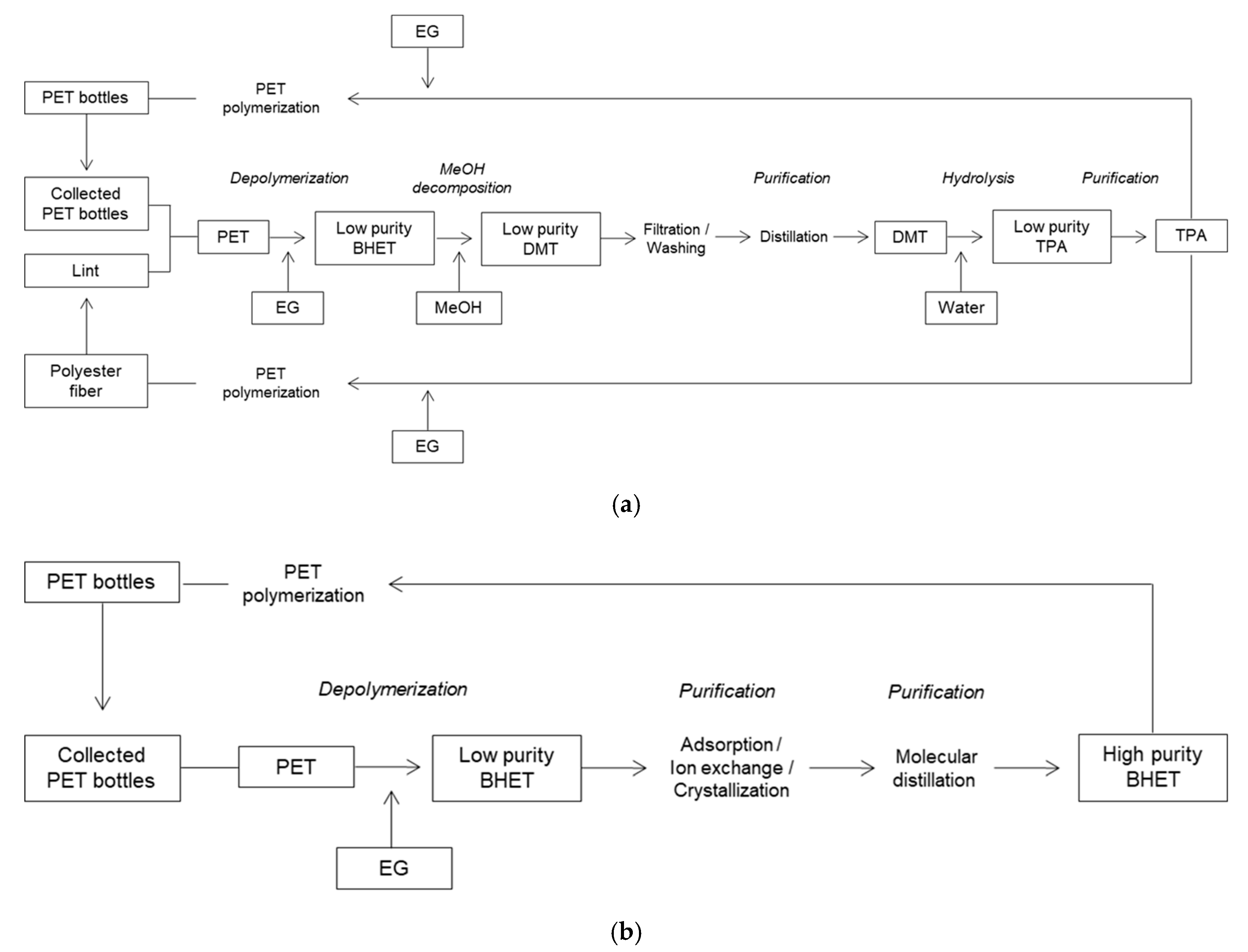
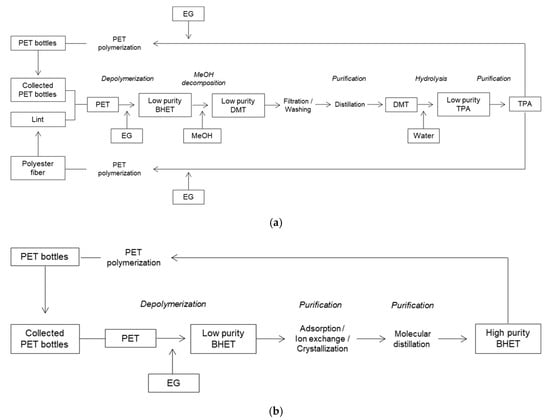
6.4.1. Chemical Recycling
6.4.2. Thermal Recycling
6.4.3. Comparison of Group 4 GHG Emission Reductions
7. Conclusions
Author Contributions
Funding
Conflicts of Interest
Appendix A
| Item | GHG Emissions per Unit | Details | |
|---|---|---|---|
| Sea transportation | 1.00 × 10−2 | kg CO2e/t km | IDEA (451200108) [27], Container ship transportation, >4000TEU |
| PET incineration | 2.29 × 100 | kg CO2e/kg | Calculated from stoichiometry |
| Cotton incineration | 1.63 × 100 | kg CO2e/kg | Calculated from stoichiometry |
| Used clothing-derived wipers manufacturing | 4.53 × 10−2 | kg CO2e/kg | METI [11], LCA report on textile products |
| New cotton wipers manufacturing | 4.61 × 100 | kg CO2e/kg | METI [11], LCA report on textile products |
| New polyester staple production | 5.56 × 100 | kg CO2e/kg | IDEA (174213000) [27], Polyester staple |
| Electric power | 6.58 × 10−1 | kg CO2e/kWh | IDEA (331128014) [27], Electric power, KYUSHU ELECTRIC POWER CO., INC., 2014 |
| Virgin polyester resin produciton by IDEA | 2.89 × 100 | kg CO2e/kg | IDEA (173526000) [27], Polyethylene terephthalate |
| Chemical recycling PET resin production by Aies method | 1.98 × 100 | kg CO2e/kg | Sugimoto, T. [30], A Recycling Technology for Waste PET Bottles: A LCI Analysis of Aies method Chemical Recycling Process |
| DMT production from waste PET products by Teijin method | 2.13 × 100 | kg CO2e/kg | METI [11], LCA report on textile products |
| RPF manufacturing energy | 7.35 × 107 | kJ/kg | Hearings from Nippon West Co., Ltd. [17] |
| Heat of combustion of polyester | 2.28 × 104 | kJ/kg | Okochi, F. et al. [36], Evaluation of Security from Heat of Combustion of Textiles with and without Flame Retardant Finishes |
| Thermal coal production | 2.09 × 10−1 | kg CO2e/kg | IDEA (051112102) [27], Thermal coal, Import |
| Low calorific value of thermal coal | 2.57 × 101 | MJ/kg | MOE [37], List of calculation methods/emission factors in the calculation/report/publication system |
| Thermal coal use | 9.06 × 10−2 | kg CO2e/MJ | MOE [37], List of calculation methods/emission factors in the calculation/report/publication system |
References
- Ellen MacArthur Foundation. A New Textiles Economy: Redesigning Fashion’s Future. Available online: https://www.ellenmacarthurfoundation.org/assets/downloads/publications/A-New-Textiles-Economy_Full-Report_Updated_1-12-17.pdf (accessed on 13 June 2020).
- United Nations Climate Change. UN Helps Fashion Industry Shift to Low Carbon. Available online: https://unfccc.int/news/un-helps-fashion-industry-shift-to-low-carbon (accessed on 13 June 2020).
- United Nations Department of Economic and Social Affairs. Growing at a Slower Pace, World Population is Expected to Reach 9.7 Billion in 2050 and Could Peak at Nearly 11 Billion around 2100. Available online: https://www.un.org/development/desa/en/news/population/world-population-prospects-2019.html (accessed on 13 June 2020).
- Allwood, J.M.; Laursen, S.E.; de Malvido Rodriguez, C.; Bocken, N.M.P. Well Dressed? The Present and Future Sustainability of Clothing and Textiles in the United Kingdom; Institute for Manufacturing University of Cambridge: Cambridge, UK, 2006. [Google Scholar]
- Organization for Small & Medium Enterprises and Regional Innovation, JAPAN. Textile Product 3R Related Research Business Report. Available online: https://warp.da.ndl.go.jp/info:ndljp/pid/6020255/www.smrj.go.jp/keiei/seni/info/pub/053267.html (accessed on 13 June 2020).
- Sandin, G.; Peters, G.M. Environmental impact of textile reuse and recycling—A review. J. Clean. Prod. 2018, 184, 353–365. [Google Scholar] [CrossRef]
- Woolridge, A.C.; Ward, G.D.; Phillips, P.S.; Collins, M.; Gandy, M. Life cycle assessment for reuse/recycling of donated waste textiles compared to use of virgin material: An UK energy saving perspective. Resour. Conserv. Recycl. 2006, 46, 94–103. [Google Scholar] [CrossRef]
- Farrant, L.; Olsen, S.I.; Wangel, A. Environmental benefits from reusing clothes. Int. J. Life Cycle Assess. 2010, 15, 726–736. [Google Scholar] [CrossRef]
- Bartl, A. Fiber Recycling: Potential for Saving Energy and Resources; International Solid Waste Association World Congress; Available online: https://www.iswa.org/uploads/tx_iswaknowledgebase/paper11.pdf (accessed on 13 June 2020).
- Zamani, B.; Svanström, M.; Peters, G.; Rydberg, T. A Carbon Footprint of Textile Recycling: A Case Study in Sweden. J. Ind. Ecol. 2014, 19, 676–687. [Google Scholar] [CrossRef]
- Ministry of Economy, Trade and Industry. LCA Report on Textile Products—Updated Version and Data Related to Data Correction Such as Dyeing Process; Ministry of Economy, Trade and Industry: Tokyo, Japan, 2009.
- Japan Environmental Management Association for Industry, Chiyoda-ku, Tokyo. CFP Program: CR-AO04-13002. 2014. Available online: https://www.cfp-japan.jp/ (accessed on 13 June 2020).
- Japan Environmental Management Association for Industry, Chiyoda-ku, Tokyo. CFP Program: CR-AO03-12009. 2012. Available online: https://www.cfp-japan.jp/ (accessed on 13 June 2020).
- Yuan, Z. Life cycle assessment of cotton T-shirts in China. Int. J. Life Cycle Assess. 2015, 20, 994–1004. [Google Scholar] [CrossRef]
- Levi Strauss & Co. The Life Cycle of a Jean. Available online: https://www.levistrauss.com/wp-content/uploads/2015/03/Full-LCA-Results-Deck-FINAL.pdf (accessed on 13 June 2020).
- Nakano & Co., Ltd. Available online: https://www.nakano-inter.co.jp/ (accessed on 13 June 2020).
- Japan-Waste Co., Ltd. Available online: http://www.japan-waste.co.jp/main.html (accessed on 13 June 2020).
- Wacoal Holdings Corp. We Reprocessed the Brassier Collected from the 2018 Wacoal Bra Recycling Campaign into 27.9 tons of RPF (Industrial Solid Fuel). Available online: https://www.wacoal.jp/news/newsrelease/201805/release26673.html (accessed on 11 April 2019).
- California Cotton Ginners & Growers Association. How Much Cotton Does It Take? Available online: https://ccgga.org/cotton-information/much-cotton-take/ (accessed on 13 June 2020).
- Nakano, S.; Higashiyama, Y.; Furuya, M. Development of continuous processing technology for ethanol production from cotton fiber. Hyogo Prefect. Inst. Technol. Res. Rep. 2016, 25, 45–46. [Google Scholar]
- Shikoku Bureau of Economy, Trade and Industry. Development of High-Efficiency Bioethanol Production Technology from Cotton Fiber with Advanced Weave Dyeing Technology—R & D Results Report. Available online: https://www.chusho.meti.go.jp/keiei//sapoin/portal/seika/2011/23173814015.pdf (accessed on 13 June 2020).
- Industrial Structure Council Industrial Science Technology Policy Committee Evaluation Subcommittee. Recycling Technology for Waste Clothing and Development of High Value-Added Products Ex-Post Evaluation Report. Available online: https://www.meti.go.jp/policy/tech_evaluation/e00/03/h21/358.pdf (accessed on 13 June 2020).
- Japan Environment Planning. Co., Ltd. “PLANT”. Available online: https://www.jeplan.co.jp/ja/plant/imabari_no-1_plant/ (accessed on 11 April 2019).
- Fast Retailing Co., Ltd. All-Product Recycling. Available online: https://www.uniqlo.com/jp/sustainability/recycle/ (accessed on 13 June 2020).
- Ministry of Finance Japan. Trade Statistics of Japan Country Table by Product (H.S. Code 6309). Available online: http://www.customs.go.jp/toukei/srch/index.htm?M=01&P=1,1,,,,,,,,4,1,2018,0,0,0,2,6309,,,,,,,,,,1,,,,,,,,,,,,,,,,,,,,,,20 (accessed on 13 June 2020).
- SeaRates LLC. Find the best Freight Quote. Available online: https://www.searates.com/ (accessed on 13 June 2020).
- National Institute of Advanced Industrial Science and Technology, Safety Science Research Division, Society and LCA Research Group, Japan Environmental Management Association for Industry. LCI Database IDEA Version 2.1.3. Available online: https://www.aist-riss.jp/softwares/40166/ (accessed on 13 June 2020).
- NCS & Co., Ltd. 2014 Eco-Town Advanced Model Business. Local Recycling Type Used Clothing Recycling Business Centered on Northern Kyushu Report. Available online: https://www.env.go.jp/recycle/ncsmodel%2026.pdf (accessed on 13 June 2020).
- Ministry of Economy, Trade and Industry. Survey on the Trend of Chemical Recycling of Plastics. Available online: https://www.meti.go.jp/policy/recycle/main/data/research/h16fy/160629-1_drmi_0.pdf (accessed on 13 June 2020).
- Sugimoto, T. A Recycling Technology for Waste PET Bottles: A LCI Analysis of Aies method Chemical Recycling Process. J. Jpn. Inst. Energy 2004, 83, 267–271. [Google Scholar]
- Organization for Small & Medium Enterprises and Regional Innovation. Textile Recycling Survey Report 2010; Organization for Small & Medium Enterprises and Regional Innovation: Tokyo, Japan, 2010.
- Ikeuchi, T.; Ikeda, Y.; Uchimaru, M.; Uchimaru, M.; Ohashi, Y.; Kimura, T.; Miyauchi, T.; Mori, H. Present state and issues of material separation technology for textile product waste. J. Text. Mach. Soc. Jpn. 2014, 67, 41–46. [Google Scholar]
- PE Americas. Comparative Life Cycle Assessment IngeoTM Biopolymer, PET and PP Drinking Cups. 2009. Available online: https://www.natureworksllc.com/~/media/Files/NatureWorks/What-is-Ingeo/Why-it-Matters/LCA/PEA_Cup_Lid_LCA_FullReport_ReviewStatement_121209_pdf (accessed on 13 June 2020).
- Ministry of the Environment Government of Japan. List of Calculation Methods and Ghg Emission Factors in the Calculation/Report/Publication System. Available online: https://ghg-santeikohyo.env.go.jp/files/calc/itiran2019.pdf (accessed on 13 June 2020).
- Natural Resources and Energy Agency, Ministry of Economy, Trade and Industry. Energy Consumption Statistics Survey. Available online: https://www.enecho.meti.go.jp/statistics/energy_consumption/ec001/h30/pdf/kinyu_yoryo_all.pdf (accessed on 13 June 2020).
- Japan Federation of Industrial Waste Management and Recycling Associations Recycling Promotion Committee. Report on Basic Survey Results Related to RPF Manufacturing—Aiming to Promote the Manufacturing and Use of RPF. Available online: https://www.zensanpairen.or.jp/wp/wp-content/themes/sanpai/assets/pdf/activities/report_RPF_22.pdf (accessed on 13 June 2020).
- Okochi, F.; Nakanishi, S. Evaluation of Security from Heat of Combustion of Textiles with and without Flame Retardant Finishes. J. Home Econ. Jpn. 1992, 43, 543–549. [Google Scholar]
- Ministry of the Environment Government of Japan. About Result (2017) of General Waste Disposal Business Fact-Finding. 2019. Available online: https://www.env.go.jp/press/201903253.pdf (accessed on 13 June 2020).
- Ministry of the Environment Government of Japan. Basic Law for Establishing the Recycling-Based Society. Available online: https://www.env.go.jp/recycle/circul/recycle.html (accessed on 13 June 2020).

| Discharge of Used Clothes from Households in 2009 (8.64 × 108 kg) | ||||||
|---|---|---|---|---|---|---|
| Amount entering the market as used clothes | Amount discharged from household | Amount discharged from combustible/non-combustible waste from households | ||||
| 1.54 ×108 kg | 1.06 × 108 kg | 6.03 × 108 kg | ||||
| Resewn | Gifted | Recycle shop, Bazaar, Free market and Net auction | In-store recycling | Citizen collection | Local government collection | Combustible/non-combustible waste |
| 1.54 × 107 kg | 4.06 × 107 kg | 9.85 × 107 kg | 1.20 × 107 kg | 4.57 × 107 kg | 4.83 × 107 kg | 6.03 × 108 kg |
| (a) | (b) | (c) | (d) | (e) | (f) | (g) | (h) | (i) | ||
|---|---|---|---|---|---|---|---|---|---|---|
| Number | Clothing Type | Weight [kg] | Clothing and Its Fiber Composition | GHG Emissions for Manufacturing per kg [kg CO2e/kg] | Source * | GHG Emissions for Manufacturing [kg CO2e] | Reuse and Recycling Method | GHG Emission Reductions [kg CO2e] | ||
| 1) | T-shirts | 6.35 × 107 | T-shirt (100% cotton) | 32.5 | C | 2.06 × 109 | Reuse overseas | 4.01 × 109 | ||
| 2) | Jeans Pants and Skirts | 2.01 × 107 | Jeans (100% cotton) | 29.4 | D | 5.92 × 108 | ||||
| 3) | Child clothing (including underwear) | 3.50 × 107 | T-shirt (100% cotton) | 32.5 | C | 1.14 × 109 | ||||
| 4) | Infant clothing (including underwear other than diapers) | 6.83 × 106 | T-shirt (100% cotton) | 32.5 | C | 2.22 × 108 | ||||
| Group 1 | 1.25 × 108 | 4.02 × 109 | ||||||||
| 5) | One piece | 3.60 × 107 | One piece (100% cotton) | 16.7 | A | 6.01 × 108 | Textile recycling (Wipers) | 2.98 × 108 | ||
| 6) | Underwear (underwear, socks, etc.) | 5.53 × 107 | T-shirt (100% cotton) | 32.5 | C | 1.80 × 109 | ||||
| Group 2 | 9.13 × 107 | 2.40 × 109 | ||||||||
| 7) | Thick Coat and Japanese Kimono | 1.42 × 108 | Jacket (50% wool and 50% polyester) | 41.1 | A | 5.84 × 109 | Fiber recycling (Reclaimed fiber felt) | 2.10 × 109 | ||
| 8) | Light Coat and Blouson | 5.43 × 107 | Blouson (35% cotton and 65% polyester) | 19.6 | A | 1.06 × 109 | ||||
| 9) | Jacket, Blazer and Suit (outerwear) | 4.55 × 107 | Jacket (50% wool and 50% polyester) | 41.1 | A | 1.87 × 109 | ||||
| 10) | Sweaters, Trainers and Jerseys (outerwear) | 6.56 × 107 | Knitted sweater for students (30% wool and 70% acrylic) | 18.1 | B | 1.19 × 109 | ||||
| 11) | Accessories (muffler, handkerchief, etc.) | 5.46 × 106 | Knitted sweater for students (30% wool and 70% acrylic) | 18.1 | B | 9.87 × 107 | ||||
| Group 3 | 3.13 × 108 | 1.01 × 110 | ||||||||
| 12) | Shirts and Blouses | 4.38 × 107 | Blouse (100% polyester) | 20.2 | A | 8.85 × 108 | Chemical recycling or Thermal recycling (RPF) | Chemical recycling | Thermal recycling (RPF) | |
| 13) | Pants, Skirts and Slacks other than Jeans | 2.97 × 107 | Training pants (100% polyester) | 23.1 | B | 6.86 × 108 | Aies method | Teijin method | ||
| Group 4 | 7.35 × 107 | 1.57 × 109 | 2.35 × 108 | 2.25 ×108 | 1.63 × 108 | |||||
| Total | 6.03 × 108 | Total | 6.64 × 109 | 6.63 × 109 | 6.57 × 109 | |||||
| Transport Route | Distance [km] | Transportation Method | GHG Emissions per Unit [kg CO2e/(t·km)] | Details of GHG Emissions per Unit | Transportation Amount [t] | GHG Emissions [kg CO2e] |
|---|---|---|---|---|---|---|
| Yokohama port → Klang Port | 5.73 × 103 | ship | 1.00 × 10−2 | IDEA (451200108) [26] | 1.25 × 105 | 7.20 × 106 |
| Guangzhou Port → Klang Port | 3.11 × 103 | ship | 1.00 × 10−2 | IDEA (451200108) [26] | 1.25 × 105 | 3.91 × 106 |
| Total | 1.11 × 107 |
| Process | Distance [km] | Transpor-Tation Method | GHG Emissions per Unit [kg CO2e/t km] | Details of GHG Emissions per Unit | Amount [t] | GHG Emissions [kg CO2e] | |
|---|---|---|---|---|---|---|---|
| Transportation | Yokohama Port → Manila Port | 3.27 × 103 | ship | 1.00 × 10−2 | IDEA (451200108) [27] | 9.13 × 104 | 2.99 × 106 |
| Reprocessing to wipers | Manila Factory | - | - | 4.53 × 10−2 | METI [11] | 6.65 × 104 | 3.01 × 106 |
| Transpor- tation | Manila Port → Yokohama Port | 3.27 × 103 | ship | 1.00 × 10−2 | IDEA (451200108) [27] | 6.65 × 104 | 2.18 × 106 |
| Total | 8.18 × 106 | ||||||
| Item | Amount | GHG Emissions per Unit | Details of GHG Emissions | GHG Emissions [kg CO2e/kg] | |||
|---|---|---|---|---|---|---|---|
| Input | EG | 3.30 × 10−1 | kg | 1.57 × 100 | kg CO2e/kg | IDEA (173216000) [27] | 5.18 × 10−1 |
| Recycled DMT | 1.04 × 100 | kg | 1.27 × 100 | kg CO2e/kg | METI [11] | 1.32 × 10 | |
| Electricity | 3.61 × 10−2 | kWh | 6.06 × 10−1 | kg CO2e/kWh | IDEA (331111014) [27] | 2.19 × 10−2 | |
| Natural gas | 3.80 × 100 | MJ | 4.64 × 10−3 | kg CO2e/MJ | Production: IDEA (052112000) [27] | 1.76 × 10−2 | |
| 5.10 × 10−2 | kg CO2e/MJ | Incineration: MOE [34] | 1.94 × 10−1 | ||||
| Steam * | 2.06 × 10−1 | kg | 2.68 × 10−1 | kg CO2e/kg | IDEA (351211100) [27] | 5.51 × 10−2 | |
| MeOH | 3.00 × 10−1 | kg | - | - | - | - | |
| Output | Recycled PET | 1.00 × 100 | kg | - | - | - | - |
| GHG emissions per kg of recycled PET derived from recycled DMT | 2.13 × 10 | ||||||
© 2020 by the authors. Licensee MDPI, Basel, Switzerland. This article is an open access article distributed under the terms and conditions of the Creative Commons Attribution (CC BY) license (http://creativecommons.org/licenses/by/4.0/).
Share and Cite
Semba, T.; Sakai, Y.; Ishikawa, M.; Inaba, A. Greenhouse Gas Emission Reductions by Reusing and Recycling Used Clothing in Japan. Sustainability 2020, 12, 8214. https://doi.org/10.3390/su12198214
Semba T, Sakai Y, Ishikawa M, Inaba A. Greenhouse Gas Emission Reductions by Reusing and Recycling Used Clothing in Japan. Sustainability. 2020; 12(19):8214. https://doi.org/10.3390/su12198214
Chicago/Turabian StyleSemba, Toshiro, Yuji Sakai, Miku Ishikawa, and Atsushi Inaba. 2020. "Greenhouse Gas Emission Reductions by Reusing and Recycling Used Clothing in Japan" Sustainability 12, no. 19: 8214. https://doi.org/10.3390/su12198214
APA StyleSemba, T., Sakai, Y., Ishikawa, M., & Inaba, A. (2020). Greenhouse Gas Emission Reductions by Reusing and Recycling Used Clothing in Japan. Sustainability, 12(19), 8214. https://doi.org/10.3390/su12198214

