An Analysis of the Process of Adopting Local Digital Currencies in Support of Sustainable Development
Abstract
:1. Introduction
1.1. Theoretical and Conceptual Framework
1.2. Research Hypotheses and Question
1.2.1. Causal Hypotheses
1.2.2. Measurement-Based Hypotheses
1.2.3. The Research Question
1.2.4. Summary of Hypotheses and Research Question
2. Materials and Methods
2.1. Data Gathering
2.2. Definition of Measurement Scales
2.3. Data Analysis Methodology
3. Results and Discussion
3.1. Confirmatory Factor Analysis
- Absolute: X2/df = 4.768, below 5.0 [73]; GFI = 0.901, above 0.9 [74]; SRMR = 0.051, below 0.08 [75]; and RMSEA = 0.049, below 0.08 [76]. Notes: X2 (minimum fit function chi-square), df (degrees of freedom), GFI (goodness-of-fit index), SRMR (standardised root mean square residual), and RMSEA (root mean square error of approximation).
- Incremental: AGFI = 0.879, not above 0.9 [74]; TLI = 0.946, above 0.9 [77]; NFI = 0.942, above 0.9 [78]; CFI = 0.953, above 0.9 [79]; and IFI = 0.953, above 0.9 [80]. Notes: AGFI (adjusted goodness-of-fit index), TLI (Tucker–Lewis index), NFI (normed fit index), CFI (comparative fit index), and IFI (incremental fit index).
- Parsimonious: PGFI = 0.740, PNFI = 0.812 and PCFI = 0.822, all above 0.5 [81]. Notes: PGFI (parsimonious goodness-of-fit index), PNFI (parsimonious normed fit index), and PCFI (parsimonious comparative fit index).
3.2. Structural Equation Modelling and Presentation of Results
- Parsimonious fit: PGFI = 0.765, PNFI = 0.844 and PCFI = 0.855, all above 0.5 [81].
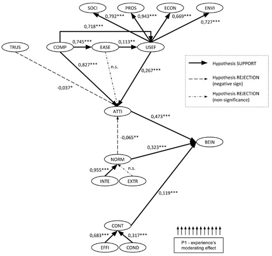
- As established by the DTPB [27], the three direct antecedents of behavioural intention (attitude, subjective norm, and perceived control) have a direct and positive effect thereon. Comparatively, the one that has greater influence on the behavioural intention is the attitude (0.473 ***), followed by the subjective norm (0.323 ***) and the perceived control (0.119 ***). Therefore, a person will have the intent to participate in LDC or not, according to his or her perception of them. These perceptions will be influenced as much by the person’s attitude as by the subjective regulation or influences received from third parties, and the perceived control or the self-perception of being competent to act. Any strategy to promote the use of LDCs must focus on aligning LDCs with the perceptions of potential users.
- As specified by the bibliography consulted [10,20,60,61,62,63,64,86], perceived usefulness can be regarded as a multidimensional (social, prosocial, economic, and environmental) variable. Comparatively, the largest of the determinations of the perceived utility comes from prosocial utility (0.943 ***), followed by social (0.792 ***), environmental (0.727 ***), and economic (0.669 ***). It is noteworthy that the smallest of the four is the economic, which is a sign that LDCs not only promotes economic sustainability, but also the environmental, and above all, the social and prosocial. Accordingly, people see LDCs as having different utilities. This means that they can be useful for people with very different social, prosocial, financial, or environmental interests, thereby reaching a broader range of potential users. The strategy to follow in promoting the use of LDCs will be to provide each user with evidence of the utility that is of the most interest to them.
- As established by the DTPB [27], amongst others, compatibility and perceived usefulness have a direct and positive influence on attitude, but this is not so in the case of ease of use. Comparatively, the one that has a greater influence on the attitude is compatibility (0.827 ***), followed by perceived utility (0.267 ***). As remarked in the previous point, LDCs are viewed as having different utilities by different people. Decision making on the use of LDCs will also be sensitive to the ability of potential users to see them as to some extent compatible with their personality and lifestyle. On the other hand, the study did not detect that decision making is influenced by difficulty of use of LDCs; LDCs were rather seen as straightforward and easy to use. In contrast with the findings of the bibliography consulted [44,52,53,54], trust does not have a direct and positive influence on attitude. Neither was it detected that decision making is influenced by the need to have trust in the LDC-based community, but rather that trust, in both the platform and its users, is taken as a given. Based on the above, the strategy to follow in promoting the use of LDCs will be to provide each user with evidence that LDCs are wholly compatible with their lifestyle.
- As specified by the bibliography consulted, compatibility has a direct and positive influence on ease of use [51], as does ease of use on perceived usefulness [31,38,41,48,49,50], and compatibility on perceived usefulness [51]. If a person sees LDCs as compatible with their personality and lifestyle, then by implication they will view them as useful and easy to use. In the same way, if a person finds LDCs easy to use, they will end up seeing their utility, regardless of the type. In contrast with the findings of the bibliography consulted [40,43,52], the subjective norm does not have a direct and positive influence on attitude. The attitudes of people towards the use of LDCs will not change in response to the influence of others. This influence will directly affect their decision making, but not their attitude to this type of community. As stated above, their attitude will only be affected by their perceived compatibility and utility. Based on the above, the strategy to follow in promoting the use of LDCs will be, once again, to provide each user with evidence that LDCs are wholly compatible with their lifestyle.
- As established by the DTPB [27], amongst others, interpersonal influences have a direct and positive influence on the subjective norm, whilst extra-personal influences do not. The potential users of LDCs will be influenced by third parties that are close to them, but not by communications media or social networks. Therefore, the strategy to follow in promoting the use of LDCs will be to foster word-of-mouth and close personal referrals. Additionally, self-efficacy and facilitating conditions have a direct and positive influence on perceived control. Comparatively, the one that has a greater influence on perceived control is self-efficacy (0.683 ***), followed by facilitating conditions (0.317). People will have to have a degree of proficiency to opt to use LDCs, in order to see themselves as capable of operating them, as well as having the necessary infrastructure to be able to use them. Therefore, the strategy to follow in promoting the use of LDCs will be to transmit the message that they are easily accessible and controllable by potential users.
- The predictive capacity of behavioural intention stands at 58.4%, which is a figure very close to the 60% given by the DTPB [27].
- In the case of the antecedents to behavioural intention, the variable with the greatest predictive capacity is the subjective norm, at 92.6%, followed by attitude and perceived control, at 91.9% and 87.9%, respectively.
- In the case of the antecedents to attitude, perceived usefulness and ease of use show predictive capacities of 65.0% and 55.6%, respectively.
3.3. Multigroup Analysis and Moderating Effect of Prior Experience
4. Conclusions
Author Contributions
Funding
Conflicts of Interest
References
- Lietaer, B. El Futuro del Dinero: Cómo Crear Nueva Riqueza, Trabajo y un Mundo Más Sensato; Errepar-Longseller: Buenos Aires, Argentina, 2005. [Google Scholar]
- Goerner, S.; Lietaer, B.; Ulanowicz, R. Quantifying economic sustainability: Implications for free-enterprise theory, policy and practice. Ecol. Econ. 2009, 69, 76–81. [Google Scholar] [CrossRef]
- Seyfang, G.; Longhurst, N. Growing green money? Mapping community currencies for sustainable development. Ecol. Econ. 2013, 86, 65–77. [Google Scholar]
- Michel, A.; Hudon, M. Community currencies and sustainable development: A systematic review. Ecol. Econ. 2015, 116, 160–171. [Google Scholar] [CrossRef]
- Corrons, A. Análisis de La Influencia de Los Valores Humanos y Las Actitudes en el Proceso de Adopción de Redes Virtuales de Intercambio no Monetario: Enfoques Actitudinal, Motivacional y Panárquico. Ph.D. Thesis, Universitat Jaume I, Valencia, Spain, 2018. [Google Scholar]
- Hopkins, R. The Transition Handbook: Creating Local Sustainable Communities Beyond Oil Dependency; Finch Publishing: Sydney, Australia, 2008. [Google Scholar]
- Williams, C.; Aldridge, T.; Lee, R.; Leyshon, N.T.; Tooke, J. Bridges into work? An evaluation of local exchange trading schemes (LETS). Policy Stud. 2011, 22, 119–132. [Google Scholar]
- Fare, M. The SOL: A complementary currency for the social economy and sustainable development. Int. J. Community Curr. Res. 2011, 15, 57–60. [Google Scholar]
- Cahn, E. No More Throwaway People: The Co-Production Imperative; Essential Books: Washington, DC, USA, 2000. [Google Scholar]
- Collom, E. The Motivations, Engagement, Satisfaction, Outcomes, and Demographics of Time Bank Participants: Survey Findings from U.S. System. Int. J. Community Curr. Res. 2007, 11, 36–83. [Google Scholar]
- Gómez, G. Making Markets. The Institutional Rise and Decline of the Argentine Red de Trueque. Ph.D. Thesis, Instituto de Estudios Sociales, La Haya, The Netherlands, 2008. [Google Scholar]
- Seyfang, G.; Smith, A. The Time of Our Lives: Using Time Banking for Neighborhood Renewal and Community Capacity Building; New Economics Foundation: London, UK, 2002. [Google Scholar]
- Cuenca, C. Bancos de Tiempo: Comunidades e Internet. Ph.D. Thesis, Departamento de Psicología Social, Facultad de Ciencias Políticas y Sociología, Unviersidad Complutense de Madrid, Madrid, Spain, 2015. [Google Scholar]
- Bostman, R.; Rogers, R. What’s Mine Is Yours: The Rise of Collaborative Consumption; Harper Collins: New York, NY, USA, 2010. [Google Scholar]
- Holdsworth, M.; Boyle, D. Carrots Not Sticks: The Possibilities of a Sustainability Reward Card for the UK; New Economics Foundation and National Consumer Council: London, UK, 2004. [Google Scholar]
- Turnbull, S. Options for Rebuilding the Economy and the Financial System; International Institute for Self-Governance. Sustainable Money Working Group: London, UK, 2009.
- Hughes, N. The community currency scen in Spain. Int. J. Community Curr. Res. 2015, 19, 1–11. [Google Scholar]
- Liesch, P.W.; Birch, D. Community-Based LETSystems in Australia: Localised Barter in a Sophisticated Western Economy. Int. J. Community Curr. Res. 2000, 4, 1–12. [Google Scholar]
- Caldwell, C. Why Do People Join Local Exchange Trading Systems? Int. J. Community Curr. Res. 2000, 4, 1–16. [Google Scholar]
- Scherpenborg, S. What Drives the Willingness to Participate in a Community Currency? An Application of the Theory of Planned Behavior. Master’s Thesis, Master Inetrnational Business Marketing-Finance, School of Economics and Business, Maastrich University, Maastricht, The Netherlands, 2014. [Google Scholar]
- Oliver, E. Community currency (CC) in Spain. An empirical study of their social effects. Research article. Ecol. Econ. 2016, 121, 20–27. [Google Scholar]
- Franková, E.; Fousek, J.; Kala, L.; Labohý, J. Transaction network analysis for studying Local Exchange Trading Systems (LETS): Research potentials and limitations. Ecol. Econ. 2014, 107, 266–275. [Google Scholar] [CrossRef]
- Casares, J. El Comercio Electrónico. Luces y Sombras. Distrib. Consumo 2000, 10, 5–8. [Google Scholar]
- Jaén, I.; Liñán, F. Work Values in a Changing Economic Environment: The Role of Entrepreneurial Capital. Int. J. Manpow. 2013, 34, 939–960. [Google Scholar] [CrossRef]
- Ajzen, I.; Fishbein, M. Understanding Attitudes and Predicting Social Behavior; Prentice Hall: Madrid, Spain, 1980. [Google Scholar]
- Schifter, D.B.; Ajzen, I. Intention, perceived control, and weight loss: An application of the theory of planned behavior. J. Personal. Soc. Psychol. 1985, 49, 842–851. [Google Scholar] [CrossRef]
- Taylor, S.; Todd, P.A. Understanding Information Technology Usage: A Test of Competing Models. Inf. Syst. Res. 1995, 6, 144–176. [Google Scholar] [CrossRef]
- Ajzen, I. The Theory of Planned Behavior. Organ. Behav. Hum. Decis. Process. 1991, 50, 179–511. [Google Scholar] [CrossRef]
- Venkatesh, V.; Morris, M.G.; Davis, G.B.; Davis, F.D. User acceptance of information technology: Toward a unified view. MIS Q. 2003, 27, 425–478. [Google Scholar] [CrossRef]
- Vera, V.D. Determinants of Online Purchasing Behavior: An Empirical Investigation Using an Extensión of the Theory of Planned Behavior. Master’s Thesis, Master of Science in Marketing, Business and Social Sciences, Department of Business Administration, Aarhus University, Aarhus, Denmark, 2012. [Google Scholar]
- Davis, F.D. Perceived Usefulness, Perceived Ease of Use and User Acceptance of Information Technology. MIS Q. 1989, 13, 319–339. [Google Scholar] [CrossRef]
- Rogers, E.M. Diffusion of Innovations, 4th ed.; The Free Press: New York, NY, USA, 1995. [Google Scholar]
- Bhattacherjee, A. Acceptance of e-commerce services: The case of electronic brokerages. IEEE Trans. Syst. Man Cybern. Part A Syst. Hum. 2000, 30, 411–420. [Google Scholar] [CrossRef]
- Cheung, C.M.; Chan, G.W.; Limayem, M. A Critical Review of Online Consumer Behavior: Empirical Research. J. Electron. Commer. Organ. 2005, 3, 1–19. [Google Scholar] [CrossRef]
- Monsuwé, T.P.; Dellaert, B.G.; de Ruyter, K. What drives consumers to shop online? A literature review. Int. J. Serv. Ind. Manag. 2004, 15, 102–121. [Google Scholar] [CrossRef]
- Zhou, L.; Dai, L.; Zhang, D. Online shopping acceptance model—A critical survey of consumer factors in online shopping. J. Electron. Commer. Res. 2007, 8, 41–62. [Google Scholar]
- Limayem, M.; Khalifa, M.; Frini, A. What Makes Consumers Buy from Internet? A Longitudinal Study of Online Shopping. IEEE Trans. Syst. Man Cybern. Part A Syst. Hum. 2000, 30, 421–432. [Google Scholar] [CrossRef]
- Gentry, L.; Calantone, R. A Comparison of Three Models to Explain Shop-Bot Use on the Web. Psychol. Mark. 2002, 19, 945–956. [Google Scholar] [CrossRef]
- Khalifa, M.; Cheng, S. Adoption of Mobile Commerce: Role of Exposure. In Proceedings of the 35th Hawaii International Conference on System Science, Big Island, HI, USA, 7–10 January 2002. [Google Scholar]
- Gatignon, H.; Robertson, T.S. A Propositional Inventory for New Diffusion Research. J. Consum. Res. 1985, 11, 849–867. [Google Scholar] [CrossRef]
- Davis, F.D.; Bagozzi, R.P.; Warshaw, P.R. User Acceptance of Computer Technology: A Comparison of Two Theoretical Models. Manag. Sci. 1989, 35, 982–1003. [Google Scholar] [CrossRef]
- Moore, G.C.; Benbasat, I. Development of an Instrument to Measure the Perceptions of Adopting an Information Technology Innovation. Inf. Syst. Res. 1991, 2, 192–222. [Google Scholar] [CrossRef]
- Malhotra, Y.; Galletta, D.F. Extending the Technology Acceptance Model to Account for Social Influence: Theoretical Bases and Empirical Validation. In Proceedings of the 32nd Hawaii International Conference on System Sciences, Maui, HI, USA, 5–8 January 1999; pp. 6–14. [Google Scholar]
- Chen, L.D.; Tan, J. Technology Adaptation in E-commerce: Key Determinants of Virtual Stores Acceptance. Eur. Manag. J. 2004, 22, 74–86. [Google Scholar] [CrossRef]
- Pavlou, P.A. A Theory of Planned Behavior Perspective to the Consumer Adoption of Electronic Commerce. MIS Q. 2002, 30, 115–143. [Google Scholar] [CrossRef]
- Vijayasarathy, L.R. Predicting consumer intentions to use on-line shopping: The case for an augmented technology acceptance model. Inf. Manag. 2004, 41, 747–762. [Google Scholar] [CrossRef]
- Lin, H.F. Predicting consumer intentions to shop online: An empirical test of competing teories. Electron. Commer. Res. Appl. 2007, 6, 433–442. [Google Scholar] [CrossRef]
- Gefen, D.; Straub, D. The Relative Importance of Perceived Ease of Use in IS Adoption: A Study of E-Commerce Adoption. J. Assoc. Inf. Syst. 2000, 1, 8. [Google Scholar] [CrossRef]
- Featherman, M.S.; Pavlou, P.A. Predicting E-services Adoption: A Perceived Risk Facets Perspective. Int. J. Hum. Comput. Stud. 2003, 59, 451–474. [Google Scholar] [CrossRef]
- Shang, R.-A.; Chen, Y.C.; Shen, L. Extrinsic versus Intrinsic Motivations for Consumer to Shop On-line. Inf. Manag. 2005, 42, 401–413. [Google Scholar] [CrossRef]
- Agarwal, R.; Karahanna, E. A Conceptual and Operational Definition of Personal Innovativeness in the Domain of Information Technology. Inf. Syst. Res. 1998, 9, 204–215. [Google Scholar] [CrossRef]
- Hsu, M.H.; Chiu, C.M. Internet Self-efficacy and Electronic Service Acceptance. Decis. Support Syst. 2004, 38, 369–381. [Google Scholar] [CrossRef]
- Ling, K.C.; Chai, L.T.; Piew, T.H. The Effects of Shopping Orientations, Online Trust and Prior Online Purchase Experience toward Customers. Int. Bus. Res. 2010, 3, 63. [Google Scholar] [CrossRef]
- Suh, B.; Han, I. Effect of trust on customer acceptance of Internet banking. Electron. Commer. Res. Appl. 2003, 1, 247–263. [Google Scholar] [CrossRef]
- Gefen, D.; Karahanna, E.; Straub, D.W. Inexperience and experience with online stores: The importance of TAM and trust. IEEE Trans. Eng. Manag. 2003, 50, 307–321. [Google Scholar] [CrossRef]
- Korgaonkar, P.K.; Wolin, L.D. A Multivariate Analysis of Web Usage. J. Advert. Res. 1999, 39, 53–68. [Google Scholar]
- Bagozzi, R.P.; Dholakia, U.M. Intentional Social Action in Virtual Communities. J. Interact. Mark. 2002, 16, 2–21. [Google Scholar] [CrossRef]
- Chang, M.K.; Cheung, W.; Lai, V.S. Literature Derived Reference Models for the Adoption of Online Shopping. Inf. Manag. 2005, 42, 543–559. [Google Scholar] [CrossRef]
- Aldas, J.; Lassala, C.; Ruiz, C.; Sanz, S. Key Drivers of Internet Baking Service Use. Online Inf. Rev. 2009, 33, 672–695. [Google Scholar] [CrossRef]
- Bock, G.W.; Zmud, R.W.; Kim, Y.G.; Lee, J.N. Behavioral intention formation in knowledge sharing: Examining the roles of extrinsic motivators, social-psychological forces, and organizational climate. MIS Q. 2005, 29, 87–111. [Google Scholar] [CrossRef]
- Hamari, J.; Sjöklint, M.; Ukkonen, A. The Sharing Economy: Why People Participate in Collaborative Consumption. J. Assoc. Inf. Sci. Technol. 2015, 67, 2047–2059. [Google Scholar] [CrossRef]
- Martin, C.; Upham, P.; Budd, L. Commercial orientation in grassroots social innovation: Insights from the sharing economy. Ecol. Econ. 2015, 118, 240–251. [Google Scholar] [CrossRef]
- Hawlitschek, F.; Teubner, T.; Gimpel, H. Understanding the Sharing Economy. Drivers and Impediments for Participation in Peer-to-Peer Rental. In Proceedings of the Hawai International Conference on System Science (HICSS), Koloa, HI, USA, 5–8 January 2016. [Google Scholar]
- Johe, M.; Bhullar, N. To buy or not to buy: The roles of self-identity, attitudes, perceived behavioural control and norms in organic consumerism. Ecol. Econ. 2016, 128, 99–105. [Google Scholar] [CrossRef]
- Jayawardhena, C.; Wright, L.T.; Dennis, C. Consumers online: Intentions, orientations and segmentation. Int. J. Retail Distrib. Manag. 2007, 35, 515–526. [Google Scholar] [CrossRef]
- Bigné, J.E.; Ruiz, C. Antecedentes de la Decisión de Compra en los Entornos Virtuales. In Proceedings of the Actas del XV Encuentro de Profesores Universitarios de Marketing, Córdoba, Spain, 1–17 September 2003; pp. 437–451. [Google Scholar]
- Churchill, G.A. Investigación de Mercados, 4th ed.; Thomson: Ciudad de México, Mexico, 2003. [Google Scholar]
- Pavlou, P.A.; Fygenson, M. Understanding and Predicting Electronic Commerce Adoption: An Extension of the Theory of Planned Behavior. MIS Q. 2006, 30, 115–143. [Google Scholar] [CrossRef]
- George, H.F. The theory of planned behavior and Internet purchasing. Internet Res. 2004, 14, 198–212. [Google Scholar] [CrossRef]
- Hung, J.; Lu, C.C.; Huh, C.A.; Liu, J.T. Geochemical control son distributions and speciation of As and Hg in sediments along the Gaoping (Kaoping) Estuary-Canyon system off southwestern Taiwan. J. Mar. Syst. 2009, 76, 479–495. [Google Scholar] [CrossRef]
- Lau, A. Hospital-Based Nurses’ Perceptions of the Adoption of Web 2.0 Tools for Knowledge Sharing, Learning, Social Interaction and the Production of Collective Intelligence. J. Med. Internet Res. 2011, 13, e92. [Google Scholar] [CrossRef] [PubMed]
- Venkatesh, V.; Davis, F.D. A Theoretical Extension of the Technology Acceptance Model: Four Longitudinal Field Studies. Manag. Sci. 2000, 46, 186. [Google Scholar] [CrossRef]
- Marsh, H.W.; Hocevar, D. Application of confirmatory factor analysis to the study of self-concept: First- and higher order factor models and their invariance across groups. Psychol. Bull. 1985, 97, 562–582. [Google Scholar] [CrossRef]
- Jöreskog, K.G.; Sorbom, D. PRELIS: A Program for Multivariate Data Screening and Data Summarization: A Preprocessor for LISREL; Ind. Scientific Software: Moreesville, NC, USA, 1986. [Google Scholar]
- Byrne, B.M. Structural Equation Modeling with LISREL, PRELIS and SIMPLIS: Basic Concepts, Applications and Programming; Lawrence Erlbaum Associates: Mahwah, NJ, USA, 1998. [Google Scholar]
- Steiger, J.H. Structural model evaluation and modification: An interval estimation approach. Multivar. Behav. Res. 1990, 25, 173–180. [Google Scholar] [CrossRef] [PubMed]
- Tucker, L.R.; Lewis, C. The reliability coefficient for maximum likelihood factor anlysis. Psychometrika 1973, 38, 1–10. [Google Scholar] [CrossRef]
- Bentler, P.M.; Bonett, D.G. Significance tests and goodness of fit in the analysis of covariance structures. Psychol. Bull. 1980, 88, 588–606. [Google Scholar] [CrossRef]
- Bentler, P.M. Fit indexes, lagrange multipliers, constraint changes and incomplete data in structural models. Multivar. Behav. Res. 1990, 25, 163–172. [Google Scholar] [CrossRef]
- Bollen, K.A. Structural Equations with Latent Variables; Wiley: New York, NY, USA, 1989. [Google Scholar]
- Mulaik, S.A.; James, L.R.; van Alstine, J.; Bennett, N.; Lind, S.; Stilwell, C.D. Evaluation of goodness-of-fit indices for structural equation models. Psychol. Bull. 1989, 105, 430–445. [Google Scholar] [CrossRef]
- Schermelleh-Engel, K.; Moosbrugger, H.; Müller, H. Evaluating the fit of structural equation models: Test of significance and descriptive goodness-of-fit measures. Methods Psychol. Res. Online 2003, 8, 23–74. [Google Scholar]
- Hair, J.E.; Anderson, R.E.; Tatham, R.L.; Black, W.C. Análisis Multivariante, 5th ed.; Prentice Hall: Madrid, Spain, 2008. [Google Scholar]
- Fornell, C.; Larcker, D.F. Evaluating structural equation models with unobservable variables and measurement error. J. Mark. Res. 1981, 18, 39–50. [Google Scholar] [CrossRef]
- Campbell, D.T.; Fiske, D.W. Convergent and discriminant validation by multitrait-multimethod matrix. Psychol. Bull. 1959, 56, 81–105. [Google Scholar] [CrossRef] [PubMed]
- Collom, E. Motivations and differential participation in a community currency system: The dynamics within a local social movement organization. Sociol. Forum 2011, 26, 144–168. [Google Scholar] [CrossRef]
- Giungato, P.; Rana, R.; Tarabella, A.; Tricase, C. Current Trends in Sustainability of Bitcoins and Related Blockchain Technology. Sustainability 2017, 9, 2214. [Google Scholar] [CrossRef]
- Kim, M.S.; Chung, J.Y. Sustainable Growth and Token Economy Design: The Case of Steemit. Sustainability 2019, 11, 167. [Google Scholar] [CrossRef]



| Total Sample | No Experience | Experience | |
|---|---|---|---|
| Gender | |||
| Male | 43.3% | 44.9% | 41.7% |
| Female | 56.7% | 55.1% | 58.3% |
| Total | 100.0% | 100.0% | 100.0% |
| Age | |||
| Up to 25 | 3.0% | 3.7% | 2.3% |
| 26 to 35 | 15.8% | 14.1% | 17.6% |
| 36 to 45 | 32.3% | 36.6% | 27.9% |
| 46 to 55 | 30.9% | 34.1% | 27.7% |
| Over 55 | 17.9% | 11.5% | 24.5% |
| Total | 100.0% | 100.0% | 100.0% |
| Educational level | |||
| Primary or secondary education | 2.6% | 0.4% | 4.8% |
| Baccalaureate | 5.3% | 1.3% | 9.4% |
| Vocational training | 8.7% | 2.4% | 15.1% |
| University diploma | 12.1% | 6.6% | 17.6% |
| Bachelor’s degree | 31.7% | 34.6% | 28.7% |
| Postgraduate | 39.6% | 54.7% | 24.3% |
| Total | 100.0% | 100.0% | 100.0% |
| Family situation | |||
| With partner and children | 49.0% | 55.7% | 42.2% |
| With partner, without children | 24.4% | 23.9% | 24.8% |
| Without partners or children | 16.8% | 15.0% | 18.6% |
| Without partner, with children | 9.8% | 5.3% | 14.4% |
| Total | 100.0% | 100.0% | 100.0% |
| Main employment situation | |||
| Student | 5.4% | 7.6% | 3.1% |
| Self-employed | 21.0% | 17.6% | 24.6% |
| Salaried worker | 55.8% | 68.3% | 43.1% |
| Unemployed | 10.5% | 4.3% | 16.7% |
| Retired | 7.3% | 2.2% | 12.5% |
| Total | 100.0% | 100.0% | 100.0% |
| These are my perceptions regarding the use of LDC in the next six months | ||
| BEIN_1 | I plan to use them in the next six months. | [37,48,68] |
| BEIN_2 | I hope to use them in the next six months. | |
| BEIN_3 | It is probable that I will use them in the next six months. | |
| Using LDC in the next six months… | ||
| ATTI_1 | …is an idea that I like. | [69] |
| ATTI_2 | …is a good idea. | |
| ATTI_3 | …seems to be a positive experience to me. | |
| COMP_1 | …would be a good fit with the way I like to do things. | [42,70,71] |
| COMP_2 | …would be consistent with my habits. | |
| COMP_3 | …would fit with my lifestyle. | |
| EASE_1 | …would be easy for me to learn. | [41,42,72] |
| EASE_2 | …would be simple to use. | |
| EASE_3 | …wouldn’t involve much mental effort on my part. | |
| SOCI_1 | …would allow me to find interesting people. | [10,63] |
| SOCI_2 | …would allow me to get to know new people. | |
| SOCI_3 | …would permit social interaction with other users. | |
| PROS_1 | …would allow me to contribute something to society. | [10] |
| PROS_2 | …would allow me to help those in need. | |
| PROS_3 | …would allow me to do something for others. | |
| ECON_1 | …would allow me to save money. | [60,61] |
| ECON_2 | …would allow me to cut my expenditure. | |
| ECON_3 | …would allow me to benefit economically. | |
| AMBI_1 | …would allow me to consume sustainably. | [10,61] |
| AMBI_2 | …would allow me to behave ecologically. | |
| AMBI_3 | …would allow me to behave in an environmentally-friendly way. | |
| These are my perceptions with regard to using LDC in the next six months | ||
| TRUS_1 | Their users will not take advantage of others, even when the opportunity presents itself. | [52,70] |
| TRUS_2 | Their users will always keep their promises. | |
| TRUS_3 | Their users will tell the truth in their dealings with others. | |
| NORM_1 | Those whose opinions I value approve of me using them. | [68,69,72] |
| NORM_2 | Those who influence my behaviour expect me to use them. | |
| NORM_3 | Those who are important to me think that I should use them. | |
| INTE_1 | My friends and family encourage me to use them. | [33,70,71] |
| INTE_2 | Those in my surrounding environment think that using them would be a good idea. | |
| INTE_3 | My colleagues encourage me to use them. | |
| EXTR_1 | News in the written press on this type of community encourages me to use them. | |
| EXTR_2 | Blog comments on experiences of this type of community encourage me to use them. | |
| EXTR_3 | Comments on the social media networks of this type of community encourage me to use them. | |
| CONT_1 | Using them is something that I would control. | [68,69] |
| CONT_2 | I have the resources, know-how, and skills to use them. | |
| CONT_3 | I would be able to use them. | |
| EFFI_1 | I could easily use them. | [37,46,47] |
| EFFI_2 | I would be able to use them even if there was nobody nearby to help me. | |
| EFFI_3 | I would feel comfortable using them for myself. | |
| COND_1 | I have access to the computer equipment that is needed to use them. | |
| COND_2 | I could have access to a computer whenever I wanted to be able to use them. | |
| COND_3 | I wouldn’t have Internet access problems to be able to use them. | |
| Std. Loading | CR | AVE | Std. Loading | CR | AVE | ||
|---|---|---|---|---|---|---|---|
| BEIN_1 | 0.957 | 0.981 | 0.944 | NORM_1 | 0.702 | 0.885 | 0.722 |
| BEIN_2 | 0.979 | NORM_2 | 0.888 | ||||
| BEIN_3 | 0.979 | NORM_3 | 0.940 | ||||
| ATTI_1 | 0.802 | 0.887 | 0.725 | INTE_1 | 0.785 | 0.852 | 0.744 |
| ATTI_2 | 0.849 | INTE_2 | --- | ||||
| ATTI_3 | 0.901 | INTE_3 | 0.934 | ||||
| COMP_1 | 0.857 | 0.914 | 0.779 | EXTR_1 | 0.728 | 0.897 | 0.746 |
| COMP_2 | 0.890 | EXTR_2 | 0.895 | ||||
| COMP_3 | 0.901 | EXTR_3 | 0.952 | ||||
| EASE_1 | --- | 0.685 | 0.524 | CONT_1 | 0.635 | 0.833 | 0.629 |
| EASE_2 | 0.800 | CONT_2 | 0.839 | ||||
| EASE_3 | 0.639 | CONT_3 | 0.883 | ||||
| TRUS_1 | 0.804 | 0.902 | 0.756 | EFFI_1 | --- | 0.729 | 0.574 |
| TRUS_2 | 0.880 | EFFI_2 | 0.720 | ||||
| TRUS_3 | 0.920 | EFFI_3 | 0.793 | ||||
| SOCIAL | 0.795 | 0.869 | 0.628 | COND_1 | 0.762 | 0.869 | 0.690 |
| PROSOCIAL | 0.944 | COND_2 | 0.823 | ||||
| ECONOMIC | 0.663 | COND_3 | 0.901 | ||||
| ENVIRON. | 0.742 |
| NORM | ATTI | EASE | COMP | TRUS | EXTR | COND | BEIN | USEF | INTE | EFFI | CONT | |
|---|---|---|---|---|---|---|---|---|---|---|---|---|
| NORM | 0.849 | 0.430 0.517 | 0.378 0.483 | 0.506 0.585 | 0.513 0.592 | 0.717 0.768 | 0.132 0.237 | 0.555 0.626 | 0.469 0.556 | 0.941 0.968 | 0.347 0.452 | 0.328 0.426 |
| ATTI | 0.474 | 0.852 | 0.636 0.723 | 0.815 0.858 | 0.495 0.578 | 0.449 0.536 | 0.427 0.518 | 0.619 0.682 | 0.826 0.869 | 0.406 0.497 | 0.670 0.7489 | 0.615 0.686 |
| EASE | 0.431 | 0.680 | 0.724 | 0.643 0.726 | 0.405 0.510 | 0.335 0.444 | 0.396 0.501 | 0.492 0.587 | 0.592 0.687 | 0.382 0.491 | 0.671 0.769 | 0.685 0.768 |
| COMP | 0.546 | 0.837 | 0.685 | 0.883 | 0.538 0.613 | 0.487 0.566 | 0.315 0.413 | 0.677 0.732 | 0.731 0.786 | 0.490 0.573 | 0.658 0.737 | 0.572 0.647 |
| TRUS | 0.553 | 0.537 | 0.458 | 0.576 | 0.869 | 0.495 0.574 | 0.215 0.316 | 0.472 0.551 | 0.552 0.631 | 0.495 0.578 | 0.465 0.563 | 0.352 0.447 |
| EXTR | 0.743 | 0.493 | 0.390 | 0.527 | 0.535 | 0.864 | 0.113 0.218 | 0.525 0.596 | 0.485 0.568 | 0.744 0.795 | 0.380 0.481 | 0.318 0.416 |
| COND | 0.185 | 0.473 | 0.449 | 0.364 | 0.266 | 0.166 | 0.831 | 0.179 0.280 | 0.337 0.435 | 0.101 0.210 | 0.624 0.707 | 0.718 0.777 |
| BEIN | 0.591 | 0.651 | 0.540 | 0.705 | 0.512 | 0.561 | 0.230 | 0.972 | 0.497 0.576 | 0.560 0.631 | 0.565 0.648 | 0.514 0.593 |
| USEF | 0.513 | 0.848 | 0.640 | 0.759 | 0.592 | 0.527 | 0.386 | 0.537 | 0.793 | 0.446 0.537 | 0.535 0.630 | 0.477 0.568 |
| INTE | 0.955 | 0.452 | 0.437 | 0.532 | 0.537 | 0.770 | 0.156 | 0.596 | 0.492 | 0.863 | 0.327 0.436 | 0.301 0.402 |
| EFFI | 0.400 | 0.710 | 0.720 | 0.698 | 0.514 | 0.431 | 0.666 | 0.607 | 0.583 | 0.382 | 0.757 | 0.885 0.940 |
| CONT | 0.377 | 0.651 | 0.717 | 0.610 | 0.400 | 0.367 | 0.748 | 0.554 | 0.523 | 0.352 | 0.913 | 0.793 |
| Hypothesis | Causal Relationship | Std. Loading and Significance Level |
| H1 | ATTI ≥ BEIN | Supported (0.473 ***) |
| H2 | USEF ≥ ATTI | Supported (0.267 ***) |
| H3 | EASE ≥ ATTI | Rejected (n.s.) |
| H4 | COMP ≥ ATTI | Supported (0.827 ***) |
| H5 | EASE ≥ USEF | Supported (0.113 **) |
| H6 | COMP ≥ USEF | Supported (0.718 ***) |
| H7 | COMP ≥ EASE | Supported (0.745 ***) |
| H8 | TRUS ≥ ATTI | Rejected (-0.037 *) |
| H9 | NORM ≥ BEIN | Supported (0.323 ***) |
| H10 | NORM ≥ ATTI | Rejected (−0.065 **) |
| H11 | INTE ≥ NORM | Supported (0.955 ***) |
| H12 | EXTR ≥ NORM | Rejected (n.s.) |
| H13 | CONT ≥ BEIN | Supported (0.119 ***) |
| H14 | EFFI ≥ CONT | Supported (0.683 ***) |
| H15 | COND ≥ CONT | Supported (0.317 ***) |
| Hypothesis | Measure Relationship | Std. Loading and Significance Level |
| H16.1 | USEF ≥ SOCI | Supported (0.792 ***) |
| H16.2 | USEF ≥ PROS | Supported (0.943 ***) |
| H16.3 | USEF ≥ ECON | Supported (0.669 ***) |
| H16.4 | USEF ≥ ENVI | Supported (0.727 ***) |
| Variable | Variance Explained |
|---|---|
| BEIN (behavioural intention) | 58.4% |
| ATTI (attitude) | 91.9% |
| USEF (perceived usefulness) | 65.0% |
| EASE (ease of use) | 55.6% |
| NORM (subjective norm) | 92.6% |
| CONT (perceived control) | 87.9% |
| Relationship | Experience | No Experience | X2 Difference |
|---|---|---|---|
| USEF ≥ ATTI | 0.260 *** | 0.388 *** | 9.368 *** |
| COMP ≥ ATTI | 0.750 *** | 0.710 *** | 4.652 ** |
| NORM ≥ BEIN | 0.171 *** | 0.413 *** | 21.784 *** |
| INTE ≥ NORM | 0.920 *** | 0.994 *** | 9.130 *** |
| CONT ≥ BEIN | 0.287 *** | 0.069 ** | 10.072 *** |
| EFFI ≥ CONT | 0.738 *** | 0.568 *** | 4.469 ** |
| COND ≥ CONT | 0.252 *** | 0.428 *** | 3.821 * |
© 2019 by the authors. Licensee MDPI, Basel, Switzerland. This article is an open access article distributed under the terms and conditions of the Creative Commons Attribution (CC BY) license (http://creativecommons.org/licenses/by/4.0/).
Share and Cite
Corrons Giménez, A.F.; Garay Tamajón, L. An Analysis of the Process of Adopting Local Digital Currencies in Support of Sustainable Development. Sustainability 2019, 11, 849. https://doi.org/10.3390/su11030849
Corrons Giménez AF, Garay Tamajón L. An Analysis of the Process of Adopting Local Digital Currencies in Support of Sustainable Development. Sustainability. 2019; 11(3):849. https://doi.org/10.3390/su11030849
Chicago/Turabian StyleCorrons Giménez, August Francesc, and Lluís Garay Tamajón. 2019. "An Analysis of the Process of Adopting Local Digital Currencies in Support of Sustainable Development" Sustainability 11, no. 3: 849. https://doi.org/10.3390/su11030849
APA StyleCorrons Giménez, A. F., & Garay Tamajón, L. (2019). An Analysis of the Process of Adopting Local Digital Currencies in Support of Sustainable Development. Sustainability, 11(3), 849. https://doi.org/10.3390/su11030849

