MCR-Modified CA–Markov Model for the Simulation of Urban Expansion
Abstract
1. Introduction
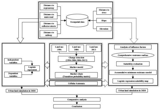
2. Research Process
2.1. Overall Process
2.2. MCR Model
2.3. Multiple-Factor Fixed Weight
2.4. Logistic Regression Model Construction
3. Experiment and Analysis
3.1. Experimental Data
3.1.1. Experimental Area
3.1.2. Spatial Pattern of Land-Use Change
3.2. Evaluation Based on Logistic Regression Model
3.3. Mapping the Suitability Atlas with the MCR Model
3.3.1. Construction of Resistance Surface with the MCR Model
3.3.2. Suitability Evaluation Based on the MCR Model
3.4. Prediction and Verification of the MCR-Modified CA–Markov Model
3.5. Comparative Analysis
3.5.1. Macroanalysis
3.5.2. Microanalysis
Woodland Constraint
Water Constraints
3.6. Simulation of Urban Expansion in 2020
4. Conclusions
- (1)
- The MCR-modified CA–Markov model more accurately simulates the distribution of areas with obvious ecological features, such as water bodies and woodlands, than the traditional CA–Markov model.
- (2)
- The two models provide different simulation results for forest land, water areas, and other ecological land areas. Nevertheless, they overestimated and underestimated similar areas because the land-use transfer matrix is solved by using the Markov model. The MCR-modified CA–Markov model provides additional advantages for the simulation of urban expansion simulation under the premise of protecting the ecological environment.
- (3)
- Urban expansion is a complex and dynamic spatial process that is easily affected by land use, government policies and other random factors. The MCR-modified CA–Markov model considers the effect of natural conditions, such as ecological factors, on urban expansion. It does not consider the effects of social and economic factors on urban expansion. Therefore, future studies could consider integrating social, economic, and other factors into urban expansion simulations.
Author Contributions
Funding
Conflicts of Interest
References
- UN (United Nations). World Urbanization Prospects: The 2007 Revision; UN: New York, NY, USA, 2008; Volume 22, pp. 656–659. [Google Scholar]
- Wu, Q.; Li, H.Q.; Wang, R.S.; Paulussen, J.; He, Y.; Wang, M.; Wang, B.H.; Wang, Z. Monitoring and predicting land use change in Beijing using remote sensing and GIS. Landsc. Urban Plan. 2006, 78, 322–333. [Google Scholar] [CrossRef]
- Guan, D.J.; Li, H.F.; Inohae, T.; Su, W.; Nagaie, T.; Hokao, K. Modeling urban land use change by the integration of cellular automaton and Markov model. Ecol. Model. 2011, 222, 3761–3772. [Google Scholar] [CrossRef]
- Warrick, R.A.; Bhuiya, A.K.A.H.; Mirza, M.Q. The Greenhouse Effect and Climate Change; Springer: Dordrecht, The Netherlands, 1996; pp. 35–96. [Google Scholar]
- Javed, A.; Jamal, S.; Khandey, M.Y. Climate change induced land degradation and socio-economic deterioration: A remote sensing and gis based case study from Rajasthan, India. J. Geogr. Inf. Syst. 2012, 4, 219–228. [Google Scholar] [CrossRef]
- Falcucci, A.; Maiorano, L.; Boitani, L. Changes in land-use/land-cover patterns in Italy and their implications for biodiversity conservation. Landsc. Ecol. 2007, 22, 617–631. [Google Scholar] [CrossRef]
- Turner, B.L.; Lambin, E.F.; Reenberg, A. The emergence of land change science for global environmental change and sustainability. Proc. Natl. Acad. Sci. USA 2007, 104, 20666–20671. [Google Scholar] [CrossRef] [PubMed]
- Bentz, J.; Lopes, F.; Calado, H.; Dearden, P. Sustaining marine wildlife tourism through linking limits of acceptable change and zoning in the wildlife tourism model. Mar. Policy 2016, 68, 100–107. [Google Scholar] [CrossRef]
- Barredo, J.I.; Demicheli, L. Urban sustainability in developing countries’ megacities: Modelling and predicting future urban growth in Lagos. Cities 2003, 20, 297–310. [Google Scholar] [CrossRef]
- He, C.; Okada, N.; Zhang, Q.; Shi, P.; Zhang, J. Modeling urban expansion scenarios by coupling cellular automata model and system dynamic model in Beijing, China. Appl. Geogr. 2006, 26, 323–345. [Google Scholar] [CrossRef]
- Alsharif, A.A.A.; Pradhan, B. Urban sprawl analysis of tripoli metropolitan city (Libya) using remote sensing data and multivariate logistic regression model. J. Indian Soc. Remote Sens. 2014, 42, 149–163. [Google Scholar] [CrossRef]
- Wu, F. Calibration of stochastic cellular automata: The application to rural-urban land conversions. Int. J. Geogr. Inf. Syst. 2002, 16, 795–818. [Google Scholar] [CrossRef]
- Arsanjani, J.J.; Kainz, W.; Mousivand, A.J. Tracking dynamic land-use change using spatially explicit Markov Chain based on cellular automata: The case of Tehran. Int. J. Image Data Fusion 2011, 2, 329–345. [Google Scholar] [CrossRef]
- Al-Ahmadi, K.; See, L.; Heppenstall, A.; Hogg, J. Calibration of a fuzzy cellular automata model of urban dynamics in Saudi Arabia. Ecol. Complex. 2009, 6, 80–101. [Google Scholar] [CrossRef]
- Zhang, H.; Zeng, Y.; Ling, B.; Yu, X. Modelling urban expansion using a multi agentbased model in the city of Changsha. J. Geogr. Sci. 2010, 20, 540–556. [Google Scholar] [CrossRef]
- Tian, G.; Ma, B.; Xu, X.; Liu, X.; Xu, L.; Liu, X.; Xiao, L.; Kong, L. Simulation of urban expansion and encroachment using cellular automata and multi-agent system model—A case study of Tianjin metropolitan region, China. Ecol. Indic. 2016, 70, 439–450. [Google Scholar] [CrossRef]
- Verburg, P.H.; Soepboer, W.; Veldkamp, A.; Limpiada, R.; Espaldon, V.; Mastura, S.S. Modeling the spatial dynamics of regional land use: The clue-s model. Environ. Manag. 2002, 30, 391–405. [Google Scholar] [CrossRef] [PubMed]
- Tobler, W.R. A computer movie simulating urban growth in the Detroit region. Econ. Geogr. 1970, 46, 234–240. [Google Scholar] [CrossRef]
- White, R.; Engelen, G. Cellular automata and fractal urban form: A cellular modelling approach to the evolution of urban land-use patterns. Environ. Plan. A 2008, 25, 1175–1199. [Google Scholar] [CrossRef]
- Li, X.; Gar-On Yeh, A. Neural-network-based cellular automata for simulating multiple land use changes using GIS. Int. J. Geogr. Inf. Syst. 2002, 16, 323–343. [Google Scholar] [CrossRef]
- Li, X.; Gar-On Yeh, A. Data mining of cellular automata’s transition rules. Int. J. Geogr. Inf. Syst. 2004, 18, 723–744. [Google Scholar] [CrossRef]
- Li, F.; Ye, Y.; Song, B.; Wang, R. Evaluation of urban suitable ecological land based on the minimum cumulative resistance model: A case study from Changzhou, China. Ecol. Model. 2015, 318, 194–203. [Google Scholar] [CrossRef]
- Wei, W.; Zhao, J.; Wang, X.F.; Zhou, Z.Y.; Li, H.L. Landscape pattern macrs analysis and the optimal utilization of shiyang river basin based on RS and GIS approach. Acta Ecol. Sin. 2009, 29, 216–221. [Google Scholar] [CrossRef]
- Taleai, M.; Mansourian, A. Using delphi-ahp method to survey major factors causing urban plan implementation failure. J. Appl. Sci. 2008, 8, 2746–2751. [Google Scholar] [CrossRef]
- Arsanjani, J.J.; Kainz, W.; Helbich, M.; Boloorani, A.D. Integration of logistic regression, Markov Chain and cellular automata; models to simulate urban expansion. Int. J. Appl. Earth Obs. Geoinf. 2013, 21, 265–275. [Google Scholar] [CrossRef]
- Landis, J.R.; Koch, G.G. The measurement of observer agreement for categorical data. Biometrics 1977, 33, 159–174. [Google Scholar] [CrossRef] [PubMed]
- Hagen, A. Fuzzy set approach to assessing similarity of categorical maps. Int. J. Geogr. Inf. Syst. 2003, 17, 235–249. [Google Scholar] [CrossRef]
- Pijanowski, B.C.; Brown, D.G.; Shellito, B.A.; Manik, G.A. Using neural networks and GIS to forecast land use changes: A land transformation model. Comput. Environ. Urban Syst. 2002, 26, 553–575. [Google Scholar] [CrossRef]













| Variables | Type | Assignment Values |
|---|---|---|
| Dependent variable | ||
| Type of land use | Binary variables | 0, 1 |
| Independent variables | ||
| Distance from expressway () | Continuous variable | 1, 2, 3, 4, 5 |
| Distance from railway () | Continuous variable | 1, 2, 3, 4, 5 |
| Distance from main road () | Continuous variable | 1, 2, 3, 4, 5 |
| Distance from collector streets () | Continuous variable | 1, 2, 3, 4, 5 |
| Distance from river () | Continuous variable | 1, 2, 3, 4, 5 |
| Elevation () | Continuous variable | 1, 2, 3, 4, 5 |
| Slope () | Continuous variable | 1, 2, 3, 4, 5 |
| Variables | Elevation | Slope | Distance from Expressway | Distance from Railway | Distance from Main Road | Distance from Collector Streets | Distance from River |
|---|---|---|---|---|---|---|---|
| p-values | 0.077 | 0.000 | 0.000 | 0.000 | 0.000 | 0.000 | 0.000 |
| Variables | |||
|---|---|---|---|
| Distance from expressway () | 0.060 | 90.037 | 0.006 |
| Distance from railway () | −0.064 | 98.628 | 0.006 |
| Distance from main road () | −0.096 | 238.039 | 0.006 |
| Distance from collector streets () | −0.060 | 97.005 | 0.006 |
| Distance from river () | −0.117 | 46.055 | 0.017 |
| Slope () | 0.057 | 16.221 | 0.014 |
| Constant | 0.860 | 68.576 | 0.104 |
| Slope | Expressway | Railway | Main Road | Collector Streets | Rivers | Type of Land Use | |
|---|---|---|---|---|---|---|---|
| Weight | 0.16 | 0.13 | 0.13 | 0.14 | 0.13 | 0.19 | 0.12 |
| Suitability Partition | Area (ha) | Percentage |
|---|---|---|
| Very suitable | 218,732.21 | 53.26% |
| Suitable | 120,458.93 | 29.33% |
| Less suitable | 47,868.43 | 11.65% |
| Unsuitable | 18,946.74 | 4.61% |
| Very unsuitable | 4706.38 | 1.15% |
| Total | 410,712.69 | 100.00% |
| Models | ||
|---|---|---|
| Non-MCR | MCR-Modified CA–Markov | |
| Overestimated | 15,535.33 | 10,873.89 |
| Correct | 76,891.53 | 79,322.76 |
| Underestimated | 38,277.62 | 40,507.83 |
© 2018 by the author. Licensee MDPI, Basel, Switzerland. This article is an open access article distributed under the terms and conditions of the Creative Commons Attribution (CC BY) license (http://creativecommons.org/licenses/by/4.0/).
Share and Cite
Li, X.; Wang, M.; Liu, X.; Chen, Z.; Wei, X.; Che, W. MCR-Modified CA–Markov Model for the Simulation of Urban Expansion. Sustainability 2018, 10, 3116. https://doi.org/10.3390/su10093116
Li X, Wang M, Liu X, Chen Z, Wei X, Che W. MCR-Modified CA–Markov Model for the Simulation of Urban Expansion. Sustainability. 2018; 10(9):3116. https://doi.org/10.3390/su10093116
Chicago/Turabian StyleLi, Xiuquan, Meizhen Wang, Xuejun Liu, Zhuan Chen, Xiaojian Wei, and Weitao Che. 2018. "MCR-Modified CA–Markov Model for the Simulation of Urban Expansion" Sustainability 10, no. 9: 3116. https://doi.org/10.3390/su10093116
APA StyleLi, X., Wang, M., Liu, X., Chen, Z., Wei, X., & Che, W. (2018). MCR-Modified CA–Markov Model for the Simulation of Urban Expansion. Sustainability, 10(9), 3116. https://doi.org/10.3390/su10093116

