Blockchain for Doping Control Applications in Sports: A Conceptual Approach
Abstract
:1. Introduction
- -
- How can the AD ecosystem benefit from blockchain technologies for its data governance model and data sharing processes?
- -
- The definition of a semi-decentralized data governance model for a consortium of organizations, based on a permissioned blockchain, where only authorized entities (organizations and individuals) can participate.
- -
- A blockchain-based redesign for the request of Therapeutic Use Exemptions (TUEs), a highly sensitive data sharing process within the AD ecosystem, where the benefits of the new approach are clear when compared to the current process.
- -
- Section 2 explores the relevant literature on blockchain technology and problems pertaining to the current operational model underlying the AD domain.
- -
- Section 3 discusses a blockchain-based approach for the AD ecosystem, including the adopted research strategy for this work, the suitability analysis describing why blockchain is a good fit for AD, a conceptual decentralized data governance model, and a blockchain-based design for the TUE request process.
- -
- Section 4 discusses a SWOT analysis for blockchain adoption in the present context.
- -
- Section 5 concludes the article with indications of future research directions.
2. Background
2.1. Blockchain Overview
2.2. Related Work
2.3. Analysis of the Current AD Ecosystem
3. Blockchain-Based Approach for the AD Domain
3.1. Research Strategy
3.2. Suitability Analysis
3.3. Design of a Decentralized Anti-Doping Ecosystem
3.3.1. Semi-Decentralized Platform Governance
- Ordering Organizations (OOs): Organizations hosting ordering nodes can vote for certain policies, such as the consensus model and consortium membership. These organizations form the so-called Ordering Service, which distributes blocks to the network.
- Network Service Consumers (NSCs): Organizations that host Peers (with smart contracts and copies of the ledger) and Certificate Authorities (CAs). These organizations have the capability to vote for business logic (e.g., SCs and channel membership) and endorse transactions.
- Business Service Consumers (BSCs): Organizations that host client-side applications and manage blockchain identities of users.
- End Users (user level): These are the individuals who will connect to the platform with different access privileges set by the organizations and respecting the governance policies.
3.3.2. Network Architecture
- Channel Creation:
- Channel Configuration:
- SCs Installation and Instantiation:
3.3.3. Chaincode and Asset Lifecycle Design
- Submission Stage: The athlete’s doctor submits the TUE request to the applicable International Federation (IF). The asset is transferred by the doctor to the IF, and this transference is a transaction recorded on the blockchain.
- Receipt Stage by IF: The TUE request is received by the IF at the administrative level. The TUE request details can be analyzed by the IF administrative members with the correct credentials (the doctor’s and the athlete’s identities should not be disclosed). This allows the IF to determine the IF TUEC medical competences needed to properly evaluate the TUE request. Once the competences are defined, the IF determines the IF TUEC composition. The asset is transferred to the IF TUEC to be analyzed by their members; the transaction is recorded on the blockchain.
- Receipt Stage by IF TUEC: The IF TUEC receives the asset, performs its analysis, grants, or rejects the request. The analysis and decision are recorded, and the asset is transferred to the next organization, in this case WADA. The transference transaction is recorded on the blockchain.
- Receipt Stage by WADA: The asset is received by WADA at the administrative level. WADA administrative members with the correct credentials can view the asset’s content, the IF TUEC analysis and decision, and determine their own WADA TUEC. The asset is transferred to the WADA TUEC; the transaction is recorded on the blockchain.
- Receipt Stage by WADA TUEC: The WADA TUEC analyses the IF TUEC response, performs, and records their own analysis and decision (uphold or revert the IF TUEC decision). Once the WADA TUEC decision is taken, the asset is transferred again, with the transaction being recorded on the blockchain. Depending on the WADA TUEC decision, two different outcomes can occur.
- Accepted Stage by Doctor (Alternative 1): If the IF TUEC decision is upheld, the asset is finally transferred back to its original owner, the athlete’s doctor. The asset is transferred back to the doctor, so as to evaluate the decision and take further actions if needed. In the case that the TUE is granted both by the IF and WADA TUECs, the athlete and the doctor will just accept it and may need to share results with other organizations. If the TUE is rejected by both TUECs, the doctor and the athlete may decide to appeal the decision with the Court of Arbitration for Sports (CAS).
- Rejected Stage by IF TUEC (Alternative 2): It the IF TUEC decision is to grant the TUE, but the WADA TUEC rejects it, the asset is transferred back to the IF, and they may decide to appeal against the decision with the Court of Arbitration for Sports (CAS).
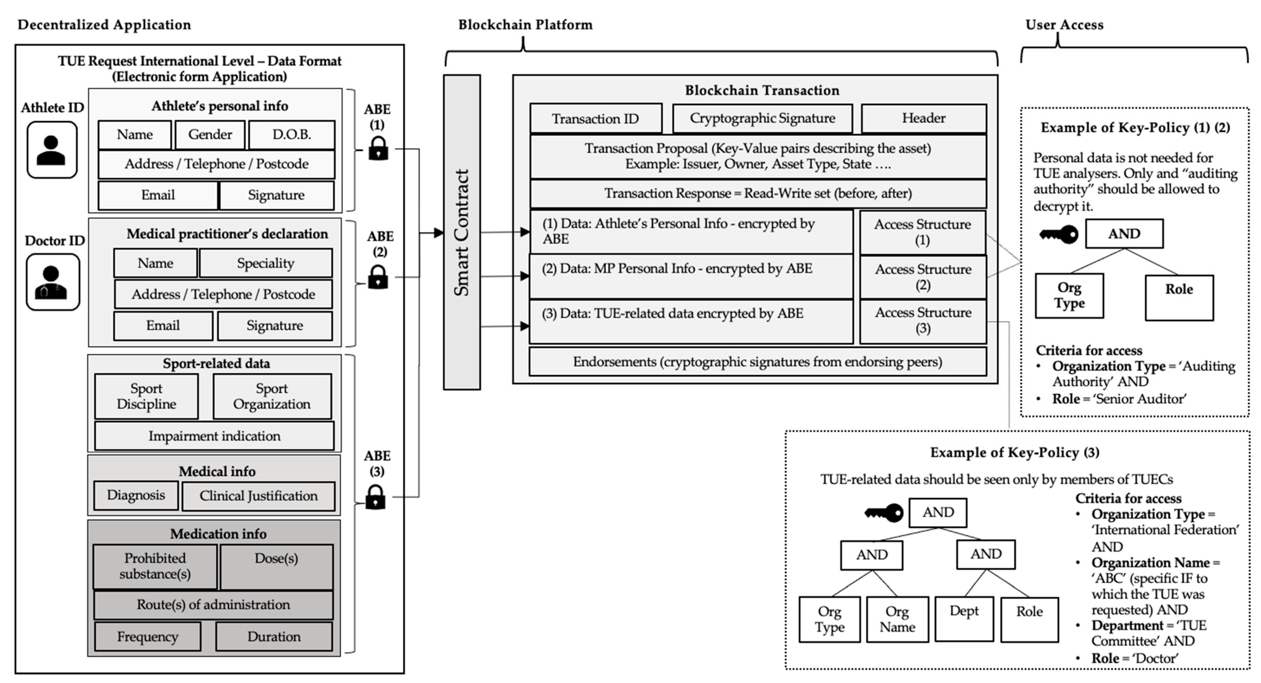
3.3.4. Membership, Access Control, and Confidentiality
- Setup: By this protocol, a predefined parameter of security is taken as input. The system parameters are the outputs generated by the Governing JV MSP and shared only with organizations with AA responsibility.
- AA Setup: Using the system parameters obtained from setup, each AA organization can generate public and private keys for the attribute it maintains.
- Key Issuing: Via an anonymous key issuing scheme, user (i.e., peers, orderers, and clients) and organizations interact so as to determine a set of attributes belonging to the users. Then, the AA organization generates decryption credentials for those attributes and sends them to the user.
- Encryption: The encryption algorithm is used by the blockchain users at the application level. The user takes a set of attributes maintained by AAs and the different segments of the ‘TUE request’ data as inputs. Then, it outputs different ciphertexts of each data that will be appended in the transaction.
- Decryption: The decryption algorithm is also used by blockchain users. After taking the decryption credentials received from AAs and the ciphertext from the blockchain transaction as inputs, the decryption will be successful if, and only if, the user attributes satisfy the access structure of the ciphertext.
3.3.5. Security and Privacy Aspects
4. SWOT Analysis
5. Conclusions and Future Work
Author Contributions
Funding
Informed Consent Statement
Data Availability Statement
Conflicts of Interest
References
- Yaga, D.; Mell, P.; Roby, N.; Scarfone, K. Blockchain Technology Overview—National Institute of Standards and Technology Internal Report 8202; National Institute of Standards and Technology: Gaithersburg, MD, USA, 2018. [Google Scholar] [CrossRef]
- Kietzmann, J.; Archer-Brown, C. From Hype to Reality: Blockchain Grows Up. Bus. Horiz. 2019, 62, 269–271. [Google Scholar] [CrossRef]
- WADA, ADAMS. The World Anti-Doping Agency (WADA). 2021. Available online: https://www.wada-ama.org/en/what-we-do/adams (accessed on 10 January 2022).
- WADA, The World Anti-Doping Agency. The World Anti-Doping Agency (WADA). 2022. Available online: https://www.wada-ama.org/en (accessed on 1 January 2022).
- van der Sloot, B.; Paun, M.; Leenes, R.; McNally, P.; Ypma, P. Anti-Doping & Data Protection An Evaluation of the Anti-Doping Laws and Practices in the EU Member States in light of the General Data Protection Regulation; Publications Office of the European Union: Luxembourg, 2017. [Google Scholar]
- Dvorak, J.; Baume, N.; Botré, F.; Broséus, J.; Budgett, R.; Frey, W.O.; Geyer, H.; Harcourt, P.R.; Ho, D.; Howman, D.; et al. Time for change: A roadmap to guide the implementation of the World Anti-Doping Code 2015. Br. J. Sports Med. 2014, 48, 801–806. [Google Scholar] [CrossRef] [PubMed]
- Chloe Challender, J.W.; Watt, J. Combatting doping in sport. House Commons 2018, 1, 54. [Google Scholar]
- Nakamoto, S. Bitcoin: A Peer-to-Peer Electronic Cash System. Decentralized Bus. Rev. 2008, 21260. Available online: www.bitcoin.org (accessed on 8 January 2019).
- Imran, B. Mastering Blockchain: Distributed Ledger Technology, Decentralization, and Smart Contracts Explained/Imran Bashir, 2nd ed.; Packt Publishing: Birmingham, UK, 2018. [Google Scholar]
- Don, T.; Alex, T. Blockchain Revolution: How the Technology behind Bitcoin is Changing Money, Business and the World; Version 2; Portfolio/Penguin: New York, NY, USA, 2016. [Google Scholar]
- Wood Gavin. Ethereum: A Secure Decentralised Generalised Transaction Ledger, Ethereum Proj. Yellow Pap. 2014. Available online: http://www.cryptopapers.net/papers/ethereum-yellowpaper.pdf (accessed on 15 March 2019).
- Vergne, J. Decentralized vs. Distributed Organization: Blockchain, Machine Learning and the Future of the Digital Platform. Organ. Theory 2020, 1, 263178772097705. [Google Scholar] [CrossRef]
- Chen, Y.; Pereira, I.; Patel, P.C. Decentralized Governance of Digital Platforms. J. Manag. 2020, 47, 1305–1337. [Google Scholar] [CrossRef]
- Shah, N. Blockchain for Business with Hyperledger Fabric: A Complete Guide to Enterpise Blockchain Implementation Using Hyperledger Fabric, 1st ed.; BPB Publications: New Delhi, India, 2019. [Google Scholar]
- European Commission. Thematic Report: Blockchain Applications in the Healthcare Sector. 2022. Available online: https://www.eublockchainforum.eu/sites/default/files/reports/eubof_healthcare_2022_FINAL_pdf.pdf (accessed on 15 March 2019).
- Alexaki, S.; Alexandris, G.; Katos, V.; Nikolaos Petroulakis, E. Blockchain-based Electronic Patient Records for Regulated Circular Healthcare Jurisdictions. In Proceedings of the IEEE International Workshop on Computer Aided Modeling and Design of Communication Links and Networks, Virtual, 14–16 September 2020; Volume 2018, pp. 1–6. [Google Scholar] [CrossRef] [Green Version]
- Pirnejad, H.; Bal, R.; Stoop, A.P.; Berg, M. Inter-organisational communication networks in healthcare: Centralised versus decentralised approaches. Int. J. Integr. Care 2007, 7, e14. [Google Scholar] [CrossRef]
- Marceau, J.; Basri, E. Translation of Innovation Systems into Industrial Policy: The Healthcare Sector in Australia. Ind. Innov. 2001, 8, 291–308. [Google Scholar] [CrossRef]
- Mikula, T.; Jacobsen, R.H. Identity and access management with blockchain in electronic healthcare records. In Proceedings of the 21st Euromicro Conference on Digital System Design, Prague, Czech Republic, 29–31 August 2018; pp. 699–706. [Google Scholar] [CrossRef]
- Thwin, T.T.; Vasupongayya, S. Blockchain-Based Access Control Model to Preserve Privacy for Personal Health Record Systems. Secur. Commun. Netw. 2019, 2019, 15614. [Google Scholar] [CrossRef]
- Ateniese, G.; Fu, K.; Green, M.; Hohenberger, S. Improved proxy re-encryption schemes with applications to secure distributed storage. ACM Trans. Inf. Syst. Secur. 2006, 9, 1–30. [Google Scholar] [CrossRef]
- Montecchi, M.; Plangger, K.; Etter, M. It’s real, trust me! Establishing supply chain provenance using blockchain. Bus. Horiz. 2019, 62, 283–293. [Google Scholar] [CrossRef] [Green Version]
- Perboli, G.; Musso, S.; Rosano, M. Blockchain in Logistics and Supply Chain: A Lean Approach for Designing Real-World Use Cases. IEEE Access 2018, 6, 62018–62028. [Google Scholar] [CrossRef]
- Kamilaris, A.; Fonts, A.; Prenafeta-Boldύ, F.X. The rise of blockchain technology in agriculture and food supply chains. Trends Food Sci. Technol. 2019, 91, 640–652. [Google Scholar] [CrossRef] [Green Version]
- Everledger Diamond Platform. Available online: https://diamonds.everledger.io/ (accessed on 30 August 2019).
- Toyoda, K.; Mathiopoulos, P.T.; Sasase, I.; Ohtsuki, T. A Novel Blockchain-Based Product Ownership Management System (POMS) for Anti-Counterfeits in the Post Supply Chain. IEEE Access 2017, 5, 17465–17477. [Google Scholar] [CrossRef]
- Lone, A.H.; Mir, R.N. Forensic-chain: Blockchain based digital forensics chain of custody with PoC in Hyperledger Composer. Digit. Investig. 2019, 28, 44–55. [Google Scholar] [CrossRef]
- Clauson, K.A.; Breeden, E.A.; Davidson, C.; Mackey, T.K. Leveraging Blockchain Technology to Enhance Supply Chain Management in Healthcare: An Exploration of Challenges and Opportunities in the Health Supply Chain. Blockchain Healthc. Today 2018, 1, 1–12. [Google Scholar] [CrossRef]
- Haq, I.; Muselemu, O. Blockchain Technology in Pharmaceutical Industry to Prevent Counterfeit Drugs. Int. J. Comput. Appl. 2018, 180, 8–12. [Google Scholar] [CrossRef]
- Christidis, K.; Devetsikiotis, M. Blockchains and Smart Contracts for the Internet of Things. IEEE Access 2016, 4, 2292–2303. [Google Scholar] [CrossRef]
- Rosen, D.M. Dope: A History of Performance Enhancement in Sports from the Nineteenth Century to Today; Praeger Publishers: Westport, CT, USA, 2008. [Google Scholar]
- Willick, S.E.; Miller, G.D.; Eichner, D. The Anti-Doping Movement. PM&R 2016, 8, S125–S132. [Google Scholar] [CrossRef]
- Dimant, E.; Deutscher, C. The Economics of Corruption in Sports: The Special Case of Doping (January 20, 2015). Edmond J. Safra Working Papers, No. 55. Available online: https://ssrn.com/abstract=2546029 (accessed on 15 March 2019).
- Kamber, M. Development of the role of National Anti-Doping Organisations in the fight against doping: From past to future. Forensic Sci. Int. 2011, 213, 3–9. [Google Scholar] [CrossRef]
- Toohey, K.; Beaton, A. International cross-sector social partnerships between sport and governments: The World Anti-Doping Agency. Sport Manag. Rev. 2017, 20, 483–496. Available online: http://web.b.ebscohost.com.ezproxy.universidadeuropea.es/ehost/detail/detail?vid=12&sid=3e11a628-268c-40a9-ab74-967eb6408711%40pdc-v-sessmgr01&bdata=Jmxhbmc9ZXMmc2l0ZT1laG9zdC1saXZlJnNjb3BlPXNpdGU%3D#AN=126041720&db=sph (accessed on 5 June 2019). [CrossRef]
- Lentillon-Kaestner, V. The development of doping use in high-level cycling: From team-organized doping to advances in the fight against doping. Scand. J. Med. Sci. Sports 2011, 23, 189–197. [Google Scholar] [CrossRef] [PubMed]
- Dimeo, P. The myth of clean sport and its unintended consequences. Perform. Enhanc. Health 2016, 4, 103–110. [Google Scholar] [CrossRef]
- Aguilar, M.; Muñoz-Guerra, J.; Plata, M.D.M.; Del Coso, J. Thirteen years of the fight against doping in figures. Drug Test. Anal. 2017, 9, 866–869. [Google Scholar] [CrossRef] [PubMed]
- Sottas, P.-E.; Robinson, N.; Fischetto, G.; Dollé, G.; Alonso, J.M.; Saugy, M. Prevalence of Blood Doping in Samples Collected from Elite Track and Field Athletes. Clin. Chem. 2011, 57, 762–769. [Google Scholar] [CrossRef] [PubMed] [Green Version]
- Sagoe, D.; Molde, H.; Andreassen, C.S.; Torsheim, T.; Pallesen, S. The global epidemiology of anabolic-androgenic steroid use: A meta-analysis and meta-regression analysis. Ann. Epidemiol. 2014, 24, 383–398. [Google Scholar] [CrossRef] [Green Version]
- Petroczi, A.; Naughton, D.P. Impact of multidisciplinary research on advancing anti-doping efforts. Int. J. Sport Policy Politics 2011, 3, 235–259. [Google Scholar] [CrossRef]
- Neto, F.R.D.A.; Sarderla, V.F.; Mirotti, L.; Pizzatti, L. Running ahead of doping: Analytical advances and challenges faced by modern laboratories ahead of Rio 2016. Bioanalysis 2016, 8, 1753–1756. [Google Scholar] [CrossRef] [Green Version]
- Nicoli, R.; Guillarme, D.; Leuenberger, N.; Baume, N.; Robinson, N.; Saugy, M.; Veuthey, J.-L. Analytical Strategies for Doping Control Purposes: Needs, Challenges, and Perspectives. Anal. Chem. 2015, 88, 508–523. [Google Scholar] [CrossRef]
- Elbe, A.-M.; Barkoukis, V. The psychology of doping. Curr. Opin. Psychol. 2017, 16, 67–71. [Google Scholar] [CrossRef]
- Ehrnborg, C.; Rosén, T. The psychology behind doping in sport. Growth Horm. IGF Res. 2009, 19, 285–287. [Google Scholar] [CrossRef] [PubMed]
- Engelberg, T.; Moston, S.; Skinner, J. The final frontier of anti-doping: A study of athletes who have committed doping violations. Sport Manag. Rev. 2015, 18, 268–279. [Google Scholar] [CrossRef] [Green Version]
- Masters, A. Corruption in sport: From the playing field to the field of policy. Policy Soc. 2015, 34, 111–123. [Google Scholar] [CrossRef] [Green Version]
- Altukhov, S.; Nauright, J. The new sporting Cold War: Implications of the Russian doping allegations for international relations and sport. Sport Soc. 2018, 21, 1120–1136. [Google Scholar] [CrossRef]
- Russian Fancy Bears gang attacks dope-testing organisation. Comput. Fraud Secur. 2016, 2016, 1–3. [CrossRef]
- Scharf, M.; Zurawski, N.; Ruthenberg, T. Negotiating privacy. Athletes’ assessment and knowledge of the ADAMS. Perform. Enhanc. Health 2018, 6, 59–68. [Google Scholar] [CrossRef]
- de Hon, O.; Kuipers, H.; van Bottenburg, M. Prevalence of Doping Use in Elite Sports: A Review of Numbers and Methods. Sports Med. 2014, 45, 57–69. [Google Scholar] [CrossRef] [Green Version]
- Altukhov, S.; Li, H.; Nauright, J. Sport and doping: From WADA’s monopoly to collective arrangements and new model of anti-doping. Sport Soc. 2019, 22, 1834–1847. [Google Scholar] [CrossRef]
- Bryan Fogel. Icarus; Netflix: Los Angeles, CA, USA, 2017. [Google Scholar]
- WADA. World Anti-Doping Code 2021. 2021. Available online: https://www.wada-ama.org/en/resources/world-anti-doping-program/world-anti-doping-code (accessed on 1 January 2022).
- WADA. World Anti-Doping Code International Standard: Laboratories 2021. 2021. Available online: www.wada-ama.org (accessed on 15 January 2022).
- WADA. World Anti-Doping Code International Standard: Therapeutic Use Exemptions (ISTUE) 2021. 2021. Available online: https://www.wada-ama.org/en/resources/world-anti-doping-program/international-standard-therapeutic-use-exemptions-istue (accessed on 15 January 2022).
- WADA. World Anti-Doping Code International Standard: Testing and Investigations (ISTI) 2021. 2021. Available online: https://www.wada-ama.org/en/resources/world-anti-doping-program/international-standard-testing-and-investigations-isti (accessed on 15 January 2022).
- WADA. World Anti-Doping Code International Standard: Protection of Privacy and Personal Information (ISPPI) 2021. 2021. Available online: https://www.wada-ama.org/en/resources/world-anti-doping-program/international-standard-protection-privacy-and-personal (accessed on 15 January 2022).
- WADA. World Anti-Doping Code International Standard: Code Compliance by Signatories (ISCCS) 2021. 2021. Available online: https://www.wada-ama.org/en/resources/world-anti-doping-program/international-standard-code-compliance-signatories-isccs (accessed on 15 January 2022).
- WADA. World Anti-Doping Code International Standard: Education (ISE) 2021. 2021. Available online: https://www.wada-ama.org/en/resources/world-anti-doping-program/international-standard-education-ise (accessed on 15 January 2022).
- WADA. World Anti-Doping Code International Standard: Results Management (ISRM) 2021. 2021. Available online: https://www.wada-ama.org/en/resources/world-anti-doping-program/international-standard-results-management-isrm (accessed on 15 January 2022).
- WADA. World Anti-Doping Code International Standard: The 2021 WADA Prohibited List. 2021. Available online: https://www.wada-ama.org/sites/default/files/resources/files/2021list_en.pdf (accessed on 15 January 2022).
- WADA. At-A-Glance: Athlete Whereabouts. 2021. Available online: https://www.wada-ama.org/en/resources/glance-athlete-whereabouts#resource-download (accessed on 15 January 2022).
- WADA. 2021 World Anti-Doping Code and International Standard Framework Development and Implementation Guide for Stakeholders. 2021. Available online: https://www.wada-ama.org/en/resources/2021-world-anti-doping-code-and-international-standard-framework-development-and (accessed on 15 January 2022).
- Anti-Doping Rule Violations (ADRVs) Report|World Anti-Doping Agency. Available online: https://www.wada-ama.org/en/resources/general-anti-doping-information/anti-doping-rule-violations-adrvs-report (accessed on 1 May 2019).
- World Anti-Doping Agency (WADA). Athlete Biological Passport Operating Guidelines—V8.0 Apr. 2021. 2021. Available online: https://www.wada-ama.org/sites/default/files/resources/files/guidelines_abp_v8_final.pdf (accessed on 1 May 2019).
- Cyber Security Update: WADA’s Incident Response|World Anti-Doping Agency. Available online: https://www.wada-ama.org/en/media/news/2016-10/cyber-security-update-wadas-incident-response (accessed on 11 April 2019).
- WADA Is Fully Committed to Investigating Sochi Allegations|World Anti-Doping Agency. Available online: https://www.wada-ama.org/en/media/news/2016-05/wada-is-fully-committed-to-investigating-sochi-allegations (accessed on 1 April 2019).
- WADA Publishes Terms of Reference for Independent Person heading Sochi Investigation|World Anti-Doping Agency. Available online: https://www.wada-ama.org/en/media/news/2016-05/wada-publishes-terms-of-reference-for-independent-person-heading-sochi (accessed on 18 April 2019).
- McLaren, R.H. The Independent Person Report WADA Investigation of Sochi Allegations (2nd Part). 2016. Available online: https://www.wada-ama.org/sites/default/files/resources/files/mclaren_report_part_ii_2.pdf (accessed on 20 July 2019).
- WADA Confirms Attack by Russian Cyber Espionage Group|World Anti-Doping Agency. Available online: https://www.wada-ama.org/en/media/news/2016-09/wada-confirms-attack-by-russian-cyber-espionage-group (accessed on 18 April 2019).
- WADA Confirms Another Batch of Athlete Data Leaked by Russian Cyber Hackers ‘Fancy Bear’|World Anti-Doping Agency. Available online: https://www.wada-ama.org/en/media/news/2016-09/wada-confirms-another-batch-of-athlete-data-leaked-by-russian-cyber-hackers-fancy (accessed on 18 April 2019).
- Treiblmaier, H. Exploring the next wave of blockchain and distributed ledger technology: The overlooked potential of scenario analysis. Future Internet 2021, 13, 185. [Google Scholar] [CrossRef]
- Zand, M.; Wu, X.; Morris, M.A. Hands-On Smart Contract Development with Hyperledger Fabric V2: Building Enterprise Blockchain Applications, First; O’Reilly Media Inc.: Sebastopol, CA, USA, 2021. [Google Scholar]
- Pan, S.Q.; Vega, M.; Vella, A.J.; Archer, B.H.; Parlett, G.R. Mini-Delphi Approach: An Improvement on Single Round Techniques. Prog. Tour. Hosp. Res. 1996, 2, 27–39. [Google Scholar] [CrossRef]
- Angelis, J.; Ribeiro da Silva, E. Blockchain adoption: A value driver perspective. Bus. Horiz. 2019, 62, 307–314. [Google Scholar] [CrossRef]
- Wust, K.; Gervais, A. Do you need a blockchain? In Proceedings of the 2018 Crypto Val. Conf. Blockchain Technol, CVCBT 2018, Zug, Switzerland, 20–22 June 2018; pp. 45–54. [Google Scholar] [CrossRef]
- Bradley, M.; Gorman, D.; Lucas, M.; Golby-Kirk, M. Getting Started with Enterprise Blockchain: A Guide to Design and Development, 1st ed.; Published by O’Reilly Media, Inc.: Sebastopol, CA, USA, 2019. [Google Scholar]
- Pereira, H.M.G.; Sardela, V.F.; Padilha, M.C.; Mirotti, L.; Casilli, A.; De Oliveira, F.A.; Cavalcanti, G.D.A.; Rodrigues, L.M.L.; De Araujo, A.L.D.; Levy, R.S.; et al. Doping control analysis at the Rio 2016 Olympic and Paralympic Games. Drug Test. Anal. 2017, 9, 1658–1672. [Google Scholar] [CrossRef] [PubMed]
- A Blockchain Platform for the Enterprise—Hyperledger-Fabricdocs Master Documentation. Available online: https://hyperledger-fabric.readthedocs.io/en/release-2.0/ (accessed on 6 April 2020).
- Gorenflo, C.; Lee, S.; Golab, L.; Keshav, S. FastFabric: Scaling Hyperledger Fabric to 20,000 Transactions per Second. In Proceedings of the 2019 IEEE International Conference on Blockchain and Cryptocurrency, Seoul, Korea, 14–17 May 2019; pp. 455–463. [Google Scholar] [CrossRef] [Green Version]
- Brown, R.G. The Corda Platform: An Introduction. Corda Platf. White Pap. 2018, 1–21. Available online: https://www.corda.net/wp-content/uploads/2018/05/corda-platform-whitepaper.pdf (accessed on 15 March 2019).
- Ravi, D.; Ramachandran, S.; Vignesh, R.; Falmari, V.R.; Brindha, M. Privacy preserving transparent supply chain management through Hyperledger Fabric. Blockchain: Res. Appl. 2022, 3, 100072. [Google Scholar] [CrossRef]
- Process and Data Design. Hyperledger Fabric—Read the Docs. Available online: https://hyperledger-fabric.readthedocs.io/en/release-2.2/developapps/architecture.html (accessed on 15 December 2021).
- Rahulamathavan, Y.; Phan, R.C.W.; Rajarajan, M.; Misra, S.; Kondoz, A. Privacy-preserving blockchain based IoT ecosystem using attribute-based encryption. In Proceedings of the 11th IEEE International Conference on Advanced Networks and Telecommunications Systems, ANTS 2017, Bhubaneswar, India, 17–20 December 2017; pp. 1–6. [Google Scholar] [CrossRef] [Green Version]
- Hyperledger. Hyperleger Read the Docs—MSP Implementation with Identity Mixer. 2020. Available online: https://hyperledger-fabric.readthedocs.io/en/release-2.2/idemix.html (accessed on 5 January 2022).
- Cordi, C. Hyperledger Fabric Security Threats: What to Look For. Linux Found. Proj. 2021. Available online: https://www.hyperledger.org/blog/2021/11/18/hyperledger-fabric-security-threats-what-to-look-for (accessed on 15 June 2022).
- Niranjanamurthy, M.; Nithya, B.N.; Jagannatha, S. Analysis of Blockchain technology: Pros, cons and SWOT. Clust. Comput. 2018, 22, 14743–14757. [Google Scholar] [CrossRef]
- Andola, N.; Raghav; Gogoi, M.; Venkatesan, S.; Verma, S. Vulnerabilities on Hyperledger Fabric. Pervasive Mob. Comput. 2019, 59, 101050. [Google Scholar] [CrossRef]
- Piercy, N.; Giles, W. Making SWOT Analysis Work. Mark. Intell. Plan. 1989, 7, 5–7. [Google Scholar] [CrossRef]
- Sabbaghi, A.; Vaidyanathan, G. SWOT analysis and theory of constraint in information technology projects. Inf. Syst. Educ. J. 2004, 2, 3–19. Available online: http://isedj.org/2/23/ (accessed on 9 July 2022).
- Lemieux, V.L. Blockchain Recorkeeping: A SWOT Analysis. Inf. Manag.-ARMA Int. 2017, 51, 20–27. [Google Scholar]
- De Filippi, P.; Aron, W. Blockchain and the Law: The Rule of Code; Harvard University Press: Cambridge, MA, USA, 2018. [Google Scholar]
- Paik, H.-Y.; Xu, X.; Bandara, H.M.N.D.; Lee, S.U.; Lo, S.K. Analysis of Data Management in Blockchain-Based Systems: From Architecture to Governance. IEEE Access 2019, 7, 186091–186107. [Google Scholar] [CrossRef]
- Truong, N.B.; Sun, K.; Lee, G.M.; Guo, Y. GDPR-Compliant Personal Data Management: A Blockchain-Based Solution. IEEE Trans. Inf. Forensic Secur. 2020, 15, 1746–1761. [Google Scholar] [CrossRef] [Green Version]
- Trump, B.D.; Florin, M.-V.; Matthews, H.S.; Sicker, D.; Linkov, I. Governing the Use of Blockchain and Distributed Ledger Technologies: Not One-Size-Fits-All. IEEE Eng. Manag. Rev. 2018, 46, 56–62. [Google Scholar] [CrossRef]
- Statista Dossier on Blockchain and Distributed Ledger Technologies. 2021. Available online: https://www.statista.com/study/39859/blockchain-statista-dossier/ (accessed on 10 July 2022).






| Criteria | Justification |
|---|---|
| 1. Does the application need multiple parties accessing the network and writing data to a decentralized database? | Answer 1: Yes, in the current business model, individuals from multiple organizations access read and write data to a centralized database (ADAMS), which is governed by a single organization (WADA) [5,50]. A decentralized shared database can improve the trust model and reduce frictions within the AD domain [1]. |
| 2. Can a single Trusted Authority in control of the data store lead to a potential conflict of interest? | Answer 2: Yes, currently, ADAMS is controlled by a single authority (WADA). This model creates an asymmetry of information and a conflicting trust model for organizations, as confirmed by the literature [5,50]. Therefore, a decentralized approach can disrupt this model, considered monopolistic and unfair by several participants [52]. |
| 3. Are data immutability and integrity of transactions desired? | Answer 3: Yes, records include doping control tests, therapeutic exemptions, athletes’ whereabouts data, or other sensitive data pertaining to doping control activities [5]. This kind of data should not be modified, or if there is a need for update/modification, it should be part of an amending process that can be audited and traced by the AD authorities [5]. The integrity of the produced and stored data is key for creating a fully traceable history of transactions. |
| 4. Is there a need to keep the content of transactions private? | Answer 4: Yes, the content of AD transactions must be kept confidential and be accessed only by authorized parties and according to specific access criteria [5,58]. In this context, permissioned blockchains are preferable, as only authorized parties can participate in the blockchain and fine-grained privacy control of transactions can be implemented [14]. |
| 5. Is consensus determined inter firm? Are the writers known and trusted? Is it important to control functionality? | Answer 5: Yes, inter-firm consensus with known and trusted writers and controlled functionalities, pointing to permissioned blockchains [1]. Inter firm consensus promotes democratization, which is a desired feature for the AD domain [52]. Writing rights are given only to trusted members of the consortium. Functionalities, policies, and membership might be changed over time; therefore, the control of functionalities is essential [78]. |
| 6. Is the required application feasible without high throughput for transactions? | Answer 6: Yes, high throughput is not critical for the AD domain. An order of magnitude for the needed throughput can be taken from this example: during the 2016 Rio Olympics, the busiest day had a total of 350 doping samples collected [79]. If all data related to these controls were inputted at the same time, it would still be supported by a platform such as the Hyperledger Fabric (up to 20,000 transactions/second) [80,81]. |
| Strengths | Weaknesses |
| Data Integrity, Immutability, Traceability, Auditability Data Quality Semi-decentralized Governance Privacy Protection Efficiency and Integrity of Business Processes Different Ledgers to Different Applications | Potential Non-Compliance with Data Laws Architecture Complexities and Lack of Standards Performance and Scalability Long-Term Preservation of Data Integration with Legacy Systems |
| Opportunities | Threats |
| Technology Momentum Innovate Business Processes | Governance Disputes Costs of Implementation and Adoption |
Publisher’s Note: MDPI stays neutral with regard to jurisdictional claims in published maps and institutional affiliations. |
© 2022 by the authors. Licensee MDPI, Basel, Switzerland. This article is an open access article distributed under the terms and conditions of the Creative Commons Attribution (CC BY) license (https://creativecommons.org/licenses/by/4.0/).
Share and Cite
Pinto, F.; Rahulamathavan, Y.; Skinner, J. Blockchain for Doping Control Applications in Sports: A Conceptual Approach. Future Internet 2022, 14, 210. https://doi.org/10.3390/fi14070210
Pinto F, Rahulamathavan Y, Skinner J. Blockchain for Doping Control Applications in Sports: A Conceptual Approach. Future Internet. 2022; 14(7):210. https://doi.org/10.3390/fi14070210
Chicago/Turabian StylePinto, Flavio, Yogachandran Rahulamathavan, and James Skinner. 2022. "Blockchain for Doping Control Applications in Sports: A Conceptual Approach" Future Internet 14, no. 7: 210. https://doi.org/10.3390/fi14070210
APA StylePinto, F., Rahulamathavan, Y., & Skinner, J. (2022). Blockchain for Doping Control Applications in Sports: A Conceptual Approach. Future Internet, 14(7), 210. https://doi.org/10.3390/fi14070210

