Modeling of Falling Ball Impact Test Response on Solid, Veneer, and Traditional Engineered Wood Floorings of Several Hardwoods
Abstract
:1. Introduction
2. Materials and Methods
2.1. Wood Sources
2.2. Wood Flooring Specimens
- Solid wood flooring (SW), consisting of a single piece of wood (sawn, brushed, and sanded).
- Engineered wood flooring with a 3-mm top layer (EWF 3 mm), consisting of 3 layers: a 3-mm hardwood wear layer obtained by a thin-cutting frame saw, a 9-mm backing panel of HDF (850 kg·m−3), and a 2-mm backing layer of pine unrolled veneer (Pinus radiata D. Don, 500 kg·m−3).
- Veneer flooring or engineered wood flooring with a 0.6-mm top layer (EWF 0.6 mm), consisting of a 0.6-mm thick top layer of veneer obtained by slicing, a 9-mm backing panel of HDF (850 kg·m−3), and a 0.5-mm backing layer of pine unrolled veneer (P. radiata, 500 kg·m−3).
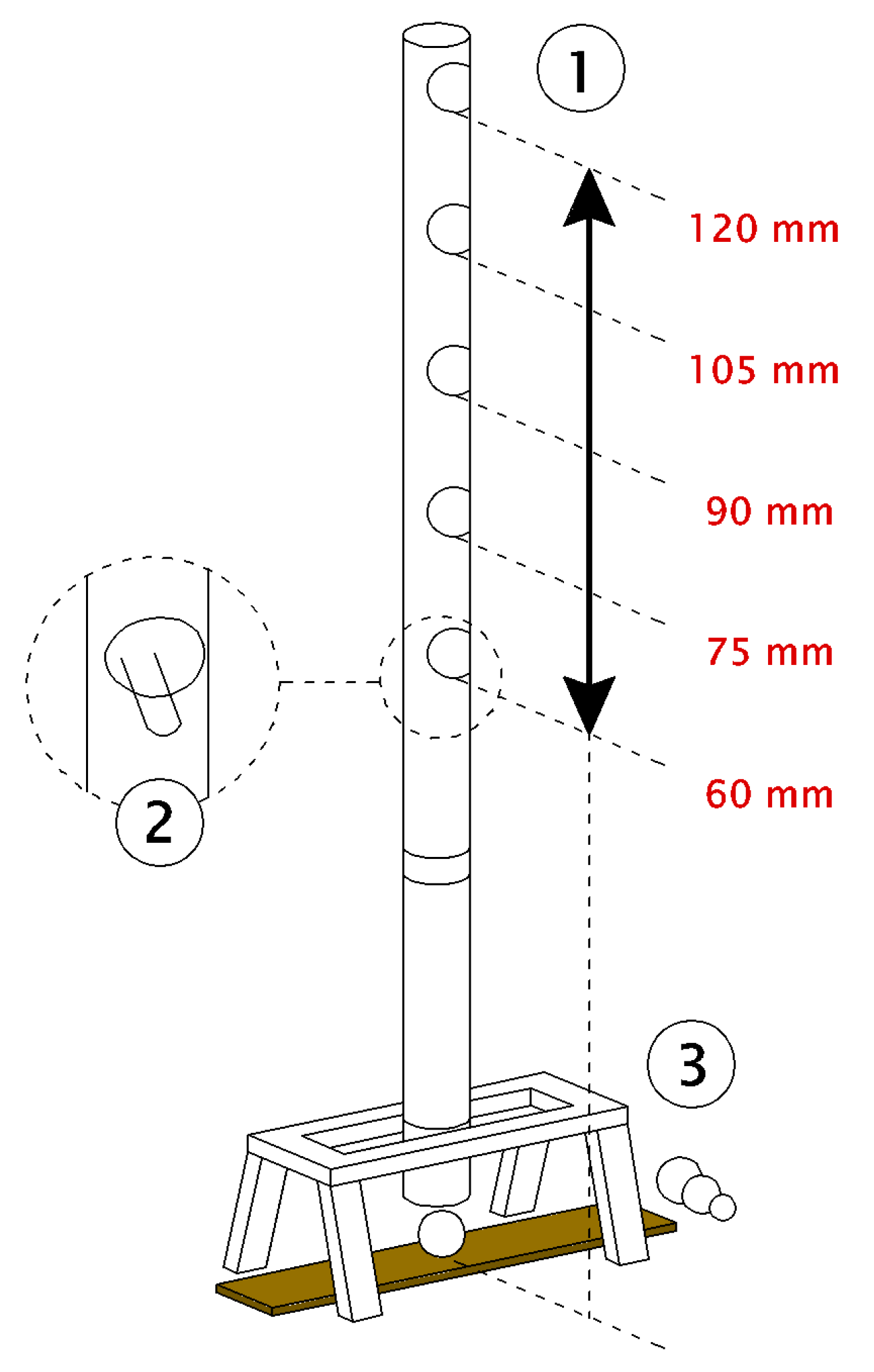
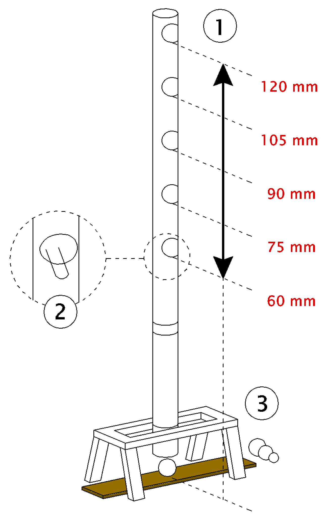
2.3. Dynamic Hardness Testing
2.4. Statistical Analyses
3. Results and Discussion
3.1. Descriptive Statistics
3.2. Model Selection
V3H. courbaril + 0.02 × V3Q. robur − 0.227 × V4EWF − 0.059 × V5,
0.766 × V3H. courbaril − 0.226 × V3Q. robur + 1.992 × V4EWF + 0.38 × V5,
3.3. Model Diagnostics and Performance
3.4. Final Remarks
- (i)
- E. globulus showed very similar behavior to that of Q. robur in the three wood flooring typologies in terms of the footprint diameter and the indentation depth. Hence, E. globulus, a fast-growing species, may hold promise to replace (or complement) Q. robur, a much slower-growing species, in the production of wooden floorings. As for the values of FD and ID in E. grandis, due to its lower density, significant differences versus the rest of the hardwood species were observed in SW and EWF 3.0 mm floorings, but, in the EWF with a 0.6 mm top layer, the ID variable did not show significant differences with the rest of the species. Similar conclusions were reached by other researchers [43,44], although from the comparison of different hardwood species with similar density ratios. This fast-growing species, currently destined for uses with little added value, may thus be valorized as an oak replacement in veneer floorings.
- (ii)
- Regarding the constructive typology of the floors, the replacement of part of the solid wood by a 9 mm HDF board significantly improved the behavior of the floor in terms of its performance in hardness tests, regardless of the hardwood species used. These results provide evidence that hardness is more closely related to density than to other wood properties [45], which explains why HDF board properties are more representative than those of the hardwood layer. An EWF flooring with a hardwood layer thickness of only 0.6 mm resulted in significantly lower FD and ID values than an EWF typology with a 3 mm hardwood layer thickness for three of the hardwood species (E. globulus, E. grandis, and Q. robur), while, in the case of the densest wood, from H. courbaril, the difference in FD was not as evident between the two EWF floorings. This implies that using a 9 mm HDF board and a 0.6 mm thickness of the solid wood top layer may save a significant amount of high-quality wood and lower the cost of the final product while offering better performance in terms of hardness than solid wood flooring.
4. Conclusions
Supplementary Materials
Author Contributions
Funding
Institutional Review Board Statement
Informed Consent Statement
Data Availability Statement
Acknowledgments
Conflicts of Interest
References
- Andrade, A.; Jankowsky, I.; Takeshita, S.; Neto Vieira, P. Análise de qualidade em pisos de madeira. Rev. Madeira 2010, 125, 12–18. [Google Scholar]
- Castro, G.; Zanuttini, R. Multilaminar wood: Manufacturing process and main physical-mechanical properties. For. Prod. J. 2004, 54, 61–67. [Google Scholar]
- Bergman, R.D.; Bowe, S.A. Life cycle inventory of manufacturing prefinished engineered wood flooring in Eastern, U.S. with comparison to solid strip wood flooring. Wood Fiber Sci. 2011, 43, 421–441. [Google Scholar]
- Li, N.; Tsushima, E.; Tsushima, H. Comparison of impact force attenuation by various combinations of hip protector and flooring material using a simplified fall-impact simulation device. J. Biomech. 2013, 46, 1140–1146. [Google Scholar] [CrossRef] [PubMed]
- Vinden, P. Changes in markets, technology and resources: Prospects for wood-based products. Aust. For. 2003, 66, 51–54. [Google Scholar] [CrossRef]
- Németh, R.; Molnarne Posh, P.; Molnár, S.; Bak, M. Performance evaluation of strip parquet flooring panels after long-term, in-service exposure. Drewno 2014, 57, 119–134. [Google Scholar]
- European Federation of the Parquet Industry. From European Nature to European Homes. Available online: https://www.parquet.net/p/index.html (accessed on 5 January 2022).
- Spetic, W.; Kozak, R.; Cohen, D. Perceptions of wood flooring by Canadian householders. For. Prod. J. 2006, 57, 34–38. [Google Scholar]
- Tanritanir, E.; Akbulut, T. Plywood industry and general situation of plywood trade. Laminart Furnit. Decor. J. 1999, 9, 122–132. [Google Scholar]
- Decospan. Decospan Wood Solutions. Available online: https://www.decospan.com (accessed on 5 January 2022).
- Grand View Research. In Wood and Laminate Flooring Market Size, Share & Trends Analysis Report by Product, by Application, by Region and Segment Forecasts, 2019–2025; Grand View Research: San Francisco, CA, USA, 2019; p. 99.
- Chen, Q.; Guo, X.; Ji, F.; Wang, J.; Wang, J.; Cao, P. Effects of decorative veneer and structure on the thermal conductivity of engineered wood flooring. BioResources 2015, 10, 2213–2222. [Google Scholar] [CrossRef] [Green Version]
- Glavonjić, B.; Lazarević, A.; Oblak, L.; Kalem, M.; Sretenović, P. Competitiveness of selected South-Eastern European countries in European Union wood flooring market. Drvna Ind. 2020, 71, 281–288. [Google Scholar] [CrossRef]
- Hetemäki, L.; Hurmekoski, E. Forest products markets under change: Review and research implications. Curr. For. Rep. 2016, 2, 177–188. [Google Scholar] [CrossRef]
- Nesheim, S.Ø. Competitive Timber Floors: Optimisation of Hollow Section Timber Floor Elements for Adaptable Buildings; Norwegian University of Science and Technology: Trondheim, Norway, 2021. [Google Scholar]
- Kalaycioglu, H.; Hiziroglu, S. Evaluation of surface characteristics of laminated flooring. Build. Environ. 2006, 41, 756–762. [Google Scholar] [CrossRef]
- Cassens, D.L.; Feist, W.C. Finishing and Maintaining Wood Floors; Cooperative Extension Service, Purdue University: West Lafayette, IN, USA, 1988; p. 8. [Google Scholar]
- Padilha, C.; Lima, J.T.; da Silva, J.R.M.; Trugilho, P.F.; Andrade, H.B. Evaluation of the Eucalyptus urophylla wood quality for flooring utilization. Sci. For. 2006, 71, 141–147. [Google Scholar]
- Mania, P.; Wróblewski, M.; Wójciak, A.; Roszyk, E.; Moliński, W. Hardness of densified wood in relation to changed chemical composition. Forests 2020, 11, 506. [Google Scholar] [CrossRef]
- Mathis, D.; Blanchet, P.; Landry, V.; Lagière, P. Impregnation of wood with microencapsulated bio-based phase change materials for high thermal mass engineered wood flooring. Appl. Sci. 2018, 8, 2696. [Google Scholar] [CrossRef] [Green Version]
- Sepliarsky, F.; Tapias-Martin, R.; Acuña-Rello, L. Eucalyptus globulus and Quercus robur engineered wood flooring. Impact resistance for several compositions. Maderas Cienc. Tecnol. 2018, 20, 103–116. [Google Scholar] [CrossRef]
- Hague, J. Utilisation of Plantation Eucalypts in Engineered Wood Products; Forest and Wood Products Australia: Melbourne, VIC, Australia, 2013; p. 20. [Google Scholar]
- Acuña, L.; Sepliarsky, F.; Spavento, E.; Martínez, R.D.; Balmori, J.-A. Modelling of impact falling ball test response on solid and engineered wood flooring of two Eucalyptus species. Forests 2020, 11, 933. [Google Scholar] [CrossRef]
- Crespo, J.; Majano-Majano, A.; Lara-Bocanegra, A.J.; Guaita, M. Mechanical properties of small clear specimens of Eucalyptus globulus Labill. Materials 2020, 13, 906. [Google Scholar] [CrossRef] [Green Version]
- Derikvand, M.; Kotlarewski, N.; Lee, M.; Jiao, H.; Nolan, G. Characterisation of physical and mechanical properties of unthinned and unpruned plantation-grown Eucalyptus nitens H.Deane & Maiden lumber. Forests 2019, 101, 194. [Google Scholar] [CrossRef] [Green Version]
- Jeon, J.Y.; Ryu, J.K.; Jeong, J.H.; Tachibana, H. Review of the impact ball in evaluating floor impact sound. Acta Acust. United Acust. 2006, 92, 777–786. [Google Scholar]
- Todaro, L. Effect of steaming treatment on resistance to footprints in Turkey oak wood for flooring. Eur. J. Wood Wood Prod. 2011, 70, 209–214. [Google Scholar] [CrossRef]
- Asociación Española de Normalización. UNE-EN 408:2010+A1:2012. Timber Structures—Structural Timber and Glued Laminated Timber—Determination of Some Physical and Mechanical Properties; Asociación Española de Normalización: Madrid, Spain, 2012. [Google Scholar]
- Asociación Española de Normalización. UNE EN 13183-1:2002. Moisture Content of a Piece of Sawn Timber—Part 1: Determination by Oven Dry Method; Asociación Española de Normalización: Madrid, Spain, 2007. [Google Scholar]
- Bona. Bona UV System. Available online: https://www.bona.com/ParquetProducers/IC-Products/Bona-UV-System/ (accessed on 5 January 2022).
- ASTM International. ASTM D1037-99. Standard Test Methods for Evaluating Properties of Wood-Base Fiber and Particle Panel Materials; ASTM International: West Conshohocke, PA, USA, 1999. [Google Scholar]
- ASTM International. ASTM D2394-83. Standard Methods for Simulated Service Testing of Wood and Wood-Base Finish Flooring; ASTM International: West Conshohocke, PA, USA, 1999. [Google Scholar]
- AITIM. Reglamento del Sello de Calidad AITIM Para Pavimentos de Madera, Parquet Industrial, Parquet Mosaico, Lamparquet y Tarima; Asociación de Investigación de las Industrias de la Madera (AITIM): Madrid, Spain, 2012; p. 11. [Google Scholar]
- International Organization for Standardization. ISO 3290-1:2014. Rolling Bearings—Balls—Part 1: Steel Balls; International Organization for Standardization: Geneva, Switzerland, 2014. [Google Scholar]
- Wilcox, R.R. Introduction to Robust Estimation and Hypothesis Testing, 5th ed.; Academic Press: London, UK, 2021. [Google Scholar]
- Welch, B.L. On the comparison of several mean values: An alternative approach. Biometrika 1951, 38, 330–336. [Google Scholar] [CrossRef]
- Krzanowski, W.J. An Introduction to Statistical Modelling; Wiley: London, UK; New York, NY, USA, 2010; p. 264. [Google Scholar]
- Akaike, H. Information theory and an extension of the maximum likelihood principle. In Selected Papers of Hirotugu Akaike; Parzen, E., Tanabe, K., Kitagawa, G., Eds.; Springer: New York, NY, USA, 1998; pp. 199–213. [Google Scholar] [CrossRef]
- Schwarz, G. Estimating the dimension of a model. Ann. Stat. 1978, 6, 461–464. [Google Scholar] [CrossRef]
- Chen, J.; Chen, Z. Extended Bayesian information criteria for model selection with large model spaces. Biometrika 2008, 95, 759–771. [Google Scholar] [CrossRef] [Green Version]
- Laitila, T. A pseudo-R2 measure for limited and qualitative dependent variable models. J. Econom. 1993, 56, 341–355. [Google Scholar] [CrossRef]
- Cook, R.D.; Weisberg, S. Graphics for assessing the adequacy of regression models. J. Am. Stat. Assoc. 1997, 92, 490–499. [Google Scholar] [CrossRef]
- Laine, K.; Rautkari, L.; Hughes, M. The effect of process parameters on the hardness of surface densified Scots pine solid wood. Eur. J. Wood Wood Prod. 2013, 71, 13–16. [Google Scholar] [CrossRef]
- Sydor, M.; Pinkowski, G.; Jasińska, A. The Brinell method for determining hardness of wood flooring materials. Forests 2020, 11, 878. [Google Scholar] [CrossRef]
- Kollmann, F. Untersuchungen über den Abnutzungswiderstand von Holz, Holzwerkstoffen und Fußbodenbelägen. Holz Roh Werkst. 1963, 21, 245–256. [Google Scholar] [CrossRef]










| Flooring Type | Quercus robur L. | Hymenaea courbaril L. | Eucalyptus globulus Labill. | Eucalyptus grandis W. Hill ex Maiden | |
|---|---|---|---|---|---|
| Solid wood flooring | Number of pieces and impacts | 30/150 | 30/450 | 30/150 | 30/450 |
| Nominal size * | 300 × 70 × 25 | 300 × 70 × 25 | 300 × 75 × 16 | 300 × 75 × 16 | |
| Mean density ** (CV ***) | 686.1 (9.1) | 954.6 (10.4) | 832.0 (11.3) | 488.3 (9.8) | |
| Engineered wood flooring 3 mm noble wood layer | Number of pieces and impacts | 50/450 | 50/450 | 50/450 | 50/450 |
| Nominal size * | 1000 × 200 × 14 | 1000 × 200 × 14 | 1000 × 200 × 14 | 1000 × 200 × 14 | |
| Mean density ** (CV ***) | 765.1 (0.08) | 821.4(0.06) | 796.4(0.11) | 722.4(0.13) | |
| Engineered wood flooring 0.6 mm noble wood layer | Number of pieces and impacts | 50/450 | 50/450 | 50/450 | 50/450 |
| Nominal size * | 1000 × 145 × 10 | 1000 × 145 × 10 | 1000 × 145 × 10 | 1000 × 145 × 10 | |
| Mean density ** (CV ***) | 822.9 (0.02) | 838.6 (0.04) | 821.7 (0.06) | 807.2 (0.07) |
| Nominal Diameter (mm) | Weight (g) | Impact Energy (J) * | ||||
|---|---|---|---|---|---|---|
| h = 0.60 m | h = 0.75 m | h = 0.90 m | h = 1.05 m | h = 1.20 m | ||
| 50 | 508.8 | 2.99 (A5) | 3.74 (B5) | 4.49 (C5) | 5.24 (D5) | 5.99 (E5) |
| 40 | 260.5 | 1.53 (A4) | 1.92 (B4) | 2.30 (C4) | 2.68 (D4) | 3.07 (E4) |
| 30 | 109.9 | 0.65 (A3) | 0.81 (B3) | 0.97 (C3) | 1.13 (D3) | 1.29 (E3) |
| Maximum Nominal Diameter Deviation (μm) | Hardness (HRC) | Elastic Modulus (MPa) | Compressive Breaking Stress (MPa) |
|---|---|---|---|
| ±11.4 | 62–65 | 200,000 | 2500–2600 |
| Models | Link Function | Residual Deviance | AIC | BIC | Efron’s Pseudo R2 |
|---|---|---|---|---|---|
| Footprint diameter | Inverse | 28.569 | −12,598 | −12,533 | 0.926 |
| Indentation depth | Log | 275.76 | −21,187 | −21,121.78 | 0.837 |
| Inverse | 289.96 | −20,937 | −20,872.45 | 0.832 |
| Df | Deviance | AIC | LR ChiSq | Withheld Deviance | Explained Deviance | Pr (Chi) | |
|---|---|---|---|---|---|---|---|
| Model null | 28.569 | −12,598.2 | 370.79 | 0.928 | |||
| Drop height | 1 | 46.808 | −9485.0 | 3115 | 18.24 | 0.046 | <2.2 × 10−16 |
| Ball diameter | 2 | 240.085 | 23,524.8 | 36,127 | 211.52 | 0.530 | <2.2 × 10−16 |
| Hardwood species | 3 | 117.155 | 2526.3 | 15,130 | 88.59 | 0.222 | <2.2 × 10−16 |
| Wood flooring type | 1 | 39.967 | −10,653.4 | 1577 | 4.01 | 0.010 | <2.2 × 10−16 |
| Noble layer thickness | 1 | 43.334 | −10,078.2 | 2522 | 14.77 | 0.037 | <2.2 × 10−16 |
| Df | Deviance | AIC | LR ChiSq | Withheld Deviance | Explained Deviance | Pr(Chi) | |
|---|---|---|---|---|---|---|---|
| Model null | 275.76 | −21,186.8 | 2278.53 | 0.892 | |||
| Drop height | 1 | 340.91 | −20,024.6 | 1164.2 | 312.34 | 0.122 | <2.2 × 10−16 |
| Ball diameter | 2 | 450.39 | −18,070.3 | 3120.5 | 421.82 | 0.165 | <2.2 × 10−16 |
| Hardwood species | 3 | 964.60 | −8883.6 | 123,09.1 | 936.03 | 0.366 | <2.2 × 10−16 |
| Wood flooring type | 1 | 647.47 | −14,546.6 | 6642.2 | 618.90 | 0.242 | <2.2 × 10−16 |
| Noble layer thickness | 1 | 1025.41 | −7793.1 | 13,395.7 | 996.84 | 0.390 | <2.2 × 10−16 |
Publisher’s Note: MDPI stays neutral with regard to jurisdictional claims in published maps and institutional affiliations. |
© 2022 by the authors. Licensee MDPI, Basel, Switzerland. This article is an open access article distributed under the terms and conditions of the Creative Commons Attribution (CC BY) license (https://creativecommons.org/licenses/by/4.0/).
Share and Cite
Sepliarsky, F.; Acuña, L.; Balmori, J.-A.; Martínez, R.D.; Spavento, E.; Keil, G.; Casado, M.; Martín-Ramos, P. Modeling of Falling Ball Impact Test Response on Solid, Veneer, and Traditional Engineered Wood Floorings of Several Hardwoods. Forests 2022, 13, 167. https://doi.org/10.3390/f13020167
Sepliarsky F, Acuña L, Balmori J-A, Martínez RD, Spavento E, Keil G, Casado M, Martín-Ramos P. Modeling of Falling Ball Impact Test Response on Solid, Veneer, and Traditional Engineered Wood Floorings of Several Hardwoods. Forests. 2022; 13(2):167. https://doi.org/10.3390/f13020167
Chicago/Turabian StyleSepliarsky, Fernando, Luis Acuña, José-Antonio Balmori, Roberto D. Martínez, Eleana Spavento, Gabriel Keil, Milagros Casado, and Pablo Martín-Ramos. 2022. "Modeling of Falling Ball Impact Test Response on Solid, Veneer, and Traditional Engineered Wood Floorings of Several Hardwoods" Forests 13, no. 2: 167. https://doi.org/10.3390/f13020167
APA StyleSepliarsky, F., Acuña, L., Balmori, J.-A., Martínez, R. D., Spavento, E., Keil, G., Casado, M., & Martín-Ramos, P. (2022). Modeling of Falling Ball Impact Test Response on Solid, Veneer, and Traditional Engineered Wood Floorings of Several Hardwoods. Forests, 13(2), 167. https://doi.org/10.3390/f13020167

