Structural Vulnerability Assessment of Heritage Timber Buildings: A Methodological Proposal
Abstract
1. Introduction
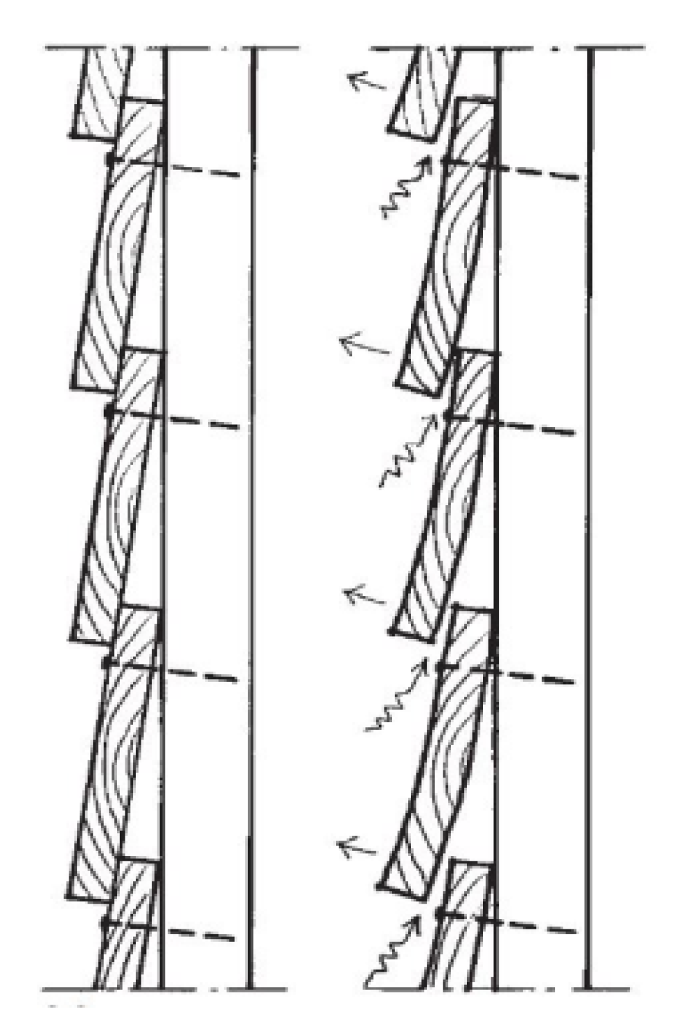
1.1. Risks and Their Effects
1.2. Structural Systems
1.3. Assessment Methods
2. In Situ Methods
2.1. Preliminary Survey
2.1.1. Visual Inspection
2.1.2. Geometric Survey
2.1.3. Recording Templates
2.2. Detailed Survey
Data Analysis
3. Ex Situ Methods
3.1. Seismic Vulnerability Assessment
3.2. Wind and Snow Vulnerability Assessment
3.3. Fire Risk Assessment
4. Proposed Methodology
5. Conclusions
Author Contributions
Funding
Conflicts of Interest
References
- Nilsson, T.; Rowell, R. Historical wood–structure and properties. J. Cult. Heritage 2012, 13, S5–S9. [Google Scholar] [CrossRef]
- Riggio, M.; D’Ayala, D.; Parisi, M.A.; Tardini, C. Assessment of heritage timber structures: Review of standards, guidelines and procedures. J. Cult. Heritage 2018, 31, 220–235. [Google Scholar] [CrossRef]
- Torero, J.L. Fire Safety of Historical Buildings: Principles and Methodological Approach. Int. J. Arch. Heritage 2019, 13, 926–940. [Google Scholar] [CrossRef]
- Larsen, K.E.; Marstein, N. Conservation of Historic Timber Structures. An Ecological Approach; Riksantikvaren: Oslo, Norway, 2016. [Google Scholar]
- Cândido, A.; Henriques, D.F. Inspection and diagnosis of timber structures by non-destructive methods. In Proceedings of the 9th International Symposium on the Conservation of Monuments in the Mediterranean Basin–MONUBASIN, Ankara, Turkey, 2–4 June 2014; pp. 469–480. [Google Scholar]
- Chorlton, B.; Gales, J. Fire performance of cultural heritage and contemporary timbers. Eng. Struct. 2019, 201, 109739. [Google Scholar] [CrossRef]
- Fatorić, S.; Seekamp, E. Are cultural heritage and resources threatened by climate change? A systematic literature review. Clim. Chang. 2017, 142, 227–254. [Google Scholar] [CrossRef]
- Kelman, I.; Haugen, A.; Mattsson, J. Preparations for climate change’s influences on cultural heritage. Int. J. Clim. Chang. Strateg. Manag. 2011, 3, 386–401. [Google Scholar]
- Bertolin, C. Preservation of Cultural Heritage and Resources Threatened by Climate Change. Geosciences 2019, 9, 250. [Google Scholar] [CrossRef]
- Riggio, M.; Dilmaghani, M. Structural health monitoring of timber buildings: A literature survey. Build. Res. Inf. 2019, 1–21. [Google Scholar] [CrossRef]
- Baas, E.J. A Methodological Approach for Structural Health Monitoring of Mass-Timber Buildings under Construction. Master’s Thesis, Oregon State University, Corvallis, OR, USA, 2020. [Google Scholar]
- Choidis, P.; Tsikaloudaki, K.; Kraniotis, D. Hygrothermal performance of log walls in a building of 18th century and prediction of climate change impact on biological deterioration. E3S Web Conf. 2020, 172, 15006. [Google Scholar] [CrossRef]
- Klein, A.; Grabner, M. Analysis of Construction Timber in Rural Austria: Wooden Log Walls. Int. J. Arch. Heritage 2015, 9, 553–563. [Google Scholar] [CrossRef]
- Aranha, C.A. Experimental and Numerical Assessment of the Seismic Behaviour of Log and Cross-Laminated Timber Systems. Ph.D. Thesis, Universidade do Minho, Braga, Portugal, 2016. [Google Scholar]
- Güçhan, N.Ş. History and Characteristics of Construction Techniques Used in Traditional Timber Ottoman Houses. Int. J. Arch. Heritage 2018, 12, 1–20. [Google Scholar] [CrossRef]
- Liu, Y.; Cai, J.; Zhang, J. Research on the Characteristics of Timber Frames of Tingtang in Residences of Ming and Qing Dynasties in Shanghai. Int. J. Arch. Heritage 2018, 14, 196–207. [Google Scholar] [CrossRef]
- Ortega, J.; Vasconcelos, G.; Rodrigues, H.; Correia, M.; Lourenço, P.B. Traditional earthquake resistant techniques for vernacular architecture and local seismic cultures: A literature review. J. Cult. Heritage 2017, 27, 181–196. [Google Scholar] [CrossRef]
- Stellacci, S.; Rato, V. Timber-Framing Construction in Herculaneum Archaeological Site: Characterisation and Main Reasons for its Diffusion. Int. J. Arch. Heritage 2019, 1–19. [Google Scholar] [CrossRef]
- Poletti, E. Characterization of the Seismic Behaviour of Traditional Timber Frame Walls. Ph.D. Thesis, Universidade do Minho Escola de Engenharia, Braga, Portugal, 2013. [Google Scholar]
- Cruz, H.; Yeomans, D.; Tsakanika, E.; Macchioni, N.; Jorissen, A.; Touza, M.; Mannucci, M.; Lourenço, P.B. Guidelines for on-site assessment of historic timber structures. Int. J. Arch. Heritage 2015, 9, 277–289. [Google Scholar] [CrossRef]
- Bertolini-Cestari, C.; Brino, G.; Cestari, L.; Crivellaro, A.; Marzi, T.; Pignatelli, O.; Rolla, S.; Violante, A. The Great Timber Roof of Porta Nuova Railway Station in Turin: The Role of Assessment and Diagnosis for Sustainable Repair and Conservation. Int. J. Arch. Heritage 2019, 13, 172–191. [Google Scholar] [CrossRef]
- Riggio, M.; Parisi, M.A.V.; Tardini, C.; Tsakanika, E.; D’Ayala, D.; Ruggieri, N.; Tampone, G.; Augelli, F. Existing timber structures: Proposal for an assessment template. In Proceedings of the SHATIS, Wroclaw, Poland, 9–11 September 2015; pp. 100–107. [Google Scholar]
- Palanti, S.; Pecoraro, E.; Scarpino, F. Wooden doors and windows in the Church of the Nativity: Evaluation of biotic and abiotic decay and proposals of interventions. J. Cult. Heritage 2012, 13, e82–e92. [Google Scholar] [CrossRef]
- Palanti, S.; Macchioni, N.; Paoli, R.; Feci, E.; Scarpino, F. A case study: The evaluation of biological decay of a historical hayloft in Rendena Valley, Trento, Italy. Int. Biodeterior. Biodegradation 2014, 86, 179–187. [Google Scholar] [CrossRef]
- Zhang, Y.; Ying, Z.; Shen, Z.; Nishino, T.; Chen, X. 3D laser scanning technology-based historic building mapping for historic preservation. Int. Rev. Spat. Plan. Sustain. Dev. 2015, 3, 53–67. [Google Scholar] [CrossRef]
- Riveiro, B.; Conde-Carnero, B.; Arias-Sánchez, P. Laser Scanning for the Evaluation of Historic Structures. In Handbook of Research on Seismic Assessment and Rehabilitation of Historic Structures; IGI Global: Vigo, Spain, 2015; pp. 765–793. [Google Scholar]
- Yang, X.; Koehl, M.; Grussenmeyer, P. Automating Parametric Modelling From Reality-Based Data by Revit Api Development; MDPI: Basel, Switzerland, 2018. [Google Scholar]
- Berg, A. Norske tømmerhus frå mellomalderen, bd. II: Hus for hus i Buskerud, Vestfold og Oppland; Landbruksforlaget: Oslo, Norway, 1990. [Google Scholar]
- Engineers, A.S.O.C. Seismic Evaluation and Retrofit of Existing Buildings: ASCE/SEI, 41-17; American Society of Civil Engineers: Reston, VA, USA, 2017. [Google Scholar]
- Rojah, C. ATC-20-1 Field Manual: Postearthquake Safety Evaluation of Buildings; Applied Technology Council: Redwood City, CA, USA, 2005. [Google Scholar]
- Agency, F.E.M. Rapid Visual Screening of Buildings for Potential Seismic Hazards: A Handbook; Government Printing Office: Washington, DC, USA, 2017.
- Baggio, C.; Bernardini, A.; Colozza, R.; Corazza, L. Manuale per la compilazione della scheda di 1 livello di rilevamento danno, pronto intervento e agibilità per edifici ordinari nell’emergenza post-sismica (AeDES). In Servizio Sismico Nazionale e Gruppo Nazionale Per La Difesa Dai Terremoti; Editrice Italiani nel Mondo srl-Roma: Roma, Italy, 2000; Volume 112. [Google Scholar]
- D’Ayala, D.; Speranza, E. Definition of collapse mechanisms and seismic vulnerability of historic masonry buildings. Earthq. Spectra 2003, 19, 479–509. [Google Scholar] [CrossRef]
- D’Ayala, D.; Galasso, C.; Putrino, V.; Fanciullacci, D.; Barucco, P.; Fanciullacci, V.; Bronzino, C.; Zerrudo, E.; Manalo, M.; Fradiquela, C. Assessment of the multi-hazard vulnerability of priority cultural heritage structures in the Philippines. In Proceedings of the 1st International Conference on Natural Hazards & Infrastructure, Chania, Greece, 28–30 June 2016. [Google Scholar]
- D’Ayala, D.; Branco, J.M.; Riggio, M.; Harte, A.; Kurz, J.; Descamps, T. Assessment, reinforcement and monitoring of timber structures: FPS Cost Action FP1101. In Proceedings of the SAHC2014–9th International Conference on Structural Analysis of Historical Constructions, Mexico City, Mexico, 14–17 October 2014. [Google Scholar]
- Kasal, B.; Tannert, T. In Situ Assessment of Structural Timber; Springer Science & Business Media: Berlin/Heidelberg, Germany, 2011; Volume 7. [Google Scholar]
- Niemz, P.; Mannes, D. Non-destructive testing of wood and wood-based materials. J. Cult. Heritage 2012, 13, S26–S34. [Google Scholar] [CrossRef]
- Kasal, B.; Anthony, R.W. Advances in in situ evaluation of timber structures. Progress Struct. Eng. Mater. 2004, 6, 94–103. [Google Scholar] [CrossRef]
- Ramos, L.F.; Aguilar, R.; Lourenço, P.B. Operational modal analysis of historical constructions using commercial wireless platforms. Struct. Heal. Monit. 2011, 10, 511–521. [Google Scholar] [CrossRef]
- Reynolds, T.; Casagrande, D.; Tomasi, R. Comparison of multi-storey cross-laminated timber and timber frame buildings by in situ modal analysis. Constr. Build. Mater. 2016, 102, 1009–1017. [Google Scholar] [CrossRef]
- Kouroussis, G.; Fekih, L.B.; Descamps, T. Assessment of timber element mechanical properties using experimental modal analysis. Constr. Build. Mater. 2017, 134, 254–261. [Google Scholar] [CrossRef]
- Rinn, F.; Schweingruber, F.-H.; Schär, E. Resistograph and X-ray density charts of wood. Comparative evaluation of drill resistance profiles and X-ray density charts of different wood species. Holzforsch. -Int. J. Biol. Chem. Phys. Technol. Wood 1996, 50, 303–311. [Google Scholar] [CrossRef]
- Van Roy, N.; Verstrynge, E.; Van Balen, K. Enhancement of the Identification of Historical Timber Element’s Local Stiffness Based on Resistance Drilling Measurements. In Structural Analysis of Historical Constructions; Springer: Cham, Switzerland, 2019; pp. 495–503. [Google Scholar]
- Cuartero, J.; Cabaleiro, M.; Sousa, H.S.; Branco, J.M. Tridimensional parametric model for prediction of structural safety of existing timber roofs using laser scanner and drilling resistance tests. Eng. Struct. 2019, 185, 58–67. [Google Scholar] [CrossRef]
- Nowak, T.P.; Jasieńko, J.; Hamrol-Bielecka, K. In situ assessment of structural timber using the resistance drilling method–Evaluation of usefulness. Constr. Build. Mater. 2016, 102, 403–415. [Google Scholar] [CrossRef]
- Cabaleiro, M.; Branco, J.M.; Sousa, H.S.; Conde, B. First results on the combination of laser scanner and drilling resistance tests for the assessment of the geometrical condition of irregular cross-sections of timber beams. Mater. Struct. 2018, 51, 99. [Google Scholar] [CrossRef]
- Piazza, M.; Riggio, M. Visual strength-grading and NDT of timber in traditional structures. J. Build. Apprais. 2008, 3, 267–296. [Google Scholar] [CrossRef]
- Lechner, T.; Sandin, Y.; Kliger, R. Assessment of density in timber using X-ray equipment. Int. J. Arch. Heritage 2013, 7, 416–433. [Google Scholar] [CrossRef]
- Parracha, J.; Pereira, M.F.; Maurício, A.; Faria, P.; Nunes, L. Using X-ray micro-CT to evaluate density loss in anobiid infested. In Proceedings of the IRG50 Scientific Conference on Wood Protection, Quebec City, QC, Canada, 12–16 May 2019. [Google Scholar]
- Schofield, E.J. Illuminating the past: X-ray analysis of our cultural heritage. Nat. Rev. Mater. 2018, 3, 285. [Google Scholar] [CrossRef]
- Ilharco, T.; Lechner, T.; Nowak, T. Assessment of timber floors by means of non-destructive testing methods. Constr. Build. Mater. 2015, 101, 1206–1214. [Google Scholar] [CrossRef]
- Drdácký, M.; Urushadze, S. Retrofitting of Imperfect Halved Dovetail Carpentry Joints for Increased Seismic Resistance. Buildings 2019, 9, 48. [Google Scholar] [CrossRef]
- Chadwick, A.V.; Berko, A.; Schofield, E.J.; Jones, A.M.; Mosselmans, J.F.W.; Smith, A.D. Application of Microfocus X-ray Beams from Synchrotrons in Heritage Conservation. Int. J. Arch. Heritage 2012, 6, 228–258. [Google Scholar] [CrossRef]
- Wedvik, B.; Stein, M.; Stornes, J.M.; Mattsson, J. On-site Radioscopic Qualitative Assessment of Historic Timber Structures: Identification and Mapping of Biological Deterioration of Wood. Int. J. Arch. Heritage 2016, 10, 646–662. [Google Scholar] [CrossRef]
- Schimleck, L.R. Near infrared spectroscopy: A rapid, non-destructive method for measuring wood properties and its application to tree breeding. N. Z. J. For. Sci. 2008, 38, 14–35. [Google Scholar]
- Kelley, S.S.; Rials, T.G.; Snell, R.; Groom, L.H.; Sluiter, A. Use of near infrared spectroscopy to measure the chemical and mechanical properties of solid wood. Wood Sci. Technol. 2004, 38, 257–276. [Google Scholar] [CrossRef]
- Sandak, A.; Sandak, J.; Riggio, M. Estimation of physical and mechanical properties of timber members in service by means of infrared spectroscopy. Constr. Build. Mater. 2015, 101, 1197–1205. [Google Scholar] [CrossRef]
- Faella, G.; Frunzio, G.; Guadagnuolo, M.; Donadio, A.; Ferri, L. The Church of the Nativity in Bethlehem: Non-destructive tests for the structural knowledge. J. Cult. Heritage 2012, 13, e27–e41. [Google Scholar] [CrossRef]
- Kandemir-Yucel, A.; Tavukcuoglu, A.; Caner-Saltik, E. In Situ assessment of structural timber elements of a historic building by infrared thermography and ultrasonic velocity. Infrared Phys. Technol. 2007, 49, 243–248. [Google Scholar] [CrossRef]
- Rivera-Gomez, C.; Galàn-Marin, C. In situ assessment of structural timber elements of a historic building by moiture content analyses and ultrasonic velocity tests. Int. J. Hous. Sci 2013, 37, 33–42. [Google Scholar]
- Carrillo, M.; Carreón, H. Ultrasonic determination of the elastic and shear modulus on aged wood. In Proceedings of the Nondestructive Characterization and Monitoring of Advanced Materials, Aerospace, Civil Infrastructure, and Transportation XIII, Denver, CO, USA, 4–7 March 2019; p. 109711Z. [Google Scholar]
- Kránitz, K.; Deublein, M.; Niemz, P. Determination of dynamic elastic moduli and shear moduli of aged wood by means of ultrasonic devices. Mater. Struct. 2014, 47, 925–936. [Google Scholar] [CrossRef]
- Rajčić, V.; Cola, C. Correlation between destructive and four NDT techniques tests on historic timber elements. In Proceedings of the 1st European Workshop of Cultural Heritage Protection Berlin, Berlin/Heidelberg, Germany, 18–24 June 2018. [Google Scholar]
- Rodríguez-Abad, I.; Martínez-Sala, R.; García-García, F.; Capuz-Lladró, R. Non-destructive methodologies for the evaluation of moisture content in sawn timber structures: Ground-penetrating radar and ultrasound techniques. Near Surf. Geophys. 2010, 8, 475–482. [Google Scholar] [CrossRef]
- Pérez-Gracia, V.; Santos-Assunçao, S.; Caselles, O.; Clapés, J.; Canas, J.A. Study of wood beams in buildings with ground penetrating radar. In Proceedings of the 15th International Conference on Ground Penetrating Radar, Brussels, Belgium, 30 June–4 July 2014; pp. 31–35. [Google Scholar]
- Martínez-Sala, R.; Rodríguez-Abad, I.; Diez Barra, R.; Capuz-Lladró, R. Assessment of the dielectric anisotropy in timber using the nondestructive GPR technique. Constr. Build. Mater. 2013, 38, 903–911. [Google Scholar] [CrossRef]
- Butnor, J.R.; Pruyn, M.L.; Shaw, D.C.; Harmon, M.E.; Mucciardi, A.N.; Ryan, M.G. Detecting defects in conifers with ground penetrating radar: Applications and challenges. For. Pathol. 2009, 39, 309–322. [Google Scholar] [CrossRef]
- Kordatos, E.; Exarchos, D.; Stavrakos, C.; Moropoulou, A.; Matikas, T. Infrared thermographic inspection of murals and characterization of degradation in historic monuments. Constr. Build. Mater. 2013, 48, 1261–1265. [Google Scholar] [CrossRef]
- Maierhofer, C.; Röllig, M.; Krankenhagen, R. Integration of active thermography into the assessment of cultural heritage buildings. J. Mod. Opt. 2010, 57, 1790–1802. [Google Scholar] [CrossRef]
- López, G.; Basterra, L.-A.; Ramón-Cueto, G.; Diego, A.d. Detection of singularities and subsurface defects in wood by infrared thermography. Int. J. Arch. Heritage 2014, 8, 517–536. [Google Scholar] [CrossRef]
- Kasal, B. Semi-destructive method for In-Situ evaluation of compressive strength of wood structural members. For. Prod. J. 2003, 53, 55–58. [Google Scholar]
- Kloiber, M.; Tippner, J.; Hrivnák, J. Mechanical properties of wood examined by semi-destructive devices. Mater. Struct. 2014, 47, 199–212. [Google Scholar] [CrossRef]
- Bobadilla, I.; Martínez, R.D.; Esteban, M.; Llana, D.F. Estimation of wood density by the core drilling technique. Holzforschung 2018, 72, 1051–1056. [Google Scholar] [CrossRef]
- Brites, R.D.; Lourenço, P.B.; Machado, J.S. A semi-destructive tension method for evaluating the strength and stiffness of clear wood zones of structural timber elements in-service. Constr. Build. Mater. 2012, 34, 136–144. [Google Scholar] [CrossRef]
- Sandak, J.; Sandak, A.; Riggio, M. Multivariate analysis of multi-sensor data for assessment of timber structures: Principles and applications. Constr. Build. Mater. 2015, 101, 1172–1180. [Google Scholar] [CrossRef]
- Sousa, H.S.; Sørensen, J.D.; Kirkegaard, P.H.; Branco, J.M.; Lourenço, P.B. On the use of NDT data for reliability-based assessment of existing timber structures. Eng. Struct. 2013, 56, 298–311. [Google Scholar] [CrossRef]
- Lourenço, P.B.; Sousa, H.S.; Brites, R.D.; Neves, L.C. In situ measured cross section geometry of old timber structures and its influence on structural safety. Mater. Struct. 2013, 46, 1193–1208. [Google Scholar] [CrossRef]
- Sousa, H.S.; Branco, J.M.; Lourenço, P.B. A holistic methodology for probabilistic safety assessment of timber elements combining onsite and laboratory data. Int. J. Arch. Heritage 2016, 10, 526–538. [Google Scholar] [CrossRef]
- Xue, J.; Xu, D.; Qi, L. Experimental seismic response of a column-and-tie wooden structure. Adv. Struct. Eng. 2019, 22, 1909–1922. [Google Scholar] [CrossRef]
- Chen, J.; Chen, Y.F.; Shi, X.; Zhao, Y.; Li, T. Hysteresis behavior of traditional timber structures by full-scale tests. Adv. Struct. Eng. 2018, 21, 287–299. [Google Scholar] [CrossRef]
- Xue, J.; Xu, D. Shake table tests on the traditional column-and-tie timber structures. Eng. Struct. 2018, 175, 847–860. [Google Scholar] [CrossRef]
- Li, X.; Zhao, J.; Ma, G.; Chen, W. Experimental study on the seismic performance of a double-span traditional timber frame. Eng. Struct. 2015, 98, 141–150. [Google Scholar] [CrossRef]
- Wu, Y.J.; Song, X.B.; Luo, L. Experimental Investigation on the Seismic Performance of a Chinese Traditional Wooden Pagoda. Appl. Mech. Mater. 2016, 858, 119–124. [Google Scholar] [CrossRef]
- Sandak, J.; Riggio, M.; Ruggieri, N.; Sandak, A. Damage progression analysis in a historical timber framed wall under cyclic loads through an image-based tracking method. Constr. Build. Mater. 2019, 199, 483–491. [Google Scholar] [CrossRef]
- Xue, J.; Wu, Z.; Zhang, F.; Zhao, H. Seismic damage evaluation model of Chinese ancient timber buildings. Adv. Struct. Eng. 2015, 18, 1671–1683. [Google Scholar] [CrossRef]
- Xue, J.; Xu, D.; Xia, H. Experimental Study on Seismic Performance of Through-Tenon Joints with Looseness in Ancient Timber Structures. Int. J. Arch. Heritage 2018, 14, 483–495. [Google Scholar] [CrossRef]
- Branco, J.M.; Lourenço, P.B.; Aranha, C.A. Seismic analysis of a 2-storey log house. Adv. Mater. Res. 2013, 778, 478–485. [Google Scholar] [CrossRef]
- Dutu, A.; Niste, M.; Spatarelu, I.; Dima, D.I.; Kishiki, S. Seismic evaluation of Romanian traditional buildings with timber frame and mud masonry infills by in-plane static cyclic tests. Eng. Struct. 2018, 167, 655–670. [Google Scholar] [CrossRef]
- Sieffert, Y.; Vieux-Champagne, F.; Grange, S.; Garnier, P.; Duccini, J.C.; Daudeville, L. Full-field measurement with a digital image correlation analysis of a shake table test on a timber-framed structure filled with stones and earth. Eng. Struct. 2016, 123, 451–472. [Google Scholar] [CrossRef]
- Huang, H.; Wu, Y.; Li, Z.; Sun, Z.; Chen, Z. Seismic behavior of Chuan-Dou type timber frames. Eng. Struct. 2018, 167, 725–739. [Google Scholar] [CrossRef]
- Vieux-Champagne, F.; Sieffert, Y.; Grange, S.; Polastri, A.; Ceccotti, A.; Daudeville, L. Experimental analysis of seismic resistance of timber-framed structures with stones and earth infill. Eng. Struct. 2014, 69, 102–115. [Google Scholar] [CrossRef]
- Xie, Q.; Wang, L.; Zhang, L.; Hu, W.; Zhou, T. Seismic behaviour of a traditional timber structure: Shaking table tests, energy dissipation mechanism and damage assessment model. Bull. Earthq. Eng. 2019, 17, 1689–1714. [Google Scholar] [CrossRef]
- Ma, L.; Xue, J.; Dai, W.; Zhang, X.; Zhao, X. Moment-rotation relationship of mortise-through-tenon connections in historic timber structures. Constr. Build. Mater. 2020, 232, 117285. [Google Scholar] [CrossRef]
- Li, S.; Zhou, Z.; Luo, H.; Milani, G.; Abruzzese, D. Behavior of traditional Chinese mortise-tenon joints: Experimental and numerical insight for coupled vertical and reversed cyclic horizontal loads. J. Build. Eng. 2020, 30, 101257. [Google Scholar] [CrossRef]
- Bassier, M.; Hadjidemetriou, G.; Vergauwen, M.; Van Roy, N.; Verstrynge, E. Implementation of Scan-to-BIM and FEM for the Documentation and Analysis of Heritage Timber Roof Structures. In Proceedings of the Digital Heritage, Progress in Cultural Heritage: Documentation, Preservation, and Protection, Nicosia, Cyprus, 31 October–5 November 2016; pp. 79–90. [Google Scholar]
- Pöchtrager, M.; Styhler-Aydın, G.; Döring-Williams, M.; Pfeifer, N. Digital reconstruction of historic roof structures: Developing a workflow for a highly automated analysis. Virtual Archaeol. Rev. 2018, 9, 21–33. [Google Scholar] [CrossRef]
- Bertolini Cestari, C.; Marzi, T. Conservation of historic timber roof structures of Italian architectural heritage: Diagnosis, assessment, and intervention. Int. J. Arch. Heritage 2018, 12, 632–665. [Google Scholar] [CrossRef]
- Milch, J.; Tippner, J.; Sebera, V.; Kunecký, J.; Kloiber, M.; Navrátil, M. The numerical assessment of a full-scale historical truss structure reconstructed with use of traditional all-wooden joints. J. Cult. Heritage 2016, 21, 759–766. [Google Scholar] [CrossRef]
- Ferreira, J.; Teixeira, M.; Duţu, A.; Branco, F.; Gonçalves, A. Experimental evaluation and numerical modelling of timber-framed walls. Exp. Tech. 2014, 38, 45–53. [Google Scholar] [CrossRef]
- Ceccotti, A.; Sandhaas, C.A.; Sandhaas, C. A proposal for a procedure to evaluate the seismic vulnerability of historic timber frame buildings. In Historical Earthquake-Resistant Timber Frames in the Mediterranean Area; Springer: Cosenza, Italy, 2015; pp. 105–118. [Google Scholar]
- Fritsch, E.; Sieffert, Y.; Algusab, H.; Grange, S.; Garnier, P.; Daudeville, L. Numerical analysis on seismic resistance of a two-story timber-framed structure with stone and earth infill. Int. J. Arch. Heritage 2018, 13, 820–840. [Google Scholar] [CrossRef]
- Dutu, A.; Yamazaki, Y.; Sakata, H. Shear spring model proposed for seismic evaluation of a timber framed masonry infilled wall. Eng. Struct. 2018, 167, 671–682. [Google Scholar] [CrossRef]
- Xie, Q.; Tong, Y.; Zhang, L.; Li, S.; Wang, L. Seismic Behavior of Chinese Traditional Timber Frames with Masonry Infill Wall: Experimental Tests and Hysteretic Model. Int. J. Arch. Heritage 2019, 1–15. [Google Scholar] [CrossRef]
- Guerra, S. Numerical Modelling of the Seismic Behavior of Timber-Framed Structures Based on Macro-Elements. 2017. Available online: https://www.researchgate.net/publication/323398505_Numerical_Modelling_of_the_seismic_behavior_of_timber-framed_structures_based_on_macro-elements (accessed on 10 August 2020).
- Kouris, L.A.S.; Kappos, A.J. Detailed and simplified non-linear models for timber-framed masonry structures. J. Cult. Heritage 2012, 13, 47–58. [Google Scholar] [CrossRef]
- Chand, B.; Kaushik, H.B.; Das, S. Lateral Load Behavior of Traditional Assam-Type Wooden House. J. Struct. Eng. 2019, 145, 04019072. [Google Scholar] [CrossRef]
- Ahmad, N.; Ali, Q.; Umar, M. Simplified engineering tools for seismic analysis and design of traditional Dhajji-Dewari structures. Bull. Earthq. Eng. 2012, 10, 1503–1534. [Google Scholar] [CrossRef]
- Lukic, R.; Poletti, E.; Rodrigues, H.; Vasconcelos, G. Numerical modelling of the cyclic behavior of timber-framed structures. Eng. Struct. 2018, 165, 210–221. [Google Scholar] [CrossRef]
- Galassi, S.; Ruggieri, N.; Tempesta, G. Seismic performance evaluation of timber—Framed masonry walls experimental tests and numerical modelling. In Historical Earthquake-Resistant Timber Frames in the Mediterranean Area; Springer: Cosenza, Italy, 2015; pp. 95–103. [Google Scholar]
- Grossi, P.; Sartori, T.; Giongo, I.; Tomasi, R. Analysis of timber log-house construction system via experimental testing and analytical modelling. Constr. Build. Mater. 2016, 102, 1127–1144. [Google Scholar] [CrossRef]
- Branco, J.M.; Araújo, J.P. Structural behaviour of log timber walls under lateral in-plane loads. Eng. Struct. 2012, 40, 371–382. [Google Scholar] [CrossRef]
- Bedon, C.; Rinaldin, G.; Fragiacomo, M. Non-linear modelling of the in-plane seismic behaviour of timber Blockhaus log-walls. Eng. Struct. 2015, 91, 112–124. [Google Scholar] [CrossRef]
- Sciomenta, M.; Bedon, C.; Fragiacomo, M.; Luongo, A. Shear Performance Assessment of Timber Log-House Walls under In-Plane Lateral Loads via Numerical and Analytical Modelling. Buildings 2018, 8, 99. [Google Scholar] [CrossRef]
- Scott, R.J.; Leichti, R.J.; Miller, T.H. Finite-element modeling of log wall lateral force resistance. For. Prod. J. 2005, 55, 48–54. [Google Scholar]
- Bedon, C.; Rinaldin, G.; Fragiacomo, M.; Noé, S. q-factor estimation for 3D log-house timber buildings via Finite Element analyses. Soil Dyn. Earthq. Eng. 2019, 116, 215–229. [Google Scholar] [CrossRef]
- Xie, Q.; Zhang, L.; Li, S.; Zhou, W.; Wang, L. Cyclic behavior of Chinese ancient wooden frame with mortise–tenon joints: Friction constitutive model and finite element modelling. J. Wood Sci. 2017, 64, 40–51. [Google Scholar] [CrossRef]
- Huan, J.; Ma, D.; Wang, W. Vulnerability Analysis of Ancient Timber Architecture by Considering the Correlation of Different Failure Modes. Math. Probl. Eng. 2018, 2018, 1–10. [Google Scholar] [CrossRef]
- Yeo, S.-Y.; Komatsu, K.; Hsu, M.-F.; Que, Z. Mechanical model for complex brackets system of the Taiwanese traditional Dieh-Dou timber structures. Adv. Struct. Eng. 2016, 19, 65–85. [Google Scholar] [CrossRef]
- Tsai, P.-H.; D’Ayala, D. Performance-based seismic assessment method for Taiwanese historic Dieh-Dou timber structures. Earthq. Eng. Struct. Dyn. 2011, 40, 709–729. [Google Scholar] [CrossRef]
- Chen, L.-K.; Li, S.-C.; Zhao, K.-P.; Chen, Z.-Y.; Song, T.; Zhang, L.; Jang, Z.-J. Experimental and Numerical Investigation on Seismic Performance of One-Way Straight Mortise–Tenon Joints Based on a Novel Method to Simulate Damage of Deteriorated Ancient Chinese Timber Buildings. J. Perform. Constr. Facil. 2020, 34, 04019119. [Google Scholar] [CrossRef]
- D’Ayala, D.F.; Tsai, P.H. Seismic vulnerability of historic Dieh–Dou timber structures in Taiwan. Eng. Struct. 2008, 30, 2101–2113. [Google Scholar] [CrossRef]
- D’ayala, D.; Meslem, A.; Vamvatsikos, D.; Porter, K.; Rossetto, T.; Crowley, H.; Silva, V. Guidelines for Analytical Vulnerability Assessment of Low/Mid-rise Buildings—Methodology; Vulnerability Global Component Project: Pavia, Italy, 2014. [Google Scholar]
- Mosoarca, M.; Keller, A.I.; Bocan, C. Failure analysis of church towers and roof structures due to high wind velocities. Eng. Fail. Anal. 2019, 100, 76–87. [Google Scholar] [CrossRef]
- Chun, Q.; Han, Y.; Jin, H.; Lin, Y. Research on Wind Vibration Performance of Chinese Early Traditional Timber Structure–A case study of the Main hall of Tianning Temple. MATEC Web Conf. 2019, 275, 01005. [Google Scholar] [CrossRef]
- Bertolini-Cestari, C.; Invernizzi, S.; Marzi, T.; Spano, A. Numerical survey, analysis and assessment of past interventions on historical timber structures: The roof of valentino castle. Wiad. Konserw. 2016, 45, 87–97. [Google Scholar]
- Candelas-Gutiérrez, A.; Borrallo-Jimenez, M. Methodology of Restoration of Historical Timber Roof Frames. Application to Traditional Spanish Structural Carpentry. Int. J. Arch. Heritage 2018, 14, 51–74. [Google Scholar] [CrossRef]
- Verbist, M.; Matos, F.T.; Branco, J.M. Structural and health assessment of historic timber roofs from the Convent of Christ in Tomar. J. Civ. Struct. Heal. Monit. 2019, 9, 491–511. [Google Scholar] [CrossRef]
- Parisi, M.A.; Chesi, C.; Tardini, C. Inferring Seismic Behavior From Morphology in Timber Roofs. Int. J. Arch. Heritage 2012, 6, 100–116. [Google Scholar] [CrossRef]
- Stephenson, V.; D’Ayala, D. Structural Response of Masonry Infilled Timber Frames to Flood and Wind Driven Rain Exposure. J. Perform. Constr. Facil. 2019, 33, 04019028. [Google Scholar] [CrossRef]
- Buchanan, A. The challenges of predicting structural performance in fires. Fire Saf. Sci. 2008, 9, 79–90. [Google Scholar] [CrossRef]
- Gernay, T.; Khorasani, N.E. Resilience of the Built Environment to Fire and Fire-Following-Earthquake. In Resilient Structures and Infrastructure; Springer: Singapore, 2019; pp. 417–449. [Google Scholar]
- National Fire Protection Association. NFPA 914. In Code for Fire Protection of Historic Structures; National Fire Protection Association: Quincy, MA, USA, 2019; Available online: https://www.nfpa.org/codes-and-standards/all-codes-and-standards/list-of-codes-and-standards/detail?code=914 (accessed on 10 August 2020).
- European Committee for Standardization. Eurocode 8: Design of structures for earthquake resistance. Part 2005, 1, 1998-1. [Google Scholar]
- European Committee for Standardization. Eurocode 1: Actions on Structures. 2006. Available online: http://www.unirc.it/documentazione/materiale_didattico/599_2008_92_1049.pdf (accessed on 10 August 2020).
- American Society of Civil Engineers. Minimum Design Loads for Buildings and Other Structures (ASCE/SEI 7-16); American Society of Civil Engineers: Reston, VA, USA, 2016. [Google Scholar]











| Test Type | Test Name | Brief Description of the Process | Output | Case Studies |
|---|---|---|---|---|
| NDT | Operational modal analysis | Accelerometers are installed at different heights of the building in order to detect ambient vibration | Dynamic characteristics of the building | [39,40,41] |
| NDT | Drilling resistance | A small-diameter needle-like drill penetrates the element in order to investigate its resistance as a function of depth | Density, biological defects, voids | [42,43,44,45,46] |
| NDT | Hardness | The penetration depth of a small needle with an applied constant load is evaluated | Density, biological defects, voids | [47] |
| NDT | X-ray radioscopy | X-ray penetrates the elements and reflects to produce several types of photographs from inside the wood | Density, biological defects, voids | [48,49,50,51,52,53,54] |
| NDT | NIR spectroscopy | Near infrared light invisible to the human eye is emitted onto the element, causing vibration in the molecules, which is detected | Mechanical properties, chemical properties, decay | [55,56,57,58,59] |
| NDT | Ultrasonic velocity | Propagation velocity of longitudinal and transversal waves of sound plays a key role in this method | Elasticity modulus, shear modulus, voids | [59,60,61,62] |
| NDT | Ground penetrating radar (GPR) | Electromagnetic waves are utilized, which can penetrate and propagate through timber elements in order to produce several types of photographs from inside the wood | Biological defect, voids | [63,64,65,66,67] |
| NDT | Thermography | This method is based on differences between heat conductivity of wood and defects | Delamination, voids | [59,68,69,70] |
| SDT | Core-drilling technique | A compression test is performed by a concave head by applying a load parallel to the grain of the specimen | Compressive strength, elasticity modulus in compression | [71,72,73] |
| SDT | Tension micro-specimen | A tensile test is performed by attaching the ends of the specimen to two blocks of the test equipment | Tension strength, elasticity modulus in tension | [74] |
© 2020 by the authors. Licensee MDPI, Basel, Switzerland. This article is an open access article distributed under the terms and conditions of the Creative Commons Attribution (CC BY) license (http://creativecommons.org/licenses/by/4.0/).
Share and Cite
Shabani, A.; Kioumarsi, M.; Plevris, V.; Stamatopoulos, H. Structural Vulnerability Assessment of Heritage Timber Buildings: A Methodological Proposal. Forests 2020, 11, 881. https://doi.org/10.3390/f11080881
Shabani A, Kioumarsi M, Plevris V, Stamatopoulos H. Structural Vulnerability Assessment of Heritage Timber Buildings: A Methodological Proposal. Forests. 2020; 11(8):881. https://doi.org/10.3390/f11080881
Chicago/Turabian StyleShabani, Amirhosein, Mahdi Kioumarsi, Vagelis Plevris, and Haris Stamatopoulos. 2020. "Structural Vulnerability Assessment of Heritage Timber Buildings: A Methodological Proposal" Forests 11, no. 8: 881. https://doi.org/10.3390/f11080881
APA StyleShabani, A., Kioumarsi, M., Plevris, V., & Stamatopoulos, H. (2020). Structural Vulnerability Assessment of Heritage Timber Buildings: A Methodological Proposal. Forests, 11(8), 881. https://doi.org/10.3390/f11080881

