Abstract
Heat treatment (HT) of a mixture of tannins and inorganic boron compounds showed effective results against wood decay organisms. Boron compounds play a critical role in the preservation of wood against wood decay organisms. The use of tannins and HT represents a relatively new environmentally friendly approach to the wood preservation industry. The aim of this study was to investigate the effect of tannin impregnation and HT on boron depletion, and termite and fungi resistance. Southern yellow pine (SYP) and yellow-poplar (YP) cube samples were used for this study. A mixture of condensed tannins from the Quebracho tree and disodium octaborate tetrahydrate (DOT) was injected into the specimens using a vacuum/pressure cycle, and the specimens were then heat-treated under N2 atmosphere for four hours at 190 °C to investigate both the tannin’s fixative ability to reduce boron leaching and the performance of the mixture against brown and white-rot fungi and termites. Tannins restricted boron leaching in 46% and 34% for SYP and YP, respectively, and also significantly increased the resistance against white-rot fungi for YP. Tannins and HT showed unpredictably good performance against termites. Tannins may be acting to denature proteins; in that case, fungal enzymes would be inhibited. This study revealed the importance of HT on a mixture of boron and tannins to decrease boron leaching and increase the durability of preservative systems.
1. Introduction
In the last few years, the interest in heat treated wood has increased due to the decline in production of naturally durable wood, the increase in demand for more environmentally benign wood preservative techniques, and governmental regulations. According to [1], heat treatment (HT) is a process performed between the temperatures of 160 °C and 260 °C for a period of 15 min to 24 h. While lower temperatures only slightly affect wood properties, higher temperatures result in cell wall degradation.
Heat treatment of wood specifically improves durability against wood decay fungi, decreases moisture absorption, decreases equilibrium moisture content, and increases dimensional stability. It also changes the appearance of the wood; it becomes darker. Heat treatment also increases weathering resistance and decreases both wettability and mechanical properties [2,3,4,5].
According to [6], a future aim of HT is improved decay resistance. This development will likely be based on a combination of boron impregnation with HT due to the proven efficacy of boron against termites and wood decay fungi and its low cost. Borates have been used for the pressure treatment of several wood products. Borate-treated wood products accept finishes and paints and are environmentally friendly. Although borates have many protective characteristics, their use in wood products is limited because of boron’s natural solubility in water, which leads to a rapid depletion of treated wood in outdoor exposed conditions [7,8,9,10,11,12].
Research has been conducted to address boron depletion. The most common strategies for reducing boron leaching are surface and envelope treatments, wood bulking, the use of water repellant, organo-boron compounds, a combination of biocides and non-biocidal agents, metallo-borates, stabilized boro-esters, protein borates, in situ polymerization and boron silicates [13,14,15,16,17,18,19].
Previous research has shown the potential of boron fixation by tannin auto condensation. The authors in [20] described a mechanism in which boric acid was partly fixed to a condensed tannin network with boron mobility being maintained. The authors in [21] leached a mixture of tannins and boron for 80 h. After the leaching period, a 30% loss of boron occurred. The trend of increased leaching continued as the experiment progressed.
The effectiveness of tannins toward fixing boron under high temperatures and for longer leaching periods has not yet been investigated. In addition, little research has been done regarding boron’s efficacy on multiple wood species. Broadening this spectrum is relevant in order to improve durability across the widely varying range of species and characteristics of wood [22,23,24].
In this study, a solution of disodium octaborate tetrahydrate (DOT) and condensed tannins were pressure and heat-treated into southern yellow pine and yellow-poplar with the aim of reducing boron leaching. In addition, performance against wood decay organisms was evaluated with the goal of assessing the role of thermal modification. The specific objectives of the work were to:
- (1)
- Test boron fixation through heat treatment and tannin impregnation.
- (2)
- Investigate wood decay after leaching against brown-rot fungus Gloeophyllum trabeum in southern yellow pine and white-rot fungus Trametes versicolor in yellow-poplar;
- (3)
- Determine eastern subterranean termite (Reticulitermes flavipes) attack on heat-treated southern yellow pine modified with tannins/borates.
2. Materials and Methods
2.1. Wood Samples
Southern yellow pine (Pinus spp., specific gravity = 0.56 ± 0.2) and yellow-poplar (Liriodendrum tulipifera, specific gravity = 0.47 ± 0.3) (hereafter referred to as SYP and YP, respectively) blocks (19 × 19 × 19 mm) (radial, tangential, longitudinal), free of visible defects and heartwood were chosen for the experiments. For the termite test, sapwood of SYP samples (25 mm × 25 mm × 6 mm) (r, t, l) (Pinus spp.), also free of visible defects, were chosen. The specimens were oven-dried at 103 ± 2 °C until they reached a constant weight. To minimize the effects of sample variation, 10 groups (5 treatments and two leaching periods) of samples with equal weight distributions were assigned.
Heat-treated, heat-treated with DOT, heat-treated with tannins, and heat-treated with tannins and DOT (hereafter called HT, HT DOT, HT Tannin, and HT T/DOT, respectively) treatment levels were tested.
2.2. Tannin Characterization
The tannin solution was prepared by dissolving 80 g of tannins into 800 mL of mechanically stirred deionized water heated at 60 °C. For the treatments that contained boron, 12 g of DOT was dissolved in the same manner as the tannin solution. Tannins came from the Quebracho tree (Aspidosperma spp.), acquired from Shellac Inc. (Napa, CA, USA) with 74–77% guaranteed purity. The impurities were water, amino acids, and monomeric and oligomeric carbohydrates. DOT was supplied by US Borax (Valencia, CA, USA). The pH and viscosity of the treating solutions are shown in Table 1. Viscosity measurements were performed at 60 rpm with spindle number 61 at 60 °C.
Table 1.
pH and viscosity of treating solutions. HT: heat treatment; T/DOT: tannins/disodium octaborate tetrahydrate.
The formulations were impregnated into wood using a full cell process with full vacuum (550+ mm. Hg) for 30 min to remove the majority of the air trapped inside the cell wall. The solution was injected into the retort under vacuum. The vacuum was reduced to atmosphere pressure, then pressure was increased to 0.88 MPa (9 kgf cm−2) for 30 min. After impregnation, the surfaces of the samples were wiped off to remove the excess of solution and retention was calculated by weight gain. The net tannin retention was calculated by multiplying the gross retention by 77%, which was the tannin purity. Samples were air dried for two weeks at ambient temperature (approximately 20 °C and 65% relative humidity) to complete DOT and tannin stabilization. After the air-drying period, samples were oven dried until a constant weight at 102 ± 3 °C and their anhydrous weight and volume after impregnation were recorded.
2.3. Thermal Modification
Thermal modification was performed in a 20 L chamber under a nitrogen atmosphere with pressure slightly above atmospheric pressure. Temperature at 190 °C was held for four hours for both species. The temperature was increased by 15 °C/min from ambient temperature. A total of 110 samples were heat treated (55 per species). The weight of the samples after thermal modification was obtained and recorded. The percentage mass loss (ML) of thermally modified samples was calculated using Equation (1).
where:
- m1 = initial oven-dry mass after impregnation, g;
- m2 = weight of samples after thermal modification, g.
2.4. Leaching Method
Leaching was performed on SYP and YP following the American Wood Protection Association—AWPA E10 (AWPA 2017) protocol with a modification that a leaching period of 15 days was used with removals taking place at 6 h, 24 h, 24 h, 24 h and 48 h, and thereafter at each 24 h interval until completion (15 days).
The SYP and YP leachates from HT DOT and HT T/DOT were saved for analysis. In total, 60 leachates were assessed for the presence of boron in a 50 mL plastic bottle (30 leachates for species and 15 per treatment). Leachates were microwave digested with a MARSXpress (CEM, Charlotte, NC, USA) and analyzed with an Agilent 7900 Inductively Coupled Plasma-Mass Spectrometry (Agilent, Pato Alto, CA, USA). The amount of boron present in the leachate was recorded in parts per million (ppm). The initial parts per million (ppmi) was obtained by Equation (2).
where:
- Wafter imp. = weight after impregnation, g;
- Wod = oven-dry weight before impregnation, g;
- C = concentration of the solution;
- 0.8 = volume of the solution, L.
Leaching was also performed on termite samples in the same manner. For the HT Tannin treatment, weight loss due to leaching (WLleach) was calculated according to Equation (3).
where:
- m2 = oven-dry weight before leaching, g.
- m3 = oven-dry weight after leaching, g.
2.5. Fungal Resistance
Samples from the treatments were tested to evaluate their resistance against biological attack. First, the samples were leached according to Section 2.4, then the procedures for the fungi test followed AWPA E10 [25]. The test was performed for 12 weeks. As AWPA E10 recommends and to obtain discriminant results, samples from SYP were subjected to brown-rot fungus (Gloeophyllum trabeum), and YP samples were exposed to white-rot fungus (Trametes versicolor). The weight loss due to fungal attack was the response variable selected to quantify the efficacy of the treatments. The following deviations from the standard were employed: for samples containing DOT, a thin, rigid, perforated grid was placed over the mycelium to prevent undesirable boron leaching when in contact with moisture from the feeder strips (Figure 1), and the blocks were added to the test only after total colonization and coverage of the feeder strip and mesh. The grid was sterilized to the same conditions recommended in AWPA E10 [25].
Figure 1.
Experimental setup for soil/block test.
2.6. Termite Resistance
The purpose of this study was to determine the termite resistance of SYP (treated and untreated, leached and unleached) when exposed to the Eastern subterranean termite (Reticulitermes flavipes) in a no-choice feeding test according to AWPA E1 [26] with the following noted modifications:
- Omitted AWPA E1sections 6.4.2 and 8.1.4–8.16 pertaining to termite mortality following testing. Tunneling presence, majority termite position, and termite mortality were approximated as per American Society for Testing and Materials—ASTMD3345 [27] sections 12.2.2–12.2.4.
- Omitted the moisture content portion of AWPA E1 6.3.1 and 6.3.2 as bottles maintained in the chamber do not require this procedure. This allowed us to avoid disrupting termite activity during the course of the study.
Termites were collected near Starkville, MS and kept under favorable conditions until testing was initiated. The termites used from this colony consisted of approximately 6% soldiers. At the end of the test, the weight loss and visual rating due to termite attack were calculated to assess the efficacy of the treatments.
2.7. Statistical Analysis
For the analysis of weight loss due to Gloeophyllum trabeum, Trametes versicolor, and termite attack, a visual rating scale was performed in an A × B factorial arrangement of treatments in a completely randomized design, where A was designed as the treatments and B was assigned as unleached and leached period. The mass loss due to heat treatment was analyzed as a completely randomized design where the sources of variation were treatment levels, namely, HT Tannin, HT, HT DOT and HT T/DOT.
The error term, εijk, was assumed to be normally distributed with a mean of 0, variance of σ2, and that it was independently and identically distributed (εijk~N (0, σ2)) for all experiments. In addition, least square difference (LSD) at the 0.05 significance level was performed as a post hoc test in cases where either the interactions or factors were detected as significant by the F-test (p ≤ 0.05) in the analysis of variance (ANOVA). All data was generated using SASTM software version 9.4 (SAS Institute, Cary, NC, USA).
3. Results and Discussion
3.1. Preservative Retention
Preservative retention level and penetration are two methods to quantify the impregnation of a treatment. Even with an effective preservative system, poor retention and penetration may lead to wood decay. Table 2 shows the retention levels of DOT and tannins for SYP and YP.
Table 2.
Initial and remaining DOT retention after leaching.
The AWPA U1–Commodity section A: Sawn products [28] recommends a minimum preservative retention of 4.5 kg/m3 and 2.7 kg/m3 of B2O3 where Coptotermes formosanus and Reticulitermes flavipes are active, respectively. The remaining retentions of 4.6 kg/m3 and 4 kg/m3 DOT (Table 2) for SYP and YP, respectively, can be converted into 3.1 kg/m3 and 2.7 kg/m3 of B2O3, which has been shown to protect the wood only against Reticulitermes flavipes [29].
Table 2 shows that initial retention levels for both HT DOT and HT T/DOT treatments were higher for YP. Several anatomical factors may have played key roles in the treatability characteristics, hence in the preservative retention. For hardwoods, most of the flow path mechanisms are through the vessels when they are not blocked by tyloses. In addition, fibers and ray parenchyma contribute to wood permeability; however, these are less influential. Longitudinal rays are not easily penetrated and, as such, their contribution is minimal. A major flow path mechanism for softwoods is through tracheid-wall bordered pit pairs. There are also effective but limited flow paths through ray tracheids to longitudinal tracheids and through resin canals; however, these are of secondary importance. The presence of earlywood and latewood can also affect the flow of fluid into wood. The earlywood of dried softwood is usually less permeable than the latewood, while in hardwoods, the reverse is generally true due to larger earlywood vessels [30].
3.2. Mass Loss
Figure 2 shows that SYP was more resistant to thermal degradation than YP with mass loss of 1.2% and 9.4%, respectively. These results align with previous research [31]. The highest mass loss was observed on HT DOT for both species. This may be due to the possible conversion of DOT into boric acid at high temperatures, leading to the acidic degradation of cell wall components.
Figure 2.
Mass loss due to heat treatment, (a) southern yellow pine and (b) yellow-poplar. 1 Means with the same letter are not statistically different at the 0.05 significance level.
In YP samples, the mass loss varied from 1.5% (HT Tannin) to 13.7% (HT DOT). This variation can be explained by the complex reactions taking place during heat treatment, such as the destruction of hemicellulose and degradation of the amorphous region of cellulose. These changes lead to an increase in lignin percentage content, waxes, general carbohydrates, resins, and terpenes [32,33,34].
The mass loss of samples impregnated with tannins was somewhat similar. The heat treatment resulted in 1.5% and 3.9% of mass loss for YP and SYP, respectively. This result may be due to the complexation of tannins with wood components, which would increase the thermal stability of cell wall components or tannins at 190 °C. In fact, the authors in [35] found that condensed tannins have a maximum thermal stability at 258 °C due to the presence of aromatic structures.
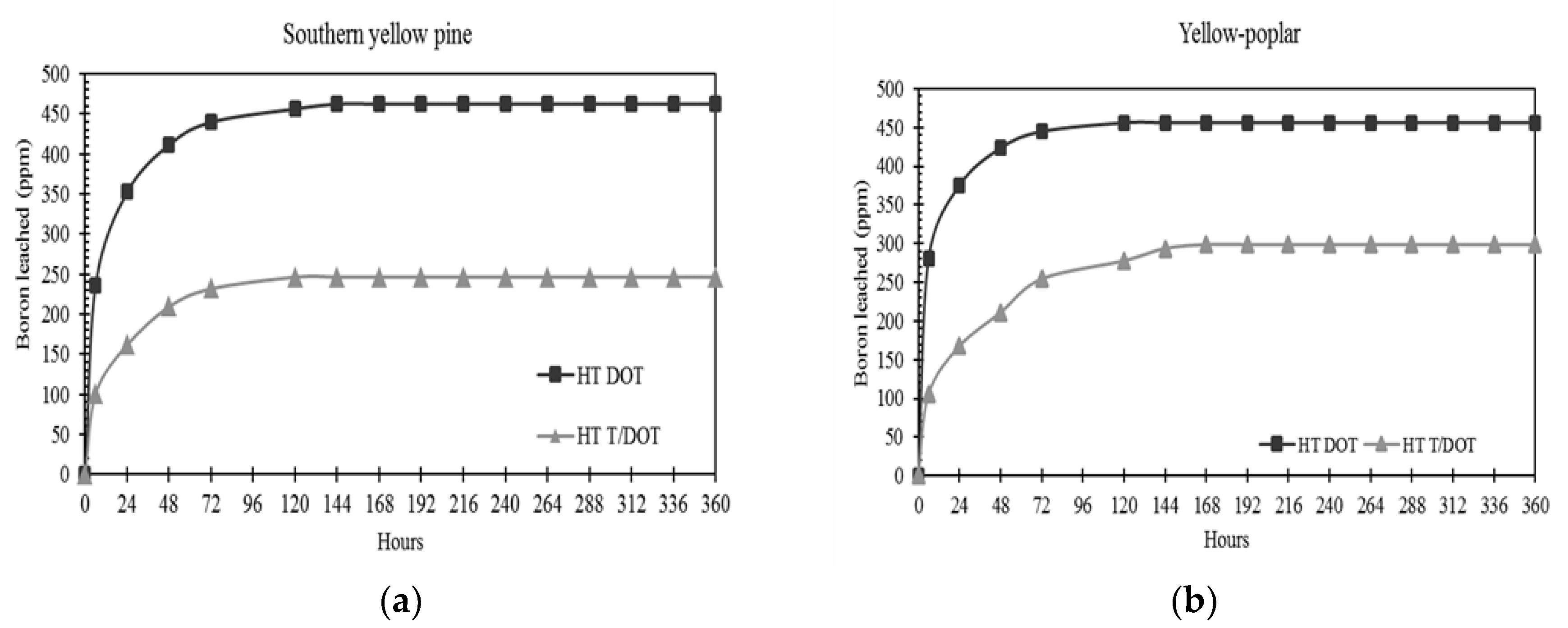
3.3. Boron Leaching Control
For both species, it is evident that tannins were able to prevent boron leaching (Figure 3). Somewhat better results were found for SYP. The total leaching for the SYP HT DOT treatment was 462.68 ppm, whereas HT T/DOT was 247.2 ppm. In the case of YP, HT DOT leached 456 ppm and HT T/DOT leached 298.41 ppm. Furthermore, the reductions in boron leaching when tannins were used were 46.5% and 34.5%, respectively.
Figure 3.
Cumulative boron leaching in southern yellow pine (a) and yellow-poplar (b).
There was a steep and typical loss of boron in the early stages of the leaching [36,37]. The flat curve after 120 h is due to undetectable levels of boron in the leachate. The detectable threshold for boron was 4 ppm. In this case, most of the boron leaching occurred in the first five days for both treatments and species. For HT T/DOT, the leaching might have occurred due to an incomplete polymerization of the tannins [21]. For HT DOT, leaching might have occurred because of unfixed or poorly fixed preservatives near the wood surface [38].
The efficacy of tannins in preventing boron leaching may be explained by the fact that after impregnation and heat treatment, boron was mixed with tannins and complexed deeper in the cell wall. In that case, boron would leach less. Also, research has indicated that tannins are able to chelate with several metals and form metal–tannin complexes. Such metals were aluminum, iron, copper, chromium and the metalloid boron [39]. Furthermore, boron would react through OH groups present in the B-ring of the tannin molecule by generating a tannin–boron complex resistant to leaching.
3.4. Fungi Resistance
Figure 4 shows the average weight loss (%) for SYP and YP. The interaction between treatment and leaching period for Trametes versicolor was not significant (p > 0.005). Thus, only the main effect was analyzed. This may be explained by the limited enzymatic activity in T. versicolor after heat treatment, leading to small differences in weight loss before and after leaching.
Figure 4.
Weight loss caused by Gloeophyllum trabeum (a) and Trametes versicolor (b) on SYP and YP, respectively. 1 Means with the same letter were not statistically significant different at α = 0.05.
Beech (Fagus sylvatica) heat treated at 240 °C for 8 h was found to undergo weight loss due to T. versicolor attack of approximately 5% [40]. Enzymatic activities were detected only in the first 30 days of exposure and ceased after this period. Practically no cellobiohydrolase activity were detected. Heat treatment seemed to disrupt the enzymatic activities involved in wood degradation, leading to low weight loss as in the case of this work. However, the weight loss of 20.6% for HT Tannin in YP may be explained by the ability of white-rot fungi to degrade lignin by producing ligninolytic enzymes [41].
Figure 4a shows that there was a significant decrease in weight loss for HT pine when compared to the control; however, averages still indicate high degradation. In contrast, HT yellow-poplar (Figure 4b) was highly resistant to fungal attack (with statistical difference) when compared to control samples. This durability improvement may be associated with alterations in the cell wall and wood porosity during thermal modification, which may have hindered fungal activity [42].
Tannins performed efficiently against brown-rot fungi for both leached and unleached treatment levels (Figure 4a). In the case of HT T/DOT, durability improvement was approximately twice as high as HT DOT after leaching. It was even better when tannins were tested alone, where the mass loss was 2% after leaching.
Condensed tannins most likely acted as inhibitors of enzymes such as cellulases and lignases through complexation after thermal modification [43]. This inhibitory performance was seen only for SYP, as the weight loss in YP samples was relatively high for HT Tannin (20.6%). The intense white-rot fungal degradation on YP may be due to the increase of laccase activity, which is a phenoloxidase enzyme produced by white-rot fungi [44,45,46]. In fact, phenol rings are present in the chemical composition of tannin molecules [47]. Furthermore, such composition favored the development of the fungi by catalyzing the oxidation of phenol rings and thereby increasing weight loss 3.5 times.
Table 3 shows the least square difference after the AWPA E1 protocol. This table should be carefully analyzed as there is no practical meaning in analyzing leaching in control and samples that were heat-treated for 15 days.
Table 3.
Weight loss caused by Reticulitermes flavipes.
The weight loss for heat-treated specimens was approximately 2.5 times smaller on average than on controls. The opposite is found in the literature [48,49]. Values up to three times higher for modified wood compared to controls have been reported in [48] for Pinus sylvestris L.
The increase in durability of heat-treated wood against termites may be associated with the change in the termite diet when compared to control samples. The flagellate species in the termite gut seem to be nutritionally specialized, each filling a specific niche in the digestion of cell wall components [48]. Thus, when the chemical structure of the wood is changed by heat treatment, it also changes how flagellate enzymes phagocytose and digest the wood, leading to starvation, although termites could continue to feed themselves from the wood.
Surprisingly, HT Tannin treatment was effective against termites. There was no statistical difference between unleached and leached treatments. This finding may be explained by the deep penetration of tannins into the cell wall with further stabilization after heat treatment with reduced leaching (Figure 5). Another theory is that the impregnation of wood with tannins increased the cell wall resistance to the mechanical and enzymatic attack of termites. In research by [50], Japanese cedar (Cryptomeria japonica) was impregnated with chemically modified mimosa tannins and then exposed to C. formosanus. The results indicated a weight loss of approximately 10%, which was higher than what was found in this study.
Figure 5.
Weight loss due to leaching in termite samples. (x = mean; horizontal line = median, whisker = range).
The interaction between treatments and leaching period for the visual grading scale was significant (p ≤ 0.001). As shown in Figure 6, there was no statistical difference in the visual rating scale of unleached HT T/DOT compared to HT DOT, where termites caused only a light attack on both. The effectiveness of tannins in restraining boron leaching impacted the durability of the HT T/DOT leached treatment, as at the end of the leaching procedure, the change in visual rating is clear (varying from 2.4 to 7, which corresponds to approximately three times better performance). In general, the attack upon control samples was intense and statistically significant as compared to HT samples, wherein the attack was moderate.
Figure 6.
Visual rating scale of specimens after the American Wood Protection Association EI experiment. Values followed by the same letter were not statistically different by Least Square Difference multiple comparison test at the 0.05 significance level.
4. Conclusions
Preservative retention after 15 days of water leaching was higher in SYP specimens than in YP, with both being protected against attack from Reticulitermes flavipes. Impregnation of SYP and YP with tannins and further heat treatment were able to prevent boron leaching by 46.5% and 34.5%, respectively, which is higher than previous research has found. Heat-treated wood showed intermediate-low durability against G. trabeum and high durability against T. versicolor. In contrast, HT Tannin was effective in hindering brown-rot fungus with weight loss as low as 2.0%. Surprisingly, treatment with tannins consistently performed well independent of leaching period, reaching a visual rating score of 7. As a whole, our findings demonstrate that condensed tannins contribute to boron stabilization. This additive has the potential to be included in a series of preservative systems due to its low price and environmental profile.
Author Contributions
Conceptualization, Methodology, Validation, Data Curation and Analysis, Writing: D.J.V.L., H.M.B., G.d.S.B. Supervision: H.M.B. Funding acquisition: H.M.B. Review: H.M.B. All authors have read and agreed to the published version of the manuscript.
Funding
This research was funded, in part, by the USDA National Institute of Food and Agriculture McIntire-Stennis project 1009413 and is a contribution of the Forest and Wildlife Research Center, Mississippi State University. It is under SBP 968 designation.
Conflicts of Interest
The authors declare no conflict of interest.
References
- Reinprecht, L. Wood Deterioration, Protection and Maintenance; Wiley Blackwell: Zvolen, Slovakia, 2016; 376p. [Google Scholar]
- Baysal, E.; Degirmentepe, S.; Simsek, H. Some surface properties of thermally modified Scots pine after artificial weathering. Maderas Cienc. Tecnol. 2014, 16, 355–364. [Google Scholar] [CrossRef]
- Esteves, B.M.; Pereira, H.M. Wood modification by heat treatment: A review. Bioresources 2009, 4, 370–404. [Google Scholar]
- Metsä-Kortelainen, S.; Paajanen, L.; Viitanen, H. Durability of thermally modified Norway spruce and Scots pine in above-ground conditions. Wood Mater. Sci. Eng. 2011, 6, 163–169. [Google Scholar] [CrossRef]
- Sivrikaya, H.; Ekinci, E.; Can, A.; Tasdelen, M.; Gokmen, K. Effect of heat treatment on the weathering and hardness properties of some wood species. In Proceedings of the 11th Meeting of the Northern European Network for Wood Sciences and Engineering (WSE), Poznan, Poland, 14–15 September 2015. [Google Scholar]
- Salman, S.; Petrissans, A.; Thevenon, M.F.; Dumarçay, S.; Gerardin, P. Decay and termites resistance of pine blocks impregnated with different additives and subjected to heat treatment. Eur. J. Wood Prod. 2016, 74, 37–42. [Google Scholar] [CrossRef]
- Morrell, J.J.; Love, C.S.; Freitas, C.M. Integrated Remedial Protection of Wood in Bridges. In Proceedings of the National Conference on Wood Transportation Structures, Madison, WI, USA, 23–25 October 1996. [Google Scholar]
- Ra, J.B.; Barnes, H.M.; Conners, T.E. Determination of boron diffusion coefficients in wood. Wood Fiber Sci. 2001, 33, 90–103. [Google Scholar]
- Obanda, D.N.; Shupe, T.F.; Barnes, H.M. Reducing leaching of boron-based wood preservatives—A review of research. Bioresour. Technol. 2008, 99, 7312–7322. [Google Scholar] [CrossRef]
- Caldeira, F. Boron in wood preservation a review in its physico-chemical aspects. Silva Lusit. 2010, 18, 179–196. [Google Scholar]
- Lebow, S.; Lebow, P.; Halverson, S. Penetration of Boron from Topically Applied Borate Solutions. For. Prod. J. 2010, 60, 13–22. [Google Scholar] [CrossRef]
- Salman, S.; Petrissans, A.; Thevenon, M.F.; Dumarçay, S.; Perrin, D.; Pollier, B.; Gerardin, P. Development of new wood treatments combining boron impregnation and thermo modification—Effect of additives on boron leachability. Eur. J. Wood Prod. 2014, 72, 355–365. [Google Scholar] [CrossRef]
- Hedley, M.; Page, D. Performance of boron treated radiata pine in above ground field tests in New Zealand. In Proceedings of the International Research Group on Wood Protection (IRG/WP 2006), Stockholm, Sweden, 18–22 June 2006. [Google Scholar]
- Hutter, F.G.; Lake, M.A.; Smith, D.L.; Robinson, P.H.; Bishop, F.E. Method for Treating Wood. U.S. Patent 2,194,827, 29 November 2004. [Google Scholar]
- Kartal, N.S.; Green, F. Leachability of boron from wood treated with natural and semi-synthetic polymers and calcium precipitating agent. Holz Roh Werkst. 2003, 61, 388–389. [Google Scholar] [CrossRef]
- Amburgey, T.L.; Freeman, M.H. An update on the efficacy and performance of a copper naphthenate—Borax preservative paste. In Proceedings of the International Conference on Utility Line Structures, FortCollins, CO, USA, 20–22 March 2000; pp. 33–37. [Google Scholar]
- Carr, J.M.; Duggan, P.J.; Humphrey, D.G.; Tyndall, E.M. Enhanced anti-fungal activity of the organo-soluble borate ester,tetra-n-butylammonium bis (ortho-hydroxymethylphenolato) borate. Aust. J. Chem. 2005, 58, 21–25. [Google Scholar] [CrossRef]
- Yalinkilic, M.K.; Gezer, E.D.; Takahashi, M.; Demirci, R.; Imamura, Y. Boron addition to non- or low-formaldehyde cross-linking reagents to enhance biological resistance and dimensional stability of wood. Holz Roh Werkst. 1999, 57, 351–357. [Google Scholar] [CrossRef]
- Yamaguchi, H. Silicic acid/boric acid complexes as ecologically friendly wood preservatives. For. Prod. J. 2005, 55, 88–92. [Google Scholar]
- Pizzi, A.; Baecker, A.W. A new boron fixation mechanism for non-toxic wood preservatives. Holzforschung 1996, 50, 507–510. [Google Scholar] [CrossRef]
- Tondi, G.; Wieland, S.; Wimmer, T.; Thevenon, M.F.; Pizzi, A.; Petutschnigg, A. Tannin-boron preservatives for wood buildings: Mechanical and fire properties. Eur. J. Wood Prod. 2012, 70, 689–696. [Google Scholar] [CrossRef]
- Zobel, B.J.; Van Buijtenen, J.P. Wood Variation—Its Causes and Control; Springer: Berlin, Germany, 1989; 363p. [Google Scholar]
- Peterson, C.; Wagner, T.; Mulrooney, J.; Shelton, T. Subterranean Termites; USDA Forest Service Home and Garden Bulletin; USDA: Starkville, MS, USA, 2006. [Google Scholar]
- Clausen, C.A. Biodeterioration of wood. In Wood Handbook: Wood As an Engineering Material; Ross, R., Ed.; Dept. of Agriculture, Forest Service, Forest Products Laboratory: Madison, WI, USA, 2010; pp. 14.1–14.16. [Google Scholar]
- AWPA. Laboratory Method for Evaluating the Decay Resistance of Wood-Based Materials against Pure Basidiomycete Cultures: Soil/Block Test; Book of Standards, E10; American Wood Protection Association: Birmingham, AL, USA, 2017; 624p. [Google Scholar]
- AWPA. Laboratory Methods for Evaluating the Termite Resistance of Wood-Based Materials: Choice and No-Choice Tests; Book of Standards, E1; American Wood Protection Association: Birmingham, AL, USA, 2017; 624p. [Google Scholar]
- ASTM. Standard Test Method for Laboratory Evaluation of Wood and Other Cellulosic Materials for Resistance to Termites; ASTM D3345; ASTM International: West Conshohocken, PA, USA, 2008. [Google Scholar]
- AWPA. Commodity Section A: Sawn Products; Book of Standards, U1; American Wood Protection Association: Birmingham, AL, USA, 2017; 624p. [Google Scholar]
- Lebow, S.; Shupe, T.; Woodward, B.; Crawford, D.; Via, B. Formosan and nativesubterranean termite attack of pressure-treated SPF wood species exposed in Louisiana. Wood Fiber Sci. 2006, 38, 609–620. [Google Scholar]
- Siau, J.F. Transport process in wood. In Springer Series in Wood Science; Timell, T.E., Ed.; Springer: New York, NY, USA, 1984. [Google Scholar]
- Gérardin, P. New alternatives for wood preservation based on thermal and chemical modification of wood a review. Ann. For. Sci. 2016, 73, 559–570. [Google Scholar] [CrossRef]
- Bourgois, J.; Bartholin, M.; Guyonnet, R. Thermal treatment of wood: Analysis of the obtained product. Wood Sci. Technol. 1989, 23, 303–310. [Google Scholar] [CrossRef]
- Mohareb, A.; Sirmah, P.; Desharnais, L.; Dumarçay, S.; Pétrissans, M.; Gérardin, P. Effect of extractives on conferred and natural durability of Cupressus lusitanica heartwood. Ann. For. Sci. 2010, 67, 504. [Google Scholar] [CrossRef][Green Version]
- Özgenç, Ö.; Durmaz, S.; Boyaci, I.H.; Eksikocak, H. Determination of chemical changes in heat-treated wood using ATR-FTIR and FT-Raman spectrometry. Spectrochim. Acta Part A Mol. Biomol. Spectr. 2017, 171, 395–400. [Google Scholar] [CrossRef]
- Lisperguer, J.; Saravia, Y.; Vergara, E. Structure and Thermal Behavior of Tannins from Acacia Dealbata Bark and Their Reactivity toward Formaldehyde. J. Chil. Chem. Soc. 2016, 61, 3188–3190. [Google Scholar] [CrossRef]
- Lebow, S.; Lebow, P.; Hirth, K.C. Technical note: Comparison of accelerated methods for evaluating leaching from preservative-treated wood. Wood Fiber Sci. 2017, 49, 93–104. [Google Scholar]
- Lebow, S. Leaching of Wood Preservative Components and Their Mobility in the Environment. Summary of Pertinent Literature; Department of Agriculture, Forest Service, Forest Products Laboratory: Madison, WI, USA, 1996; 36p. [Google Scholar]
- Slabbert, N. Plant polyphenols: Synthesis, properties, significance. In Plant Polyphenols: Synthesis, Properties; Hemingway, R.W., Laks, P.E., Eds.; Plenum Press: New York, NY, USA, 1992; pp. 421–436. [Google Scholar]
- Lekounougou, S.; Pétrissans, M.; Jacquot, J.P.; Gelhaye, E.; Gérardin, P. Effect of heat treatment on extracellular enzymatic activities involved in beech wood degradation by Trametes versicolor. Wood Sci. Technol. 2009, 43, 331–341. [Google Scholar] [CrossRef]
- Lekounougou, S.; Kocaefe, D. Bioresistance of thermally modified Populus tremuloides (North American Aspen) wood against four decay fungi. Int. Wood Prod. J. 2013, 4, 46–51. [Google Scholar] [CrossRef]
- Kapich, A.N.; Prior, B.A.; Botha, A.; Galkin, S.; Lundell, T.; Hatakka, A. Effect of lignocellulose-containing substrates on production of ligninolytic peroxidades in submerged cultures of Phanerochaete chrysosporium. Enzym. Microb. Technol. 2004, 34, 187–195. [Google Scholar] [CrossRef]
- Ximenes, E.; Kim, Y.; Mosier, N.; Dien, B.; Ladisch, M. Deactivation of cellulases by phenols. Enzym. Microb. Technol. 2011, 48, 54–60. [Google Scholar] [CrossRef]
- Blanchette, R.A. Manganese accumulation in wood decayed by rot fungi. Phytopathology 1984, 74, 725–730. [Google Scholar] [CrossRef]
- Hatakka, A. Lignin-modifying enzymes from selected white-rot fungi: Production and role from in lignin degradation. FEMS Microbiol. Rev. 1994, 13, 125–135. [Google Scholar] [CrossRef]
- Tuor, U.; Winterhalter, K.; Fiechter, A. Enzymes of white–rot fungi involved in lignin degradation and ecological determinants for wood decay. J. Biotechnol. 1995, 41, 1–17. [Google Scholar] [CrossRef]
- Bianchi, S.; Kroslakova, I.; Janzon, R.; Mayer, I.; Saake, B.; Pichelin, F. Characterization of condensed tannins and carbohydrates in hot water bark extracts of European softwood species. Phytochemistry 2015, 120, 53–61. [Google Scholar] [CrossRef]
- Salman, S.; Thévenom, M.F.; Pétrissans, A.; Dumarçay, S.; Candelier, K.; Gérardin, P. Improvement of the durability of heat-treated wood against termites. Maderas. Cienc. Tecnol. 2017, 19, 317–328. [Google Scholar] [CrossRef]
- Shi, J.L.; Kocaefe, D.; Amburgey, T.; Zhang, J.L. A comparative study on brown-rot fungus decay and subterranean termite resistance of thermally-modified and ACQ-C-treated wood. Holz Roh Werkst. 2007, 65, 353–358. [Google Scholar] [CrossRef]
- Bignell, D.E.; Roisin, Y.; Lo, N. Biology of Termites: A Modern Synthesis; Springer: Dordrecht, The Netherlands, 2011; 576p. [Google Scholar]
- Yamaguchi, H.; Yoshino, K.; Kido, A. Termite resistance and wood-penetrability of chemically modified tannin and tannin-copper complexes as wood preservatives. J. Wood Sci. 2002, 48, 331–337. [Google Scholar] [CrossRef]
© 2020 by the authors. Licensee MDPI, Basel, Switzerland. This article is an open access article distributed under the terms and conditions of the Creative Commons Attribution (CC BY) license (http://creativecommons.org/licenses/by/4.0/).





