Acoustic Behavior of Hollow Blocks and Bricks Made of Concrete Doped with Waste-Tire Rubber
Abstract
:1. Introduction
2. Materials and Methods
2.1. Materials
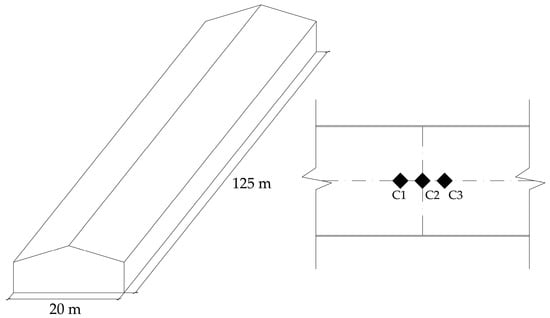
2.2. Cell Geometry and Composition
2.3. Equipment
- Sound analyser BRÜEL & KJAER, model 2260.
- Sound calibrator BRÜEL & KJAER Type 4231.
- Noise generator BEHRINGER ULTRACURVE, model DSP-8000.
- Tapping machine BRÜEL & KJAER, model 3207.
- Standard microphone.
- Measurement equipment were all properly certified.
2.4. Methodology
2.4.1. Reverberation Time
2.4.2. Airborne Sound Insulation
- Position A: at 1.50 m from the centre of perimeter wall A (wall parallel to the main direction of the lattice joists of the slabs).
- Position B: at 1.50 m from the centre of perimeter wall B (wall perpendicular to the main direction of the lattice joists of the slabs).
- Position C: at 1.50 m from the centre of the top slab.
2.4.3. Impact Sound Insulation
3. Results
- Relative improvement of the Standardized Level Difference:RIDnTCi = (DnTCi − DnTC1)/DnTC1
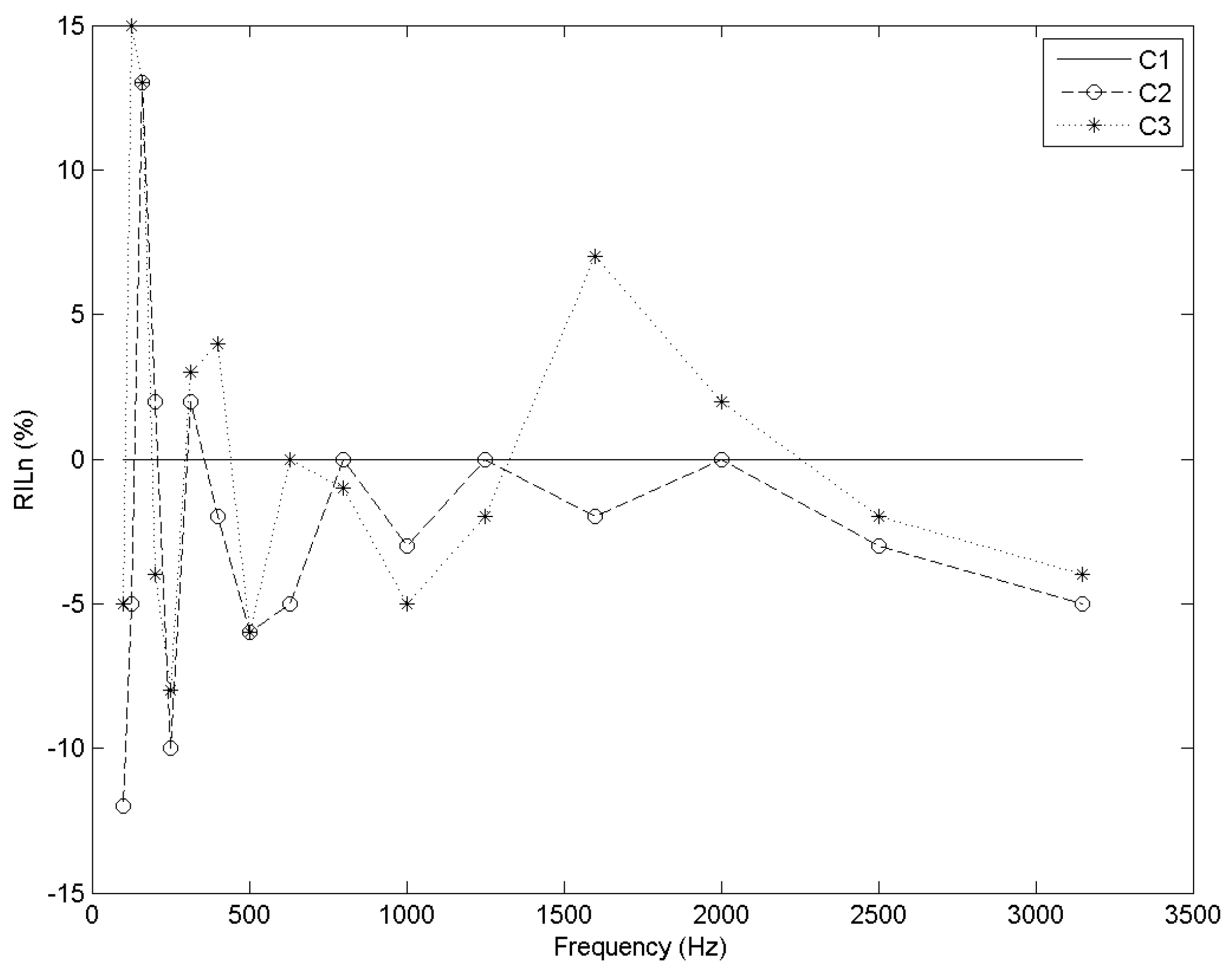
- and Relative improvement of the Normalized Impact Sound Pressure Level:RILnTCi = (LnTCi − LnC1)/LnC1
3.1. Airborne Sound Insulation
3.2. Impact Sound Insulation
4. Conclusions
Acknowledgments
Author Contributions
Conflicts of Interest
References
- Duan, N. Cleaner Production, Eco-Industry and Circular Economy. Res. Environ. Sci. Available online: http://en.cnki.com.cn/Article_en/CJFDTOTAL-HJKX200106000.htm (accessed on 24 November 2016).
- Andersen, M.S. An introductory note on the environmental economics of the circular economy. Sustain. Sci. 2007, 2, 133–140. [Google Scholar] [CrossRef]
- MacArthur, E. Towards a Circular Economy—Economic and Business Rationale for an Accelerated Transition; Ellen MacArthur Foundation: Cowes, UK, 2013. [Google Scholar]
- De Melo, A.B.; Silva, E.P. Bloques de hormigón ligero con áridos reciclados de EVA: Una contribución a la eficiencia térmica de paredes exteriores de edificios. Mater. Constr. 2013, 63, 479–495. [Google Scholar] [CrossRef]
- Munoz Guzman, A.D.; Trotta Munno, M.G. Design of a brick with sound absorption properties based on plastic waste & sawdust. IEEE Access 2015, 3, 1260–1271. [Google Scholar]
- Sodupe-Ortega, E.; Fraile-Garcia, E.; Ferreiro-Cabello, J.; Sanz-Garcia, A. Evaluation of crumb rubber as aggregate for automated manufacturing of rubberized long hollow blocks and bricks. Constr. Build. Mater. 2016, 106, 305–316. [Google Scholar] [CrossRef]
- Fraile-Garcia, E.; Ferreiro-cabello, J.; Martinez-camara, E.; Jimenez-macias, E. Adaptation of methodology to select structural alternatives of one-way slab in residential building to the guidelines of the European Committee for Standardization (CEN/TC 350). Environ. Impact Assess. Rev. 2015, 55, 144–155. [Google Scholar] [CrossRef]
- Yu, C.J.; Kang, J. Environmental impact of acoustic materials in residential buildings. Build. Environ. 2009, 44, 2166–2175. [Google Scholar] [CrossRef]
- Niroumand, H.; Kassim, K.A. Comparison of compressive strength in mud bricks with shred tires and concrete particles as sustainable materials. Electron. J. Geotech. Eng. 2010, 15, 1151–1158. [Google Scholar]
- Niroumand, H.; Millona, K. Mud bricks and shred geogrids as sustainable material. Geotech. News 2010, 28, 59–61. [Google Scholar]
- Cheung, K.H.; Koshy, P.; Inglis, C.; Numata, T.; Sorrell, C.C. Preliminary analysis of gas emissions during firing of clay bricks containing end-of-life rubber tyres. J. Aust. Ceram Soc. 2015, 51, 9–17. [Google Scholar]
- Herrero, S.; Mayor, P.; Hernández-Olivares, F. Influence of proportion and particle size gradation of rubber from end-of-life tires on mechanical, thermal and acoustic properties of plaster–rubber mortars. Mater. Des. 2013, 47, 633–642. [Google Scholar] [CrossRef]
- Ganjian, E.; Khorami, M.; Maghsoudi, A.A. Scrap-tyre-rubber replacement for aggregate and filler in concrete. Constr. Build. Mater. 2009, 23, 1828–1836. [Google Scholar] [CrossRef]
- Segre, N.; Joekes, I. Use of tire rubber particles as addition to cement paste. Cem. Concr. Res. 2000, 30, 1421–1425. [Google Scholar] [CrossRef]
- Khaloo, A.R.; Dehestani, M.; Rahmatabadi, P. Mechanical properties of concrete containing a high volume of tire-rubber particles. Waste Manag. 2008, 28, 2472–2482. [Google Scholar] [CrossRef] [PubMed]
- Panda, K.C.; Parhi, P.S.; Jena, T. Scrap-Tyre-Rubber replacement for aggregate in cement concrete: Experimental study. Int. J. Earth Sci. Eng. 2012, 5, 1692–1701. [Google Scholar]
- Wang, F.; Ding, J.; Liu, F.; Xu, Y. The experiment of basic mechanical properties of CRB masonry. Shenyang Jianzhu Daxue Xuebao (Ziran Kexue Ban)/J. Shenyang Jianzhu Univ. Nat. Sci. 2013, 29, 50–55. [Google Scholar]
- Wang, F.; Kang, T.; Yang, Y.; Lu, S. Seismic behaviour of the wall-frame structure infilled with rubber concrete brick. Shenyang Jianzhu Daxue Xuebao (Ziran Kexue Ban)/J. Shenyang Jianzhu Univ. Nat. Sci. 2015, 31, 661–670. [Google Scholar]
- Zhu, H.; Carlson, D.D. A spray based crumb rubber technology in highway noise reduction application. J. Solid Waste Technol. Manag. 2001, 27, 27–32. [Google Scholar]
- Han, Z.; Chunsheng, L.; Kombe, T.; Thong-On, N. Crumb rubber blends in noise absorption study. Mater. Struct. 2008, 41, 383–390. [Google Scholar] [CrossRef]
- Huang, Y.; Bird, R.N.; Heidrich, O. A review of the use of recycled solid waste materials in asphalt pavements. Resour. Conserv. Recycl. 2007, 52, 58–73. [Google Scholar] [CrossRef]
- Demir, F.; Yesilata, B.; Turgut, P.; Bulut, H.; Isiker, Y. Investigation of the effects of pH, aging and scrap tire content on the dissolution behaviors of new scrap tire-concrete mixture structures. J. Clean. Prod. 2015, 93, 38–46. [Google Scholar] [CrossRef]
- Santos, R.M.; Ferreira, F.B.S.; Panzera, T.H.; Borges, P.H.R.; Scarpa, F. Cementitious composites with rubber particles from recycled tyres: Physical and mechanical properties. J. Sustain. Dev. 2015, 8, 1–15. [Google Scholar] [CrossRef]
- Ahmed, A. Environmental properties of waste and by-product materials used in constructions. J. Solid Waste Technol. Manag. 2014, 40, 160–169. [Google Scholar] [CrossRef]
- Pedro, D.; de Brito, J.; Veiga, R. Mortars made with fine granulate from shredded tires. J. Mater. Civ. Eng. 2013, 25, 519–529. [Google Scholar] [CrossRef]
- Nadal Gisbert, A.; Gadea Borrell, J.M.; Parres García, F.; Juliá Sanchis, E.; Crespo Amorós, J.E.; Segura Alcaraz, J.; Salas Vicente, F. Analysis behaviour of static and dynamic properties of Ethylene-Propylene-Diene-Methylene crumb rubber mortar. Constr. Build. Mater. 2014, 50, 671–682. [Google Scholar] [CrossRef]
- Ahangar-Asr, A.; Faramarzi, A.; Javadi, A.A.; Giustolisi, O. Modelling mechanical behaviour of rubber concrete using evolutionary polynomial regression. Eng. Comput. 2011, 28, 492–507. [Google Scholar] [CrossRef]
- Dijckmans, A.; Vermeir, G. Development of a hybrid wave based-transfer matrix model for sound transmission analysis. J. Acoust. Soc. Am. 2013, 133, 2157–2168. [Google Scholar] [CrossRef] [PubMed]
- International Organization for Standardization. Acoustics—Measurement of Sound Insulation in Buildings and of Building Elements—Part 3: Laboratory Measurements of Airborne Sound Insulation of Building Elements—Amendment 1: Installation Guidelines for Lightweight Twin Leaf Partitions; ISO 140-3:1995/A1:2005; International Organization for Standardization: Geneva, Switzerland, 2005. [Google Scholar]
- International Organization for Standardization. Acoustics—Measurement of Sound Insulation in Buildings and of Building Elements—Part 4: Field Measurements of Airborne Sound Insulation between Rooms; ISO 140-4:1999; International Organization for Standardization: Geneva, Switzerland, 1999. [Google Scholar]
- International Organization for Standardization. Acoustics—Measurement of Sound Insulation in Buildings and of Building Elements—Part 5: Field Measurements of Airborne Sound Insulation of Façade Elements and Façades; ISO 140-5:1999; International Organization for Standardization: Geneva, Switzerland, 1999. [Google Scholar]
- International Organization for Standardization. Acoustics—Measurement of Sound Insulation in Buildings and of Building Elements—Part 7: Field Measurements of Impact Sound Insulation of Floors; ISO 140-7:1999; International Organization for Standardization: Geneva, Switzerland, 1999. [Google Scholar]
- International Organization for Standardization. Acoustics—Measurements of Sound Insulation in Buildings and of Building Elements—Part 9: Laboratory Measurement of Room-to-Room Airborne Sound Insulation of a Suspended Ceiling with a Plenum above It; ISO 140-9:1985; International Organization for Standardization: Geneva, Switzerland, 1985. [Google Scholar]
- International Organization for Standardization. Acoustics—Measurement of Sound Insulation in Buildings and of Building Elements—Part 10: Laboratory Measurement of Airborne Sound Insulation of Small Building Elements; ISO 140-10:1991; International Organization for Standardization: Geneva, Switzerland, 1991. [Google Scholar]
- International Organization for Standardization. Acoustics—Rating of Sound Insulation in Buildings and of Building Elements—Part 1: Airborne Sound Insulation; ISO 717-1:2013; International Organization for Standardization: Geneva, Switzerland, 2013. [Google Scholar]
- International Organization for Standardization. Acoustics—Rating of Sound Insulation in Buildings and of Building Elements—Part 2: Impact Sound Insulation; ISO 717-2:2013; International Organization for Standardization: Geneva, Switzerland, 2013. [Google Scholar]
- International Electrotechnical Commission. Electroacoustics—Sound Calibrators. Spanish Association for Standardization), AENOR; ICE 60942:2003; International Electrotechnical Commission: Geneva, Switzerland, 2003. [Google Scholar]
- International Organization for Standardization. Acoustics—Measurements of the Reverberation Time of Rooms with Reference to Other Acoustical Parameters; ISO 3382:2001; International Organization for Standardization: Geneva, Switzerland, 2001. [Google Scholar]












| Materials | M1 | M2 | M3 |
|---|---|---|---|
| Waste-tire rubber (%) | 0 | 10 | 20 |
| Average dry density (kg/m3) | 2036.8 | 1930.3 | 1847.5 |
| Cell Type | Mixture | ||||
|---|---|---|---|---|---|
| Bricks | Hollow Blocks | Lattice Joists | Support Walls | Concrete Mortar | |
| C1 | M1 | M1 | M1 | M1 | M1 |
| C2 | M2 | M2 | M1 + rubber layer | M1 | M1 |
| C3 | M3 | M3 | M1 + rubber layer | M1 | M1 |
© 2016 by the authors; licensee MDPI, Basel, Switzerland. This article is an open access article distributed under the terms and conditions of the Creative Commons Attribution (CC-BY) license (http://creativecommons.org/licenses/by/4.0/).
Share and Cite
Fraile-Garcia, E.; Ferreiro-Cabello, J.; Defez, B.; Peris-Fajanes, G. Acoustic Behavior of Hollow Blocks and Bricks Made of Concrete Doped with Waste-Tire Rubber. Materials 2016, 9, 962. https://doi.org/10.3390/ma9120962
Fraile-Garcia E, Ferreiro-Cabello J, Defez B, Peris-Fajanes G. Acoustic Behavior of Hollow Blocks and Bricks Made of Concrete Doped with Waste-Tire Rubber. Materials. 2016; 9(12):962. https://doi.org/10.3390/ma9120962
Chicago/Turabian StyleFraile-Garcia, Esteban, Javier Ferreiro-Cabello, Beatriz Defez, and Guillermo Peris-Fajanes. 2016. "Acoustic Behavior of Hollow Blocks and Bricks Made of Concrete Doped with Waste-Tire Rubber" Materials 9, no. 12: 962. https://doi.org/10.3390/ma9120962
APA StyleFraile-Garcia, E., Ferreiro-Cabello, J., Defez, B., & Peris-Fajanes, G. (2016). Acoustic Behavior of Hollow Blocks and Bricks Made of Concrete Doped with Waste-Tire Rubber. Materials, 9(12), 962. https://doi.org/10.3390/ma9120962

