The Use of Acoustic Emission to Determine the Safe Range of Operational Stresses of 3D-Printed ABS Polymer Components
Highlights
- All variables significantly affect tensile strength; filling degree is most influential.
- The maximum tensile strength is observed in the 0.24 mm layer, at 30°, with a 100% fill, and at 275 °C, with a concentric pattern.
- The AE method detects elastic–visco-plastic transition 2–5 s earlier than the static tensile test.
- The critical stress for ABS parts is ≈6 MPa; exceeding this risks unsafe operation.
- An AE amplitude ≥30 dB is a key indicator of material state transition.
Abstract
1. Introduction
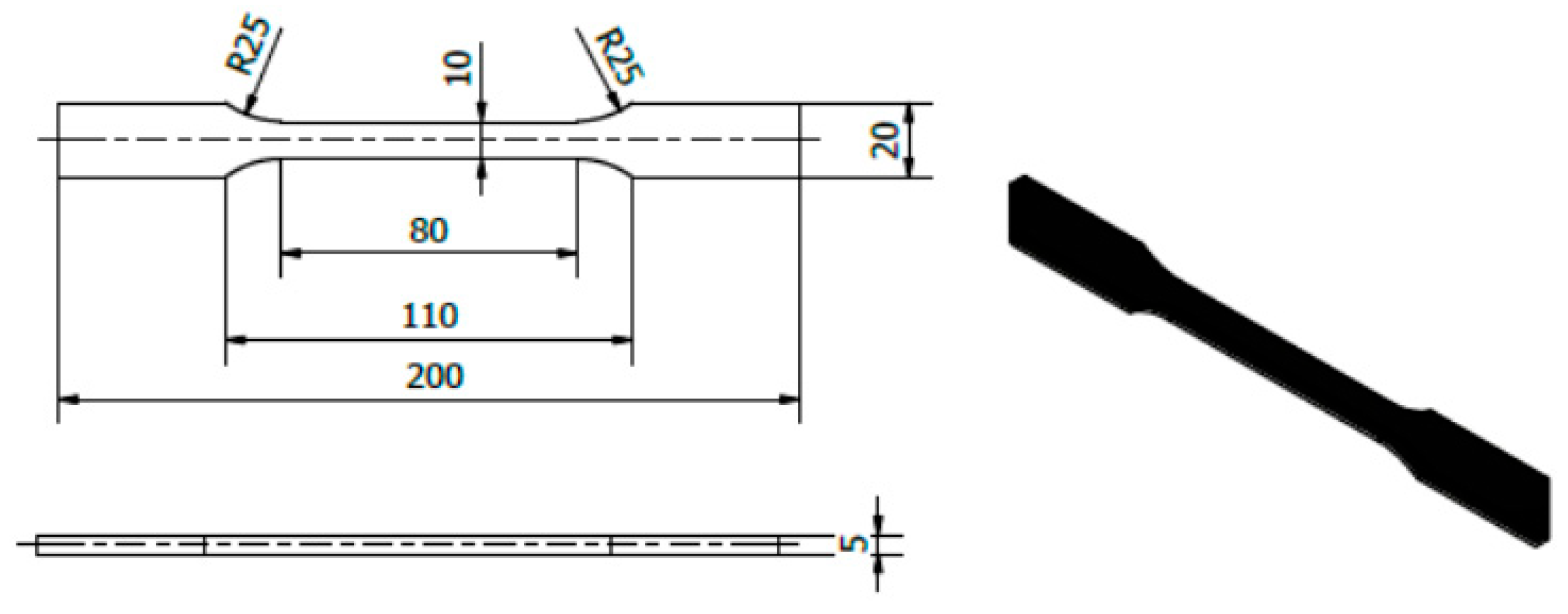
2. Materials and Methods
3. Results and Discussion
3.1. Statistical Analysis
3.2. Acoustic Emission
4. Conclusions
Author Contributions
Funding
Institutional Review Board Statement
Informed Consent Statement
Data Availability Statement
Conflicts of Interest
References
- ISO 52900; Additive manufacturing—General principles—Fundamentals and vocabulary. ISO: Geneva, Switzerland, 2021.
- Torrado Perez, A.R.; Roberson, D.A.; Wicker, R.B. Fracture Surface Analysis of 3D-Printed Tensile Specimens of Novel ABS-Based Materials. J. Fail. Anal. Prev. 2014, 14, 343–353. [Google Scholar] [CrossRef]
- Ali, D.; Huayier, A.F.; Enzi, A. Parametric Prediction of FDM Process to Improve Tensile Properties Using Taguchi Method and Artificial Neural Network. Adv. Sci. Technol. Res. J. 2023, 17, 130–138. [Google Scholar] [CrossRef]
- Krawulski, P.; Dyl, T. The impact of 3D printing assumptions and CNC machining conditions on the mechanical parameters of the selected PET material. Arch. Mater. Sci. Eng. 2023, 120, 36–41. [Google Scholar] [CrossRef]
- Morampudi, P.; Ramana, V.V.; Prabha, K.A.; Swetha, S.; Rao, A.B. 3D-printing analysis of surface finish. Mater. Today Proc. 2021, 1, 587–592. [Google Scholar] [CrossRef]
- Enzi, A.; Mynderse, J.A. Optimization of process parameters applied to a prototype selective laser sintering system. In Proceedings of the ASME International Mechanical Engineering Congress and Exposition, Tampa, FL, USA, 3–9 November 2017; American Society of Mechanical Engineers: New York, NY, USA, 2017; Volume 58356, p. V002T02A022. [Google Scholar]
- Hikmat, M.; Rostam, S.; Ahmed, Y.M. Investigation of tensile property-based Taguchi method of PLA parts fabricated by FDM 3D printing technology. Results Eng. 2021, 1, 100264. [Google Scholar] [CrossRef]
- Żur, P.; Kołodziej, A.; Baier, A.; Kokot, G. Optimization of ABS 3D-printing method and parameters. Eur. J. Eng. Sci. Technol. 2020, 3, 44–51. [Google Scholar] [CrossRef]
- Weng, Z.; Wang, J.; Senthil, T.; Wu, L. Mechanical and thermal properties of ABS/montmorillonite nanocomposites for fused deposition modeling 3D printing. Mater. Des. 2016, 102, 276–283. [Google Scholar] [CrossRef]
- Jabłońska, M.; Jurczak, W.; Ozimina, D.; Adamiak, M. Increasing the operational reliability of a ship by using a composite impeller in the event of hydrophore pump failure. Eksploat. i Niezawodn. Maint. Reliab. 2023, 25, 18. [Google Scholar] [CrossRef]
- Popescu, D.; Zapciu, A.; Amza, C.; Baciu, F.; Marinescu, R. FDM process parameters influence over the mechanical properties of polymer specimens: A review. Polym. Test. 2018, 69, 157–166. [Google Scholar] [CrossRef]
- Dawoud, M.; Taha, I.; Ebeid, S.J. Mechanical behavior of ABS: An experimental study using FDM and injection moulding techniques. J. Manuf. Process. 2016, 21, 39–45. [Google Scholar] [CrossRef]
- Ahmad, M.N.; Yahya, A. Effects of 3D Printing Parameters on Mechanical Properties of ABS Samples. Designs 2023, 7, 136. [Google Scholar] [CrossRef]
- Nizam, M.; Ismail, K.; Yap, T.C. The Effect of Printing Orientation on the Mechanical Properties of FDM 3D Printed Parts. In Enabling Industry 4.0 Through Advances in Manufacturing and Materials; Springer: Singapore, 2022. [Google Scholar] [CrossRef]
- Pang, R.; Lai, M.K.; Teo, H.H.; Yap, T.C. Influence of Temperature on Interlayer Adhesion and Structural Integrity in Material Extrusion: A Comprehensive Review. J. Manuf. Mater. Process. 2025, 9, 196. [Google Scholar] [CrossRef]
- Gutkin, R.; Green, C.J.; Vangrattanachai, S.; Pinho, S.T.; Curtis, P.T. On acoustic emission for failure investigation in CFRP: Pattern recognition and peak frequency analyses. Mech. Syst. Signal Process. 2011, 25, 1393–1407. [Google Scholar] [CrossRef]
- Panasiuk, K.; Dudzik, K.; Hajdukiewicz, G. Acoustic Emission as a Method for Analyzing Changes and Detecting Damage in Composite Materials During Loading. Arch. Acoust. 2021, 43, 399–407. [Google Scholar] [CrossRef]
- Li, X.; Li, J.; He, D.; Qu, Y. Gear pitting fault diagnosis using raw acoustic emission signal based on deep learning. Eksploat. i Niezawodn. Maint. Reliab. 2019, 21, 403–410. [Google Scholar] [CrossRef]
- Shiotani, T.; Fujii, K.; Aoki, T.; Amou, K. Evaluation of progressive failure using AE sources and improved b-value on slope model tests. Prog. Acoust. Emiss. VII 1994, 7, 529–534. [Google Scholar]
- Droubi, M.G.; Faisal, N.H.; Orr, F.; Steel, J.A.; El-Shaib, M. Acoustic emission method for defect detection and identification in carbon steel welded joints. J. Constr. Steel Res. 2017, 134, 28–37. [Google Scholar] [CrossRef]
- Zaki, A.; Chai, H.; Aggelis, D.; Alver, N. Non-destructive evaluation for corrosion monitoring in concrete: A review and capability of acoustic emission technique. Sensors 2015, 15, 19069–19101. [Google Scholar] [CrossRef]
- Yun, M.; Ren, J.; Zhang, L.; Chen, X. Fracture Process and Instability Precursor Determination of Freeze-thaw Red Sandstone Based on Acoustic Emission Monitoring. Eksploat. i Niezawodn. Maint. Reliab. 2024, 26, 191193. [Google Scholar] [CrossRef]
- Munoz, C.Q.G.; Marquez, F.P.G. A New Fault Location Approach for Acoustic Emission Techniques in Wind Turbines. Energies 2016, 9, 40. [Google Scholar] [CrossRef]
- Katunin, A. A Concept of Thermographic Method for Non-Destructive Testing of Polymeric Composite Structures Using Self-Heating Effect. Sensors 2018, 18, 74. [Google Scholar] [CrossRef]
- Zhou, H.; Simmons, C.S.; Sarntinoranont, M.; Subhash, G. Raman Spectroscopy Methods to Characterize the Mechanical Response of Soft Biomaterials. Biomacromolecules 2020, 21, 3485–3497. [Google Scholar] [CrossRef]
- Romanowicz, P.J.; Szybiński, B.; Wygoda, M. Application of DIC Method in the Analysis of Stress Concentration and Plastic Zone Development Problems. Materials 2020, 13, 3460. [Google Scholar] [CrossRef] [PubMed]
- Kyzioł, L.; Panasiuk, K.; Hajdukiewicz, G.; Dudzik, K. Acoustic Emission and K-S Metric Entropy as Methods for Determining Mechanical Properties of Composite Materials. Sensors 2021, 21, 145. [Google Scholar] [CrossRef] [PubMed]
- García-Vilana, S.; Adrover-Monserrat, B.; Sánchez-Molina, D.; Llumà, J.; Jerez-Mesa, R.; Travieso-Rodríguez, J.A.; Martínez-González, E. Using acoustic emission to assess stiffness loss in thermoplastics processed through additive manufacturing. Prog. Addit. Manuf. 2025, 10, 8053–8063. [Google Scholar] [CrossRef]
- PN-ISO 5893:2015-12; Rubber and Plastics Test Equipment—Tensile, Flexural and Compression Types (Constant Rate of Traverse)—Specification. Polish Committee for Standardization: Warszawa, Poland, 2015.
- PN-EN 1330-9:2017-09; Non-Destructive Testing—Terminology—Part 9: Terms Used in Acoustic Emission. Polish Committee for Standardization: Warszawa, Poland, 2015.
- PN-EN 13554:2011E; Non-Destructive Testing—Acoustic Emission—General Rules. Polish Committee for Standardization: Warszawa, Poland, 2015.














| Parameters | Level 1 | Level 2 | Level 3 | Level 4 |
|---|---|---|---|---|
| Layer height [mm] | 0.20 | 0.22 | 0.24 | 0.26 |
| Orientation [°] | 0 | 30 | 60 | 90 |
| Filling ratio [%] | 40 | 60 | 80 | 100 |
| Nozzle temp. [°C] | 265 | 270 | 275 | 280 |
| Type of finishing of the top layer | Concentirc | Parallel line | Octagonal spiral | Archimedes spiral |
| Trial Number | Layer Height [mm] | Orientation [°] | Filling Ratio [%] | Nozzle Temp. [°C] | Type of Finishing of the Top Layer |
|---|---|---|---|---|---|
| 1. | 0.20 | 0 | 40 | 265 | Concentric |
| 2. | 0.20 | 30 | 60 | 270 | Parallel line |
| 3. | 0.20 | 60 | 80 | 275 | Octagonal spiral |
| 4. | 0.20 | 90 | 100 | 280 | Archimedes spiral |
| 5. | 0.22 | 0 | 60 | 275 | Archimedes spiral |
| 6. | 0.22 | 30 | 40 | 275 | Octagonal spiral |
| 7. | 0.22 | 60 | 100 | 265 | Parallel line |
| 8. | 0.22 | 90 | 80 | 270 | Concetric |
| 9. | 0.24 | 0 | 80 | 280 | Parallel line |
| 10. | 0.24 | 30 | 100 | 275 | Concentric |
| 11. | 0.24 | 60 | 40 | 270 | Archimedes spiral |
| 12. | 0.24 | 90 | 60 | 265 | Octagonal spiral |
| 13. | 0.26 | 0 | 100 | 270 | Octagonal spiral |
| 14. | 0.26 | 30 | 80 | 265 | Archimedes spiral |
| 15. | 0.26 | 60 | 60 | 280 | Concetric |
| 16. | 0.26 | 90 | 40 | 275 | Parallel line |
| Independent Variable | SS Sum of Squares | F Fisher Test | p Significance Factor |
|---|---|---|---|
| Layer height [mm] | 0.8365 | 60.78 | <0.01 |
| Orientation [°] | 2.3584 | 171.35 | <0.01 |
| Filling ratio [%] | 186.1050 | 13,521.84 | <0.01 |
| Nozzle temp. [°C] | 0.4509 | 32.76 | <0.01 |
| Type of finishing of the top layer | 0.7602 | 55.24 | <0.01 |
| Rest | 0.1468 |
| Trial Number | Layer Height [mm] | Orientation [°] | Filling Ratio [%] | Nozzle Temp. [°C] | Type of Finishing of the Top Layer [-] | UTS [MPa] | S/N |
|---|---|---|---|---|---|---|---|
| Independent Variable | (1) | (2) | (3) | (4) | (5) | ||
| 1 | 1 | 1 | 1 | 1 | 1 | 21.46 | 25.96 |
| 2 | 1 | 2 | 2 | 2 | 2 | 22.15 | 26.90 |
| 3 | 1 | 3 | 3 | 3 | 3 | 25.26 | 28.04 |
| 4 | 1 | 4 | 4 | 4 | 4 | 37.01 | 31.36 |
| 5 | 2 | 1 | 2 | 3 | 4 | 23.67 | 27.48 |
| 6 | 2 | 2 | 1 | 4 | 3 | 20.25 | 26.12 |
| 7 | 2 | 3 | 4 | 1 | 2 | 38.04 | 31.60 |
| 8 | 2 | 4 | 3 | 2 | 1 | 27.81 | 28.89 |
| 9 | 3 | 1 | 3 | 4 | 2 | 27.27 | 28.71 |
| 10 | 3 | 2 | 4 | 3 | 1 | 38.46 | 31.70 |
| 11 | 3 | 3 | 1 | 2 | 4 | 19.79 | 25.93 |
| 12 | 3 | 4 | 2 | 1 | 3 | 23.71 | 27.50 |
| 13 | 4 | 1 | 4 | 2 | 3 | 37.22 | 31.41 |
| 14 | 4 | 2 | 3 | 1 | 4 | 25.27 | 28.05 |
| 15 | 4 | 3 | 2 | 4 | 1 | 21.86 | 26.80 |
| 16 | 4 | 4 | 1 | 3 | 2 | 21.55 | 26.65 |
| Trial Number | Stress Determined in AE [MPa] | Stress Determined by Static Tensile Test [MPa] |
|---|---|---|
| 1 | 2.69 | 4.39 |
| 2 | 2.73 | 4.24 |
| 3 | 3.21 | 4.33 |
| 4 | 5.19 | 6.35 |
| 5 | 2.85 | 4.06 |
| 6 | 2.64 | 4.37 |
| 7 | 5.44 | 6.53 |
| 8 | 3.98 | 5.40 |
| 9 | 3.39 | 4.68 |
| 10 | 6.13 | 6.64 |
| 11 | 2.83 | 4.84 |
| 12 | 2.83 | 4.22 |
| 13 | 5.26 | 6.39 |
| 14 | 2.76 | 4.25 |
| 15 | 2.71 | 4.20 |
| 16 | 2.74 | 4.32 |
Disclaimer/Publisher’s Note: The statements, opinions and data contained in all publications are solely those of the individual author(s) and contributor(s) and not of MDPI and/or the editor(s). MDPI and/or the editor(s) disclaim responsibility for any injury to people or property resulting from any ideas, methods, instructions or products referred to in the content. |
© 2025 by the authors. Licensee MDPI, Basel, Switzerland. This article is an open access article distributed under the terms and conditions of the Creative Commons Attribution (CC BY) license (https://creativecommons.org/licenses/by/4.0/).
Share and Cite
Dudzik, K.; Krawulski, P.; Starosta, R.; Ziegler, B. The Use of Acoustic Emission to Determine the Safe Range of Operational Stresses of 3D-Printed ABS Polymer Components. Materials 2025, 18, 4834. https://doi.org/10.3390/ma18214834
Dudzik K, Krawulski P, Starosta R, Ziegler B. The Use of Acoustic Emission to Determine the Safe Range of Operational Stresses of 3D-Printed ABS Polymer Components. Materials. 2025; 18(21):4834. https://doi.org/10.3390/ma18214834
Chicago/Turabian StyleDudzik, Krzysztof, Patryk Krawulski, Robert Starosta, and Burkhard Ziegler. 2025. "The Use of Acoustic Emission to Determine the Safe Range of Operational Stresses of 3D-Printed ABS Polymer Components" Materials 18, no. 21: 4834. https://doi.org/10.3390/ma18214834
APA StyleDudzik, K., Krawulski, P., Starosta, R., & Ziegler, B. (2025). The Use of Acoustic Emission to Determine the Safe Range of Operational Stresses of 3D-Printed ABS Polymer Components. Materials, 18(21), 4834. https://doi.org/10.3390/ma18214834

