Effect of Sm + Er and Heat Treatment on As-Cast Microstructure and Mechanical Properties of 7055 Aluminum Alloy
Abstract
:1. Introduction
2. Experimental Method
2.1. Sample Composition
2.2. Melting Sample
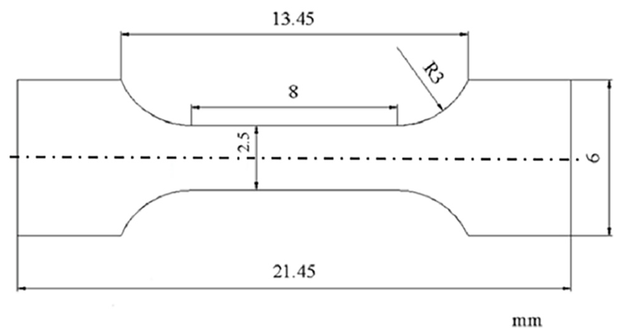
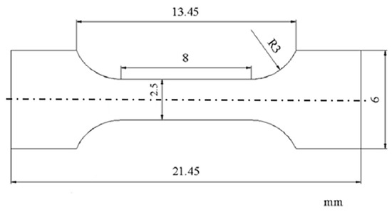
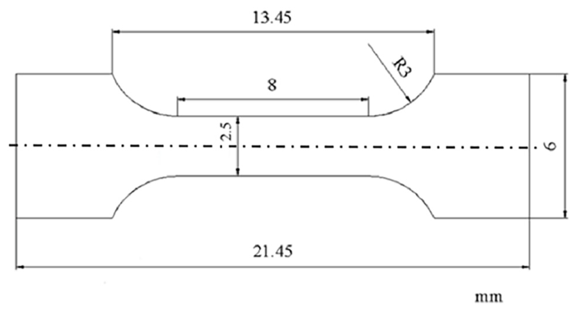
2.3. Heat Treatment
2.4. Characterization Test
3. Experimental Results and Analysis
3.1. Microscopic Morphology and Physical Phase Analysis of the Alloys
3.2. Mechanical Property
4. Conclusions
- (1)
- With the increase in the total amount of Sm + Er, the alloy grain size decreased and then increased. When the total amount reached 0.4 wt.% (0.3 wt.% Sm and 0.1 wt.% Er), the minimum grain size was refined to 53 μm, which had an obvious refinement effect.
- (2)
- The composite addition of Sm + Er produced Al10Cu7Sm2 and Al8Cu4Er rare earth phases, which could effectively improve the microscopic structure in the solidification process. In the subsequent solid aging treatment, the rare earth phase was more diffusely distributed and the eutectic layer α-Al + η-Mg(Zn,Al,Cu)2 also became significantly thinner.
- (3)
- In the solid process (410 °C × 2 h) and aging process (150 °C × 12 h), the mechanical properties of 7055 aluminum alloy with Sm + Er = 0.4 wt.% were the best, which were hardness of 155.8 HV, yield strength of 620.5 MPa, tensile strength of 658.1 MPa, elongation of 11.90%. Compared with the heat treatment, the hardness was increased by 30.3%, the yield strength increased by 10.3%, the tensile strength was increased by 10.0% and the elongation increased by 25.1%.
Author Contributions
Funding
Institutional Review Board Statement
Informed Consent Statement
Data Availability Statement
Acknowledgments
Conflicts of Interest
References
- Wang, T.; Yang, L.; Tang, Z.; Liu, C.; Liu, W. Effect of aging treatment on microstructure, mechanical and corrosion properties of 7055 aluminum alloy prepared using powder by-product. Mater. Sci. Eng. A 2021, 822, 141606. [Google Scholar] [CrossRef]
- Liang, S.S.; Ma, J.R.; Guo, K.H.; Wen, S.P.; Wei, W.; Wu, X.L.; Huang, H.; Gao, K.Y.; Liu, B.S.; Xiong, X.Y.; et al. Effect of Er and Si co-microalloying on mechanical properties and microstructures of AlCuMg alloys. J. Mater. Res. Technol. 2023, 24, 430–439. [Google Scholar] [CrossRef]
- Dong, B.L.; Xia, Y.H.; Cai, X.Y.; Lin, Y.B.; Fan, C.L. Addition of Sc in wire-based directed energy deposition of Al–Mg–Zn–Cu alloy: Microalloying to refine grains and improve mechanical properties. Addit. Manuf. 2023, 67, 103494. [Google Scholar] [CrossRef]
- Khan, M.A.; Wang, Y.; Anjum, M.J.; Yasin, G.; Malik, A.; Nazeer, F. Effect of heat treatment on the precipitate behaviour, corrosion resistance and high temperature tensile properties of 7055 aluminum alloy synthesis by novel spray deposited followed by hot extrusion. Vacuum 2020, 174, 109185. [Google Scholar] [CrossRef]
- Leng, J.F.; Ren, B.H.; Zhou, Q.B.; Zhao, J.W. Effect of Sc and Zr on recrystallization behavior of 7075 aluminum alloy. J. Alloys Compd. 2021, 31, 2545–2557. [Google Scholar] [CrossRef]
- Teng, G.B.; Liu, C.Y.; Ma, Z.Y.; Zhou, W.B.; Wei, L.L.; Chen, Y. Effects of minor Sc addition on the microstructure and mechanical properties of 7055 Al alloy during aging. Mater. Sci. Eng. A 2018, 73, 61–66. [Google Scholar] [CrossRef]
- Liu, C.Y.; Zhang, B.; Ma, Z.Y.; Jiang, H.J.; Zhou, W.B. Effect of Sc addition, friction stir processing, and T6 treatment on the damping and mechanical properties of 7055 Al alloy. J. Alloys Compd. 2019, 772, 775–781. [Google Scholar] [CrossRef]
- Xiao, Q.F.; Huang, J.W.; Jiang, Y.G.; Jiang, F.Q.; Guo-Fu, X.U. Effects of minor Sc and Zr additions on mechanical properties and microstructure evolution of AlZnMgCu alloys. Trans. Nonferrous Met. Soc. China 2020, 30, 1429–1438. [Google Scholar] [CrossRef]
- Liu, C.Y.; Teng, G.B.; Ma, Z.Y.; Wei, L.L.; Zhou, W.B.; Huang, H.F. Mechanical properties and thermal stability of 7055 al alloy by minor sc addition. Rare Met. 2020, 39, 725–732. [Google Scholar] [CrossRef]
- Hu, G.; Zhu, C.; Xu, D.; Dong, P.; Chen, K. Effect of cerium on microstructure, mechanical properties and corrosion properties of Al-Zn-Mg alloy. J. Rare Earths 2021, 39, 208–216. [Google Scholar] [CrossRef]
- Wu, Y.L.; Li, C.; Froes, F.H. Microalloying of Sc, Ni, and Ce in an Advanced Al-Zn-Mg-Cu Alloy. Metall. Mater. Trans. A 1999, 30, 1017–1024. [Google Scholar] [CrossRef]
- Yang, Y.; Tan, P.; Sui, Y.; Jiang, Y.; Zhou, R. Influence of Zr content on microstructure and mechanical properties of As-cast Al-Zn-Mg-Cu alloy. J. Alloys Compd. 2021, 867, 158920. [Google Scholar] [CrossRef]
- Cassell, A.M.; Robson, J.D.; Race, C.P.; Eggeman, A.; Hashimoto, T.; Besel, M. Dispersoid composition in zirconium containing Al-Zn-Mg-Cu (AA7010) aluminium alloy. Acta Mater. 2019, 169, 135. [Google Scholar] [CrossRef]
- Pan, T.-A.; Tzeng, Y.-C.; Bor, H.-Y.; Liu, K.-H.; Lee, S.-L. Effects of the coherency of Al3Zr on the microstructures and quench sensitivity of Al–Zn–Mg–Cu alloys. Mater. Today Commun. 2021, 28, 102611. [Google Scholar] [CrossRef]
- Wang, M.M.; Knezevic, M.; Chen, M.; Li, J.S.; Liu, T.; Wang, G.; Zhao, Y.; Wang, M.; Liu, Q.; Huang, Z.J.; et al. Microstructure design to achieve optimal strength, thermal stability, and electrical conductivity of Al-7.5wt.%Y alloy. Mater. Sci. Eng. A 2022, 852, 143700. [Google Scholar] [CrossRef]
- Zhao, X.Y.; Jin, T.; Ding, L.P.; Wan, B.W.; Lei, X.C.; Xu, C.Z.; Zhang, C.L.; Jia, Z.H.; Liu, Q. The effect of combined cold rolling and homogenization on the microstructures and mechanical properties of twin-roll casted 8021 aluminum alloy. J. Alloys Compd. 2023, 937, 168385. [Google Scholar] [CrossRef]
- Wu, M.; Wei, W.; Zuo, R.; Wen, S.; Shi, W.; Zhou, X.; Wu, X.; Gao, K.; Huang, H.; Nie, Z. Effect of Zr and Er Addition on the Microstructural Evolution of a Novel Al−Mg−Zn−Er−Zr Alloy during Hot Compression. Materials 2023, 16, 858. [Google Scholar] [CrossRef] [PubMed]
- Xing, Q.; Wu, X.; Zang, J.; Meng, L.; Zhang, X. Effect of Er on Microstructure and Corrosion Behavior of Al-Zn-Mg-Cu-Sc-Zr Aluminum Alloys. Materials 2022, 15, 1040. [Google Scholar] [CrossRef]
- Zhai, F.L.; Wang, L.P.; Gao, X.; Feng, Y.C.; Zhao, S.C.; Wang, L. Study on Phases Formation and Modifification Ability of Rare Earth Elements La, Ce, Sm and Er in Al-Zn-Mg-Cu-Zr Alloy. Trans. Indian Inst. Met. 2021, 74, 2639–2649. [Google Scholar] [CrossRef]
- Li, H.Z.; Hu, Z.; Yan, H. Effect of samarium (Sm) addition on microstructure and mechanical properties of Al-5Cu alloys. J. Mater. Sci. 2016, 31, 624–629. [Google Scholar] [CrossRef]
- Ditta, Y.W.S. Effect of hot extrusion and optimal solution treatment on microstructure and properties of spray-formed Al-11.3Zn-2.65Mg-1Cu alloy. J. Alloys Compd. 2019, 797, 558–565. [Google Scholar] [CrossRef]
- Wu, H.; Zheng, Z.K.; Li, W.C.; Lu, J.T.; Wen, S.P.; Huang, H.; Nie, Z.R. Effect of Retrogression and Re-aging Treatment on Properties and Microstructure of a New Type of Al-Zn-Mg-Er-Zr Alloy. J. Mater. Eng. Perform. 2022, 31, 4282–4293. [Google Scholar] [CrossRef]
- Lin, M.; Yao, S.; Wang, J.J.; Chen, Z.; Zhang, G.F.; Zhang, S.Z.; Li, Y. Role of Er on the densification, microstructure and mechanical properties of 7075 aluminium alloys manufactured by laser powder bed fusion. J. Mater. Res. Technol. 2022, 20, 2238–7854. [Google Scholar]
- Wang, Y.; Wu, X.; Cao, L.; Tong, X.; Liu, Q. Effect of trace Er on the microstructure and properties of Al-Zn-Mg-Cu-Zr alloys during heat treatments. Mater. Sci. Eng. A 2020, 792, 139807. [Google Scholar] [CrossRef]
- Wang, C.; Dai, J.; Liu, W.; Zhang, L.; Wu, G. Effect of Al additions on grain refifinement and mechanical properties of Mg–Sm alloys. J. Alloys Compd. 2015, 620, 172–179. [Google Scholar] [CrossRef]
- Peng, G.; Chen, K.; Chen, S.; Fang, H. Evolution of the second phase particles during the heating-up process of olution treatment of Al–Zn–Mg–Cu alloy. Mater. Sci. Eng. A 2015, 641, 237–247. [Google Scholar] [CrossRef]
- Deng, Y.L.; Wan, L.; Zhang, Y.; Zhang, X.M. Evolution of microstructures and textures of 7050 Al alloy hot-rolled plate during staged solution heat-treatments. J. Alloys Compd. 2010, 498, 88–94. [Google Scholar] [CrossRef]
- Meng, X.; Zhang, D.; Zhang, W.; Qiu, C.; Chen, J. Influence of solution treatment on microstructures and mechanical properties of a naturally-aged Al–27Zn–1.5Mg–1.2Cu–0.08 Zr aluminum alloy. Mater. Sci. Eng. A 2021, 802, 140623. [Google Scholar] [CrossRef]
- Zhang, Z.Q.; Li, D.H.; Li, S.C.; Deng, H.L.; Zhang, S.Y.; Fang, J.; Yuan, H.; Deng, B.; Qi, L. Effect of direct aging treatment on microstructure, mechanical and corrosion properties of a Si-Zr-Er modified Al-Zn-Mg-Cu alloy prepared by selective laser melting technology. Mater. Charact. 2022, 194, 112459. [Google Scholar] [CrossRef]
- Zhang, W.L.; Xiao, D.H.; Li, T.; Du, D.J.; Ding, D.Y. Microstructure and Mechanical Properties of Two-Stage Aged Al-Cu-Mg-Ag-Sm Alloy. Rare Met. 2019, 38, 42–51. [Google Scholar] [CrossRef]
- Chen, X.; Jia, Y.; Le, Q.; Ning, S.; Yu, F. The interaction between in situ grain refifiner and ultrasonic treatment and its influence on the mechanical properties of Mg-Sm-Al magnesium alloy. J. Mater. Res. Technol. 2020, 9, 9262–9270. [Google Scholar] [CrossRef]
- Guo, Y.; Wei, W.; Shi, W.; Zhang, B.; Zhou, X.; Wen, S. Effect of Er and Zr additions and aging treatment on grain refinement of aluminum alloy fabricated by laser powder bed fusion. J. Alloys Compd. 2022, 912, 165237. [Google Scholar] [CrossRef]
- Deng, Y.; Yin, Z.; Cong, F. Intermetallic Phase Evolution of 7050 Aluminum Alloy During Homogenization. Intermetallics 2012, 26, 114–121. [Google Scholar] [CrossRef]
- Hao, W.U.; Wen, S.P.; Jun-Tai, L.U.; Zhen-Peng, M.I.; Zeng, X.L.; Huang, H. Microstructural Evolution of New Type Al Zn-Mg-Cu Alloy with Er and Zr Additions During Homogenization. Trans. Nonferrous Met. Soc. China 2017, 27, 1476–1482. [Google Scholar]
- Xu, G.F.; Mou, S.Z.; Yang, U.J.; Jin, T.N.; Nie, Z.R.; Yin, Z.M. Effect of Trace Rare Earth Element Er on Al-Zn-Mg Alloy. Trans. Nonferrous Met. Soc. China 2006, 16, 598–603. [Google Scholar] [CrossRef]
- Yang, H.; Gao, T.; Liu, G.; Zhao, X.; Chen, H.; Wang, H. Simultaneously improving strength and ductility for Al-Cu-Mg alloy via threadiness array of TiC nanoparticles. Mater 2019, 6, 100333. [Google Scholar] [CrossRef]
- Yang, C.; Liu, Z.; Zheng, Q.; Cao, Y.; Dai, X.; Sun, L.; Zhao, J.; Xing, J.; Han, Q. Ultrasound assisted in-situ casting technique for synthesizing small-sized blocky Al3Ti particles reinforced A356 matrix composites with improved mechanical properties. J. Alloys Compd. 2018, 747, 580–590. [Google Scholar] [CrossRef]










| Sample Number | Zn | Mg | Cu | Zr | Sm | Er |
|---|---|---|---|---|---|---|
| #1 | 8.2 | 2.2 | 2.4 | 0.2 | 0.15 | 0.05 |
| #2 | 8.2 | 2.2 | 2.4 | 0.2 | 0.30 | 0.10 |
| #3 | 8.2 | 2.2 | 2.4 | 0.2 | 0.45 | 0.15 |
| #4 | 8.2 | 2.2 | 2.4 | 0.2 | 0.60 | 0.20 |
| Point | Al | Mg | Cu | Zn | Zr | Sm | Er | Phase/Structure |
|---|---|---|---|---|---|---|---|---|
| A | 65.08 | 0 | 22.40 | 5.79 | 0.14 | 6.59 | 0 | Al10Cu7Sm2 |
| B | 55.30 | 0 | 30.50 | 6.68 | 0.20 | 0 | 7.32 | Al8Cu4Er |
| C | 64.03 | 13.91 | 4.84 | 16.21 | 0.11 | 0 | 0 | α-Al + η-Mg(Zn,Al,Cu)2 |
| D | 60.82 | 18.69 | 4.94 | 15.43 | 0.12 | 0 | 0 | α-Al + η-Mg(Zn,Al,Cu)2 |
| E | 56.96 | 18.34 | 6.12 | 17.55 | 0.13 | 0 | 0 | α-Al + η-Mg(Zn,Al,Cu)2 |
| F | 59.78 | 18.28 | 6.25 | 15.60 | 0.09 | 0 | 0 | α-Al + η-Mg(Zn,Al,Cu)2 |
Disclaimer/Publisher’s Note: The statements, opinions and data contained in all publications are solely those of the individual author(s) and contributor(s) and not of MDPI and/or the editor(s). MDPI and/or the editor(s) disclaim responsibility for any injury to people or property resulting from any ideas, methods, instructions or products referred to in the content. |
© 2023 by the authors. Licensee MDPI, Basel, Switzerland. This article is an open access article distributed under the terms and conditions of the Creative Commons Attribution (CC BY) license (https://creativecommons.org/licenses/by/4.0/).
Share and Cite
Wang, J.; Li, F. Effect of Sm + Er and Heat Treatment on As-Cast Microstructure and Mechanical Properties of 7055 Aluminum Alloy. Materials 2023, 16, 4846. https://doi.org/10.3390/ma16134846
Wang J, Li F. Effect of Sm + Er and Heat Treatment on As-Cast Microstructure and Mechanical Properties of 7055 Aluminum Alloy. Materials. 2023; 16(13):4846. https://doi.org/10.3390/ma16134846
Chicago/Turabian StyleWang, Jue, and Faguo Li. 2023. "Effect of Sm + Er and Heat Treatment on As-Cast Microstructure and Mechanical Properties of 7055 Aluminum Alloy" Materials 16, no. 13: 4846. https://doi.org/10.3390/ma16134846
APA StyleWang, J., & Li, F. (2023). Effect of Sm + Er and Heat Treatment on As-Cast Microstructure and Mechanical Properties of 7055 Aluminum Alloy. Materials, 16(13), 4846. https://doi.org/10.3390/ma16134846

