Effect of Si Content on the Thermal Expansion of Ti15Mo(0–2 Si) Biomaterial Alloys during Different Heating Rates
Abstract
1. Introduction
2. Experimental Works
2.1. Materials and Preparation
2.2. Chemical Composition, Phase Identification and Microstructure
3. Results and Discussion
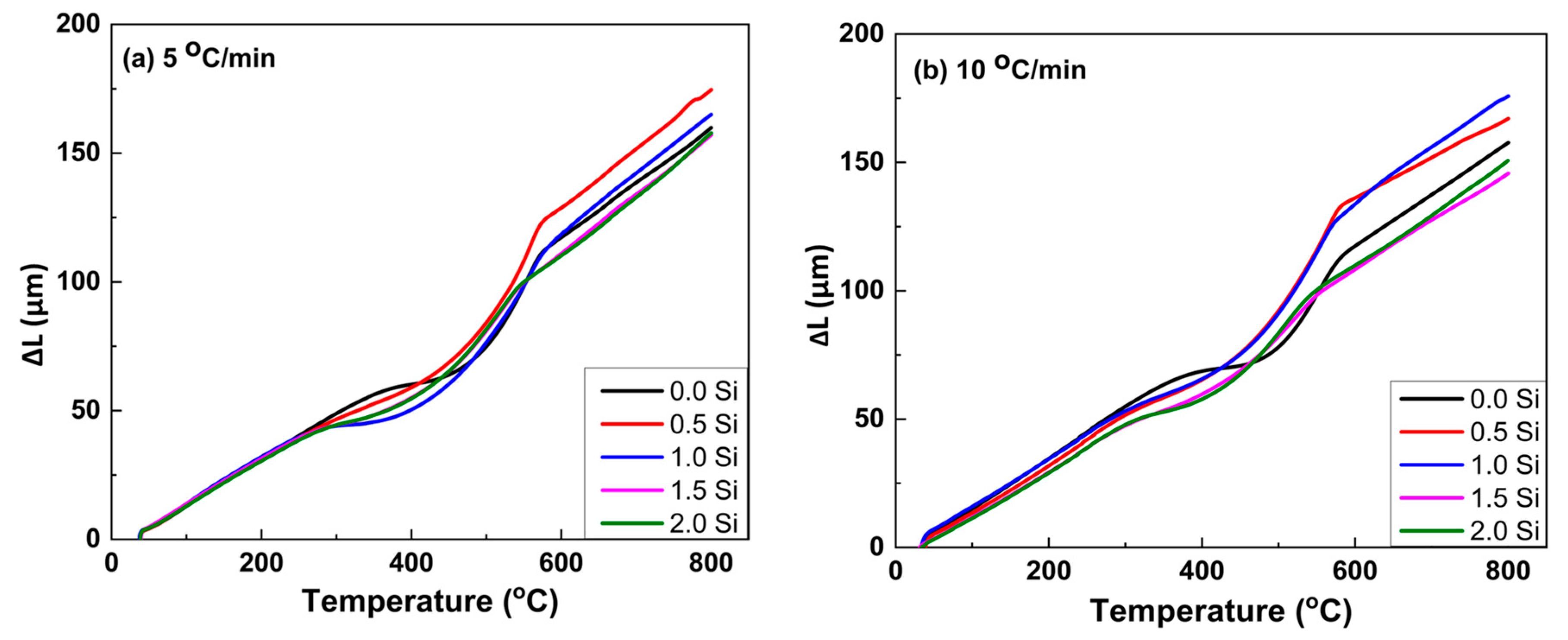
3.1. Dilatometric Analysis
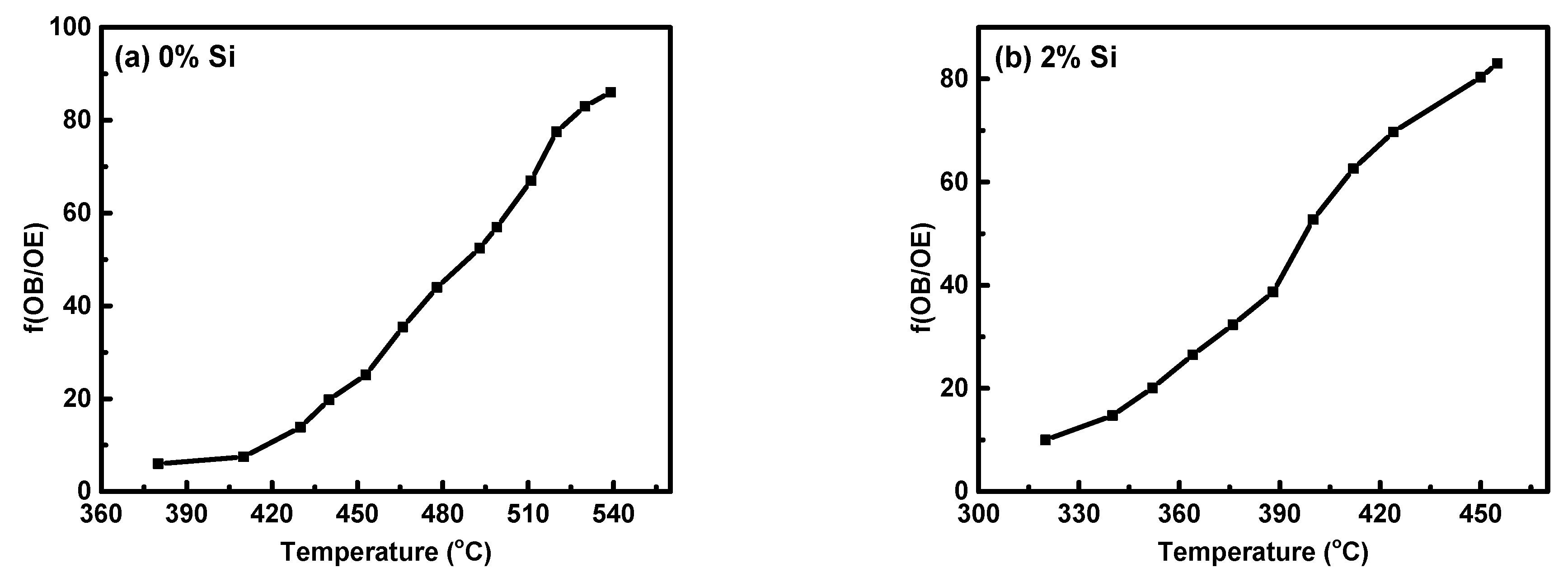
3.2. Phase-Transformation Kinetics
4. Conclusions
- The dilatometric heating curve at a 10 °C/min heating rate revealed that the starting Ts and Tf of Ti-15Mo master alloy were 359 °C and 572 °C, respectively, whereas the Ts and Tf transforming temperatures were significantly decreased with 2 wt.% Si additions, reaching 270 °C and 540 °C, respectively.
- Increasing the Si content of the Ti15Mo master alloy to produce Ti15Mo(0–2 wt.%Si) alloys resulted in a significant grain refinement. The average grain size was 500 ± 15, 450 ± 20, 300 ± 25, 250 ± 15 and 110 ± 13 µm with the Si addition of 0.0, 0.5, 1.0, 1.5, and 2.0 wt.%, respectively.
- The β-transus temperature of Ti15Mo(0–2 wt.%Si) alloy systems slightly decreases with increasing the Si content for the two studied heating rates. In the case of using a heating rate of 10 °C/min, this transformation temperature happens at about 650 °C with the Si content 2 wt.% which is lower than the transus-temperature of the common Ti β alloy at ≈882 °C.
- From dilatometry curves, it can be concluded from the phase transformations in the continuous heating process that phase precipitation occurs first in domains A-B, and is followed by phase dissolving in domains B-C.
- Using the lever rule, we estimated the ω-phase transformation curve in Ti15MoxSi alloys under continuous heating. Our results show an S-shaped pattern, with the “S” shifting to a lower temperature range as the Si addition increases.
Author Contributions
Funding
Institutional Review Board Statement
Informed Consent Statement
Data Availability Statement
Acknowledgments
Conflicts of Interest
References
- Smyrnova, K.V.; Pogrebnjak, A.D.; Kassenova, L.G. Structural Features and Properties of Biocompatible Ti-Based Alloys with β-Stabilizing Elements. In Lecture Notes in Mechanical Engineering; Pleiades journals: Warrensburg, MO, USA, 2019; pp. 319–330. [Google Scholar]
- Ibrahim, S.A.; Seleman, M.M.; Ahmed, H.M.; Hannora, A.E. Phase Stability of Mechanically Alloyed Ti-Fe-Al Alloys. In Proceedings of the IOP Conference Series: Materials Science and Engineering, Cairo, Egypt, 7–9 April 2020; IOP Publishing Ltd.: Bristol, UK, 2020; Volume 973. [Google Scholar]
- Verestiuc, L.; Spataru, M.C.; Baltatu, M.S.; Butnaru, M.; Solcan, C.; Sandu, A.V.; Voiculescu, I.; Geanta, V.; Vizureanu, P. New Ti–Mo–Si Materials for Bone Prosthesis Applications. J. Mech. Behav. Biomed. Mater. 2021, 113, 104198. [Google Scholar] [CrossRef] [PubMed]
- Bakkar, A.; Ahmed, M.M.Z.; Alsaleh, N.A.; Seleman, M.M.E.S.; Ataya, S. Microstructure, Wear, and Corrosion Characterization of High TiC Content Inconel 625 Matrix Composites. J. Mater. Res. Technol. 2019, 8, 1102–1110. [Google Scholar] [CrossRef]
- Alghamdi, A.; Downing, D.; Tino, R.; Almalki, A.; Maconachie, T.; Lozanovski, B.; Brandt, M.; Qian, M.; Leary, M. Buckling Phenomena in AM Lattice Strut Elements: A Design Tool Applied to Ti-6Al-4V LB-PBF. Mater. Des. 2021, 208, 109892. [Google Scholar] [CrossRef]
- Brooks, E.K.; Brooks, R.P.; Ehrensberger, M.T. Effects of Simulated Inflammation on the Corrosion of 316L Stainless Steel. Mater. Sci. Eng. C 2017, 71, 200–205. [Google Scholar] [CrossRef]
- Bekmurzayeva, A.; Duncanson, W.J.; Azevedo, H.S.; Kanayeva, D. Surface Modification of Stainless Steel for Biomedical Applications: Revisiting a Century-Old Material. Mater. Sci. Eng. C 2018, 93, 1073–1089. [Google Scholar] [CrossRef]
- Wang, Z.; Yan, Y.; Xing, L.; Su, Y.; Qiao, L. The Role of Hard Phase Carbides in Tribocorrosion Processes for a Co-Based Biomedical Alloy. Tribol. Int. 2017, 113, 370–376. [Google Scholar] [CrossRef]
- Alomari, A.H.; Al-Qahtani, S.M.; Langton, C.M. In-Vitro Comparison of Volumetric and Areal Bone Mineral Density Measurements between Ultrasound Transit Time Spectroscopy and Microcomputed Tomography. Appl. Acoust. 2021, 179, 108072. [Google Scholar] [CrossRef]
- Zhang, L.C.; Chen, L.Y. A Review on Biomedical Titanium Alloys: Recent Progress and Prospect. Adv. Eng. Mater. 2019, 21, 1801215. [Google Scholar] [CrossRef]
- Davis, R.; Singh, A.; Jackson, M.J.; Coelho, R.T.; Prakash, D.; Charalambous, C.P.; Ahmed, W.; da Silva, L.R.R.; Lawrence, A.A. A Comprehensive Review on Metallic Implant Biomaterials and Their Subtractive Manufacturing. Int. J. Adv. Manuf. Technol. 2022, 120, 1473–1530. [Google Scholar] [CrossRef]
- Baltatu, M.S.; Vizureanu, P.; Sandu, A.V.; Florido-Suarez, N.; Saceleanu, M.V.; Mirza-Rosca, J.C. New Titanium Alloys, Promising Materials for Medical Devices. Materials 2021, 14, 5934. [Google Scholar] [CrossRef]
- Çaha, I.; Alves, A.C.; Rocha, L.A.; Toptan, F. A Review on Bio-Functionalization of β-Ti Alloys. J. Bio Tribo-Corros. 2020, 6, 135. [Google Scholar] [CrossRef]
- Song, Y.; Xu, D.S.; Yang, R.; Li, D.; Wu, W.T.; Guo, Z.X. Theoretical Study of the Effects of Alloying Elements on the Strength and Modulus of β-Type Bio-Titanium Alloys. Mater. Sci. Eng. A 1999, 260, 269–274. [Google Scholar] [CrossRef]
- Jaishankar, M.; Tseten, T.; Anbalagan, N.; Mathew, B.B.; Beeregowda, K.N. Toxicity, Mechanism and Health Effects of Some Heavy Metals. Interdiscip. Toxicol. 2014, 7, 60–72. [Google Scholar] [CrossRef]
- BomBač, D.; Brojan, M.; FajFar, P.; Kosel, F.; Turk, R. Review of Materials in Medical Applications Pregled Materialov v Medicinskih Aplikacijah. Rmz–Mater. Geoenviron. 2007, 54, 54. [Google Scholar]
- Bălţatu, M.S.; Vizureanu, P.; Tierean, M.H.; Minciună, M.G.; Achiţei, D.C. Ti-Mo Alloys Used in Medical Applications. Adv. Mater. Res. 2015, 1128, 105–111. [Google Scholar] [CrossRef]
- Seward, G.G.E.; Celotto, S.; Prior, D.J.; Wheeler, J.; Pond, R.C. In Situ SEM-EBSD Observations of the Hcp to Bcc Phase Transformation in Commercially Pure Titanium. Acta Mater. 2004, 52, 821–832. [Google Scholar] [CrossRef]
- Zhuravleva, K.; Bönisch, M.; Prashanth, K.G.; Hempel, U.; Helth, A.; Gemming, T.; Calin, M.; Scudino, S.; Schultz, L.; Eckert, J.; et al. Production of Porous β-Type Ti-40Nb Alloy for Biomedical Applications: Comparison of Selective Laser Melting and Hot Pressing. Materials 2013, 6, 5700–5712. [Google Scholar] [CrossRef]
- Li, C.; Zhan, Y.; Jiang, W. β-Type Ti–Mo–Si Ternary Alloys Designed for Biomedical Applications. Mater. Des. 2012, 34, 479–482. [Google Scholar] [CrossRef]
- Zhao, X.; Niinomi, M.; Nakai, M.; Hieda, J. Beta Type Ti-Mo Alloys with Changeable Young’s Modulus for Spinal Fixation Applications. Acta Biomater. 2012, 8, 1990–1997. [Google Scholar] [CrossRef]
- Zháňal, P.; Beran, P.; Hansen, T.; Šmilauerová, J.; Stráský, J.; Janeček, M.; Harcuba, P. Thermal Expansion Evolution of Metastable β Ti-15Mo Alloy during Linear Heating. IOP Conf. Ser. Mater. Sci. Eng. 2018, 461, 012094. [Google Scholar] [CrossRef]
- Duerig, T.W.; Willi31lls, J.C. Overview: Microstrucnjre MD Properties of Beta Titaniu~l Alloys; Carnegie Mellon University: Fremont, CA, USA, 1984; pp. 19–69. [Google Scholar]
- Williams, J.C.; Hickman, B.S.; Marcus, H.L. The Effect of Omega Phase on the Mechanical Properties of Titanium Alloys. Metall. Trans. 1971, 2, 1913–1919. [Google Scholar] [CrossRef]
- Ivasishin, O.M.; Markovsky, P.E.; Matviychuk, Y.V.; Semiatin, S.L.; Ward, C.H.; Fox, S. A Comparative Study of the Mechanical Properties of High-Strength β-Titanium Alloys. J. Alloys Compd. 2008, 457, 296–309. [Google Scholar] [CrossRef]
- Zheng, Y.; Williams, R.E.A.; Sosa, J.M.; Alam, T.; Wang, Y.; Banerjee, R.; Fraser, H.L. The Indirect Influence of the ω Phase on the Degree of Refinement of Distributions of the α Phase in Metastable β-Titanium Alloys. Acta Mater. 2016, 103, 165–173. [Google Scholar] [CrossRef]
- Lutjering, G.; Williams, J.C. (2007) Titanium, 2nd ed.; Springer: Berlin/Heidelberg, Germany, 2007; 431p, Available online: https://www.scirp.org/(S(351jmbntvnsjt1aadkposzje))/reference/ReferencesPapers.aspx?ReferenceID=1697239 (accessed on 1 February 2023).
- Banerjee, D.; Williams, J.C. Perspectives on Titanium Science and Technology. Acta Mater. 2013, 61, 844–879. [Google Scholar] [CrossRef]
- Tang, B.; Kou, H.C.; Wang, Y.H.; Zhu, Z.S.; Zhang, F.S.; Li, J.S. Kinetics of Orthorhombic Martensite Decomposition in TC21 Alloy under Isothermal Conditions. J. Mater. Sci. 2012, 47, 521–529. [Google Scholar] [CrossRef]
- Xiong, C.; Xue, P.; Zhang, F.; Li, Y. Phase Transformations and Microstructural Evolution in Ti-19.5Zr-10Nb-0.5Fe Shape Memory Alloys. Mater. Charact. 2017, 133, 156–164. [Google Scholar] [CrossRef]
- Wan, M.P.; Zhao, Y.Q.; Zeng, W.D. Phase Transformation Kinetics of Ti-1300 Alloy during Continuous Heating. Rare Met. 2015, 34, 233–238. [Google Scholar] [CrossRef]
- Wang, Y.H.; Kou, H.; Chang, H.; Zhu, Z.S.; Su, X.F.; Li, J.; Zhou, L. Phase Transformation in TC21 Alloy during Continuous Heating. J. Alloys Compd. 2009, 472, 252–256. [Google Scholar] [CrossRef]
- Rkiushnan, A. Determination of Activation Energy for {alpha}+{beta}{implies}{beta} transformation in Ti-6AI-4V Alloy by Dilatometry. Scr. Metall. Mater. 1995, 32. [Google Scholar]
- Zháňal, P.; Harcuba, P.; Šmilauerová, J.; Stráský, J.; Janeček, M.; Smola, B.; Hájek, M. Phase Transformations in Ti-15Mo Investigated by in Situ Electrical Resistance. In Proceedings of the International Symposium on Physics of Materials; Wiley-VCH Verlag GmbH & Co. KGaA: Weinheim, Germany, 2003. [Google Scholar] [CrossRef]
- Harcuba, P.; Šmilauerová, J.; Hájek, M.; Zhá Al, P.; Apek, J. Phase Transformations in Beta-Ti Alloys Studied by In-Situ Methods; Wiley-VCH Verlag GmbH & Co. KGaA: Weinheim, Germany, 2016; Volume 8. [Google Scholar]
- Badran, A.H.; Alamro, T.; Bazuhair, R.W.; El-Mawla, A.A.G.; El-Adben, S.Z.; Fouly, A. Investigation of the Mechanical Behavior of Synthesized Al6061/TiO2 Microcomposites Using an Innovative Stir Casting Method. Nanomaterials 2022, 12, 1646. [Google Scholar] [CrossRef]
- Abdellah, M.Y.; Fadhl, B.M.; Abu El-Ainin, H.M.; Hassan, M.K.; Backar, A.H.; Mohamed, A.F. Experimental Evaluation of Mechanical and Tribological Properties of Segregated Al-Mg-Si Alloy Filled with Alumina and Silicon Carbide through Different Types of Casting Molds. Metals 2023, 13, 316. [Google Scholar] [CrossRef]
- Duerig, T.W.; Albrecht, J.; Richter, D.; Fischer, P. Formation and Reversion of Stress Induced Martensite in Ti-10V-2Fe-3Al. Acta Metall. 1982, 30, 2161–2172. [Google Scholar] [CrossRef]
- Yang, Y.; Chang, Y.A.; Tan, L.; Du, Y. Experimental Investigation and Thermodynamic Descriptions of the Mo–Si–Ti System. Mater. Sci. Eng. A 2003, 361, 281–293. [Google Scholar] [CrossRef]
- Oliveira, N.T.C.; Aleixo, G.; Caram, R.; Guastaldi, A.C. Development of Ti–Mo Alloys for Biomedical Applications: Microstructure and Electrochemical Characterization. Mater. Sci. Eng. A 2007, 452–453, 727–731. [Google Scholar] [CrossRef]
- Tavares, A.M.G.; Ramos, W.S.; de Blas, J.C.G.; Lopes, E.S.N.; Caram, R.; Batista, W.W.; Souza, S.A. Influence of Si Addition on the Microstructure and Mechanical Properties of Ti–35Nb Alloy for Applications in Orthopedic Implants. J. Mech. Behav. Biomed. Mater. 2015, 51, 74–87. [Google Scholar] [CrossRef]
- Prima, F.; Vermaut, P.; Thibon, I.; Ansel, D.; Debuigne, J.; Gloriant, T. Nanostructured Metastable β-Titanium Based Alloy. J. Metastable Nanocryst. Mater. 2002, 13, 307–314. [Google Scholar] [CrossRef]
- Prima, F.; Vermaut, P.; Texier, G.; Ansel, D.; Gloriant, T. Evidence of α-Nanophase Heterogeneous Nucleation from ω Particles in a β-Metastable Ti-Based Alloy by High-Resolution Electron Microscopy. Scr. Mater. 2006, 54, 645–648. [Google Scholar] [CrossRef]
- Wang, Y.H.; Kou, H.; Chang, H.; Zhu, Z.S.; Zhang, F.S.; Li, J.; Zhou, L. Influence of Solution Temperature on Phase Transformation of TC21 Alloy. Mater. Sci. Eng. A 2009, 508, 76–82. [Google Scholar] [CrossRef]
- Chen, H.Q.; Cao, C.X. Characterization of Hot Deformation Microstructures of Alpha-Beta Titanium Alloy with Equiaxed Structure. Trans. Nonferrous Met. Soc. Chin. 2012, 22, 503–509. [Google Scholar] [CrossRef]
- Hua, N.; Hong, X.; Liao, Z.; Zhang, L.; Ye, X.; Wang, Q.; Liaw, P.K. Corrosive Wear Behaviors and Mechanisms of a Biocompatible Fe-Based Bulk Metallic Glass. J. Non-Cryst. Solids 2020, 542, 120088. [Google Scholar] [CrossRef]












| Alloy Composition | Element, (g) | Batch wt., (g) | Ingot wt., (g) | Efficiency, (%) | ||
|---|---|---|---|---|---|---|
| Ti | Mo | Si | ||||
| Ti15Mo | 85.00 | 15.01 | - | 100.01 | 99.90 | 99.89 |
| Ti15Mo0.5Si | 84.50 | 15.00 | 0.50 | 100.00 | 99.98 | 99.98 |
| Ti15Mo1.0Si | 83.90 | 15.13 | 1.01 | 100.04 | 100.01 | 99.97 |
| Ti15Mo1.5Si | 83.50 | 15.04 | 1.53 | 100.07 | 100.00 | 99.93 |
| Ti15Mo2.0Si | 82.90 | 15.11 | 2.12 | 100.13 | 99.96 | 99.83 |
| Batch wt., (g) | Ti | Mo | Si | Fe | Mn |
|---|---|---|---|---|---|
| Ti15Mo | 84.947 | 15.030 | - | 0.003 | 0.020 |
| Ti15Mo0.5Si | 84.475 | 15.000 | 0.520 | 0.003 | 0.002 |
| Ti15Mo1.0Si | 83.866 | 15.100 | 1.010 | 0.002 | 0.022 |
| Ti15Mo1.5Si | 83.367 | 15.120 | 1.510 | 0.004 | 0.002 |
| Ti15Mo2.0Si | 82.867 | 15.090 | 2.030 | 0.011 | 0.002 |
| Alloys | 5 °C/min | 10 °C/min | ||||
|---|---|---|---|---|---|---|
| Ts (°C) | Tf (°C) | β Transus–Temperature Tβ (°C) | Ts (°C) | Tf (°C) | β Transus–Temperature Tβ (°C) | |
| Ti15Mo | 314 | 565 | 673 | 359 | 572 | 685 |
| Ti15Mo0.5Si | 295 | 559 | 671 | 330 | 580 | 680 |
| Ti15Mo1.0Si | 283 | 551 | 664 | 290 | 560 | 675 |
| Ti15Mo1.5Si | 271 | 542 | 660 | 275 | 550 | 665 |
| Ti15Mo2.0Si | 260 | 530 | 640 | 270 | 540 | 650 |
Disclaimer/Publisher’s Note: The statements, opinions and data contained in all publications are solely those of the individual author(s) and contributor(s) and not of MDPI and/or the editor(s). MDPI and/or the editor(s) disclaim responsibility for any injury to people or property resulting from any ideas, methods, instructions or products referred to in the content. |
© 2023 by the authors. Licensee MDPI, Basel, Switzerland. This article is an open access article distributed under the terms and conditions of the Creative Commons Attribution (CC BY) license (https://creativecommons.org/licenses/by/4.0/).
Share and Cite
Aly, H.A.; El-Sayed Seleman, M.M.; Bakkar, A.; Albaijan, I.; Ahmed, M.M.Z.; Ibrahim, K.M. Effect of Si Content on the Thermal Expansion of Ti15Mo(0–2 Si) Biomaterial Alloys during Different Heating Rates. Materials 2023, 16, 4768. https://doi.org/10.3390/ma16134768
Aly HA, El-Sayed Seleman MM, Bakkar A, Albaijan I, Ahmed MMZ, Ibrahim KM. Effect of Si Content on the Thermal Expansion of Ti15Mo(0–2 Si) Biomaterial Alloys during Different Heating Rates. Materials. 2023; 16(13):4768. https://doi.org/10.3390/ma16134768
Chicago/Turabian StyleAly, Hayam A., Mohamed M. El-Sayed Seleman, Ashraf Bakkar, Ibrahim Albaijan, Mohamed M. Z. Ahmed, and Khaled M. Ibrahim. 2023. "Effect of Si Content on the Thermal Expansion of Ti15Mo(0–2 Si) Biomaterial Alloys during Different Heating Rates" Materials 16, no. 13: 4768. https://doi.org/10.3390/ma16134768
APA StyleAly, H. A., El-Sayed Seleman, M. M., Bakkar, A., Albaijan, I., Ahmed, M. M. Z., & Ibrahim, K. M. (2023). Effect of Si Content on the Thermal Expansion of Ti15Mo(0–2 Si) Biomaterial Alloys during Different Heating Rates. Materials, 16(13), 4768. https://doi.org/10.3390/ma16134768

