Structural Fire Performance of Concrete-Filled Built-Up Cold-Formed Steel Columns
Abstract
:1. Introduction
2. Materials and Methods
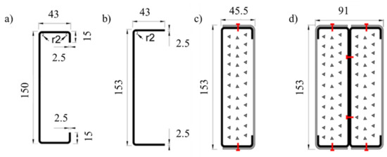
2.1. Test Specimens and Plan
| Design buckling resistance of a compression member | |
| Reduction factor for relevant buckling mode | |
| Effective are of a cross-section | |
| Yield strength | |
| Partial safety factor for resistance of members | |
| Plate thickness | |
| Effective height of a cross-section | |
| , | Effective width of a cross-section, effective plate width |
| Effective lip length of a cross-section | |
| Reduction factor for the distortional buckling resistance | |
| Reduction factor for plate buckling | |
| Width of a cross-section, plate width | |
| Elastic critical plate buckling stress | |
| Buckling factor depending on the stress distribution and boundary conditions of the plate | |
| Modulus of elasticity | |
| Poisson’s ratio | |
| Elastic critical buckling stress for an edge stiffener | |
| Spring stiffness per unit length of a stiffener | |
| Effective second moment of area of the stiffener | |
| Effective area of a stiffener | |
| Relative slenderness of a member | |
| Imperfection factor | |
| Elastic flexural buckling force | |
| Elastic torsional buckling force | |
| Elastic torsional-flexural buckling force | |
| Effective length of a member | |
| Radius of hydration of a cross-section |
2.2. Test Set-Up and Procedure
- Applying the service load (50% ) under force-control.
- After reaching the desired service load, the rigid-body movement of the top beams of the surrounding steel frame was blocked, ensuring that the axial restraint to thermal elongation was acting before turning on the electrical furnaces. For these specific tests, the imposed restraint to the composite column in fire was 3 kN/mm.
- Turning on the electrical furnaces programmed to follow as closely as possible the ISO 834 fire curve.
- With the temperature increase, the composite column started to expand. However, the column could not expand freely due to the imposed restraint. Consequently, additional axial forces were generated (indirect fire actions). The combination of additional axial forces and degradation of mechanical properties of steel and concrete led to the collapse of the composite columns. When the axial forces started to decrease and once again reached the initial service load, the composite column was no longer able to withstand the initially applied service load. This time instant defines the fire resistance of the column in terms of load-bearing capacity.
3. Experimental Results and Discussion
3.1. Material Characterization
3.2. Failure Modes
3.3. Temperature and Fire Resistance Time
3.4. Evolution of Restraining Forces and Fire Resistance
4. Comparison with Bare Steel CFS Built-Up Columns
5. Conclusions
Author Contributions
Funding
Institutional Review Board Statement
Informed Consent Statement
Data Availability Statement
Conflicts of Interest
References
- Liang, Q.Q. Analysis and Design of Steel and Composite Structures; Taylor & Francis Group: Boca Raton, FL, USA, 2015. [Google Scholar]
- Romero, M.L.; Espinós, A.; Renaud, C.; Bihina, G.; Schaumann, P.; Kleiboemer, P. Fire Resistance of Innovative and Slender Concrete Filled Tubular Composite columns (FRISCC); Final Report, Catalogue Number KI-NA; Romero, M.L., Moliner, V., Espinos, A., Ibanez, C., Hospitaler, A., Eds.; RFCS: Brussels, Belgium, 2016. [Google Scholar]
- Romero, M.L.; Moliner, V.; Espinos, A.; Ibañez, C.; Hospitaler, A. Fire behavior of axially loaded slender high strength concrete-filled tubular columns. J. Constr. Steel Res. 2011, 67, 1953–1965. [Google Scholar] [CrossRef]
- Moliner, V.; Espinos, A.; Romero, M.L.; Hospitaler, A. Fire behavior of eccentrically loaded slender high strength con-crete-filled tubular columns. J. Constr. Steel Res. 2013, 83, 137–146. [Google Scholar] [CrossRef]
- Han, L.-H.; Zhao, X.-L.; Yang, Y.-F.; Feng, J.-B. Experimental Study and Calculation of Fire Resistance of Concrete-Filled Hollow Steel Columns. J. Struct. Eng. 2003, 129, 346–356. [Google Scholar] [CrossRef]
- Han, L.-H.; Yang, Y.-F.; Xu, L. An experimental study and calculation on the fire resistance of concrete-filled SHS and RHS columns. J. Constr. Steel Res. 2003, 59, 427–452. [Google Scholar] [CrossRef]
- Lu, H.; Zhao, X.-L.; Han, L.-H. Testing of self-consolidating concrete-filled double skin tubular stub columns exposed to fire. J. Constr. Steel Res. 2010, 66, 1069–1080. [Google Scholar] [CrossRef]
- Lu, H.; Han, L.-H.; Zhao, X.-L. Fire performance of self-consolidating concrete filled double skin steel tubular columns: Experiments. Fire Saf. J. 2010, 45, 106–115. [Google Scholar] [CrossRef]
- Imani, R.; Mosqueda, G.; Bruneau, M. Experimental Study on Post-Earthquake Fire Resistance of Ductile Concrete-Filled Double-Skin Tube Columns. J. Struct. Eng. 2015, 141, 04014192. [Google Scholar] [CrossRef] [Green Version]
- Romero, M.L.; Espinós, A.; Portolés, J.; Hospitaler, A.; Ibáñez, C. Slender double-tube ultra-high strength concrete-filled tubular columns under ambient temperature and fire. Eng. Struct. 2015, 99, 536–545. [Google Scholar] [CrossRef] [Green Version]
- Twilt, L.; Hass, R.; Klingsch, W.; Edwards, M.; Dutta, D. Design Guide for Structural Hollow Section Columns Exposed to Fire: Comité International Pour le Développement et l’Etude de la Construction Tubulaire (CIDECT); CIDECT: Köln, Germany, 1996. [Google Scholar]
- Dotreppe, J.; Chu, T.; Franssen, J. Steel hollow columns filled with self-compacting concrete under fire conditions. In Proceedings of the 3rd Congress of the International Federation for Structural Concrete (FIB) and PCI Conference, Washington, DC, USA, 29 May–2 June 2010. [Google Scholar]
- Schaumann, P.; Kleibömer, I. Experimental investigations on the thermal and mechanical behaviour of composite columns with massive steel core in fire. In Proceedings of the 1st International Fire Safety Symposium (IFireSS), Coimbra, Portugal, 20–23 April 2015. [Google Scholar]
- Yu, W.-W.; Laboube, R. Cold-Formed Steel Design, 4th ed.; John Wiley & Sons, Inc.: Hoboken, NJ, USA, 2010; p. 767. [Google Scholar]
- Dubina, D.; Ungureanu, V.; Landolfo, R. Eurocode 3: Design of Steel structures: Part 1–3: Design of Cold-Formed Steel Structures, ECCS–European Convention for Constructional Steelwork. In Design of Cold-Formed Steel Structures; Wiley-Blackwell: Hoboken, NJ, USA, 2012; 676p. [Google Scholar]
- Romero, M.; Espinós, A.; Lapuebla-Ferri, A.; Albero, V.; Hospitaler, A. Recent developments and fire design provisions for CFST columns and slim-floor beams. J. Constr. Steel Res. 2020, 172, 106159. [Google Scholar] [CrossRef]
- Vamberky, J. High-Rise Buildings in the Netherlands: Hybrid Structures and Precast Concrete. In In Proceedings of the CTBUH 2004 Seoul Conference, Seoul, Lorea, 10–13 October 2004; Council on Tall Buildings and Urban Habitat: Chicago, IL, USA, 2004. [Google Scholar]
- Uy, B.; Bradford, M.A. Local buckling of cold-formed steel in composite structural elements at elevated temperatures. J. Constr. Steel Res. 1995, 34, 53–73. [Google Scholar] [CrossRef]
- Irwan, J.; Hanizah, A.; Azmi, I.; Koh, H. Large-scale test of symmetric cold-formed steel (CFS)–concrete composite beams with BTTST enhancement. J. Constr. Steel Res. 2011, 67, 720–726. [Google Scholar] [CrossRef]
- Bamaga, S.; Tahir, M.; Tan, C.; Shek, P.; Aghlara, R. Push-out tests on three innovative shear connectors for composite cold-formed steel concrete beams. Constr. Build. Mater. 2019, 223, 288–298. [Google Scholar] [CrossRef]
- Lakkavalli, B.S.; Liu, Y. Experimental study of composite cold-formed steel C-section floor joists. J. Constr. Steel Res. 2006, 62, 995–1006. [Google Scholar] [CrossRef]
- Hanaor, A. Tests of composite beams with cold-formed sections. J. Constr. Steel Res. 2000, 54, 245–264. [Google Scholar] [CrossRef]
- Sayed, G.A. Composite cold-formed steel-concrete structural system. In Proceedings of the 6th International Specialty Conference on Cold-Formed Steel Structures, St. Louis, MO, USA, 16–17 November 1982; Volume 2, pp. 485–510. Available online: http://scholarsmine.mst.edu/isccss/6iccfss/6iccfss-session9/2 (accessed on 13 November 2021).
- Nguyen, R.P. Strength of Composite Cold-formed Steel-concrete Beams. In Proceedings of the 9th International Specialty Conference on Cold-Formed Steel Structures, St. Louis, MO, USA, 8–9 November 1988; Volume 1, pp. 405–442. Available online: http://scholarsmine.mst.edu/isccss/9iccfss-session1/9iccfss-session5/1 (accessed on 13 November 2021).
- Hegyi, P.; Dunai, L. Experimental study on ultra-lightweigth-concrete encased cold-formed steel structures Part I: Stability behaviour of elements subjected to bending. Thin-Walled Struct. 2016, 101, 75–84. [Google Scholar] [CrossRef]
- Hegyi, P.; Dunai, L. Experimental investigations on ultra-lightweight-concrete encased cold-formed steel structures Part II: Stability behaviour of elements subjected to compression. Thin-Walled Struct. 2016, 101, 100–108. [Google Scholar] [CrossRef]
- Irwan, M.J.; Hanizah, A.; Azmi, I. Test of shear transfer enhancement in symmetric cold-formed steel–concrete composite beams. J. Constr. Steel Res. 2009, 65, 2087–2098. [Google Scholar] [CrossRef]
- Alenezi, K.; Tahir, M.; Alhajri, T.; Badr, M.; Mirza, J. Behavior of shear connectors in composite column of cold-formed steel with lipped C-channel assembled with ferro-cement jacket. Constr. Build. Mater. 2015, 84, 39–45. [Google Scholar] [CrossRef]
- Wehbe, N.; Bahmani, P.; Wehbe, A. Behavior of Concrete/Cold Formed Steel Composite Beams: Experimental Development of a Novel Structural System. Int. J. Concr. Struct. Mater. 2013, 7, 51–59. [Google Scholar] [CrossRef] [Green Version]
- Hsu, C.T.T.; Punurai, S.; Punurai, W.; Majdi, Y. New composite beams having cold-formed steel joists and concrete slab. Eng. Struct. 2014, 71, 187–200. [Google Scholar] [CrossRef]
- Majdi, Y.; Hsu, C.-T.T.; Zarei, M. Finite element analysis of new composite floors having cold-formed steel and concrete slab. Eng. Struct. 2014, 77, 65–83. [Google Scholar] [CrossRef]
- Qiao, W.; Yan, X.; Zhu, R.; Wang, F.; Wang, D. Flexural properties of new cold-formed thin-walled steel and concrete composite slabs. J. Build. Eng. 2020, 31, 101441. [Google Scholar] [CrossRef]
- Zhao, Y.; Yang, Y.; Xu, S.; Liu, J.; Chen, Y.F. Shear connection of reinforcement stiffened cold-formed U-shaped steel and concrete composite beam. Eng. Struct. 2020, 219, 110862. [Google Scholar] [CrossRef]
- Zhao, Y.; Zhou, X.; Yang, Y.; Liu, J.; Chen, Y.F. Shear behavior of a novel cold-formed U-shaped steel and concrete composite beam. Eng. Struct. 2019, 200, 109745. [Google Scholar] [CrossRef]
- EN 1993-1-1; Eurocode 3: Design of Steel Structures: Part 1-1: General Rules and Rules for Buildings. European Committee for Standardization: Brussels, Belgium, 2005.
- EN 1993-1-3; Design of Steel Structures: General Rules: Supplementary Rules for Cold-Formed Members and Sheeting. European Committee for Standardization: Brussels, Belgium, 2006.
- Craveiro, H.; Rodrigues, J.P.C.; Laím, L. Cold-formed steel columns made with open cross-sections subjected to fire. Thin-Walled Struct. 2014, 85, 1–14. [Google Scholar] [CrossRef]
- Craveiro, H.; Rodrigues, J.P.; Santiago, A.; Laím, L. Review of the high temperature mechanical and thermal properties of the steels used in cold formed steel structures–The case of the S280 Gd+Z steel. Thin-Walled Struct. 2016, 98, 154–168. [Google Scholar] [CrossRef]
- ISO 6892-1:2019; Metallic Materials–Tensile Testing–Part 1: Method of Test at Room Temperature. International Organization for Standardization: Geneva, Switzerland, 2019.
- EN1993-1 2:2005; Design of Steel Structures: General Rules, Structural Fire Design. European Committee for Standardization: Brussels, Belgium, 2005.
- Ranawaka, T.; Mahendran, M. Experimental study of the mechanical properties of light gauge cold-formed steels at elevated temperatures. Fire Saf. J. 2009, 44, 219–229. [Google Scholar] [CrossRef] [Green Version]
- Kankanamge, N.D.; Mahendran, M. Mechanical properties of cold-formed steels at elevated temperatures. Thin-Walled Struct. 2011, 49, 26–44. [Google Scholar] [CrossRef] [Green Version]
- Craveiro, H.; Rodrigues, J.P.; Laím, L. Experimental analysis of built-up closed cold-formed steel columns with restrained thermal elongation under fire conditions. Thin-Walled Struct. 2016, 107, 564–579. [Google Scholar] [CrossRef]
- Craveiro, H.D.d.S. Fire Resistance of Cold-Formed Steel Columns. Ph.D Thesis, University of Coimbra, Coimbra, Portugal, 2015. Available online: http://hdl.handle.net/10316/29612 (accessed on 13 November 2021).











| R | 2R | |||
|---|---|---|---|---|
| t = 1.5 mm | t = 1.5 mm | |||
| Pinned | Fixed | Pinned | Fixed | |
| Nb,rd (kN) | 45.35 | 81.58 | 159.06 | 203.82 |
| P0 (kN) | 22.68 | 40.79 | 79.53 | 101.91 |
| Test Reference | θpeak (°C) | Pmax (kN) | Pmax/P0 (––) | θcr (°C) | tcr (min) |
|---|---|---|---|---|---|
| R_PP_50LL_K1-1 | 339 | 35 | 1.61 | 392 | 25.1 |
| R_PP_50LL_K1-2 | 290 | 32 | 1.58 | 374 | 26 |
| μ | 314.4 | 33.5 | 1.595 | 383.2 | 25.458 |
| σ | 24.477 | 1.500 | 0.011 | 8.860 | 0.392 |
| Test Reference | θpeak (°C) | Pmax (kN) | Pmax/P0 (––) | θcr (°C) | tcr (min) |
|---|---|---|---|---|---|
| R_FF_50LL_K1-1 | 369 | 57 | 1.40 | 442 | 28.5 |
| R_FF_50LL_K1-2 | 388 | 60 | 1.49 | 443 | 29 |
| μ | 379.6 | 58.5 | 1.443 | 442.4 | 28.667 |
| σ | 9.237 | 1.500 | 0.046 | 0.541 | 0.167 |
| Test Reference | θpeak (°C) | Pmax (kN) | Pmax/P0 (––) | θcr (°C) | tcr (min) |
|---|---|---|---|---|---|
| 2R_PP_50LL_K1-1 | 487 | 94 | 1.22 | 537 | 31.5 |
| 2R_PP_50LL_K1-2 | 484 | 93 | 1.18 | 507 | 29 |
| μ | 485.6 | 93.4 | 1.2 | 521.6 | 30.1 |
| σ | 1.112 | 0.400 | 0.001 | 15.036 | 1.392 |
| Test Reference | θpeak (°C) | Pmax (kN) | Pmax/P0 (––) | θcr (°C) | tcr (min) |
|---|---|---|---|---|---|
| 2R_FF_50LL_K1-1 | 482 | 117 | 1.15 | 534 | 32.3 |
| 2R_FF_50LL_K1-2 | 451 | 116 | 1.14 | 521 | 32.1 |
| μ | 466.4 | 116.3 | 1.14 | 527.4 | 32.2 |
| σ | 15.194 | 0.300 | 0.002 | 6.263 | 0.017 |
Publisher’s Note: MDPI stays neutral with regard to jurisdictional claims in published maps and institutional affiliations. |
© 2022 by the authors. Licensee MDPI, Basel, Switzerland. This article is an open access article distributed under the terms and conditions of the Creative Commons Attribution (CC BY) license (https://creativecommons.org/licenses/by/4.0/).
Share and Cite
Craveiro, H.D.; Rahnavard, R.; Henriques, J.; Simões, R.A. Structural Fire Performance of Concrete-Filled Built-Up Cold-Formed Steel Columns. Materials 2022, 15, 2159. https://doi.org/10.3390/ma15062159
Craveiro HD, Rahnavard R, Henriques J, Simões RA. Structural Fire Performance of Concrete-Filled Built-Up Cold-Formed Steel Columns. Materials. 2022; 15(6):2159. https://doi.org/10.3390/ma15062159
Chicago/Turabian StyleCraveiro, Hélder D., Rohola Rahnavard, José Henriques, and Rui A. Simões. 2022. "Structural Fire Performance of Concrete-Filled Built-Up Cold-Formed Steel Columns" Materials 15, no. 6: 2159. https://doi.org/10.3390/ma15062159
APA StyleCraveiro, H. D., Rahnavard, R., Henriques, J., & Simões, R. A. (2022). Structural Fire Performance of Concrete-Filled Built-Up Cold-Formed Steel Columns. Materials, 15(6), 2159. https://doi.org/10.3390/ma15062159

