A State-Based Peridynamic Flexural Fatigue Model for Contact and Bending Conditions
Abstract
1. Introduction
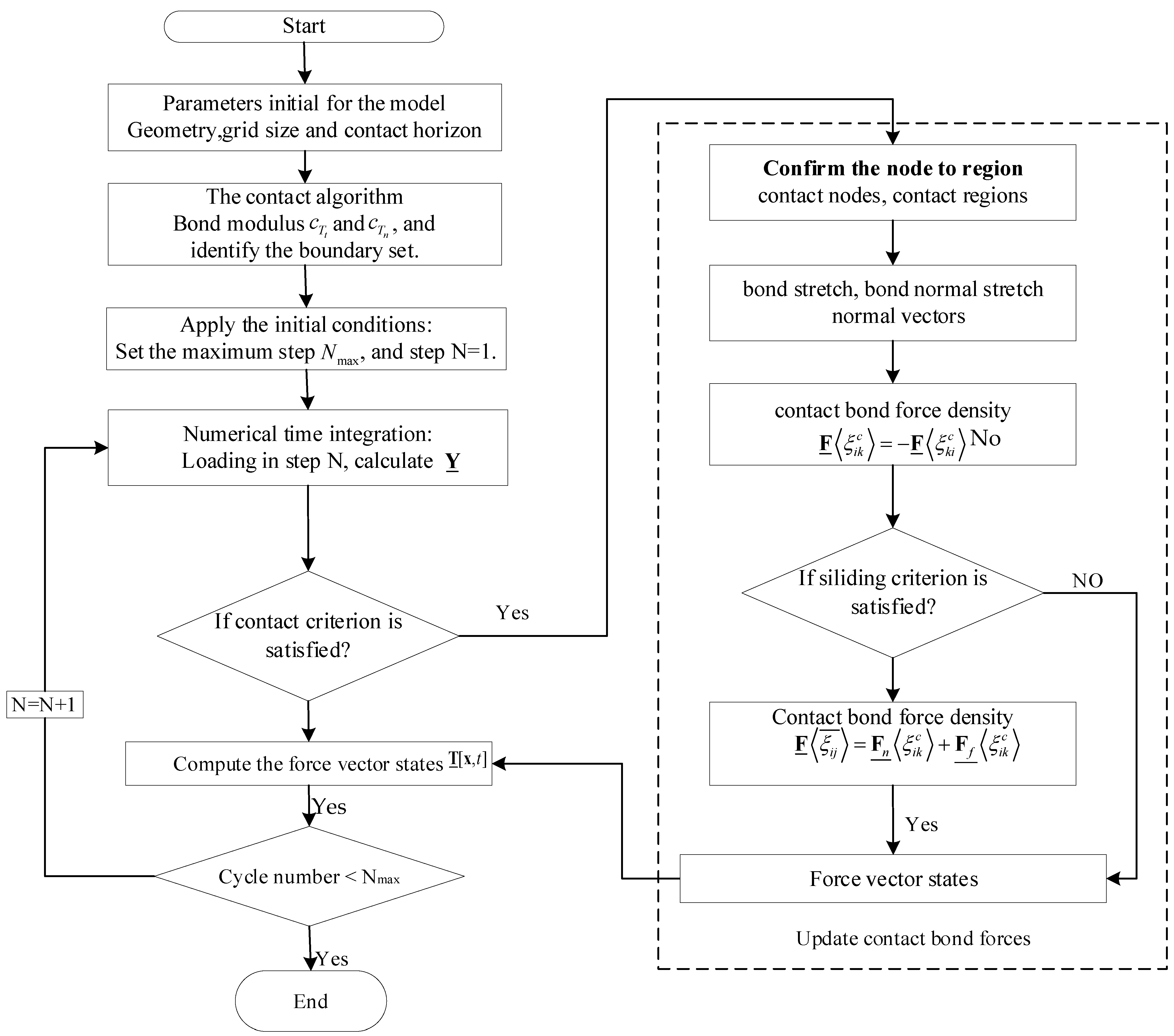
2. Nonlocal State-Based Peridynamic Contact Algorithm
2.1. State-Based Peridynamic Theory
2.2. Contact Criteria for Sliding and Rolling between Two Surfaces
2.3. State Forces in Contact Region
2.4. Contact Algorithm between Two Discrete Peridynamic Bodies
3. Peridynamic Fatigue Model
3.1. Damage Models for Peridynamic Bond and Material Particle
3.2. Fatigue Flexural Crack under Cyclic Bending Stress
3.3. Peridynamic Criteria for Crack Initiation and Propagation
4. Simulation Process of Tooth Root Fatigue Crack Initiation and Propagation
4.1. Fquivalent J-Integration between OSPD and EPFM
4.2. Numerical Method for Static Solution
4.3. Mesh Sensitivity in Peridynamic Static Solution
4.4. The Process to Simulate Tooth Root Fatigue Crack Initiation and Propagation
5. Model Verification Based on Experimental Results
5.1. Fatigue Test Equipment
5.2. Sample Dimension and Input Parameters
5.3. Results Comparison and Analysis
6. Conclusions
- (1)
- A novel OSPD fatigue model for the initiation and propagation of fatigue cracks at the tooth root was derived to evaluate the service life of the driven gear under bending fatigue loading. The fatigue crack at the tooth root germinates and propagates independently with this constitutive fatigue model.
- (2)
- The application of the entire fatigue crack propagation in the tooth root to the suggested damage model of ordinary state-based peridynamics is possible because the model has no size limitations. In light of this, the OSPD fatigue model has effectively taken into account cross-scale issues that may arise during the lifetime of fatigue fractures in tooth roots.
- (3)
- According to the time record, the tooth root crack germinates and grows into larger fissures. The proposed version’s numerical calculation results and the outcomes of the experiment show good agreement. According to our comparison, it is more effective and accurate than standard fatigue models at reproducing the tooth root fracture features as well as the spatial displacement of individual positions.
- (4)
- Without extra guidelines for manual crack propagation, the natural production and propagation of fatigue cracks in the tooth root is confirmed. A quantitative analysis of fatigue damage is performed. The evaluation of three-dimensional nucleation of fatigue cracks in the tooth root to predict fatigue life is confirmed based on the OSPD version.
Author Contributions
Funding
Institutional Review Board Statement
Informed Consent Statement
Data Availability Statement
Conflicts of Interest
Nomenclature
| Acronyms and abbreviations | |||
| FCG | Fatigue crack growth | SIF | Stress intensity factor |
| BEM | Boundary element method | EPFM | Elastic–plastic fracture mechanics |
| NOSPD | Non-ordinary state-based peridynamics | PD | Peridynamic |
| Notations | |||
| he horizon region of pariticle . | |||
| Elastic-plastic zone. | |||
| The critical bond strain. | |||
| Bond critical stretch. | |||
| The total kinetc and potential energy of the periydnmaic body. | |||
| crack | The crack surface. | ||
| Deformed bond and bond normal strain. | |||
| Sticking and sliding micromodulus. | |||
| Bulk drag coefficient. | |||
| The mass density. | |||
| Affect function. | |||
| Unit normal and tangent vectors of the contatct floor. | |||
| The number of iteration steps. | |||
| The total material points in the configuration body. | |||
| The horizon of material particle. | |||
| The contact horizon. | |||
| Equivalent stress intensity factor. | |||
Appendix A
Mocromodules for Peridynamic Contact Bond
References
- Suresh, S. Graded materials for resistance to contact deformation and damage. Science 2001, 292, 2447–2451. [Google Scholar] [CrossRef]
- Richard, H.A.; Sander, M. Fatigue Crack Growth; Springer: Berlin/Heidelberg, Germany, 2016. [Google Scholar]
- Nejad, R.M.; Berto, F. Fatigue fracture and fatigue life assessment of railway wheel using non-linear model for fatigue crack growth. Int. J. Fatigue 2021, 153, 106516. [Google Scholar] [CrossRef]
- Wang, X.; Yang, Y.; Wang, W.; Chi, W. Simulating coupling behavior of spur gear meshing and fatigue crack propagation in tooth root. Int. J. Fatigue 2020, 134, 105381. [Google Scholar] [CrossRef]
- Podrug, S.; Jelaska, D.; Glodez, S. Influence of different load models on gear crack path shapes and fatigue lives. Fatigue Fract. Eng. Mater. Struct. 2008, 31, 327–339. [Google Scholar] [CrossRef]
- Fajdiga, G.; Sraml, M. Fatigue crack initiation and propagation under cyclic contact loading. Eng. Fract. Mech. 2009, 76, 1320–1335. [Google Scholar] [CrossRef]
- Paulson, N.R.; Golmohammadi, Z.; Walvekar, A.A.; Sadeghi, F.; Mistry, K. Rolling contact fatigue in refurbished case carburized bearings. Tribol. Int. 2017, 115, 348–364. [Google Scholar] [CrossRef]
- Tonazzi, D.; Komba, E.H.; Massi, F.; Le Jeune, G.; Coudert, J.B.; Maheo, Y.; Berthier, Y. Numerical analysis of contact stress and strain distributions for greased and ungreased high loaded oscillating bearings. Wear 2017, 376, 1164–1175. [Google Scholar] [CrossRef]
- Prasannavenkatesan, R.; Zhang, J.; McDowell, D.L.; Olson, G.B.; Jou, H.-J. 3D modeling of subsurface fatigue crack nucleation potency of primary inclusions in heat treated and shot peened martensitic gear steels. Int. J. Fatigue 2009, 31, 1176–1189. [Google Scholar] [CrossRef]
- Nassiraei, H.; Rezadoost, P. Stress concentration factors in tubular T/Y-connections reinforced with FRP under in-plane bending load. Mar. Struct. 2021, 76, 102871. [Google Scholar] [CrossRef]
- Brandão, J.A.; Seabra, J.H.; Castro, J. Surface initiated tooth flank damage: Part I: Numerical model. Wear 2010, 268, 1–12. [Google Scholar] [CrossRef]
- Pariente, I.F.; Guagliano, M. Contact fatigue damage analysis of shot peened gears by means of X-ray measurements. Eng. Fail. Anal. 2009, 16, 964–971. [Google Scholar] [CrossRef]
- Yang, H.; Wang, P.; Qian, H. Fatigue behavior of typical details of orthotropic steel bridges in multiaxial stress states using traction structural stress. Int. J. Fatigue 2020, 141, 105862. [Google Scholar] [CrossRef]
- Osman, T.; Velex, P. A model for the simulation of the interactions between dynamic tooth loads and contact fatigue in spur gears. Tribol. Int. 2012, 46, 84–96. [Google Scholar] [CrossRef]
- Flašker, J.; Fajdiga, G.; Glodež, S.; Hellen, T. Numerical simulation of surface pitting due to contact loading. Int. J. Fatigue 2001, 23, 599–605. [Google Scholar] [CrossRef]
- Baragetti, S. Finite Element Analysis and Experiments for Predicting Fatigue and Rolling Contact Fatigue Behavior of Spur Gears. Period. Polytech. Mech. Eng. 2022, 66, 304–313. [Google Scholar] [CrossRef]
- Akama, M.; Mori, T. Boundary element analysis of surface initiated rolling contact fatigue cracks in wheel/rail contact systems. Wear 2002, 253, 35–41. [Google Scholar] [CrossRef]
- Nejad, R.M. Numerical study on rolling contact fatigue in rail steel under the influence of periodic overload. Eng. Fail. Anal. 2020, 115, 104624. [Google Scholar] [CrossRef]
- Ghodrati, M.; Ahmadian, M.; Mirzaeifar, R. Three-dimensional study of rolling contact fatigue using crystal plasticity and cohesive zone method. Int. J. Fatigue 2019, 128, 105208. [Google Scholar] [CrossRef]
- Wolff, K.P.; Pitangueira, R.L.; Peixoto, R.G. A displacement-based and explicit non-planar 3D crack propagation model in the generalized/extended finite element method. Theor. Appl. Fract. Mech. 2020, 108, 102647. [Google Scholar] [CrossRef]
- Zhang, H.; Liu, S.; Han, S.; Fan, L. Computation of T-stresses for multiple-branched and intersecting cracks with the numerical manifold method. Eng. Anal. Bound. Elem. 2019, 107, 149–158. [Google Scholar] [CrossRef]
- Dallago, M.; Winiarski, B.; Zanini, F.; Carmignato, S.; Benedetti, M. On the effect of geometrical imperfections and defects on the fatigue strength of cellular lattice structures additively manufactured via Selective Laser Melting. Int. J. Fatigue 2019, 124, 348–360. [Google Scholar] [CrossRef]
- Nejad, R.M.; Berto, F.; Wheatley, G.; Tohidi, M.; Ma, W. On fatigue life prediction of Al-alloy 2024 plates in riveted joints. Structures 2021, 33, 1715–1720. [Google Scholar] [CrossRef]
- Ooi, G.T.C.; Roy, S.; Sundararajan, S. Investigating the effect of retained austenite and residual stress on rolling contact fatigue of carburized steel with XFEM and experimental approaches. Mater. Sci. Eng. A 2018, 732, 311–319. [Google Scholar] [CrossRef]
- Allison, B.; Pandkar, A. Critical factors for determining a first estimate of fatigue limit of bearing steels under rolling contact fatigue. Int. J. Fatigue 2018, 117, 396–406. [Google Scholar] [CrossRef]
- De Castro, J.T.P.; Meggiolaro, M.A.; de Oliveira Miranda, A.C. Singular and non-singular approaches for predicting fatigue crack growth behavior. Int. J. Fatigue 2005, 27, 1366–1388. [Google Scholar] [CrossRef]
- Stepanova, L.; Igonin, S. Perturbation method for solving the nonlinear eigenvalue problem arising from fatigue crack growth problem in a damaged medium. Appl. Math. Model. 2014, 38, 3436–3455. [Google Scholar] [CrossRef]
- Paul, S.K.; Tarafder, S. Cyclic plastic deformation response at fatigue crack tips. Int. J. Press. Vessel. Pip. 2013, 101, 81–90. [Google Scholar] [CrossRef]
- Besel, M.; Breitbarth, E. Advanced analysis of crack tip plastic zone under cyclic loading. Int. J. Fatigue 2016, 93, 92–108. [Google Scholar] [CrossRef]
- Amuzuga, P.; Depale, B. Open gear rolling contact fatigue life prediction by a numerical approach. J. Tribol. 2022, 144, 1–18. [Google Scholar] [CrossRef]
- Kadge, R. Finite Element Analysis on Design Optimized Bevel Gear Pair to Check Its Durability. SAE Int. J. Passeng. Veh. Syst. 2022, 15, 61–70. [Google Scholar] [CrossRef]
- Correia, J.A.; De Jesus, A.M.; Fernandes, A.A.; Calçada, R. Mechanical Fatigue of Metals: Experimental and Simulation Perspectives; Springer: Cham, Switzerland, 2019; Volume 7. [Google Scholar]
- Muñiz-Calvente, M.; Fernández-Canteli, A. Probabilistic Mechanical Fatigue and Fracture of Materials. Materials 2020, 13, 4901. [Google Scholar] [CrossRef] [PubMed]
- Dündar, H.; Ayhan, A.O. Three-dimensional fracture and fatigue crack propagation analysis in structures with multiple cracks. Comput. Struct. 2015, 158, 259–273. [Google Scholar] [CrossRef]
- Sutula, D.; Kerfriden, P.; van Dam, T.; Bordas, S.P. Minimum energy multiple crack propagation. Part I: Theory and state of the art review. Eng. Fract. Mech. 2018, 191, 205–224. [Google Scholar] [CrossRef]
- Pandey, R. Failure analysis of coal pulveriser gear box. Eng. Fail. Anal. 2007, 14, 541–547. [Google Scholar] [CrossRef]
- Zhang, X.; Wei, P.; Parker, R.G.; Liu, G.; Liu, H.; Wu, S. Study on the relation between surface integrity and contact fatigue of carburized gears. Int. J. Fatigue 2022, 165, 107203. [Google Scholar] [CrossRef]
- Namjoshi, S.A.; Mall, S.; Jain, V.; Jin, O. Fretting fatigue crack initiation mechanism in Ti–6Al–4V. Fatigue Fract. Eng. Mater. Struct. 2002, 25, 955–964. [Google Scholar] [CrossRef]
- Sangid, M.D. The physics of fatigue crack initiation. Int. J. Fatigue 2013, 57, 58–72. [Google Scholar] [CrossRef]
- Bhatti, N.A.; Wahab, M.A. Fretting fatigue crack nucleation: A review. Tribol. Int. 2018, 121, 121–138. [Google Scholar] [CrossRef]
- Nguyen, H.; Gallimard, L.; Bathias, C. Numerical simulation of fish-eye fatigue crack growth in very high cycle fatigue. Eng. Fract. Mech. 2015, 135, 81–93. [Google Scholar] [CrossRef]
- Bhatti, N.A.; Pereira, K.; Wahab, M.A. A continuum damage mechanics approach for fretting fatigue under out of phase loading. Tribol. Int. 2018, 117, 39–51. [Google Scholar] [CrossRef]
- Marji, M.F. Numerical analysis of quasi-static crack branching in brittle solids by a modified displacement discontinuity method. Int. J. Solids Struct. 2014, 51, 1716–1736. [Google Scholar] [CrossRef]
- Peixoto, R.; Ribeiro, G.; Pitangueira, R. A boundary element method formulation for quasi-brittle material fracture analysis using the continuum strong discontinuity approach. Eng. Fract. Mech. 2018, 202, 47–74. [Google Scholar] [CrossRef]
- Turon, A.; Camanho, P.P.; Costa, J.; Dávila, C. A damage model for the simulation of delamination in advanced composites under variable-mode loading. Mech. Mater. 2006, 38, 1072–1089. [Google Scholar] [CrossRef]
- Alessi, R.; Marigo, J.-J.; Vidoli, S. Gradient damage models coupled with plasticity: Variational formulation and main properties. Mech. Mater. 2015, 80, 351–367. [Google Scholar] [CrossRef]
- Silling, S.A.; Epton, M.; Weckner, O.; Xu, J.; Askari, E. Peridynamic states and constitutive modeling. J. Elast. 2007, 88, 151–184. [Google Scholar] [CrossRef]
- Tian, X.; Du, Q. Analysis and Comparison of Different Approximations to Nonlocal Diffusion and Linear Peridynamic Equations. Siam J. Numer. Anal. 2013, 51, 3458–3482. [Google Scholar] [CrossRef]
- Tian, X.; Du, Q. Asymptotically Compatible Schemes and Applications to Robust Discretization of Nonlocal Models. Siam J. Numer. Anal. 2014, 52, 1641–1665. [Google Scholar] [CrossRef]
- D’Elia, M.; Du, Q.; Glusa, C.; Gunzburger, M.; Tian, X.; Zhou, Z. Numerical methods for nonlocal and fractional models. Acta Numer. 2020, 29, 1–124. [Google Scholar] [CrossRef]
- Bobaru, F.; Ha, Y.D. Adaptive Refinement and Multiscale Modeling in 2D Peridynamics. Int. J. Multiscale Comput. Eng. 2011, 9, 635–659. [Google Scholar] [CrossRef]
- Seleson, P.; Ha, Y.D.; Beneddine, S. Concurrent Coupling of Bond-based Peridynamics and the Navier Equation of Classical Elasticity by Blending. Int. J. Multiscale Comput. Eng. 2015, 13, 91–113. [Google Scholar] [CrossRef]
- Costa, T.B.; Bond, S.D.; Littlewood, D.J. Nonlocal and Mixed-locality Multiscale Finite Element Methods. Multiscale Model. Simul. 2018, 16, 503–527. [Google Scholar] [CrossRef]
- Silling, S.A.; Lehoucq, R.B. Peridynamic Theory of Solid Mechanics. Adv. Appl. Mech. 2010, 44, 73–168. [Google Scholar]
- Madenci, E.; Oterkus, E. Peridynamic theory. In Peridynamic Theory and Its Applications; Springer: New York, NY, USA, 2014; pp. 19–43. [Google Scholar]
- Littlewood, D.J.; Vogler, T. Modeling Dynamic Fracture with Peridynamics Finite Element Modeling and Contact; Sandia National Lab: Albuquerque, NM, USA, 2011. [Google Scholar]
- Kamensky, D.; Behzadinasab, M.; Foster, J.T.; Bazilevs, Y. Peridynamic modeling of frictional contact. J. Peridyn. Nonlocal Model. 2019, 1, 107–121. [Google Scholar] [CrossRef]
- Silling, S.A. Reformulation of elasticity theory for discontinuities and long-range forces. J. Mech. Phys. Solids 2000, 48, 175–209. [Google Scholar]
- Oterkus, E.; Madenci, E.; Weckner, O.; Silling, S.; Bogert, P.; Tessler, A. Combined finite element and peridynamic analyses for predicting failure in a stiffened composite curved panel with a central slot. Compos. Struct. 2012, 94, 839–850. [Google Scholar] [CrossRef]
- Nguyen, C.T.; Oterkus, S.; Oterkus, E. An energy-based peridynamic model for fatigue cracking. Eng. Fract. Mech. 2021, 241, 107373. [Google Scholar] [CrossRef]
- Silling, S.A.; Askari, A. Peridynamic MODEL for Fatigue Cracking; Sandia National Lab: Albuquerque, NM, USA, 2014. [Google Scholar]
- Zhang, G.; Le, Q.; Loghin, A.; Subramaniyan, A.; Bobaru, F. Validation of a peridynamic model for fatigue cracking. Eng. Fract. Mech. 2016, 162, 76–94. [Google Scholar] [CrossRef]
- Ma, X.; Xu, J.; Liu, L.; Wang, P.; Feng, Q.; Xu, J. A 2D peridynamic model for fatigue crack initiation of railheads. Int. J. Fatigue 2020, 135, 105536. [Google Scholar] [CrossRef]
- Bang, D.; Ince, A.; Oterkus, E.; Oterkus, S. Crack growth modeling and simulation of a peridynamic fatigue model based on numerical and analytical solution approaches. Theor. Appl. Fract. Mech. 2021, 114, 103026. [Google Scholar]


















| Cases | |||
|---|---|---|---|
| l1n(1…5) × 1.01 × | 0.002068 | 0.002400 | 0.001958 |
| l2n(1…5) × 1.01 × | 0.001048 | 0.00105 | 0.001020 |
| l3n(1…5) × 1.01 × | 0.000669 | 0.000700 | 0.000684 |
| l4n(1…5) × 1.01 × | 0.000494 | 0.000516 | 0.000534 |
| l5n(1…5) × 1.01 × | 0.000389 | 0.00042 | 0.000434 |
| Gear | Tooth Number | Module/mm | Pressue Angle | Face Width/mm |
|---|---|---|---|---|
| Driving gear | 19 | 5 | 20 | 40 |
| Driven gear | 48 | 5 | 20 | 40 |
| Name | E/GPa | σ0.2/MPa | σb/MPa | Fatigue Strength/MPa | Density g/cm3 | Poisson’ Ratio | Brinell Hardness/HB | Shear Modulus/GPa | Shear Strength/MPa |
|---|---|---|---|---|---|---|---|---|---|
| 18CrNiMo7–6 | 210 | 580 | 795 | 320 | 3.0 | 0.3 | 229 | 80 | 330 |
| Samples | Initiation | Propagation | Angle |
|---|---|---|---|
| 18CrNiMo7-6-1 | 298,910 | 286,410 | 62.5 |
| 18CrNiMo7-6-2 | 285,334 | 300,234 | 65.5 |
| 18CrNiMo7-6-3 | 300,368 | 265,036 | 59.3 |
| 18CrNiMo7-6-4 | 290,658 | 29,058 | 61.8 |
| 18CrNiMo7-6-5 | 300,648 | 200,489 | 58.8 |
| 18CrNiMo7-6-6 | 241,006 | 268,586 | 62.6 |
Publisher’s Note: MDPI stays neutral with regard to jurisdictional claims in published maps and institutional affiliations. |
© 2022 by the authors. Licensee MDPI, Basel, Switzerland. This article is an open access article distributed under the terms and conditions of the Creative Commons Attribution (CC BY) license (https://creativecommons.org/licenses/by/4.0/).
Share and Cite
Han, J.; Yu, H.; Pan, J.; Chen, R.; Chen, W. A State-Based Peridynamic Flexural Fatigue Model for Contact and Bending Conditions. Materials 2022, 15, 7762. https://doi.org/10.3390/ma15217762
Han J, Yu H, Pan J, Chen R, Chen W. A State-Based Peridynamic Flexural Fatigue Model for Contact and Bending Conditions. Materials. 2022; 15(21):7762. https://doi.org/10.3390/ma15217762
Chicago/Turabian StyleHan, Junzhao, Hao Yu, Jun Pan, Rong Chen, and Wenhua Chen. 2022. "A State-Based Peridynamic Flexural Fatigue Model for Contact and Bending Conditions" Materials 15, no. 21: 7762. https://doi.org/10.3390/ma15217762
APA StyleHan, J., Yu, H., Pan, J., Chen, R., & Chen, W. (2022). A State-Based Peridynamic Flexural Fatigue Model for Contact and Bending Conditions. Materials, 15(21), 7762. https://doi.org/10.3390/ma15217762

