Synthesis and Application of N-methylphthalimidylazo Disperse Dyes to Cellulose Diacetate for High Wash Fastness
Abstract
:1. Introduction
2. Materials and Methods
2.1. Materials and Reagents
2.2. Instrumentation
2.3. Dye Synthesis and Preparation of Dye Dispersions
- P1.
- (5-((4-(diethylamino)phenyl)diazenyl)-2-methylisoindoline-1,3-dione). Reddish orange solid. Yield 75.2%. M.p. 187–188 °C. IR (KBr) νmax: 2978 (w, CH), 1715 (s, C = O), 1600, 1518 (s, ArC = C), 1557 (w, N = N) cm−1. 1H NMR (500 MHz, DMSO-d6) δ: 1.17 (6H, t, J = 7.2, N(CH2CH3)2), 3.06 (3H, s, pthalimide-CH3), 3.50 (4H, q, J = 7.0, N(CH2CH3)2), 6.84 (2H, d, J = 9.5, ArH), 7.84 (2H, d, J = 9.5, ArH), 7.93 (1H, d, J = 9.5, phthalimide-H), 8.00 (1H, s, phthalimide-H), 8.12 (1H, d, J = 8.0, phthalimide-H) ppm. Anal. calcd for C19H20N4O2 (%): C 67.84; H 5.99; N 16.66, found: C 67.69; H 5.95; N 16.61.
- P2.
- (5-((4-(ethyl(2-hydroxyethyl)amino)phenyl)diazenyl)-2-methylisoindoline-1,3-dione). Reddish orange solid. Yield 62.3%. M.p. 196–197 °C. IR (KBr) νmax: 3239 (s, OH), 2978 (w, CH), 1714 (s, C = O), 1600, 1518 (s, ArC = C), 1555 (w, N = N), 1080 (m, C-O) cm−1. 1H NMR (500 MHz, DMSO-d6) δ: 1.16 (3H, t, J = 7.0, NCH2CH3), 3.05 (3H, s, phthalimide-CH3), 3.50–3.56 (4H, m, NCH2), 3.631 (2H, t, J = 5.9, NCH2CH2OH), 4.84 (1H, s, NCH2CH2OH), 6.87 (2H, d, J = 9.0, ArH), 7.82 (2H, d, J = 9.0, ArH), 7.93 (1H, d, J = 8.0, phthalimide-H), 8.00 (1H, s, phthalimide-H), 8.11 (1H, d, J = 8.0, phthalimide-H) ppm. Anal. calcd for C19H20N4O3 (%): C 64.76; H 5.72; N 15.90, found: C 64.58; H 5.69; N 15.86.
- P3.
- (5-((4-(bis(2-hydroxyethyl)amino)phenyl)diazenyl)-2-methylisoindoline-1,3-dione). Reddish orange solid. Yield 59.4%. M.p. 207–208 °C. IR (KBr) νmax: 3239 (s, OH), 2978 (w, CH), 1709 (s, C = O), 1600, 1518 (s, ArC = C), 1560 (w, N = N), 1042 (m, C-O) cm−1. 1H NMR (500 MHz, DMSO-d6) δ: 3.06 (3H, s, phthalimide-CH3), 3.59–3.63 (8H, m, NCH2CH2), 4.86 (2H, s, N(CH2CH2OH)2), 6.90 (2H, d, J = 9.3, ArH), 7.83 (2H, d, J = 9.1, ArH), 7.93 (1H, d, J = 8.0, phthalimide-H), 8.00 (1H, s, phthalimide-H), 8.11 (1H, d, J = 8.0, phthalimide-H). Anal. calcd for C19H20N4O4 (%): C 61.95; H 5.47; N 15.21, found: C 61.78; H 5.42; N 15.17.
- P4.
- (5-((4-(diethylamino)-2-methylphenyl)diazenyl)-2-methylisoindoline-1,3-dione). Red powder. Yield 81.0%. M.p. 204–205 °C. IR (KBr) νmax: 2972 (w, CH), 1714 (s, C = O), 1600, 1511 (s, ArC = C), 1559 (w, N = N) cm−1. 1H NMR (500 MHz, DMSO-d6) δ: 1.18 (6H, t, J = 7.0, N(CH2CH3)2), 2.65 (3H, s, ArCH3), 3.06 (3H, s, phthalimide-CH3), 3.49 (4H, q, J 7.2, N(CH2CH3)2), 6.68 (2H, d, J = 7.3, ArH), 7.74 (2H, d, J = 9.9, ArH), 7.97 (1H, d, J = 7.9, phthalimide-H), 8.01 (1H, s, phthalimide-H), 8.10 (1H, d, J = 8.0, phthalimide-H). Anal. calcd for C20H22N4O2 (%): C 68.55; H 6.33; N 15.99, found: C 68.40; H 6.30; N 15.92.
- P5.
- (5-((4-(ethyl(2-hydroxyethyl)amino)-2-methylphenyl)diazenyl)-2-methylisoindoline-1,3-dione). Red powder. Yield 67.2%. M.p. 210–211 °C. IR (KBr) νmax: 3200 (s, OH), 2978 (w, CH), 1714 (s, C = O), 1600, 1505 (s, ArC = C), 1557 (w, N = N), 1032 (me, C-O) cm−1. 1H NMR (500 MHz, DMSO-d6) δ: 1.16 (3H, t, J = 7.0, NCH2CH3), 2.63 (3H, s, ArCH3) 3.05 (3H, s, phthalimide-CH3), 3.49-3.54 (4H, m, NCH2), 3.61 (2H, t, J = 6.0, NCH2CH2-OH), 4.83 (1H, s, NCH2CH2OH), 6.69 (2H, m, ArH), 7.70 (1H, d, J = 9.9, ArH), 7.94 (1H, d, J = 7.8, phthalimide-H), 7.97 (1H, s, phthalimide-H), 8.07 (1H, d, J = 7.9, phthalimide-H). Anal. calcd for C20H22N4O3 (%): C 65.56; H 6.05; N 15.29, found: C 65.38; H 6.01; N 15.22.
- P6.
- (5-((4-(bis(2-hydroxyethyl)amino)-2-methylphenyl)diazenyl)-2-methylisoindoline-1,3-dion). Reddish orange solid. Yield 62.3%. M.p. 221–222 °C. IR (KBr) νmax: 3226 (s, OH), 2988 (w, CH), 1714 (s, C = O), 1600, 1508 (s, ArC = C), 1566 (w, N = N), 1073 (m, C-O) cm−1. 1H NMR (500 MHz, DMSO-d6) δ: 2.63 (3H, s, ArCH3), 3.04 (3H, s, phthalimide-CH3), 3.56–3.61 (8H, m, N(CH2CH2OH)2), 4.85 (2H, s, N(CH2CH2OH)2), 6.70 (2H, d, J = 9.5, ArH), 7.68 (2H, d, J = 10.0, ArH), 7.94 (1H, d, J = 9.9, phthalimide-H), 7.96 (1H, s, phthalimide-H), 8.07 (1H, d, J = 7.9, phthalimide-H). Anal. calcd for C20H22N4O4 (%): C 62.82; H 5.80; N 14.65, found: C 62.65; H 5.79; N 14.60.
- N1.
- (N,N-diethyl-4-((4-nitrophenyl)diazenyl)aniline). Brownish red solid. Yield 89.3%. M.p. 150–151 °C. IR (KBr) νmax: 2950 (w, CH), 1600, 1508 (s, ArC = C), 1556 (w, N = N), 1512, 1353 (s, NO2) cm−1. 1H NMR (500 MHz, DMSO-d6) δ: 1.17 (6H, t, J = 7.0, N(CH2CH3)2), 3.50 (4H, q, J = 7.2, N(CH2CH3)2), 6.85 (2H, d, J = 9.0, ArH), 7.84 (2H, d, J = 9.5, ArH), 7.92 (2H, d, J = 9.0, ArH), 8.35 (2H, d, J = 9.0, ArH). Anal. calcd for C16H18N4O2 (%): C 64.41; H 6.08; N 18.78, found: C 64.28; H 6.05; N 18.72.
- N2.
- (2-(ethyl(4-((4-nitrophenyl)diazenyl)phenyl)amino)ethanol): dark brownish red solid; yield 66.2%. M.p. 159–160 °C. IR (KBr) νmax: 3429 (s, OH), 2937 (w, CH), 1600, 1508 (s, ArC = C), 1557 (w, N = N), 1512, 1353 (s, NO2), 1000 (m, C-O) cm−1. 1H NMR (500 MHz, DMSO-d6) δ: 1.17 (3H, t, J = 7.0, NCH2CH3), 3.51-3.55 (4H, m, NCH2), 3.63 (2H, t, J = 6.0, NCH2CH2OH), 4.86 (1H, s, NCH2CH2OH), 6.87 (2H, d, J = 9.0, ArH), 7.82 (2H, d, J = 9.0, ArH), 7.95 (2H, d, J = 8.0, ArH), 8.10 (2H, d, J = 8.0, ArH). Anal. calcd for C16H18N4O3 (%): C 61.13; H 5.77; N 17.82, found: C 60.94; H 5.72; N 17.76.
- N3.
- (2,2’-((4-((4-nitrophenyl)diazenyl)phenyl)azanediyl)diethanol. Brownish red solid. Yield 60.8%. M.p. 170–171 °C. IR (KBr) νmax: 3390 (s, OH), 2975 (w, CH), 1600, 1508 (s, ArC = C), 1559 (w, N = N), 1512, 1333 (s, NO2), 1048 (m, C-O) cm−1. 1H NMR (500 MHz, DMSO-d6) δ: 3.62–3.67 (8H, m, N(CH2CH2OH) 2), 4.89 (1H, s, N(CH2CH2OH)2), 6.91 (2H, d, J = 9.0, ArH), 7.82 (2H, d, J = 9.0, ArH), 7.91 (2H, d, J = 9.0, ArH), 8.34 (2H, d, J = 9.0, ArH). Anal. calcd for C16H18N4O4 (%): C 58.17; H 5.49; N 16.96, found: C 58.00; H 5.42; N 16.90.
- N4.
- (N,N-diethyl-3-methyl-4-((4-nitrophenyl)diazenyl)aniline). Violet solid. Yield 64.4%. M.p. 164–165 °C. IR (KBr) νmax: 2928 (w, CH), 1600, 1508 (s, ArC = C), 1559 (w, N = N), 1512, 1359 (s, NO2) cm−1. 1H NMR (500 MHz, DMSO-d6) δ: 1.16 (6H, t, J = 7.0, N(CH2CH3)2), 2.65 (3H, s, ArCH3), 3.49 (4H, q, J = 7.2, N(CH2CH3)2), 6.85 (2H, d, J = 9.0, ArH), 7.74 (1H, d, J = 10.0, ArH), 7.97 (2H, d, J = 9.9, ArH), 8.10 (2H, d, J = 8.0, ArH). Anal. calcd for C17H20N4O2 (%): C 65.37; H 6.45; N 17.94, found: C 65.11; H 6.41; N 17.89.
- N5.
- (2-(ethyl(3-methyl-4-((4-nitrophenyl)diazenyl)phenyl)amino)ethanol). Dark brownish red solid. Yield 58.9%. M.p. 173–174 °C. IR (KBr) νmax: 3271 (s, OH), 2975 (w, CH), 1603, 1508 (s, ArC = C), 1559 (w, N = N), 1512, 1355 (s, NO2), 1044 (m, C-O) cm−1. 1H NMR (500 MHz, DMSO-d6) δ: 1.16 (3H, t, J = 7.0, NCH2CH3), 2.63 (3H, s, ArCH3) 3.50–3.54 (4H, m, NCH2), 3.62 (2H, t, J = 6.0, NCH2CH2OH), 4.86 (1H, s, NCH2CH2OH), 6.69 (2H, d, J = 4.5, ArH), 7.70 (1H, d, J = 10.0, ArH), 7.94 (2H, d, J = 8.0, ArH), 8.08 (2H, d, J = 8.0, ArH). Anal. calcd for C17H20N4O3 (%): C 62.18; H 6.14; N 17.06, found: C 62.01; H 6.11; N 17.01.
- N6.
- (2,2’-((3-methyl-4-((4-nitrophenyl)diazenyl)phenyl)azanediyl)diethanol). Dark brownish red solid. Yield 59.1%. M.p. 184–185 °C. IR (KBr) νmax: 3276 (s, OH), 2930 (w, CH), 1603, 1508 (s, ArC = C), 1558 (w, N = N), 1512, 1340 (s, NO2), 1067 (m, C-O) cm−1. 1H NMR (500 MHz, DMSO-d6) δ: 2.63 (3H, s, ArCH3), 3.59–3.63 (8H, m, N(CH2CH2OH)2), 4.85 (2H, s, N(CH2CH2OH)2), 6.70 (2H, d, J = 9.5, ArH), 7.68 (1H, d, J = 10.0, ArH), 7.93 (2H, d, J = 8.0, ArH), 8.072 (2H, d, J = 8.0, ArH). Anal. calcd for C17H20N4O4 (%): C 59.29; H 5.85; N 16.27, found: C 59.02; H 5.82; N 16.21.
2.4. Dyeing
2.5. Color Fastness Test
3. Results
3.1. Spectral Properties of the Synthesized Dyes
3.2. Dyeing Properties on Cellulose Diacetate
3.2.1. Buildup Properties on Cellulose Diacetate
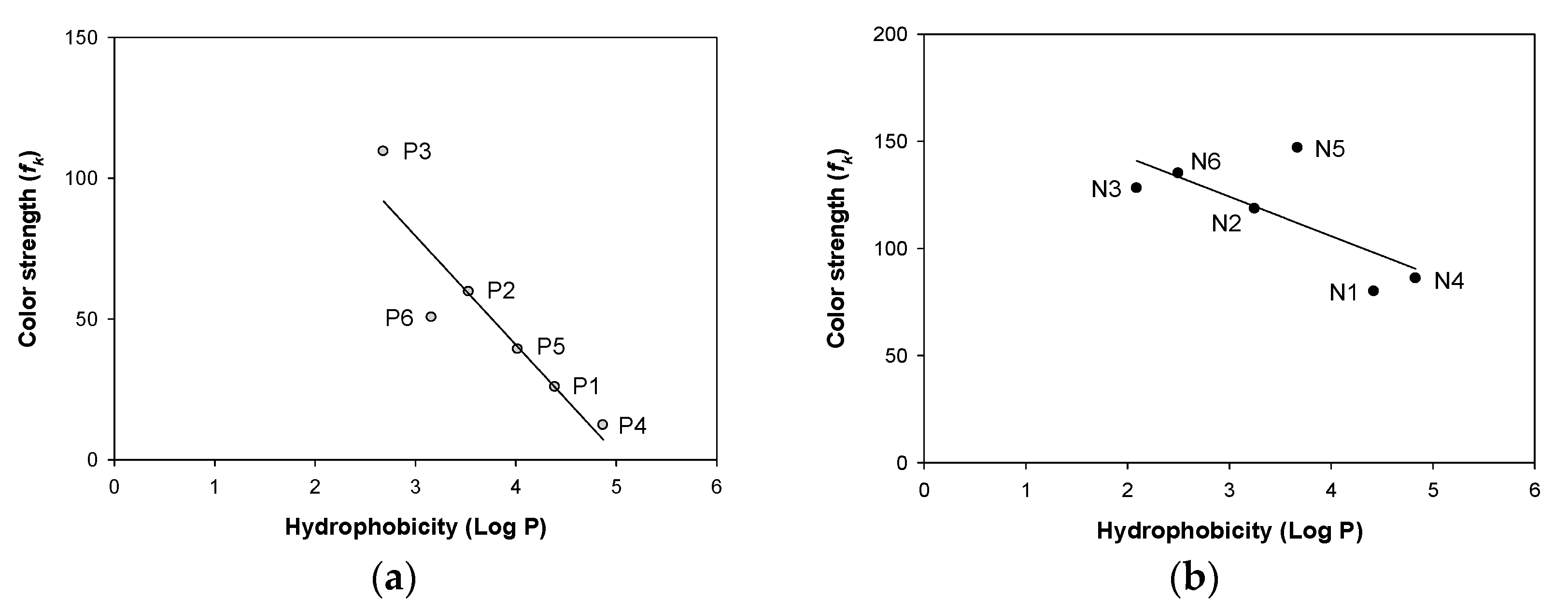
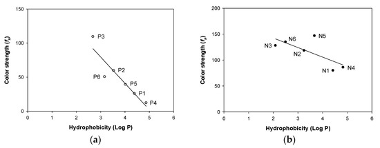
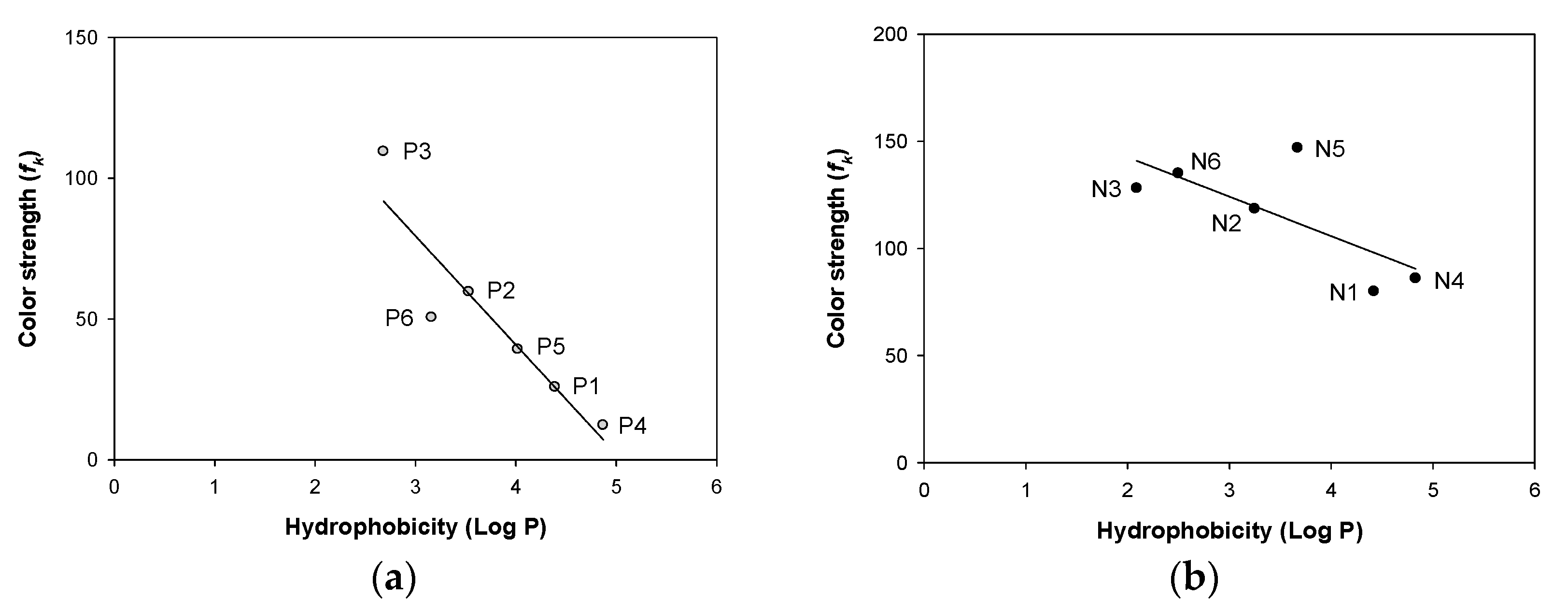
3.2.2. Color Properties on Cellulose Diacetate
3.3. Color Fastness to Washing
4. Conclusions
Author Contributions
Funding
Acknowledgments
Conflicts of Interest
Abbreviations
References
- Abdul Khalil, H.P.S.; Bhat, I.U.H.; Jawaid, M.; Zaidon, A.; Hermawan, D.; Hadi, Y.S. Bamboo fibre reinforced biocomposites: A review. Mater. Des. 2012, 42, 353–368. [Google Scholar] [CrossRef]
- Abdul Khalil, H.P.S.; Lai, T.K.; Tye, Y.Y.; Paridah, M.T.; Fazita, M.R.N.; Azniwati, A.A.; Dungani, R.; Rizal, S. Preparation and characterization of microcrystalline cellulose from sacred Bali bamboo as reinforcing filler in seaweed-based composite film. Fibers Polym. 2019, 19, 423–434. [Google Scholar] [CrossRef]
- Chávez-Guerrero, L.; Esneider, M.; Bonilla, J.; Toxqui-Terán, A. Eco-friendly extraction of fibrils with hierarchical structure assisted by freeze-drying using Agave Salmiana leaves as a raw material. Fibers Polym. 2020, 21, 66–72. [Google Scholar] [CrossRef]
- Hamed, O.A.; Jodeh, S.; Al-Hajj, N.; Hamed, E.M.; Abo-Obeid, A.; Fouad, Y. Cellulose acetate from biomass waste of olive industry. J. Wood Sci. 2015, 61, 45–52. [Google Scholar] [CrossRef]
- Heinze, T.; Liebert, T. Chemical characteristics of cellulose acetate. In Cellulose Acetates: Properties and Applications; Rustemeyer, P., Ed.; Wiley: Weinham, Germany, 2004; pp. 167–238. [Google Scholar]
- Rouette, H.K. Encyclopedia of Textile Finishing; Springer: Berlin/Heidelberg, Germany, 2000; pp. 255–257. [Google Scholar]
- Broadbent, A.D. Basic Principles of Textile Coloration; SDC: Bradford, UK, 2001; pp. 11–14. [Google Scholar]
- Koh, J. Dyeing with Disperse Dyes. In Textile Dyeing; Hauser, P., Ed.; Intech Open Limited: London, UK, 2011; pp. 207–209. ISBN 978-953-307-704-8. [Google Scholar]
- Burkinshaw, S.M. Chemical Principles of Synthetic Fibre Dyeing; Chapman and Hall: Glasgow, UK, 1995; pp. 68–69. [Google Scholar]
- Mamun Kabir, S.M.; Eom, M.; Lee, J.; Chae, D.E.; Baek, S.; Koh, J. Investigation of alkaline hydrolysis of phthalimide-based azo dye and its application to after-treatment optimization for high-fastness dyeing of polyesters. Color. Technol. 2018, 134, 206–213. [Google Scholar] [CrossRef]
- Koh, J.S.; Kim, J.P. Synthesis of phthalimide-based alkali-dischargeable azo disperse dyes and analysis of their alkali-hydrolysis mechanism. Dyes Pigment. 1998, 37, 265–272. [Google Scholar] [CrossRef]
- Koh, J.; Kim, H.; Park, J. Synthesis and spectral properties of phthalimide based alkali-clearable azo disperse dyes. Fibers Polym. 2009, 9, 143–151. [Google Scholar] [CrossRef]
- Koh, J. Synthesis and Application of Alkali-Clearable Azo Disperse Dyes Containing a Fluorosulfonyl Group and Analysis of Their Alkali-Hydrolysis Kinetics. Ph.D. Thesis, Seoul National University, Seoul, South Korea, August 2002. [Google Scholar]
- Baumann, W.; Groebel, B.T.; Krayer, M.; Oesch, H.P.; Brossman, R.; Kleinmeier, N.; Leaver, A.T. Determination of relative colour strength and residual colour difference by means of reflectance measurements. J. Soc. Dye. Colour. 1987, 103, 100–105. [Google Scholar]
- ISO 105-C06: 2010. Textiles—Tests for Colour Fastness—Part C06: Colour Fastness to Domestic and Commercial Laundering; International Organization for Standardization: Geneva, Switzerland. Available online: https://www.iso.org/obp/ui#iso:std:iso:105:-C06:ed-4:v1:en (accessed on 31 October 2020).
- Gordon, P.F.; Gregory, P. Organic Chemistry in Colour; Springer: New York, NY, USA, 1983; pp. 126–131. [Google Scholar]
- Lewin, M.; Pearce, E.M. Handbook of Fiber Chemistry, 2nd ed.; Marcel Dekker, Inc.: New York, NY, USA, 1998; pp. 834–835. [Google Scholar]










| Dye Structures | Dye | R1 | R2 | R3 |
|---|---|---|---|---|
![]() ![]() | P1/N1 | H | C2H5 | C2H5 |
| P2/N2 | H | C2H5 | C2H4OH | |
| P3/N3 | H | C2H4OH | C2H4OH | |
| P4/N4 | CH3 | C2H5 | C2H5 | |
| P5/N5 | CH3 | C2H5 | C2H4OH | |
| P6/N6 | CH3 | C2H4OH | C2H4OH |
| Dye | (nm) | (Lmo−1cm−1) | (nm) | Dye | (nm) | (Lmo−1cm−1) | (nm) |
|---|---|---|---|---|---|---|---|
| P1 | 485 | 21,400 | 115 | N1 | 486 | 35,800 | 125 |
| P2 | 482 | 32,700 | 113 | N2 | 485 | 37,300 | 129 |
| P3 | 477 | 34,400 | 109 | N3 | 486 | 35,800 | 134 |
| P4 | 498 | 17,000 | 109 | N4 | 499 | 33,300 | 131 |
| P5 | 486 | 29,800 | 118 | N5 | 486 | 33,500 | 138 |
| P6 | 488 | 33,400 | 106 | N6 | 488 | 35,800 | 125 |
| Dye | L* | a* | b* | C* | hab | Color on Cellulose Acetate |
|---|---|---|---|---|---|---|
| P1 | 62.9 | 47.3 | 42.9 | 63.8 | 42.2 | Strong reddish orange |
| P2 | 54.6 | 55.0 | 53.9 | 77.0 | 44.4 | Vivid reddish orange |
| P3 | 52.2 | 57.0 | 56.1 | 80.0 | 44.5 | Vivid reddish orange |
| P4 | 68.2 | 37.5 | 18.3 | 41.7 | 26.0 | Strong yellowish pink |
| P5 | 58.4 | 48.4 | 29.1 | 56.5 | 31.0 | Deep yellowish pink |
| P6 | 59.1 | 49.6 | 40.4 | 64.0 | 39.1 | Strong reddish orange |
| N1 | 48.9 | 55.0 | 39.5 | 67.7 | 34.0 | Vivid reddish orange |
| N2 | 42.4 | 57.0 | 39.7 | 69.5 | 34.8 | Vivid red |
| N3 | 45.0 | 57.5 | 42.9 | 71.7 | 36.8 | Vivid red |
| N4 | 43.2 | 53.0 | 24.5 | 58.4 | 24.8 | Strong red |
| N5 | 33.5 | 49.8 | 25.5 | 55.9 | 27.1 | Vivid red |
| N6 | 35.8 | 51.3 | 28.3 | 58.6 | 28.9 | Vivid red |
| Dyes | Dye Concentration (%omf) | ||||||||||
|---|---|---|---|---|---|---|---|---|---|---|---|
| 0.5 | 1.0 | 2.0 | 4.0 | 6.0 | 0.5 | 1.0 | 2.0 | 4.0 | 6.0 | ||
| P1 | ![]() | ![]() | ![]() | ![]() | ![]() | N1 | ![]() | ![]() | ![]() | ![]() | ![]() |
| P2 | ![]() | ![]() | ![]() | ![]() | ![]() | N2 | ![]() | ![]() | ![]() | ![]() | ![]() |
| P3 | ![]() | ![]() | ![]() | ![]() | ![]() | N3 | ![]() | ![]() | ![]() | ![]() | ![]() |
| P4 | ![]() | ![]() | ![]() | ![]() | ![]() | N4 | ![]() | ![]() | ![]() | ![]() | ![]() |
| P5 | ![]() | ![]() | ![]() | ![]() | ![]() | N5 | ![]() | ![]() | ![]() | ![]() | ![]() |
| P6 | ![]() | ![]() | ![]() | ![]() | ![]() | N6 | ![]() | ![]() | ![]() | ![]() | ![]() |
| Dye | After-Treatment | Staining | Change | |||||
|---|---|---|---|---|---|---|---|---|
| Wool | Acryl | PET | Nylon | Cotton | Acetate | |||
| P3 | No-treatment | 4-5 | 5 | 4-5 | 4-5 | 4-5 | 4 | 4-5 |
| Hot-rinse | 5 | 5 | 4-5 | 4-5 | 4-5 | 4 | 4-5 | |
| Soaping | 5 | 5 | 5 | 4-5 | 5 | 4-5 | 4-5 | |
| N3 | No-treatment | 4 | 4-5 | 4-5 | 2-3 | 4 | 2-3 | 2-3 |
| Hot-rinse | 4 | 4-5 | 4-5 | 2-3 | 4 | 2-3 | 2-3 | |
| Soaping | 4-5 | 4-5 | 4-5 | 2-3 | 4-5 | 2-3 | 2-3 | |
Publisher’s Note: MDPI stays neutral with regard to jurisdictional claims in published maps and institutional affiliations. |
© 2020 by the authors. Licensee MDPI, Basel, Switzerland. This article is an open access article distributed under the terms and conditions of the Creative Commons Attribution (CC BY) license (http://creativecommons.org/licenses/by/4.0/).
Share and Cite
Yoon, S.; Kim, H.; Lee, E.; Oh, N.; Kim, S.; Hong, K.H.; Koh, J. Synthesis and Application of N-methylphthalimidylazo Disperse Dyes to Cellulose Diacetate for High Wash Fastness. Materials 2020, 13, 4924. https://doi.org/10.3390/ma13214924
Yoon S, Kim H, Lee E, Oh N, Kim S, Hong KH, Koh J. Synthesis and Application of N-methylphthalimidylazo Disperse Dyes to Cellulose Diacetate for High Wash Fastness. Materials. 2020; 13(21):4924. https://doi.org/10.3390/ma13214924
Chicago/Turabian StyleYoon, Sanghyun, Hyunjung Kim, Eunkyo Lee, Nahyun Oh, Sangcheon Kim, Kyung Hwa Hong, and Joonseok Koh. 2020. "Synthesis and Application of N-methylphthalimidylazo Disperse Dyes to Cellulose Diacetate for High Wash Fastness" Materials 13, no. 21: 4924. https://doi.org/10.3390/ma13214924
APA StyleYoon, S., Kim, H., Lee, E., Oh, N., Kim, S., Hong, K. H., & Koh, J. (2020). Synthesis and Application of N-methylphthalimidylazo Disperse Dyes to Cellulose Diacetate for High Wash Fastness. Materials, 13(21), 4924. https://doi.org/10.3390/ma13214924































































