Next Article in Journal
3-D CFD Modeling for Parametric Study in a 300-MWe One-Stage Oxygen-Blown Entrained-Bed Coal Gasifier
Next Article in Special Issue
Lithium-Ion Battery Cell Cycling and Usage Analysis in a Heavy-Duty Truck Field Study
Previous Article in Journal
Probabilistic Agent-Based Model of Electric Vehicle Charging Demand to Analyse the Impact on Distribution Networks
Previous Article in Special Issue
Acceleration Slip Regulation Strategy for Distributed Drive Electric Vehicles with Independent Front Axle Drive Motors
 
 
Font Type:
Arial Georgia Verdana
Font Size:
Aa Aa Aa
Line Spacing:
Column Width:
Background:
Article

The Concept of EV’s Intelligent Integrated Station and Its Energy Flow

1
Department of Electrical Engineering, Shanghai Jiao Tong University, Shanghai 200240, China
2
Department of Electronic and Electrical Engineering, University of Bath, Bath BA2 7AY, UK
3
Research Institute of Electric Power, Shanghai Power Supply Company, Shanghai 200437, China
*
Author to whom correspondence should be addressed.
Energies 2015, 8(5), 4188-4215; https://doi.org/10.3390/en8054188
Submission received: 7 March 2015 / Revised: 1 May 2015 / Accepted: 4 May 2015 / Published: 11 May 2015
(This article belongs to the Special Issue Advances in Plug-in Hybrid Vehicles and Hybrid Vehicles)

Abstract

:
The increasing number of electric vehicles (EVs) connected to existing distribution networks as time-variant loads cause significant distortions in line current and voltage. A novel EV’s intelligent integrated station (IIS) making full use of retired batteries is introduced in this paper to offer a potential solution for accommodating the charging demand of EVs. It proposes the concept of generalized energy in IIS, based on the energy/power flow between IIS and EVs, and between IIS and the power grid, to systematically evaluate the energy capacity of IIS. In order to derive a unique and satisfactory operation mode, information from both the grid (in terms of load level) and IIS (in terms of its energy capacity and EVs battery charging/exchanging requests) is merged. Then, based on the generalized energy of different systems, a novel charging/discharging control strategy is presented and whereby the operating status of the grid and energy capacity of IIS are monitored to make reasonable operation plans for IIS. Simulation results suggest that the proposed IIS offers peak load shifting when EV battery charging/exchanging requests are satisfied compared to existing charging stations.

1. Introduction

Due to issues such as air pollution and global warming, and concerns of fossil energy reserves and energy prices, electric vehicles (EVs) are gaining increasing attention to reduce dependency on fossil fuels as well as environmental pollution. In China, a considerable amount of work, such as technical research and planning of EV development, has been done by the government, academic institutes and the automobile industry [1]. However, issues such as high initial cost, short driving range, and long charging time constrain EV development [2,3].
As EVs rely on the electricity from the power grid, they could bring negative impacts on power generation, transmission, and distribution if their charging and schedules are not properly managed [4,5]. Smart operation of grids considering intelligent charging/discharging of EVs in distributed networks and load environment to reduce both cost and emission simultaneously is a very complex task [6]. Soares et al. [7] presented a simulator for EVs in the context of smart grids and distribution networks to support network operators’ planning and operations. The work in [8] developed a detailed model of performance, energy use, manufacturing cost, retail cost, and lifecycle cost of EVs to address the issue of cost. Moreover, with the increasing penetration of EVs, the distributed feature of EV plug-in/off time has more significant impact on the aggregated load characteristics [9,10]. Since a sizable EV load can introduce a new peak in the early off-peak periods, in [11] the optimization of the EV charging during the low-cost off-peak periods is formulated to minimize the cost of EV charging in the Singapore system. The work in [12] investigated a tradeoff between user satisfaction fairness and the total cost of electricity for charging. Lin et al. [13] proposed the use of EVs as responsive demand to complement network stress relief by allowing EVs to absorb excessive renewable generation when they cause network pressure.
The performance of EVs is influenced by the energy capacity of the onboard energy storage system, i.e., battery pack [14]. Several factors such as deep depth-of-discharge, high or low temperature, extreme state-of-charge (SOC) levels, etc., are generally acknowledged to accelerate capacity fade [15,16]. Sikha et al. [17] proposed a mathematical battery model that can be used to predict the drop in the voltage profile, change in the SOC, and the effects of charge and discharge rates during cycling. The work in [18] presented evaluations and comparisons of different equivalent circuit models to improve the use of lithium-ion batteries in EV applications. SOC estimation is one of the most significant and difficult techniques to promote the commercialization of EVs [19]. Hu et al. [20] presented an adaptive observer-based technique for estimating SOC of a lithium-ion battery pack used in an EV. In addition, a great deal of attention has been paid towards the influence of charging patterns on battery life for plug-in EVs [21,22]. In [23], the proposed strategy not only seeks to minimize fuel consumption while maintaining the SOC of batteries within reasonable bounds but also to minimize wear of the batteries by penalizing the instantaneous battery usage.
Although EV advocates have spent decades on tackling all kinds of challenges, EV charging control strategies which can affect the impacts and benefits significantly are still under discussion [24,25]. Yilmaz et al. [26] reviewed the current status and implementation of battery chargers, charging power levels, and infrastructure for plug-in EVs. Obviously, EVs will introduce additional load to the power system, and consequently, they can challenge power quality and reliability of power systems if their charging is not coordinated properly [27,28,29]. The impact of EVs on distribution networks can be determined by following aspects: driving patterns, charging characteristics, charge timing, and vehicle penetration, etc. [30,31,32]. A significant number of researches have focused on the design and optimization of energy management strategies for EVs [33,34]. Moreover, charging facilities are typically limited and must therefore be used efficiently [35]. In [36], an integrated rapid charging navigation strategy is presented that considers both traffic conditions and the status of power grids. Other studies propose solutions for charging autonomous EVs in parking places and using scarce charging facilities more efficiently, thus simplifying the life of customers and increasing the feasibility of EVs [37,38]. Another study proposes a multi-objective EV charging station planning method, which can ensure charging service while reducing power losses and voltage deviation of distribution systems [39]. In addition, many studies focus on the charging scheduling of EVs at a charging station equipped with renewable energy generation devices, considering the uncertain arrival of EVs, the intermittence of renewable energy, and the variations of electricity prices [40,41].
In recent years, vehicle-to-grid (V2G) technology has drawn research attention to improve the performance of electricity grids in terms of efficiency, stability, and reliability, etc. [42,43,44]. The V2G facilitates a large pool of EV batteries to store the energy during off-peak hours and inject it back to the grid during peak hours, thus achieving valley filling and peak shaving [45,46].
A number of studies have investigated V2G technologies. The distributed generations is able to provide auxiliary services such as automatic generation control to the power system to maintain system security and power quality [47]. The work in [48] presented a strategy for grid power peak shaving and valley filling by using V2G systems, and the influences of the number of connected EVs and the average value of the target curve are analyzed. Other researches make use of the distributed power of EVs to produce grid-scale power to: (i) participate in primary frequency control considering charging demands from EV customers [49,50]; (ii) provide local voltage support, thereby reducing the need for voltage regulation at distribution networks [51]. Another study analyses impacts of EVs on planning of transmission/distribution networks, and their utilization [52]. Other studies focused on the economic analysis of integrating EVs to the grid [53]. The work in [54] focused on plug-in EVs integration on power system including EVs charging load modeling, simulation and calculation, EVs’ impacts on power system, and control and utilization of EVs charging and discharging.
Most previous researches focus on developing charging strategies, but one major challenge still remains, i.e., EV customers expect short charging times just like refueling traditional vehicles. Although rapid charging stations provide a good solution, it is very difficult to implement centralized charging control because much of the EV charging load coincides with normal residential load peaks. Therefore, there is an urgent need to study EVs batteries charging/exchanging stations and battery management. Moreover, little effort has been paid to the construction of charging stations with batteries exchanging service or the use of retired batteries, not to mention the optimal operation of charging stations considering local load profiles and EVs battery exchanging requests.
Most cities in China do not have public charging infrastructure networks to support EVs. This lack of infrastructure is one major barrier to mass household adoption of EVs. The EVs charging-discharging-storage intelligent integrated station project, funded by China’s Ministry of Science and Technology and started in 2011, aims to resolve these problems by combining the concept of optimal fusion of energy storage systems and public transportation with the convenience of autonomous parking and coordinated battery exchanging strategies. It develops an EV’s intelligent integrated station (IIS) to offer battery charging/exchanging services. The proposed IIS consists of multi-purpose converter devices, a dispatching center, a charge exchange system, and an echelon battery system. Compared with existing charging stations, the IIS provides both battery exchanging and battery charging services for EVs. The retired batteries are abandoned in most charging stations, but in IIS, they serve as an energy storage system in the echelon battery system. Furthermore, by properly controlling the IIS, it can provide grid-support services, such as reactive power support, primary frequency control, and peak shifting and valley filling, which are essential for smart network operation [55,56].
In this paper, we introduce the framework of IIS and analyze its information flow as well as power flow. In addition, we study the energy flow inside and outside the station and propose the concept of generalized energy to systematically investigate the energy distribution. In order to analyze the energy in batteries independently, we separate the energy into three parts: (i) energy in the charge exchange system; (ii) energy in the echelon battery system; and (iii) energy in EVs on-board batteries. The generalized energies of IIS and load level of network are important factors in determining the charging/discharging of IIS. According to the load level and the energy capacity of IIS, we propose a novel control strategy to optimize the charging and discharging of batteries. The echelon battery system serving as an energy storage system charges from the grid during off-peak periods and discharges to the grid during peak periods. Moreover, when the charge exchange system operates in charging mode during peak load periods, it is optimal to charge from the echelon battery system other than the grid if the energy capacity of the echelon battery system is high enough. In this way, batteries charging behavior is optimized to minimize charging costs and to achieve optimal power balancing. The simulation results show the effectiveness of the strategy.
The rest of the paper is organized as follows. Section 2 introduces the framework of the intelligent integrated station and its power/information flow. Section 3 discusses the function of the dispatching center and control strategy of energy flow in IIS. In addition, the operating modes of the charge exchange system and the echelon battery system are discussed in detail in this section. Section 4 introduces the generalized energy based on the energy/power flow between the IIS and EVs, and between the IIS and the power grid. In Section 5, the dispatching control strategy for batteries charging/discharging is discussed under different conditions. Section 6 presents the simulation results of batteries charging/discharging in the IIS during two periods. Finally, conclusions are drawn in Section 7.

2. The Proposed Intelligent Integrated Station

2.1. Overall Structure—Hardware

Most operation models in the field of EV charging stations are decentralized. Constrained by the factors such as shortage of plant area, the high price of batteries and restrictive integration standards of the power grid, most research on charging stations focuses on avoiding charging during critical peak periods to prevent the failure of the grid due to over-demand. Therefore, the development of EV charging stations is constrained by cost and service quality.
Here, a novel EV’s charging-exchanging-storage intelligent integrated station (IIS) is proposed. An IIS is an electric system cluster composed of a charge exchange system (CES), an echelon battery system (EBS), multi-purpose converter devices and a dispatching center, shown in Figure 1. As the heart of an IIS, the main function of the dispatching center is to utilize the input signals, i.e., operating information of the IIS, EVs, and the grid, to make optimal operating decisions that enable the IIS to provide good services to customers and cooperate with the power grid. The CES can provide battery charging and exchanging services for EVs. The EBS is composed of batteries retired from the CES or EVs, i.e., batteries with energy capacity less than 80% of the initial value after a number of charge/discharge cycles. The CES and EBS can exchange electric power with the power grid through two sets of parallel converters, i.e., the multi-purpose converter devices. The multi-purpose converter device can be controlled to work in rectifier or inverter mode to realize the charging or discharging of batteries in IIS.
Figure 1. Power flow and information flow in intelligent integrated station (IIS).
Figure 1. Power flow and information flow in intelligent integrated station (IIS).
Moreover, the EBS can be controlled to discharge to the CES through DC/DC converters to maintain the energy capacity of the CES during peak periods. Compared to traditional EV battery charging systems, the IIS has many significant advantages in terms of utilization of batteries, efficient battery exchanging process, coordination with the power grid, and optimal allocation of energy. The EBS utilizes retired battery to reduce the initial battery cost. The CES can provide efficient battery exchanging service for customers except for battery charging service in fast-charging and slow-charging modes. Moreover, the EBS and CES can work as energy storage systems to coordinate with the power grid and optimize power flow between the grid and IIS.

2.2. Information/Energy Flow Software

The dispatching center collects information inside and outside the IIS and coordinates the power exchanging processes considering the operating state of the power grid, EVs battery exchanging requests and energy capacity of IIS. The EV terminal installed in a vehicle is able to record the position of the vehicle and exchange information with the dispatching center based on GPS technology.
The dispatching center plays a fundamental role in battery management. It is capable of predicting battery exchanging requests based on the information from the EV terminals. The information about vehicle location is important for calculating the SOC of EV battery. The EV battery energy consumption is proportional to its driving distance. We can calculate the battery SOC according to its initial energy capacity, location information, and the driving speed. Based on the information about EVs’ battery SOC, we can estimate the EVs’ battery exchanging requests and check the number of available full-capacity batteries in IIS.
Furthermore, the dispatching center coordinates IIS and the power grid to store surplus grid energy at a given instance and to inject it into the grid when required. In particular, the multi-purpose converters are the key components, because they allow the power grid to exchange electricity with the CES or EBS, permitting both batteries to charge during valley periods and batteries to discharge during peak periods.
In order to coordinate battery exchanging requests of EVs and interact with the power grid, the availability of information flow plays an important role in battery management and operation of the IIS. As shown in Table 1, the term information flow in the IIS covers many parameters: (i) SOC of batteries, which indicates energy capacity of batteries in the CES and EBS; (ii) operating parameters of converters, which indicate the information of power flow between the IIS and the power grid; (iii) the information of EVs on-board batteries through GPS technology; and (iv) information of the power grid through energy management system (EMS) of the grid.

3. Structure of the IIS

3.1. Dispatching Center

The dispatching center in the IIS is in charge of information collection/processing, condition monitoring, and operation control. It is capable of controlling the power flow between the grid and IIS based on the information about EVs’ operation, the grid dispatching, and the operation of IIS.
By collecting the information flow in Table 1, the dispatching center is employed to develop proper control strategies for the sustainable and optimal operation of IIS. The dispatching center is able to obtain the EV’s location according to the EV terminal and calculate EVs on-board battery capacity. It forecasts an EV’s on-board battery capacity curve and issues dispatching orders for an EV’s management. Moreover, the dispatching center collects the grid operating information through EMS and adjusts the batteries’ charging/discharging process in IIS.
Table 1. Information flow in intelligent integrated station (IIS).
Table 1. Information flow in intelligent integrated station (IIS).
Information SenderInformation ReceiverInformation FlowInformation Code
EV terminalCESInformation of battery uninstalledI1
GPSInformation of EVI2
CESEV terminalInformation of battery installedI3
Dispatching centerSOC of CESI4
Dispatching centerPower flow between CES and gridI5
Dispatching centerPower flow between CES and EBSI6
EBSDispatching centerSOC of EBSI7
Dispatching centerPower flow between EBS and gridI8
Dispatching centerPower flow between EBS and CESI9
Converters of CESDispatching centerPower flow between CES and gridI10
Converters of EBSDispatching centerPower flow between EBS and gridI11
DC/DC converterDispatching centerPower flow between EBS and CESI12
EMS of gridDispatching centerInformation of gridI13
Dispatching centerPower flow between CES and gridI14
Dispatching centerPower flow between EBS and gridI15
GPSDispatching centerInformation of EVI16
EV terminalBattery exchanging suggestionI17
Dispatching centerEMS of gridIIS informationI18
ConvertersPower flow controlI19
CESBattery exchanging demandsI20
EBSBattery disposalI21
GPSBattery exchanging suggestionI22
(1) Intelligent Dispatch Platform
To realize the fusion of multi-source information from the grid, EVs and IIS, a dispatch platform is needed to cooperate with EMS and the supervisory control and data acquisition (SCADA) system. The intelligent dispatch platform in IIS is circled by the red dotted square, as presented in Figure 2.
The data collector in the dispatch platform is in charge of collecting operating information on the IIS and EVs for the operator work station. The operator work station also collects the grid operating information through the SCADA and EMS via the communication server. It includes the following key servers:
The web server is able to obtain and upload information through internet;
The EMS server is used to detect the load level of the grid and form smart dispatching strategies based on the grid operating information;
The SCADA server in IIS is employed to acquire the scene information and send the decision-making information to corresponding systems;
The data store server stores large number of data during the operation of IIS, which is of great value for establishing a dispatching strategy by analyzing and forecasting the changing trend. For example, by monitoring the information about EVs in operation, we can analyze and forecast batteries exchanging requests and send this message to the CES.
Figure 2. Intelligent dispatching of IIS.
Figure 2. Intelligent dispatching of IIS.
By combining the information above, the operator work station is able to make optimal operation decisions for the IIS and send the decision-making information to the IIS.
(2) Control Strategy of Energy/Power Flow in IIS
As shown in Figure 3, the dispatching center is able to collect all kinds of information, such as the location and operating status of EVs, the energy capacity and charging/discharging power of CES/EBS, the dispatching order and operating status of the grid, and the information on power flow in each converter. Based on the information above, the control strategy of energy/power flow in IIS shown in Figure 3 can achieve the optimality of peak load shifting to the grid.
The basic charging/discharging strategy aims to satisfy EVs batteries charging/exchanging requests and optimize charging/discharging process of IIS to achieve peak load shifting, which will be discussed in detail later.
Furthermore, according to the operating status of the grid and energy capacity of IIS, the IIS can provide auxiliary services to the power grid such as frequency control and reactive power control, by controlling the power flow between the power grid and IIS, called smart value-adding strategy. The frequency control strategy is applied to IIS when the deviation of frequency Δ f is in a setting range. If Δ f > 0 , the IIS charges from the grid in rated power. Otherwise, the IIS does not charge from the grid or even discharge to the grid. Moreover, the IIS can operate as a static var generator to compensate reactive power for the distribution grid [55]. The smart value-adding strategy is not the emphasis of this paper.
Figure 3. The control strategy of the energy/power flow in IIS.
Figure 3. The control strategy of the energy/power flow in IIS.

3.2. Multi-Purpose Converter Device

Essentially, the multi-purpose converter device is a combination of the voltage source converter, monitoring sensor, system controller and transformer. The energy capacity of the IIS is closely related to the direction and value of the power flow between the power grid and IIS through the multi-purpose converter device.
To manage the charging and discharging of batteries in the CES and EBS, we adopt a simple but practical converter device, which includes DC/DC and DC/AC circuits [57], shown in Figure 4.
It shows the basic structure of the multi-purpose converter device which consists of two sets of parallel converters connecting to the CES and EBS. The DC/DC part is a Buck-Boost circuit which avoids the use of an AC/AC transformer to obtain suitable voltage for the charging and discharging of batteries. The DC/AC part employs PWM converters operating in rectifier or inverter mode. This structure has widespread applicability to control the charging and discharging of two sets of batteries independently. Unavoidably, the conversion efficiency decreases due to the existence of the DC/DC part. The multi-purpose converter device in the CES works in two stages.
Charging stage. In this stage, the power grid delivers electric power to batteries in the CES to maintain its energy capacity. The DC/AC part works in rectifier state and the DC/DC part works in Buck mode. It serves as a high power charger. Generally, the charging process is done during valley periods to provide valley filling service to the grid.
Discharging stage. The CES can be used to provide peak shaving service to the grid when the energy capacity of the CES is high enough. Batteries discharge to the grid to alleviate the over-demand condition of the grid. In this condition, the DC/AC part works in inverter mode and the DC/DC part works in Boost mode.
Similarly, the multi-purpose converter device in the EBS can be controlled to operate in charging or discharging mode accordingly.
Figure 4. Multi-purpose converter device.
Figure 4. Multi-purpose converter device.
It should be emphasized that there is battery detecting device in the multi-purpose converter devices. Once the battery pack in the IIS connects to the converter, the battery detecting device is able to obtain the information of the battery pack and send it to the dispatching center. The dispatching center will take the battery information into consideration when charges for the battery pack in the IIS. It should be also emphasized that batteries are not suggested to be used for EVs if their capacity have dropped to 80% of their initial value. We take the factor as a constant constraint.

3.3. Charge Exchange System

To satisfy the EV batteries’ charging demand, the CES proposed in this paper can provide fast-charging and slow-charging services. Moreover, the CES is expected to provide full-capacity batteries for EVs in the batteries’ exchanging mode. Therefore, EV batteries can be replaced in a short time and the batteries in the CES can be charged during off-peak periods. The CES consists of EV batteries’ exchanging room and charging room, control room, and maintenance center, as shown in Figure 5.
EVs batteries’ charging/exchanging room provides batteries exchanging, fast-charging, and slow-charging services for EVs.
The control room is in charge of monitoring and controlling the operation of the CES.
The maintenance room provides charging, maintenance and storage service for batteries in the CES.
Therefore, the CES is supposed to provide maintenance service for batteries as well as the batteries’ exchanging/charging service for EVs.
Figure 5. Layout of charge exchange system.
Figure 5. Layout of charge exchange system.
Aiming to overcome the significant exchanging demand of batteries caused by a large level of EV penetration, internet of things (IoT) and GPS technologies are used to monitor EVs’ operation in order to obtain batteries’ exchanging forecast information. Figure 6 introduces the battery management in IIS. The IoT system collects information on batteries inside and outside IIS to provide good services for drivers and send dispatching orders to corresponding systems.
As shown in Figure 6, GPS technology is used to monitor EV locations and collect driving information. IoT needs to estimate the SOC of EVs on-board batteries according to their driving information. Based on the energy capacity of EVs, IoT will provide batteries exchanging suggestions to EVs and send the messages of batteries’ exchanging requests to CES. Based on EVs’ driving information received from GPS, IoT provides additional important services, such as diagnosing EVs’ operating states and sending messages to the maintenance center when an EV is in trouble. Moreover, IoT is able to obtain information from CES/EBS, such as the energy capacity of CES and the operating state of each battery. By detecting the operating status of batteries in CES/EBS, IoT gives dispatching orders, such as sending retired batteries to EBS and transporting faulty batteries to the maintenance center.
Figure 6. Battery management in IIS.
Figure 6. Battery management in IIS.
Considering degradation, EV batteries are examined when charging in CES. The batteries in CES are examined periodically and the retired batteries will be sent to the EBS. The batteries in EBS are also checked periodically and some will be abandoned when reaching the end of their lifetime.

3.4. Echelon Battery System

In this paper, we adopted a throughput-based capacity fade model to make full use of retired batteries. The capacity fade model is based on the assumption that, under constant operating conditions, a battery can withstand a certain number of charge/discharge cycles, before reaching its end-of-life.
As shown in Figure 7, according to the energy capacity of a battery, the capacity fade model divides batteries into four echelons:
First echelon: batteries with energy throughout no less than 80% of the initial energy capacity. To improve the operating condition of EVs, the energy capacity of EVs on-board batteries should be no less than 80% of the initial value.
Second echelon: batteries with energy throughout less than 80% but more than 40% of the initial energy capacity. This echelon is the collection of retired batteries from CES whose energy capacity is less than the service limit. These retired batteries can be used as energy storage device to support the grid.
Third echelon: batteries with energy throughout less than 40% but more than 20% of the initial energy capacity. Batteries in this echelon are not suitable for frequent charging/discharging due to their low energy capacity. They can be used in downstream system which has no strict demand for battery capacity.
Fourth echelon: batteries with energy throughout less than 20% of the initial energy capacity. Since the battery is not suitable for discharging over 20% of its initial capacity, batteries in this echelon should be recycled.
Figure 7. Echelon exploitation of batteries.
Figure 7. Echelon exploitation of batteries.
Here, we mainly consider batteries of the first two echelons in the IIS. The EBS is expected to provide backup energy supply for CES by delivering electric power to CES through DC/DC converters during high-demand exchanging periods. Clearly, as the EV penetration increases, high concentrations of charging requests over a restricted time period will inevitably cause a sharp drop in energy capacity of CES. In order to alleviate such a severe situation, IoT is employed to monitor the energy capacity of each part in IIS so as to deliver electric power to CES from EBS when needed.

4. Generalized Energy of the IIS

The batteries in IIS exchange electrical power with the power grid in charging/discharging mode. Smart strategies have to be scheduled to control the charging/discharging so as to optimize power flow and energy location. However, direct analysis of energy in IIS is difficult due to the complexity and multi-attributes of energy/power flow in it. In this study, the concept of generalized energy is introduced to analyze power/energy flow in the IIS.

4.1. Energy Distribution in IIS

The energy in IIS can be divided into three parts: (1) energy of all batteries inside and outside IIS; (2) energy exchanged between IIS and the grid; (3) energy consumption of EVs on-board batteries.
(1) Energy of All Batteries Inside and Outside IIS
The energy of batteries includes three parts: energy of batteries in CES, energy of EVs on-board batteries and energy of batteries in EBS. The total energy of all batteries at time t 0 is written as:
E 1 ( t 0 ) = i = 1 n C E S e C E S _ i | t = t 0 + j = 1 n E V e E V _ j | t = t 0 + k = 1 n E B S e E B S _ k | t = t 0
where, n C E S is the number of batteries in CES, e C E S _ i is the energy of the ith battery in CES; n E V is the number of EVs on-board batteries; e E V _ j is the energy of the jth on-board battery; n E B S is the number of batteries in EBS, e E B S _ k is the energy of the kth battery in EBS.
(2) Exchanged Energy between IIS and the Grid
The energy exchanged between IIS and the grid from time t0 to t is written as:
E 2 ( t ) = i = 1 m t 0 t P i ( t ) d t = j = 1 m C E S t 0 t P C E S _ j ( t ) d t + k = 1 m E B S t 0 t P E B S _ k ( t ) d t
where m is the number of converters connecting IIS and the grid, m C E S is the number of converters in CES, m E B S is the number of converters in EBS, and we have m = m C E S + m E B S ; P i ( t ) is the power flow through the ith converter, P C E S _ j ( t ) is the power exchanged between CES and the grid through the jth converter in CES, and P E B S _ k ( t ) is the power exchanged between EBS and the grid through the kth converter in EBS. Negative power implies that energy is transferred to the grid from CES/EBS while positive power implies that energy is drawn from the grid to charge the batteries in CES/EBS.
(3) Energy Consumption of On-Board EV Batteries
The energy consumption of EVs’ on-board batteries is:
E 3 ( t ) = i = 1 p E V t 0 t W E V _ i ( t ) d t
where p E V is the number of EVs, W E V _ i ( t ) is the electric power consumption of the ith EV.
(4) Total Energy in IIS
By combining three kinds of energy above, the total energy in IIS at the time t can be written as:
E ( t ) = E 1 ( t 0 ) + E 2 ( t ) + E 3 ( t )   = i = 1 n C E S e C E S _ i | t = t 0 + j = 1 n E V e E V _ j | t = t 0 + k = 1 n E B S e E B S _ k | t = t 0 + l = 1 m C E S t 0 t P C E S _ l ( t ) d t + m = 1 m E B S t 0 t P E B S _ m ( t ) d t n = 1 p E V t 0 t W E V _ n ( t ) d t
The total energy in IIS can be analyzed through centralized and decentralized approaches. One common centralized approach divides it into three parts according to the belonging of batteries to optimize the operation of IIS and the dispatching of EVs. Thus, the state Equation (4) becomes:
E ( t ) = [ i = 1 n C E S e C E S _ i | t = t 0 + l = 1 m C E S t 0 t P C E S _ l ( t ) d t ]+ [ k = 1 n E B S e E B S _ k | t = t 0 + m = 1 m E B S t 0 t P E B S _ m ( t ) d t ] + [ j = 1 n E V e E V _ j | t = t 0 n = 1 p E V t 0 t W E V _ n ( t ) d t ]   = E C E S ( t ) + E E B S ( t ) + E E V ( t )
where E C E S ( t ) is the energy of CES at the time t, respectively, E E B S ( t ) and E E V ( t ) are the energy of EBS and EVs on-board batteries at the time t.
It should be noted that EVs batteries’ exchanging requests and load level of the grid are almost the same every day. Therefore, in order to make the IIS operate in a steady state in the long run, the generalized energy in each system should be periodic; i.e., the energy absorbed and energy consumed are approximately the same in a 24-hour cycle.

4.2. Generalized Energy

The normal concept of energy is defined as the integral of power flow for a certain time interval. Here, we consider the abrupt change of energy in IIS and EVs in the batteries’ exchanging process. The concept of generalized energy proposed in this paper is defined as the combination of all types of electrical energies in IIS and EVs, including energy consumption of EVs, the integral of power flow in IIS and abruptly changing energy during the batteries’ exchanging process.
In order to analyze the energy flow systematically and make an optimal dispatch order, we distribute the generalized energy into three parts: energy in CES, energy in EBS and that of EVs on-board batteries. We consider the energy/power flow in one cycle (24 h), which can be divided into 24 time periods, with the time interval of one hour. Here, T j is the jth time interval, T j 0 is the initial time of the time interval T j , T j E N D is the end point of the time interval T j . E C E S ( T j ) ( t ) is the generalized energy of CES at the time t in the time interval T j , respectively, E E B S ( T j ) ( t ) and E E V ( T j ) ( t ) are the generalized energy of EBS and EVs on-board batteries.
(1) Generalized Energy of the Charge Exchange System
The generalized energy of CES is related to the current time t and the time interval T j written as:
E C E S ( T j ) ( t ) = E C E S ( T j ) ( t )| t = T j 0 i = 1 n C E S ( T j ) e C E S _ i ( T j ) + k = 1 n C E S ( T j ) e E V _ k ( T j ) + l = 1 m C E S T j 0 t P C E S _ l ( t ) d t   = E C E S ( T j 1 ) ( t )| t = T ( j 1) E N D i = 1 n C E S ( T j ) e C E S _ i ( T j ) + k = 1 n C E S ( T j ) e E V _ k ( T j ) + l = 1 m C E S T j 0 t P C E S _ l ( t ) d t
where n C E S T j is the number of batteries installed on-board from CES in the time interval T j , and e C E S _ i ( T j ) is the energy of the ith one; e E V _ k ( T j ) is the energy of the kth battery uninstalled from EVs; m C E S is the number of converters in CES, P C E S _ l ( t ) is the power exchanged between CES and the grid through the lth converter. Negative power implies that energy is transferred to the grid from CES while positive power implies that energy is drawn from the grid to charge the batteries in CES.
Figure 8 shows the typical energy curves of CES, EBS and EVs in China according to people’s travelling habits. The unit for the horizontal axis is hour. The vertical axis is the energy capacity of different systems and the peak value is the initial energy capacity in one period. It reveals the driving rule of the customers and the changing trends of energy in CES and EBS in two or three cycles. The profiles of generalized energy in different cycles are not exactly the same, but some important time points must be controlled at the same energy level for the long-term operation of IIS. We take the initial time point of each system as the beginning of each cycle and the corresponding value as the initial energy. To sustain the normal operation of IIS in the long run, the initial energy should be at the same level in different cycles. Therefore, the initial time point is an important factor for the charging/discharging process of batteries in IIS. For instance, if the generalized energy in the time point 5:00 is assumed to be the initial value of the day, named E i n i C E S , it should be approximately the same in different cycles.
Figure 8. Typical operation curve of generalized energy. (a) Generalized energy curve of CES; (b) Generalized energy curve of EBS; (c) Generalized energy curve of EVs.
Figure 8. Typical operation curve of generalized energy. (a) Generalized energy curve of CES; (b) Generalized energy curve of EBS; (c) Generalized energy curve of EVs.
The energy capacity of CES is closely related to the normal operation of IIS, and the following aspects should be considered: (1) the initial generalized energy of CES E i n i C E S should satisfy EV batteries’ exchanging requests even without the support of the grid; (2) CES is able to coordinate with the grid to provide auxiliary services such as peak shaving and valley filling; (3) E i n i C E S is less than the maximum capacity of CES. Therefore, E i n i C E S should satisfy the following inequalities.
{ E i n i C E S j = 0 23 i = 1 n C E S ( T j ) e C E S _ i ( T j ) + j = 0 23 k = 1 n C E S ( T j ) e E V _ k ( T j ) E C E S min E i n i C E S j = 0 23 i = 1 n C E S ( T j ) e C E S _ i ( T j ) + j = 0 23 k = 1 n C E S ( T j ) e E V _ k ( T j ) + l = 1 m C E S t 0 t 1 P C E S _ l ( t ) d t E C E S min E i n i C E S E C E S max
where E C E S m i n is the minimum capacity of CES to sustain its normal operation, E C E S m a x is the permitted maximum capacity.
As the full discharge and charge will have adverse effect on batteries, and therefore are not recommended. In practice, E i n i C E S is about 90% of E C E S max :
E i n i C E S = E C E S max ( 90% + ε C E S )
In Equation (8), ε C E S is a variable set by operators according to the load level of the grid and EVs batteries exchanging requests in the previous cycle, where generally, 5% < ε C E S < 5% .
(2) Generalized Energy of the Echelon Battery System
The generalized energy of EBS is related to the current time t and the time interval T j written as:
E E B S ( T j ) ( t ) = E E B S ( T j ) ( t )| t = T j 0 + l = 1 m E B S T j 0 t P E B S _ l ( t ) d t   = E E B S ( T j 1 ) ( t )| t = T ( j 1) E N D + l = 1 m E B S T j 0 t P E B S _ l ( t ) d t
where m E B S is the number of converters in EBS, P E B S _ l is the power exchanged between EBS and the grid through the lth converter. Negative power implies that energy is transferred to the grid from EBS while positive power implies that energy is drawn from the grid to charge the batteries in EBS.
Figure 8b shows the typical generalized energy profile of EBS. According to the load profile of the grid, strategies are made for batteries in EBS to charge from the power grid before 8:00 and discharge to the grid after 8:00.
In accordance with CES, the full discharge/charge of batteries in EBS is not recommended. The initial value of generalized energy in EBS E i n i E B S is about 90% of E E B S max :
E i n i E B S = E E B S max × ( 90% + ε E B S )
In Equation (10), ε E B S is a variable set by operators according to the load level of the grid in the previous cycle, generally 5% < ε E B S < 5% .
(3) Generalized Energy of EVs Batteries On-Board
The generalized energy of on-board batteries in time interval T j can be written as:
E E V ( T j ) ( t ) = E E V ( T j ) ( t )| t = T j 0 + i = 1 n C E S ( T j ) e C E S _ i ( T j ) k = 1 n C E S ( T j ) e E V _ k ( T j ) n = 1 p E V t 0 t W E V _ n ( t ) d t   = E E V ( T j 1 ) ( t )| t = T ( j 1) E N D + i = 1 n C E S ( T j ) e C E S _ i ( T j ) k = 1 n C E S ( T j ) e E V _ k ( T j ) n = 1 p E V t 0 t W E V _ n ( t ) d t
where, n C E S ( T j ) is the number of batteries exchanged from CES in time interval T j , e C E S _ i ( T j ) is the energy of the ith battery exchanged from CES, e E V _ k ( T j ) is the energy of the kth battery replaced from EVs, p E V is the number of EVs, W E V _ n ( t ) is the power consumed of the nth EV.
Figure 8c shows the generalized energy curve of EVs in which the batteries are exchanged at 5:00 in every cycle.

5. Dispatching Control of IIS

The energy capacity of IIS is closely related to the charging/discharging rate, i.e., the power required/available to charge/discharge the batteries in IIS. In scheduling the power exchange between IIS and the grid, cost minimization and service quality improvement are two conflicting aspects. Thus, batteries charging behavior is required to minimize charging costs and achieve satisfactory energy levels.
The energy capacity of CES and load level of the power grid are important factors in determining the charging/discharging of CES. Moreover, the charging/discharging rate should consider EV batteries’ charging/exchanging requests. Considering the energy capacity of CES is closely related with EVs batteries charging/exchanging process, the factor of EVs charging/exchanging can be neglected. It should be emphasized that the charging/discharging rate varies during the charging/discharging process depending on the SOC of batteries and power price, except for grid load condition and energy capacity of the IIS.
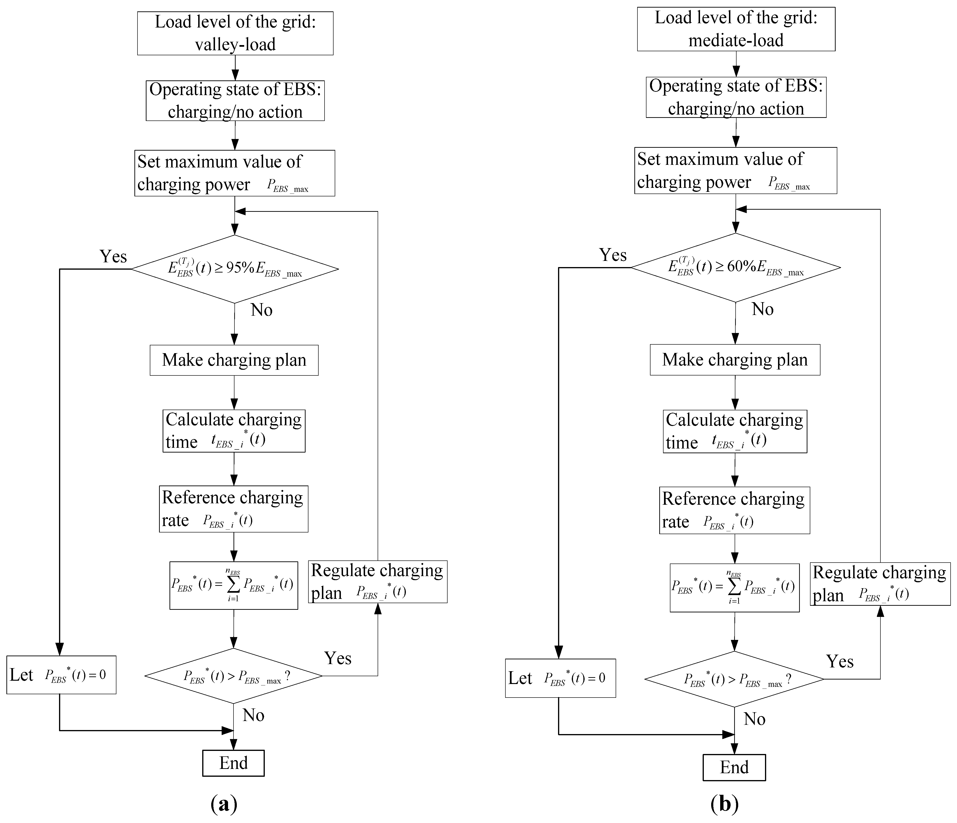
Therefore, a novel dispatching strategy is proposed considering both load curves of the grid and energy capacity of IIS to optimize the charging/discharging process of IIS. Figure 9 shows the charging/discharging algorithm flows of CES under different load conditions.
Figure 9a shows the charging/discharging flowchart of CES during valley load periods. In this case, the IIS would absorb as much electricity as possible from the grid to realize valley filling to the grid. Figure 9b shows the charging/discharging flowchart of CES during mediate load periods. Under this condition, energy is drawn from the grid to charge the batteries in CES in limited charging rate until all the batteries are at full capacity.
During peak load periods, CES is able to discharge to the grid according to the dispatching order if its energy capacity is high enough, as shown in Figure 9c. However, when CES operates in charging mode during peak load periods to satisfy batteries exchanging requests, it is optimal to charge from EBS other than the grid to alleviate the burden of the grid. When the energy capacity of EBS is low enough, CES charges from the power grid in a reasonable charging rate, which is similar to the mediate load level condition.
Figure 9. Charging discharging algorithm of CES at different load status. (a) During valley load periods (b) During mediate load periods; (c) During peak load period.
Figure 9. Charging discharging algorithm of CES at different load status. (a) During valley load periods (b) During mediate load periods; (c) During peak load period.
Similarly, Figure 10 shows the charging/discharging chart flow of EBS under different load conditions. EBS charges from the grid in different charging rate during valley periods or mediate periods. Moreover, the batteries in EBS discharge to the grid during peak periods for shaving peak unless the energy capacity of EBS is low.
Therefore, we can obtain the charging/discharging flowchart of IIS overall, as shown in Figure 11.
Due to the high cost of electricity during peak hours, batteries charging should avoid critical peak periods. Therefore, a prediction-based charging scheme is proposed. It predicts the load level based on information from the grid, thus able to control the charging rate according to the load level. The initial charging power P * ( 0) can be expressed by the relationship between the forecasting load curve P * G (t ) and present load level P G ( 0) , that is
P * ( 0) = P c [ 2 P G ( 0) T c / Δ t i = 0 T c / Δ t P * G ( i Δ t ) ]
where, Δ t is the time interval in dynamic forecasting, Tc is the available charging time, Pc is the rated charging power.
Figure 10. Charging discharging algorithm of EBS at different load status. (a) During valley load periods; (b) During mediate load periods; (c) During peak load period.
Figure 10. Charging discharging algorithm of EBS at different load status. (a) During valley load periods; (b) During mediate load periods; (c) During peak load period.
Figure 11. Charging discharging algorithm of IIS.
Figure 11. Charging discharging algorithm of IIS.
Based on the initial charging power P * ( 0) and the actual load level P G at the time t, t [ 0, T c ] , the optimal charging power in time interval T c can be obtained, that is
P * ( t + Δ t ) = P * ( t ) P c [ P * G ( t + Δ t ) P G ( t ) ] ( T c / Δ t ) i = 0 T c / Δ t P * G ( i Δ t )
It is assumed that P c and P are constants at time t. The regulation factor of charging power can be calculated by the deviation of forecasting load P G at t + Δ t and actual load level P G at t. Therefore, P in (13) can be derived. A separate paper is dedicated to the formulation of the optimization of energy estimation and resolving it [58].

6. Simulation Results of the Charging/Discharging Strategy

To verify the effectiveness of the proposed charging/discharging strategy, dynamic load profile in two cycles is shown in Figure 12a for simulation. Ten EVs are divided into two sets, each with five EVs. The first set exchanges batteries twice in one cycle: one is at 4:00, another is at 7:00. Similarly, the second set exchanges batteries at 16:00 and 19:00. Respectively, the EVs energy capacity is shown in Figure 12b.
Figure 12. Simulation results of the proposed charging/discharging strategy. (a) load curve; (b) energy curve of EVs; (c) charging/discharging power of CES; (d) charging/discharging power of EBS; (e) charging/discharging power of IIS; (f) energy capacity of CES; (g) energy capacity of EBS; (h) energy capacity of IIS.
Figure 12. Simulation results of the proposed charging/discharging strategy. (a) load curve; (b) energy curve of EVs; (c) charging/discharging power of CES; (d) charging/discharging power of EBS; (e) charging/discharging power of IIS; (f) energy capacity of CES; (g) energy capacity of EBS; (h) energy capacity of IIS.
The load curve in Figure 12a shows that the system load is low before 10:00, and it rises markedly after 10:00 and reaches its peak at 12:00.
The aim of this simulation is to evaluate the behavior of the IIS applied the proposed charging/discharging strategy, regarding EVs battery exchanging requests and load level of the power grid. Figure 12c presents the charging/discharging flow between the CES and the grid. Positive power implies that energy is drawn from the grid to charge the batteries in CES while negative power implies that energy is transferred to the grid from CES. Accordingly, the energy capacity of CES is shown in Figure 12f.
Simulation results in Figure 12f suggest that CES is able to satisfy batteries exchanging requests, and at the same time it is capable of charging from the power grid during valley load periods to sustain its normal operation. The load curve in Figure 12a shows that the system load is low from 4:00–6:00. Correspondingly, Figure 12c suggests that CES charges from the grid in rated charging power. Figure 12b shows the batteries exchanging process of the first set batteries. Therefore, the energy capacity of CES drops from 4:00–4:30 and rises after 4:30. The Figure 12f shows that the energy capacity reaches its peak at 6:00.
The load curve in Figure 12a shows that the load curve is relatively high from 6:00 to 8:00. Figure 12c,f suggest that there is no energy exchange between the grid and CES. Figure 12b shows the batteries exchanging process of the second set batteries around 8:00. The energy capacity of CES decreases during the batteries exchanging process. The CES charges from the grid from 8:00 to 10:00 because the load level is relatively low.
Figure 12d presents the power flow between the EBS and the grid. The energy capacity of EBS is shown in Figure 12g. It suggests that EBS discharges to the grid from 11:00 to 13:00 and from 18:00 to 22:00 when the grid operates during peak load periods. In order to maintain the energy level of EBS no less than 20% of the initial value, EBS is required to charge from the grid during time intervals from 13:30 to 16:00 and from 2:00 to 5:00 during valley periods. Moreover, it discharges to the grid in the rated discharging rate during the peak periods from 11:00 to 13:00. Simulation results show that EBS is capable of discharging to the power grid during peak periods for peak shifting, and at the same time it is able to charge from the grid during valley load periods to maintain its energy capacity.
Figure 12e shows the power flow between the grid and IIS, it suggests that IIS can act as distributed energy sources to smoothen the load profiles by providing peak shaving and valley filling.
Figure 12h presents the total energy trend of the IIS. It suggests that the IIS charges from the grid during valley periods, such as from 8:00–10:00, and discharges to the grid during peak periods, such as from 11:00–12:30.

7. Conclusions

A novel EV’s intelligent integrated station has been presented in this paper. The most outstanding feature of this station is that EVs battery pack can be replaced by full-capacity battery pack in IIS within a short time and the batteries in IIS can be charged during off-peak periods. We propose the concept of generalized energy to obtain the accurate information of energy capacity in EVs and IIS. Based on the load level of the grid and energy capacity of IIS, a novel charging/discharging strategy is introduced to make reasonable operation plans for IIS.
Based on the proposed control strategy, the simulation results indicate that the station operates in optimal charging and discharging process in the long run: (i) the charge exchange system charges from the power grid in rated charging power during valley periods, it charges with lower power during mid-peak periods or even discharges to the grid during peak periods; (ii) the echelon battery system works as an energy storage system by charging from the grid during valley periods and discharging to the grid during peak periods. Simulation results show that IIS can act as distributed energy sources to smoothen the load profiles by providing peak shaving and valley filling. The proposed charging/discharging strategy gives useful guidelines for the development of EVs’ energy supply, as well as the next-generation EV charging station and smart grid management systems.

Acknowledgments

This work was supported by National High Technology Research and Development Program 863 of China (2011AA05A108).

Author Contributions

Xie and Chu conceived and designed the study; Xie and Zhang did the literature review; Chu and Lu performed the experiments; Gu and Li did the analysis for this paper; Chu wrote the paper; Xie and Gu reviewed and edited the manuscript. All authors read and approved the manuscript.

Conflicts of Interest

The authors declare no conflict of interest.

References

  1. Song, Y.H.; Yang, X.; Lu, Z.X. Integration of plug-in hybrid and electric vehicles: Experience from China. In Proceedings of the 2010 IEEE Power and Energy Society General Meeting, Minneapolis, MN, USA, 25–29 July 2010; pp. 1–6.
  2. Chan, C.C. The state of the art of electric, hybrid, and fuel cell vehicles. Proc. IEEE 2007, 95, 704–718. [Google Scholar] [CrossRef]
  3. Lukic, S. Charging ahead. IEEE Ind. Electron. Mag. 2008, 2, 22–31. [Google Scholar] [CrossRef]
  4. Shao, S.; Pipattanasomporn, M.; Rahman, S. Challenges of PHEV penetration to the residential distribution network. In Proceedings of the Power & Energy Society General Meeting, 2009 (PES’09), Calgary, AB, Canada, 26–30 July 2009.
  5. Dow, L.; Marshall, M.; Le, X.; Aguero, J.R.; Willis, H.L. A novel approach for evaluating the impact of electric vehicles on the power distribution system. In Proceedings of the 2010 IEEE Power and Energy Society General Meeting, Minneapolis, MN, USA, 25–29 July 2010.
  6. Saber, A.Y.; Venayagamoorthy, G.K. Plug-in vehicles and renewable energy sources for cost and emission reductions. IEEE Trans. Ind. Electron. 2011, 58, 1229–1238. [Google Scholar] [CrossRef]
  7. Soares, J.; Canizes, B.; Lobo, C.; Vale, Z.; Morais, H. Electric vehicle scenario simulator tool for smart grid operators. Energies 2012, 5, 1881–1899. [Google Scholar] [CrossRef]
  8. Delucchi, M.A.; Lipman, T.E. An analysis of the retail and lifecycle cost of battery-powered electric vehicles. Transp. Res. Part D Transp. Environ. 2001, 6, 371–404. [Google Scholar] [CrossRef]
  9. Rotering, N.; Ilic, M. Optimal charge control of plug-in hybrid electric vehicles in deregulated electricity markets. IEEE Trans. Power Syst. 2011, 26, 1021–1029. [Google Scholar] [CrossRef]
  10. Sortomme, E.; El-Sharkawi, M.A. Optimal charging strategies for unidirectional vehicle-to-grid. IEEE Trans. Smart Grid 2011, 2, 131–138. [Google Scholar] [CrossRef]
  11. Liu, Z.; Wen, F.; Ledwich, G. Optimal planning of electric-vehicle charging stations in distribution systems. IEEE Trans. Power Deliv. 2013, 28, 102–110. [Google Scholar] [CrossRef]
  12. Aswantara, I.; Ko, K.S.; Sung, D.K. A centralized EV charging scheme based on user satisfaction fairness and cost. In Proceedings of the 2013 IEEE Innovative Smart Grid Technologies—Asia (ISGT Asia), Bangalore, India, 10–13 November 2013.
  13. Lin, Z.; Li, F.; Gu, C.; Hu, Z.; Le Blond, S. Cost/benefit assessment of a smart distribution system with intelligent electric vehicle charging. IEEE Trans. Smart Grid 2014, 5, 839–847. [Google Scholar] [CrossRef]
  14. Affanni, A.; Bellini, A.; Franceschini, G.; Guglielmi, P.; Tassoni, C. Battery choice and management for new-generation electric vehicles. IEEE Trans. Ind. Electron. 2005, 52, 1343–1349. [Google Scholar] [CrossRef]
  15. Broussely, M.; Biensan, P.; Bonhomme, F.; Blanchard, P.; Herreyre, S.; Nechev, K. Main aging mechanisms in Li ion batteries. J. Power Sources 2005, 146, 90–96. [Google Scholar] [CrossRef]
  16. Belt, J.R.; Ho, C.D.; Millerb, T.J.; Habibc, M.A.; Duong, T.Q. The effect of temperature on capacity and power in cycled lithium ion batteries. J. Power Sources 2005, 142, 354–360. [Google Scholar] [CrossRef]
  17. Sikha, G.; Popov, B.N.; White, R.E. Effect of porosity on the capacity fade of a lithium-ion battery theory. J. Electrochem. Soc. 2004, 151, A1104–A1114. [Google Scholar] [CrossRef]
  18. He, H.; Xiong, R.; Fan, J. Evaluation of lithium-ion battery equivalent circuit models for state of charge estimation by an experimental approach. Energies 2011, 4, 582–598. [Google Scholar] [CrossRef]
  19. Yan, J.; Xu, G.; Qian, H.; Xu, Y. Robust state of charge estimation for hybrid electric vehicles: Framework and algorithms. Energies 2010, 3, 1654–1672. [Google Scholar] [CrossRef]
  20. Hu, X.; Sun, F.; Zou, Y. Estimation of state of charge of a lithium-ion battery pack for electric vehicles using an adaptive Luenberger observer. Energies 2010, 3, 1586–1603. [Google Scholar] [CrossRef]
  21. Bashash, S.; Moura, S.J.; Forman, J.C.; Fathy, H.K. Plug-in hybrid electric vehicle charge pattern optimization for energy cost and battery longevity. J. Power Sources 2011, 196, 541–549. [Google Scholar] [CrossRef]
  22. Peterson, S.B.; Apt, J.; Whitacre, J.F. Lithium-ion battery cell degradation resulting from realistic vehicle and vehicle-to-grid utilization. J. Power Sources 2010, 195, 2385–2392. [Google Scholar] [CrossRef]
  23. Ebbesen, S.; Elbert, P.; Guzzella, L. Battery state-of-health perceptive energy management for hybrid electric vehicles. IEEE Trans. Veh. Technol. 2012, 61, 2893–2900. [Google Scholar] [CrossRef]
  24. Cao, Y.; Tang, S.; Li, C.; Zhang, P.; Tan, Y.; Zhang, Z.; Li, J. An optimized EV charging model considering TOU price and SOC curve. IEEE Trans. Smart Grid 2012, 3, 388–393. [Google Scholar] [CrossRef]
  25. Verzijlbergh, R.A.; Grond, M.O.W.; Lukszo, Z.; Slootweg, J.G.; Ilic, M.D. Network impacts and cost savings of controlled EV charging. IEEE Trans. Smart Grid 2012, 3, 1203–1212. [Google Scholar] [CrossRef]
  26. Yilmaz, M.; Krein, P.T. Review of battery charger topologies, charging power levels, and infrastructure for plug-in electric and hybrid vehicles. IEEE Trans. Power Electron. 2013, 28, 2151–2169. [Google Scholar] [CrossRef]
  27. Clement-Nyns, K.; Haesen, E.; Driesen, J. The impact of charging plug-in hybrid electric vehicles on a residential distribution grid. IEEE Trans. Power Syst. 2010, 25, 371–380. [Google Scholar] [CrossRef]
  28. Leou, R.-C.; Su, C.-L.; Lu, C.-N. Stochastic analyses of electric vehicle charging impacts on distribution network. IEEE Trans. Power Syst. 2014, 29, 1055–1063. [Google Scholar] [CrossRef]
  29. Grahn, P.; Rosenlind, J.; Hilber, P.; Alvehag, K.; Soder, L. A method for evaluating the impact of electric vehicle charging on transformer hotspot temperature. In Proceedings of the 2011 2nd IEEE PES International Conference and Exhibition on Innovative Smart Grid Technologies (ISGT Europe), Manchester, UK, 5–7 December 2011.
  30. Pieltain Fernández, L.; Román, T.G.S.; Cossent, R.; Domingo, C.M.; Frías, P. Assessment of the impact of plug-in electric vehicles on distribution networks. IEEE Trans. Power Syst. 2011, 26, 206–213. [Google Scholar] [CrossRef]
  31. Gomez, J.C.; Morcos, M.M. Impact of EV battery chargers on the power quality of distribution systems. IEEE Trans. Power Deliv. 2003, 18, 975–981. [Google Scholar] [CrossRef]
  32. Richardson, D.B. Electric vehicles and the electric grid: A review of modeling approaches, Impacts, and renewable energy integration. Renew. Sustain. Energy Rev. 2013, 19, 247–254. [Google Scholar] [CrossRef]
  33. Sundstrom, O.; Soltic, P.; Guzzella, L. A transmission-actuated energy-management strategy. IEEE Trans. Veh. Technol. 2010, 59, 84–92. [Google Scholar] [CrossRef]
  34. Ambuhl, D.; Guzzella, L. Predictive reference signal generator for hybrid electric vehicles. IEEE Trans. Veh. Technol. 2009, 58, 4730–4740. [Google Scholar] [CrossRef]
  35. Schallenberg, R.H. Prospects for the electric vehicle: A historical perspective. IEEE Trans. Educ. 1980, 23, 137–143. [Google Scholar] [CrossRef]
  36. Guo, Q.; Xin, S.; Sun, H.; Li, Z.; Zhang, B. Rapid-charging navigation of electric vehicles based on real-time power systems and traffic data. IEEE Trans. Smart Grid 2014, 5, 1969–1979. [Google Scholar] [CrossRef]
  37. Timpner, J.; Wolf, L. Design and evaluation of charging station scheduling strategies for electric vehicles. IEEE Trans. Intell. Transp. Syst. 2014, 15, 579–588. [Google Scholar] [CrossRef]
  38. Bae, S.; Kwasinski, A. Spatial and temporal model of electric vehicle charging demand. IEEE Trans. Smart Grid 2012, 3, 394–403. [Google Scholar] [CrossRef]
  39. Wang, G.; Xu, Z.; Wen, F.; Wong, K.P. Traffic-Constrained multiobjective planning of electric-vehicle charging stations. IEEE Trans. Power Deliv. 2013, 28, 2363–2372. [Google Scholar] [CrossRef]
  40. Zhang, T.; Chen, W.; Han, Z.; Cao, Z. Charging scheduling of electric vehicles with local renewable energy under uncertain electric vehicle arrival and grid power price. IEEE Trans. Veh. Technol. 2014, 63, 2600–2612. [Google Scholar] [CrossRef]
  41. Van Roy, J.; Leemput, N.; Geth, F.; Salenbien, R.; Buscher, J.; Driesen, J. Apartment building electricity system impact of operational electric vehicle charging strategies. IEEE Trans. Sustain. Energy 2013, 5, 264–272. [Google Scholar] [CrossRef]
  42. Tomić, J.; Kempton, W. Using fleets of electric-drive vehicles for grid support. J. Power Sources 2007, 168, 459–468. [Google Scholar] [CrossRef]
  43. Kempton, W.; Tomić, J. Vehicle-to-grid power implementation: From stabilizing the grid to supporting large-scale renewable energy. J. Power Sources 2005, 144, 280–294. [Google Scholar] [CrossRef]
  44. Ota, Y.; Taniguchi, H.; Nakajima, T.; Liyanage, K.M.; Baba, J.; Yokoyama, A. Autonomous distributed V2G (vehicle-to-grid) satisfying scheduled charging. IEEE Trans. Smart Grid 2012, 3, 559–564. [Google Scholar] [CrossRef]
  45. Ma, Y.; Houghton, T.; Cruden, A.; Infield, D. Modeling the benefits of vehicle-to-grid technology to a power system. IEEE Trans. Power Syst. 2012, 27, 1012–1020. [Google Scholar] [CrossRef]
  46. Guille, C.; Gross, G. A conceptual framework for the vehicle-to-grid (V2G) implementation. Energy Policy 2009, 37, 4379–4390. [Google Scholar] [CrossRef]
  47. Chen, L.; Zhong, J.; Gan, D. Optimal automatic generation control (AGC) dispatching and its control performance analysis for the distribution systems with DGs. In Proceedings of the 2007 IEEE Power Engineering Society General Meeting, Tampa, FL, USA, 24–28 June 2007.
  48. Wang, Z.; Wang, S. Grid power peak shaving and valley filling using vehicle-to-grid systems. IEEE Trans. Power Deliv. 2013, 28, 1822–1829. [Google Scholar] [CrossRef]
  49. Donadee, J.; Ilic, M. Stochastic co-optimization of charging and frequency regulation by electric vehicles. In Proceedings of the 2012 North American Power Symposium (NAPS), Champaign, IL, USA, 9–11 September 2012; IEEE: Champaign, IL, USA, 2012. [Google Scholar]
  50. Liu, H.; Hu, Z.; Song, Y.; Lin, J. Decentralized vehicle-to-grid control for primary frequency regulation considering charging demands. IEEE Trans. Power Syst. 2013, 28, 3480–3489. [Google Scholar] [CrossRef]
  51. Amjadi, Z.; Williamson, S.S. A novel control technique for a switched-capacitor-converter-based hybrid electric vehicle energy storage system. IEEE Trans. Ind. Electron. 2010, 57, 926–934. [Google Scholar] [CrossRef]
  52. Tu, Y.; Li, C.; Cheng, L.; Le, L. Impacts of electric vehicles on power grid. In Proceedings of the International Conference on Sustainable Power Generation and Supply (SUPERGEN 2012), Hangzhou, China, 8–9 September 2012.
  53. Saini, H.; Thirugnanam, K.; Kumar, P.; Lavudiya, R.; Singh, M. Mathematical modeling for economic evaluation of electric vehicle to smart grid interaction. IEEE Trans. Smart Grid 2014, 5, 712–721. [Google Scholar] [CrossRef]
  54. Hu, Z.; Song, Y.; Xu, Z.; Luo, Z.; Zhan, K.; Jia, L. Impacts and utilization of electric vehicles integration into power systems. Zhongguo Dianji Gongcheng Xuebao (Proc. Chin. Soc. Electr. Eng.) 2012, 32, 1–10. [Google Scholar]
  55. Chu, H.; Xie, D.; Lou, Y.; Yang, M.; Zhang, Y. Strategy of reactive power and voltage control for integrated EV station of intelligent charging, discharging and storage. Electr. Power Autom. Equip. 2014, 34, 48–54. [Google Scholar]
  56. Yang, M.; Liu, G.; Fang, X.; Lou, Y.; Xie, D. Discussion on operation mode of charging-discharging-storage integrated station considering power network statuses. Power Syst. Technol. 2013, 37, 1202–1208. [Google Scholar]
  57. Feng, J.; Xie, D.; Fang, X.; Gu, Y. Characteristics analysis of multi-purpose converter in electric vehicle charge discharge storage integrative station. Mod. Electron. Tech. 2012, 21, 135–138. [Google Scholar]
  58. Feng, J.; Xie, D.; Jia, Y.; Liu, G.; Zhang, Y. Dispatch parameters analysis of charging/discharging and storage integrated station for electric vehicles. Power Syst. Technol. 2013, 37, 3325–3330. [Google Scholar]

Share and Cite

MDPI and ACS Style

Xie, D.; Chu, H.; Lu, Y.; Gu, C.; Li, F.; Zhang, Y. The Concept of EV’s Intelligent Integrated Station and Its Energy Flow. Energies 2015, 8, 4188-4215. https://doi.org/10.3390/en8054188

AMA Style

Xie D, Chu H, Lu Y, Gu C, Li F, Zhang Y. The Concept of EV’s Intelligent Integrated Station and Its Energy Flow. Energies. 2015; 8(5):4188-4215. https://doi.org/10.3390/en8054188

Chicago/Turabian Style

Xie, Da, Haoxiang Chu, Yupu Lu, Chenghong Gu, Furong Li, and Yu Zhang. 2015. "The Concept of EV’s Intelligent Integrated Station and Its Energy Flow" Energies 8, no. 5: 4188-4215. https://doi.org/10.3390/en8054188

APA Style

Xie, D., Chu, H., Lu, Y., Gu, C., Li, F., & Zhang, Y. (2015). The Concept of EV’s Intelligent Integrated Station and Its Energy Flow. Energies, 8(5), 4188-4215. https://doi.org/10.3390/en8054188

Article Metrics

Back to TopTop