An Optimization Framework for Comparative Analysis of Multiple Vehicle Powertrains
Abstract
:1. Introduction
- conventional powertrain with an ICE;
- full-electric powertrain (as used in an EV);
- series plug-in hybrid powertrain (as used in a PHEV).
- select the most appropriate powertrain architecture for a given vehicle class and duty cycle;
- optimize the component sizes within the powertrain architecture for a given cost function.
2. Methodology
- glider mass (mass of the vehicle without powertrain components);
- aerodynamic properties;
- tire rolling resistance characteristics.
3. Model Development
- ICE;
- EM;
- battery;
- APU;
- fuel tank;
- battery charger.
3.1. ICE
| Term | Definition | Units |
|---|---|---|
| Pengine | Engine power | W |
| Te | Engine torque | Nm |
| ωe | Engine speed | rad/s |
| ηe | Overall engine efficiency | - |
| Fuel mass flow rate | kg/s |
3.2. EM

3.3. Battery

3.4. APU
3.5. Battery Charger and Well-to-Wheel Analysis
- emissions that result from commissioning and decommissioning of the electrical power plant, transmission lines, and charging station [26];
- manufacture and end-of-life disposal of the powertrain components within the vehicle.
3.6. Fuel Tank
| Term | Definition | Units |
|---|---|---|
| Fuel mass | kg | |
| Fuel mass flow rate | kg/s | |
| TtW_CO2 | Tank-to-Wheel CO2 | kg |
| WtW_CO2 | Well-to-wheel CO2 | kg |
| WtT_CO2 | Well-to-tank CO2 | kg/J |
| Hl | Fuel calorific heating value | J/kg |
3.7. Energy Supervisory Controller
- SOC of battery (input);
- power demand (input);
- power split (output).
3.8. Vehicle Model Development

3.9. Drive Cycles
3.10. Other Assumptions and Considerations
4. System Architectures

4.1. Single Source Powertrain Architecture


| Term | Definition |
|---|---|
| C | Chemical energy |
| DC | Direct Current |
| AC | Alternating Current |
| T | Torque |
| Trn | Transmission |
| INV | Inverter |
| M | Electrical Machine |
| Batt | Battery Pack |
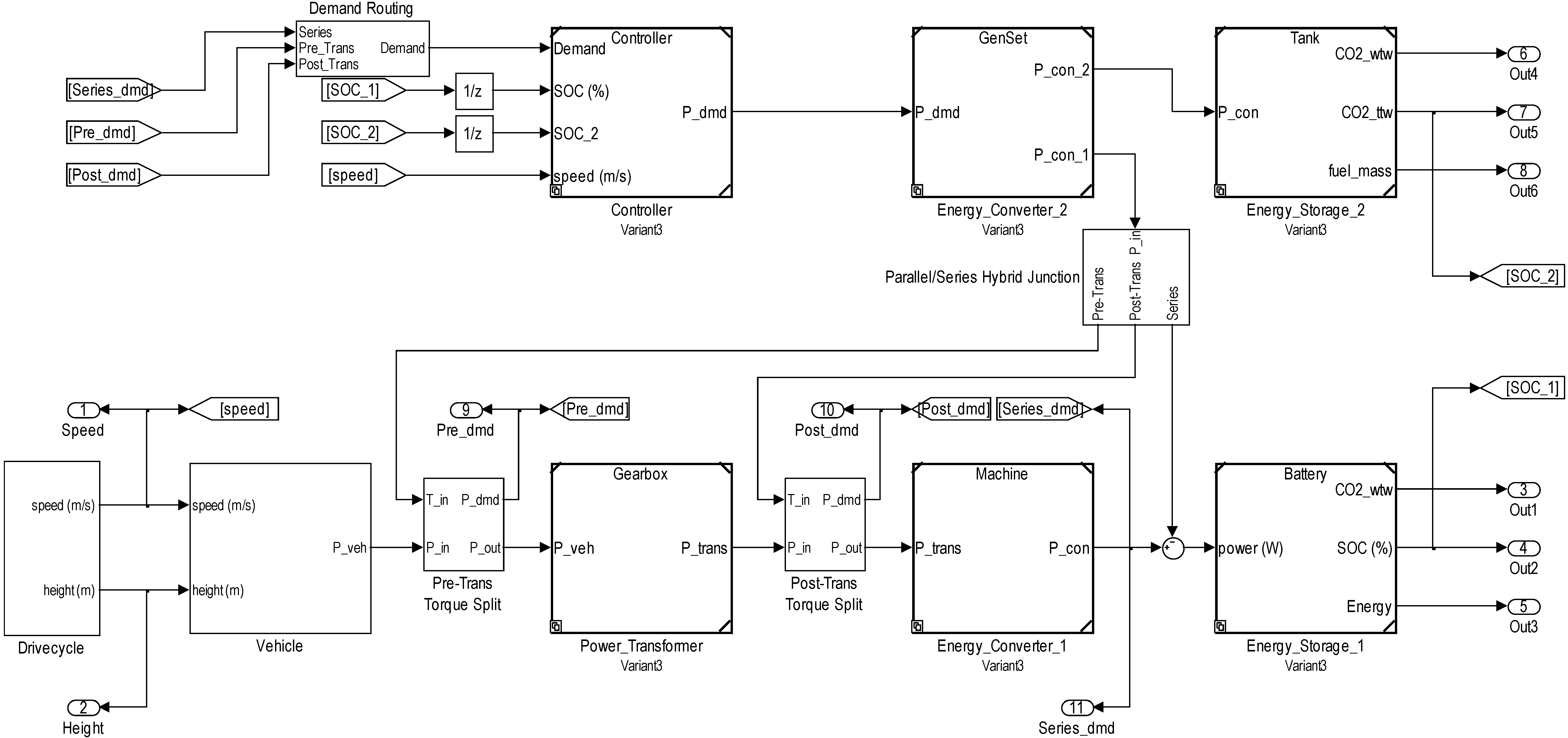
4.2. Series Hybrid Architecture

5. Optimizer Development
| Component | Single power source | Series hybrid | |
|---|---|---|---|
| Architecture Type | Conventional (Variant 1) | EV (Variant 2) | PHEV (Variant 3) |
| Energy converter #1 | ICE | EM | EM |
| Energy storage #1 | Fuel tank | Battery | Battery |
| Energy converter #2 | - | - | APU |
| Energy storage #2 | - | - | Fuel tank |
| Reference | Figure 5 | Figure 6 | Figure 7 |

5.1. Optimizer Algorithm
- energy converter size (normalized from 1% to 100%);
- energy storage size (normalized from 1% to 100%);
- powertrain variant (one to three, as shown in Table 4).
| Powertrain component | Dimension | Minimum size (1%) | Maximum size (100%) |
|---|---|---|---|
| ICE | displacement | 0.5 L | 5 L |
| EM | power | 10 kW | 100 kW |
| Battery | capacity | 8 parallel strings (~8 kW h) | 80 parallel string (~80 kW h) |
| APU | power | 10 kW | 100 kW |
| Fuel tank | capacity | 10 L | 100 L |
6. Results

6.1. Further Drive Cycle Analysis
- NEDC (11 km);
- real world (29.8 km);
- Artemis (73 km).


6.2. Case Study 1: Optimizing Powertrain Sizing Only
- minimizing well-to-wheel CO2;
- minimizing vehicle mass.
| Term | Definition | Units |
|---|---|---|
| X | No. of battery strings in parallel | - |
| EM size | kW | |
| G | 1000 < total vehicle mass < 2000 | kg |
| 10 < EM size < 100 | kW | |
| 8 < battery strings in parallel < 80 | - |
6.2.1. EV Powertrain Optimized for Lowest Well-to-Wheel CO2


6.2.2. EV Powertrain Optimized for Lowest Vehicle Mass

6.2.3. Comparing the Results of the Two Cost Functions




6.3. Case Study 2: Optimizing Powertrain Sizing and Architecture Selection
6.3.1. Optimization for Lowest Well-to-Wheel CO2


6.3.2. Power and Energy Analysis
- sizing the EM for lowest overall powertrain mass;
- sizing the EM for maximizing energy recovery via regenerative braking.



7. Conclusions
Abbreviations
| AC | Alternating Current |
| AER | All Electric Range |
| APU | Auxiliary Power Unit |
| CAN | Controller Area Network |
| CO2 | Carbon Dioxide |
| CV | Conventional Vehicle |
| DC | Direct Current |
| DEFRA | Department for Environment, Food and Rural Affairs |
| ECMS | Equivalent Consumption Minimization Strategy |
| EM | Electric Machine |
| EV | Electric Vehicle |
| GA | Genetic Algorithm |
| HEV | Hybrid Electric Vehicle |
| ICE | Internal Combustion Engine |
| MPS | Modular Powertrain Structure |
| NEDC | New European Drive Cycle |
| OCV | Open Circuit Voltage |
| PHEV | Plugin Hybrid Electric Vehicle |
| SOC | State of Charge |
Appendix
Appendix A1
| Make | Smart (Mercedes Benz) |
|---|---|
| Model | Fortwo ED (Electric Drive) |
| Electric machine | Zytek Automotive 55 kW (limited to 30 kW propulsion, 10 kW regenerative braking) |
| Battery pack | 16.5 kWh Li-ion (Panasonic NCR18650 cells) |
| Top speed | 27.7 m/s (62 miles/h) |
| Weight | 965 kg unladen weight |
| Range | 135 km (NEDC drive cycle) |
| Well-to-wheel CO2 | 107 g/km (NEDC drive cycle) (DEFRA report) |
Appendix A2

Appendix A3

Appendix A4. Further discussion on behavior of normalized well-to-wheel CO2 emission per kilometer

Appendix A5.

Acknowledgments
- Smart Move 2 Electric Vehicle Trial conducted by Cenex;
- FUTURE Vehicle consortium (EPSRC grant number EP/I038586/1).
Conflicts of Interest
References
- Li, X.; Williamson, S.S. Comparative Investigation of Series and Parallel Hybrid Electric Vehicle (HEV) Efficiencies Based on Comprehensive Parametric Analysis. In Proceedings of the IEEE Vehicle Power and Propulsion Conference (VPPC), Arlington, TX, USA, 9–12 September 2007; pp. 499–505.
- Diamond, D. The impact of government incentives for hybrid-electric vehicles: Evidence from US states. Energy Policy 2009, 37, 972–983. [Google Scholar] [CrossRef]
- Fontaras, G.; Pistikopoulos, P.; Samaras, Z. Experimental evaluation of hybrid vehicle fuel economy and pollutant emissions over real-world simulation driving cycles. Atmos. Environ. 2008, 42, 4023–4035. [Google Scholar] [CrossRef]
- Shankar, R.; Marco, J.; Assadian, F. A Methodology to Determine Drivetrain Efficiency Based on External Environment. In Proceedings of the IEEE Electric Vehicle Conference (IEVC), Greenville, SC, USA, 4–8 March 2012; pp. 1–6.
- Shankar, R.; Marco, J.; Assadian, F. The novel application of optimization and charge blended energy management control for component downsizing within a plug-in hybrid electric vehicle. Energies 2012, 5, 4892–4923. [Google Scholar] [CrossRef]
- Chan, C.C. The state of the art of electric, hybrid, and fuel cell vehicles. IEEE Proc. 2007, 95, 704–718. [Google Scholar] [CrossRef]
- Milliken, W.F.; Milliken, D.L.; Metz, L.D. Race Car Vehicle Dynamics; SAE International: Warrendale, PA, USA, 1995; Volume 146. [Google Scholar]
- Walker, A.; McGordon, A.; Hannis, G.; Picarelli, A.; Breddy, J.; Carter, S.; Vinsome, A.; Jennings, P.; Dempsey, M.; Willows, M. A Novel Structure for Comprehensive HEV Powertrain Modelling. In Proceedings of the IEEE Vehicle Power and Propulsion Conference (VPPC), Windsor, UK, 6–8 September 2006; pp. 1–5.
- Salisa, A.R.; Zhang, N.; Zhu, J.G. A comparative analysis of fuel economy and emissions between a conventional HEV and the UTS PHEV. IEEE Trans. Veh. Technol. 2011, 60, 44–54. [Google Scholar] [CrossRef]
- Nzisabira, J.; Louvigny, Y.; Duysinx, P. Comparison of Ultra Capacitors, Hydraulic Accumulators and Batteries Technologies to Optimize Hybrid Vehicle Ecoefficiency. In Proceedings of the International Conference on Power Engineering, Energy and Electrical Drives, Lisbon, Portugal, 18–20 March 2009; pp. 353–358.
- Ribau, J.; Silva, C.; Brito, F.P.; Martins, J. Analysis of four-stroke, wankel, and microturbine based range extenders for electric vehicles. Energy Convers. Manag. 2012, 58, 120–133. [Google Scholar] [CrossRef]
- Mohan, G.; Assadian, F.; Marco, J. Influence of Cost Function on EV Powertrain Sizing. In Proceedings of the Powertrain Modelling and Control Conference, Bradford, UK, 4–6 September 2012.
- Mason, B.A.; Ebrahimi, M.; Farid, M. Reconfigurable modelling for drivetrain real-time simulation. Proc. Inst. Mech. Eng. Part K J. Multi-Body Dyn. 2009, 223, 309–323. [Google Scholar]
- Karnopp, D.C.; Margolis, D.L.; Rosenberg, R.C. System Dynamics: Modeling, Simulation, and Control of Mechatronic Systems; Wiley-Interscience: New York, NY, USA, 2012. [Google Scholar]
- Bandivadekar, A. On the Road in 2035: Reducing Transportation’s Petroleum Consumption and GHG Emissions; Massachusetts Institute of Technology: Cambridge, MA, USA, 2008. [Google Scholar]
- Contestabile, M.; Offer, G.J.; Slade, R.; Jaeger, F.; Thoennes, M. Battery electric vehicles, hydrogen fuel cells and biofuels. Which will be the winner? Energy Environ. Sci. 2011, 4, 3754–3772. [Google Scholar] [CrossRef]
- Guzzella, L.; Sciarretta, A. Vehicle Propulsion Systems: Introduction to Modeling and Optimization; Springer: Berlin, Germany, 2005. [Google Scholar]
- Rizzoni, G.; Guzzella, L.; Baumann, B.M. Unified modeling of hybrid electric vehicle drivetrains. IEEE/ASME Trans. Mechatron. 1999, 4, 246–257. [Google Scholar] [CrossRef]
- Zytek Automotive. Zytek IDT 120-55 Integrated 55 kW Electric Engine. Available online: http://www.zytekautomotive.co.uk/products/electric-engines/55kw (accessed on 23 February 2011).
- Tremblay, O.; Dessaint, L.A.; Dekkiche, A.I. Generic Battery Model for the Dynamic Simulation of Hybrid Electric Vehicles. In Proceedings of the IEEE Vehicle Power and Propulsion Conference (VPPC), Arlington, TX, USA, 9–12 September 2007; pp. 284–289.
- He, H.; Xiong, R.; Fan, J. Evaluation of lithium-ion battery equivalent circuit models for state of charge estimation by an experimental approach. Energies 2011, 4, 582–598. [Google Scholar] [CrossRef]
- Plett, G.L. Extended Kalman filtering for battery management systems of LiPB-based HEV battery packs: Part 1. Background. J. Power Sources 2004, 134, 252–261. [Google Scholar] [CrossRef]
- Powell, B.K.; Pilutti, T.E. A Range Extender Hybrid Electric Vehicle Dynamic Model. In Proceedings of the 33rd IEEE Conference on Decision and Control, Lake Buena Vista, FL, USA, 14–16 December 1994; Volume 3, pp. 2736–2741.
- Harrington, C.M. Vehicle Supervisory Control Task 6.1: Reusable Reference Architecture. In Proceedings of the Low Carbon Vehicle Technology Project (LCVTP) Workstream 6 Dissemination, Warwick Manufacturing Group (WMG), Warwickshire, UK, 21 January 2012.
- Government GHG Conversion Factors for Company Reporting; Department for Environment, Food and Rural Affairs (DEFRA) and Department for Energy and Climate Change: London, UK, 2013.
- Lucas, A.; Neto, R.C.; Silva, C.A. Energy supply infrastructure LCA model for electric and hydrogen transportation systems. Energy 2013, 56, 70–80. [Google Scholar] [CrossRef]
- Liberman, M.A. Introduction to Physics and Chemistry of Combustion: Explosion, Flame, Detonation; Springer: Berlin, Germany, 2008. [Google Scholar]
- Inventory of US Greenhouse Gas Emissions and Sinks: 1990–2009; United States Environmental Protection Agency (EPA): Washington, DC, USA, 2011.
- Moawad, A.; Singh, G.; Hagspiel, S.; Fellah, M.; Rousseau, A. Impact of Real World Drive Cycles on PHEV Fuel Efficiency and Cost for Different Powertrain and Battery Characteristics. In Proceedings of the International Battery, Hybrid, and Fuel Cell Electric Vehicle Symposium (EVS24), Stavanger, Norway, 13–16 May 2009.
- Wirasingha, S.G.; Emadi, A. Classification and review of control strategies for plug-in hybrid electric vehicles. IEEE Trans. Veh. Technol. 2011, 60, 111–122. [Google Scholar] [CrossRef]
- Shankar, R.; Marco, J.; Assadian, F. Design of an Optimized Charge-Blended Energy Management Strategy for a Plugin Hybrid Vehicle. In Proceedings of the International Conference on Control UKACC, Cardiff, UK, 3–5 September 2012; pp. 619–624.
- Pourabdollah, M.; Murgovski, N.; Grauers, A.; Egardt, B. Optimal sizing of a parallel PHEV powertrain. IEEE Trans. Veh. Technol. 2013, 62, 2469–2480. [Google Scholar] [CrossRef]
- Sundstrom, O.; Guzzella, L.; Soltic, P. Torque-assist hybrid electric powertrain sizing: From optimal control towards a sizing law. IEEE Trans. Control Syst. Technol. 2010, 18, 837–849. [Google Scholar] [CrossRef]
- Wipke, K.B.; Cuddy, M.R.; Burch, S.D. ADVISOR 2.1: A user-friendly advanced powertrain simulation using a combined backward/forward approach. IEEE Trans. Veh. Technol. 1999, 48, 1751–1761. [Google Scholar] [CrossRef]
- Barlow, T.J.; Latham, S.; McCrae, I.S.; Boulter, P.G. A Reference Book of Driving Cycles for Use in the Measurement of Road Vehicle Emissions; TRL Limited: Berkshire, UK, 2009; Volume 1. [Google Scholar]
- Silva, C.; Ross, M.; Farias, T. Evaluation of energy consumption, emissions and cost of plug-in hybrid vehicles. Energy Convers. Manag. 2009, 50, 1635–1643. [Google Scholar] [CrossRef]
- Ribau, J.P.; Sousa, J.M.C.; Silva, C.M. Plug-in hybrid vehicle powertrain design optimization: Energy consumption and cost. Lect. Notes Electr. Eng. 2013, 191, 595–613. [Google Scholar]
- Harrington, C.M.; Marco, J.; Vaughan, N.D. The design of a reference control architecture to support vehicle hybridisation. Int. J. Veh. Des. 2012, 60, 206–224. [Google Scholar] [CrossRef]
- Lampinen, J. Cam shape optimisation by genetic algorithm. Comput.-Aided Des. 2003, 35, 727–737. [Google Scholar] [CrossRef]
- Fang, L.; Qin, S.; Xu, G.; Li, T.; Zhu, K. Simultaneous optimization for hybrid electric vehicle parameters based on multi-objective genetic algorithms. Energies 2011, 4, 532–544. [Google Scholar] [CrossRef]
- Ribau, J.; Sousa, J.; Silva, C. Multi-Objective Optimization of Fuel Cell Hybrid Vehicle Powertrain Design—Cost and Energy. In Proceedings of the 11th International Conference on Engines & Vehicles, Capri, Italy, 11–15 September 2013.
- Goldberg, D.E. Genetic Algorithms in Search, Optimization and Machine Learning; Addison-Wesley Longman Publishing Co.: Boston, MA, USA, 1989. [Google Scholar]
- Ferreira Pinto, A.S.A. Evolution of Weight, Fuel Consumption and CO2. Master’s Thesis, Instituto Superior Tecnico, Lisbon, Portugal, 2009. [Google Scholar]
- Fischer, M.; Werber, M.; Schwartz, P.V. Batteries: Higher energy density than gasoline? Energy Policy 2009, 37, 2639–2641. [Google Scholar] [CrossRef]
- Smart USA Smart Electric Drive. Available online: http://www.smartusa.com/models/electric-drive/overview.aspx (accessed on 23 February 2012).
© 2013 by the authors; licensee MDPI, Basel, Switzerland. This article is an open access article distributed under the terms and conditions of the Creative Commons Attribution license (http://creativecommons.org/licenses/by/3.0/).
Share and Cite
Mohan, G.; Assadian, F.; Longo, S. An Optimization Framework for Comparative Analysis of Multiple Vehicle Powertrains. Energies 2013, 6, 5507-5537. https://doi.org/10.3390/en6105507
Mohan G, Assadian F, Longo S. An Optimization Framework for Comparative Analysis of Multiple Vehicle Powertrains. Energies. 2013; 6(10):5507-5537. https://doi.org/10.3390/en6105507
Chicago/Turabian StyleMohan, Ganesh, Francis Assadian, and Stefano Longo. 2013. "An Optimization Framework for Comparative Analysis of Multiple Vehicle Powertrains" Energies 6, no. 10: 5507-5537. https://doi.org/10.3390/en6105507
APA StyleMohan, G., Assadian, F., & Longo, S. (2013). An Optimization Framework for Comparative Analysis of Multiple Vehicle Powertrains. Energies, 6(10), 5507-5537. https://doi.org/10.3390/en6105507
