Research on the Optimization of Urban Electric Heating Hydrogen Integrated Energy System Under Carbon Pricing Mechanism: A Case Study of Guangzhou City
Abstract
1. Introduction
2. Model Construction of the Electricity–Heat–Hydrogen Integrated Energy System
2.1. Current Status of Energy Utilization in Guangzhou
2.2. City-Level Electricity–Heat–Hydrogen IES Model Architecture
2.3. Objective Function
2.4. Constraints
- (1)
- Power Balance Constraint
- (2)
- Heat Supply Balance Constraint
- (3)
- Hydrogen Supply Constraint
- (4)
- Generator Output Constraint
- (5)
- Electrolyzer Hydrogen Production
2.5. Carbon Emissions Calculation
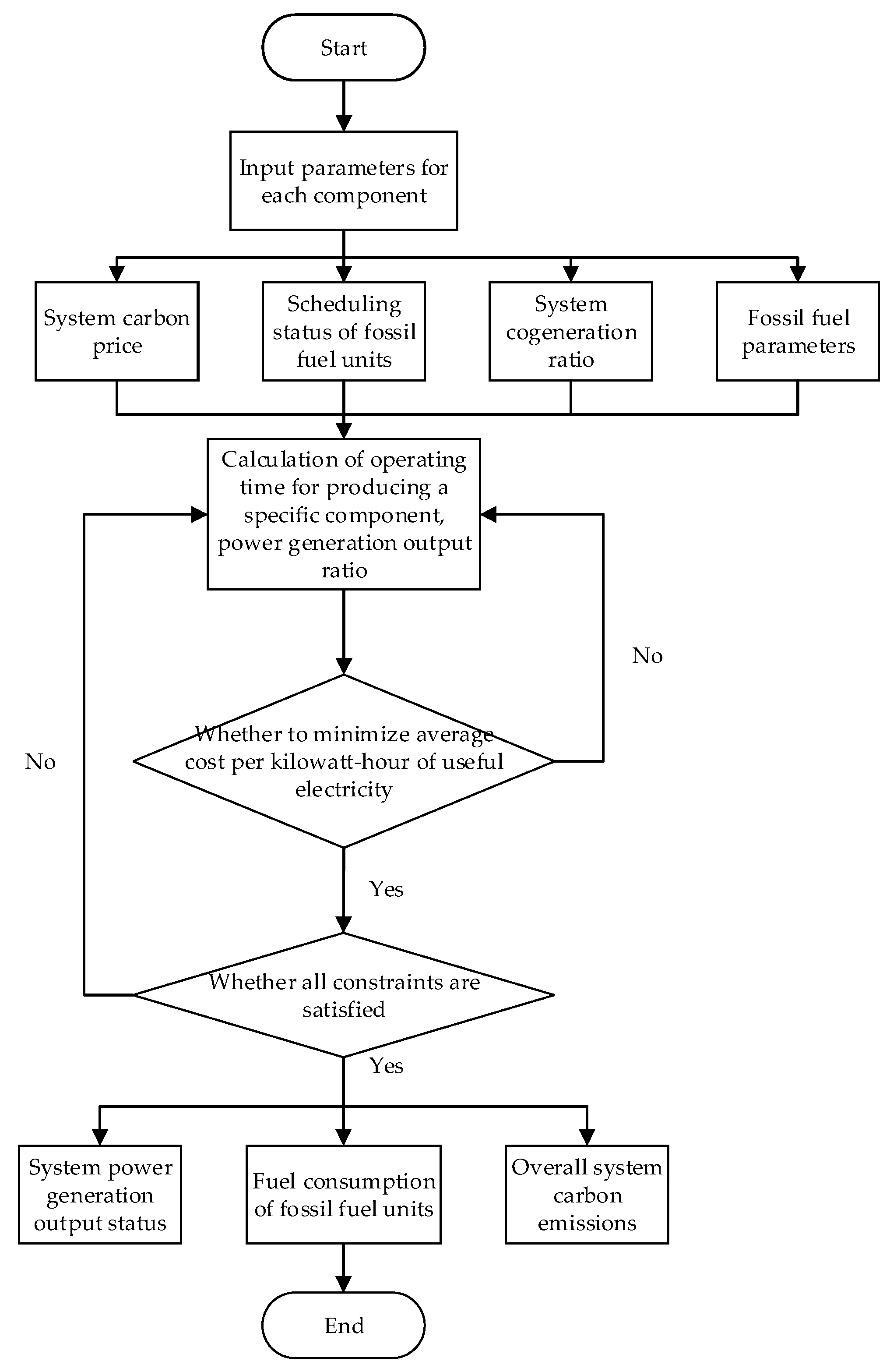
2.6. Solution and Calculation Process
3. Methodology and Data
3.1. Scenario Design
3.2. Parameter Settings
3.2.1. Supply Side
3.2.2. Electricity, Heat, and Hydrogen Loads
3.2.3. Hydrogen Demand Forecast and Validation
3.3. Model Validation
4. Low-Carbon Planning Prediction and Analysis for Guangzhou’s Electricity–Heat–Hydrogen System
4.1. Energy Consumption
4.2. System Power Generation Output
4.3. Power Generation Cost
4.4. Carbon Emissions
4.5. Sensitivity Analysis of Carbon Price
5. Discussions and Policy Implications
- (1)
- From the optimization results of the four development scenarios, the operating costs of fossil fuel generators in the IES are related to fuel consumption, operating hours, and installed capacity. After implementing a carbon emission penalty on the system, the optimal solution for minimizing the LCOE results in a effective 5% reduction in the power output from fossil fuel units. Comparing scenarios, this reduction in fossil fuel output corresponds to a decrease in overall system carbon emissions, accounting for approximately 1.2% of total emissions.
- (2)
- In calculating the system’s carbon emissions, the incorporation of hydrogen demonstrates a notable impact, primarily manifested through its consumption not generating additional carbon emissions. This effect is particularly evident across the 2030 scenarios. Compared to the emission reduction effect achieved through carbon pricing, the addition of hydrogen loads according to the plan contributes more significantly to reducing the system’s overall carbon emissions. Furthermore, increasing the share of installed renewable energy capacity alters the power generation output mix, reducing carbon emissions from the IES generation side by 400,000 tons. This contrast can be observed in the comparison between scenarios S1 and S2. Within the overall emission reduction structure of the system, 42% of the carbon reduction originates from hydrogen use, while 48% stems from changes in the power generation structure.
- (3)
- The integration of hydrogen into the IES also significantly impacts overall carbon emission reduction. With continuous technological advancements, the costs associated with large-scale hydrogen production, storage, and transportation are expected to gradually decrease in the long term, positioning hydrogen as a major component for decarbonizing IES. This study provides empirical support for this through the calculation and analysis of carbon emissions in an IES considering hydrogen integration. However, further in-depth research is required on system dispatch optimization and how to effectively utilize electrolyzers combined with fuel cells for grid interaction, leveraging their potential for peak shaving and frequency regulation.
- (4)
- The scenario comparison also sheds light on the mechanism by which carbon pricing drives energy structure optimization in the integrated system. By increasing the effective operating cost of carbon-intensive units, the carbon price raises the marginal cost of coal-fired and, to a lesser extent, gas-fired generation. This encourages the system to rely more on renewable generation and, in the presence of hydrogen demand, to use surplus renewable electricity for hydrogen production instead of curtailment. As a result, the optimal configurations under higher carbon prices feature higher shares of renewable capacity, lower utilization hours of fossil-fired units and larger amounts of hydrogen produced from clean electricity, which jointly contribute to emission reductions. From a policy perspective, this implies that a well-designed carbon price not only provides an economic incentive for low-carbon technologies, but also reshapes the dispatch and planning decisions in a way that accelerates the transition of the urban energy structure.
6. Conclusions
- (1)
- Coordinated development of renewable energy and hydrogen can significantly reduce fossil fuel consumption and CO2 emissions while maintaining acceptable system costs. Compared with the 2020 baseline, the S2 and S3 scenarios for 2030 achieve substantial reductions in coal and natural gas consumption, leading to notable decreases in fuel costs and system emission intensity. For example, by 2030, the introduction of large-scale renewable energy and hydrogen (S2) is projected to reduce fossil fuel consumption by around 20% relative to the S1 scenario and lower the fuel cost of fossil units by about 5% compared to S3. At the same time, the levelized cost of energy remains within a reasonable range, suggesting that deep decarbonization of the urban energy system can be compatible with economic feasibility.
- (2)
- Hydrogen penetration makes an important contribution to city-level decarbonization, and its emission reduction effect is comparable to that of power sector restructuring. The decomposition of emission reduction sources shows that the reduction attributable to hydrogen use in the transportation sector already accounts for approximately 1.2% of total system emissions in the studied period. When the contribution of hydrogen substitution is combined with the impact of renewable energy expansion and fossil fuel substitution, around 52% of the total emission reduction is associated with changes in hydrogen utilization and the remaining 48% stems from adjustments in the power generation structure. This result highlights that city-level decarbonization efforts should treat hydrogen not merely as a marginal technology, but as a key pillar alongside renewable power expansion.
- (3)
- Carbon pricing further enhances emission reductions and steers the system towards a lower-carbon configuration, but the incremental effect depends on the price level. Under the S4 scenario, raising the carbon price from 80 CNY/t CO2 to 140 CNY/t CO2 leads to additional emission reductions compared with S3. By 2030, the annual CO2 emissions in S3 are about 416,000 tons lower than in S2, and increasing the carbon price in S4 yields a further reduction of approximately 297,000 tons per year (about 0.3% of total emissions). This indicates that a sufficiently strong carbon-price signal can effectively promote the replacement of fossil fuels by renewable energy and hydrogen, and can encourage more efficient operation of the integrated energy system. However, overly high carbon prices may increase the economic burden on end users, so policy makers need to carefully balance emission reduction targets and cost impacts when designing carbon pricing schemes.
Author Contributions
Funding
Data Availability Statement
Conflicts of Interest
Nomenclature
| Symbol | Description |
| Levelized Cost of Energy (10,000 yuan/a) | |
| Total annualized cost (10,000 yuan) | |
| Marginal cost of the heat pump (10,000 yuan) | |
| Total thermal energy served to the thermal load (kWh) | |
| Total electrical energy served (kWh) | |
| AC load consumption (kWh) | |
| DC load consumption (kWh) | |
| Electricity sold to the grid (kWh) | |
| Project lifetime (a) | |
| Net present cost of the system (10,000 yuan) | |
| CRF | Capital Recovery Factor |
| i | real discount rate (%) |
| Power from fossil fuel generators (kW) | |
| Hydropower (kW) | |
| Solar PV power (kW) | |
| Wind power (kW) | |
| Power from the external grid (kW) | |
| Biomass power (kW) | |
| Electrical load power (kW) | |
| Electrolyzer power draw (kW) | |
| Heat supply from CHP units | |
| Heat supply from heat pumps (kW) | |
| Thermal load (kW) | |
| Hydrogen production from reformer (kg/day) | |
| Hydrogen production from electrolyzers (kg/day) | |
| Hydrogen consumption by the load (kg/day) | |
| Minimum stable generation level(kW) | |
| Maximum capacity (kW) | |
| Electrolyzer power consumption at time t (kW) | |
| Binary variable for electrolyzer (0,1) | |
| Binary variable for electrolyzer operating (0,1) | |
| Ratio of standby power to rated power (%) | |
| Rated power of the electrolyzer (kW) | |
| Operating power of the electrolyzer (kW) | |
| Total system CO2 emissions (t) | |
| CO2 emission factor for coal (t-CO2/t) | |
| Electricity generated by coal-fired units (t) | |
| CO2 emission factor for natural gas (t-CO2/t) | |
| Electricity generated by gas-fired units (t) | |
| CO2 emission factor for the grid (t-CO2/kWh) | |
| Electricity drawn from the grid (kWh) | |
| CO2 emissions from the heat pump (t) | |
| Overall CO2 emissions for the scenario (t) | |
| CO2 emissions from the IES itself (t) | |
| CO2 emission reduction hydrogen use (t) |
References
- Bu, F.; Wang, S.; Bai, H.; Wang, Y.; Yu, L.; Liu, H. An integrated demand response dispatch strategy for low-carbon energy supply park considering electricity–hydrogen–carbon coordination. Energy Rep. 2023, 9, 1092–1101. [Google Scholar] [CrossRef]
- Ding, J.; Gao, C.; Song, M.; Yan, X.; Chen, T. Optimal operation of multi-agent electricity-heat-hydrogen sharing in integrated energy system based on Nash bargaining. Int. J. Electr. Power Energy Syst. 2023, 148, 108930. [Google Scholar] [CrossRef]
- Liu, J.; Cao, X.; Xu, Z.; Guan, X.; Dong, X.; Wang, C. Resilient operation of multi-energy industrial park based on integrated hydrogen-electricity-heat microgrids. Int. J. Hydrogen Energy 2021, 46, 28855–28869. [Google Scholar] [CrossRef]
- Fan, G.; Liu, Z.; Liu, X.; Shi, Y.; Wu, D.; Guo, J.; Zhang, S.; Yang, X.; Zhang, Y. Two-layer collaborative optimization for a renewable energy system combining electricity storage, hydrogen storage, and heat storage. Energy 2022, 259, 125047. [Google Scholar] [CrossRef]
- Wang, Z.; Hu, J.; Liu, B. Stochastic optimal dispatching strategy of electricity-hydrogen-gas-heat integrated energy system based on improved spectral clustering method. Int. J. Electr. Power Energy Syst. 2021, 126, 106495. [Google Scholar] [CrossRef]
- Akhtari, M.R.; Baneshi, M. Techno-economic assessment and optimization of a hybrid renewable co-supply of electricity, heat and hydrogen system to enhance performance by recovering excess electricity for a large energy consumer. Energy Convers. Manag. 2019, 188, 131–141. [Google Scholar] [CrossRef]
- Bhatt, A.; Ongsakul, W. Optimal techno-economic feasibility study of net-zero carbon emission microgrid integrating second-life battery energy storage system. Energy Convers. Manag. 2022, 266, 115825. [Google Scholar] [CrossRef]
- Jahangir, M.H.; Cheraghi, R. Economic and environmental assessment of solar-wind-biomass hybrid renewable energy system supplying rural settlement load. Sustain. Energy Technol. Assess. 2020, 42, 100895. [Google Scholar] [CrossRef]
- Tang, W.; Nie, X.; Qian, T.; Guo, C.; Chen, W. Research review and prospect of energy storage application technology for the safety and stability of new power systems. Guangdong Electr. Power 2024, 37, 3–15. [Google Scholar]
- Tan, K.; Wang, Z.; Liu, Z.; Xiao, H.; Zhang, Y.; Quan, H.; Dai, F.; Li, Y. Demand side management mechanism and robust optimization method for active distribution networks considering distributed energy storage system. Guangdong Electr. Power 2024, 37, 129–137. [Google Scholar]
- Xu, G.; Li, X.; Zhong, Z. Strategic bidding of hydrogen-wind-photovoltaic energy system in integrated energy and flexible ramping markets with renewable energy uncertainty. Int. J. Hydrogen Energy 2024, 80, 1406–1423. [Google Scholar]
- Xu, D.; Liu, Y.; Li, Z.; Ding, S.; Chen, S. A review on the economic research of hydrogen energy development and utilization. Oil Gas New Energy 2021, 33, 50–56. [Google Scholar]
- Li, J.; Shao, C.; Zhang, Z.; Liang, Z.; Zeng, F. Analysis of hydrogen industry policy and commercialization model. Power Gener. Technol. 2023, 44, 287–295. [Google Scholar]
- Yuan, X.; Zeng, F.; Miao, H.; Hou, Y.; Xu, D.; Zhang, X.; Mei, S. Study on modelling and capacity planning of electric-thermal-hydrogen integrated energy systems. High Volt. Appar. 2024, 60, 34–47. [Google Scholar]
- Li, K.; Yao, Z.H.; Wang, J.; Wu, Z.; Ding, Z. The prospects for the development of domestic and global policies on fuel cell vehicles. Automot. Dig. 2024, 8, 26–29. (In Chinese) [Google Scholar]
- Bai, L.; Li, F.F.; Cui, H.; Jiang, T.; Sun, H.; Zhu, J. Interval optimization based operating strategy for gas-electricity integrated energy systems considering demand response and wind uncertainty. Appl. Energy 2016, 167, 270–279. [Google Scholar] [CrossRef]
- Shi, M.; Vasquez, J.C.; Guerrero, J.M.; Huang, Y. Smart communities-Design of integrated energy packages considering incentive integrated demand response and optimization of coupled electricity-gas-cooling-heat and hydrogen systems. Int. J. Hydrogen Energy 2023, 48, 31063–31077. [Google Scholar] [CrossRef]
- Fang, X.; Dong, W.; Wang, Y.; Yang, Q. Multi-stage and multi-timescale optimal energy management for hydrogen-based integrated energy systems. Energy 2024, 286, 129576. [Google Scholar] [CrossRef]
- Liu, N.; Zhang, K.; Zhang, K. Coordinated configuration of hybrid energy storage for electricity-hydrogen integrated energy system. J. Energy Storage 2024, 95, 112590. [Google Scholar] [CrossRef]
- Ye, Q. Guangzhou seizes the innovative high ground of the new energy storage industry. Sci. Technol. Dly. 2023, 7. [Google Scholar]
- Yu, P.S.; Li, L. Current status and suggestions for the development of hydrogen energy industry in Guangdong Province. Econ. Technol. 2024, 10, 36–38. [Google Scholar]
- Li, Z.; Xia, Y.; Bo, Y.; Wei, W. Optimal planning for electricity-hydrogen integrated energy system considering multiple timescale operations and representative time-period selection. Appl. Energy 2024, 362, 122965. [Google Scholar] [CrossRef]
- Wu, J.Q.; Zhang, Q.; Huang, Y.Y.; Wu, X.; Li, Q. Multi-agent collaborative low-carbon economic dispatch in integrated energy system considering electric vehicles. Autom. Electr. Power Syst. 2024, 48, 36–47. [Google Scholar]
- Liu, F.; Sun, F.; Wang, X. Impact of turbine technology on wind energy potential and CO2 emission reduction under different wind resource conditions in China. Appl. Energy 2023, 348, 121540. [Google Scholar] [CrossRef]
- Seguro, J.V.; Lambert, T.W. Modern estimation of the parameters of the Weibull wind speed distribution for wind energy analysis. J. Wind Eng. Ind. Aerodyn. 2000, 85, 75–84. [Google Scholar] [CrossRef]
- Rocha, P.A.C.; de Sousa, R.C.; de Andrade, C.F.; da Silva, M.E.V. Comparison of seven numerical methods for determining Weibull parameters for wind energy generation in the northeast region of Brazil. Appl. Energy 2012, 89, 395–400. [Google Scholar] [CrossRef]
- Guangzhou Municipal People’s Government. Work Plan for the Development of New Energy Vehicles in Guangzhou (2017–2020); Guangzhou Municipal People’s Government: Guangzhou, China, 2017.
- Ministry of Industry and Information Technology. Measures for Promoting the Development of the Hydrogen Energy Industry; Ministry of Industry and Information Technology: Beijing, China, 2020.
- Guo, F.Q.; Wang, P.; Zhao, K.M. Configuration of source-grid-load-storage system in an industrial park-based on multi-indicator optimization. Sci. Technol. Eng. 2023, 23, 6018–6026. [Google Scholar]
- Gu, L.; Gao, Q.D.; Feng, J.L. Analysis and application of carbon emission factors in provincial power grids under the background “carbon peaking and carbon neutrality”. Shanxi Electr. Power 2024, 5, 1–4. [Google Scholar]
- Zhang, S.L. Thoughts on optimizing and adjusting the carbon emission factor of power grids under the background of “dual carbon” goals. Guangxi Electr. Power 2022, 10, 62–65. (In Chinese) [Google Scholar]
- Guangzhou Transportation Planning and Research Institute. Annual Report on Guangzhou Transportation Development; Guangzhou Transportation Planning and Research Institute: Guangzhou, China, 2021. [Google Scholar]
- Lin, S.F.; Huang, N.N.; Zhao, L.J.; Tang, B.; Li, D.D. A household daily load curve model based on user behavior. Electr. Power Constr. 2016, 37, 114. [Google Scholar]
- Yue, T.; Tong, J. Carbon pricing mechanisms and China’s high-quality economic development under “dual carbon” targets: Collaborative targets and mechanism analysis. Stat. Res. 2024, 41, 48–63. [Google Scholar]
- Xu, Y.; Wu, H.L.; Wang, J.A.; Dai, J.; Zhao, D.Y. Innovative development direction of hydrogen energy in Guangzhou under the background of “dual carbon”. Sci. Technol. Wind 2024, 6, 1–5. (In Chinese) [Google Scholar]
- Liao, S.Y.; Xiao, Y.D.; Xu, J.; Li, L.F.; Xu, X.D.; Jia, H.J. Economic dispatch model considering production process of energy-intensive industrial load under demand response. Autom. Electr. Power Syst. 2025, 49, 22–30. [Google Scholar]
- Fan, Y.H.; Jiang, T.Y.; Huang, Q.F.; Ju, P. Portrait-based assessment on demand response potential of industrial parks. Autom. Electr. Power Syst. 2024, 48, 41–49. [Google Scholar]
- Guangzhou Municipal Bureau of Statistics. Guangzhou Statistical Yearbook. 2022. Available online: https://tjj.gz.gov.cn/stats_newtjyw/zyxz/tjnjdzzz/content/mpost_8677056.html (accessed on 24 November 2022).
- Xiang, X.M.; Chen, M.H.; Huang, H.; Guo, X.M. Analysis of natural gas electricity foreground in Guangdong Province. Energy Technol. 2007, 04, 214–217+220. [Google Scholar]
- Chen, L.; Li, J.L.; Wu, X.M.; Peng, X.G. Natural gas power generation related problems and its countermeasures for Guangdong power grid. Electr. Power 2011, 44, 76–79. [Google Scholar]
- Wang, J.; Fan, J.; Wu, S. Medium- and long-term hydrogen demand forecast in China: A multi-sector and multi-region analysis. Energy 2025, 335, 137992. [Google Scholar] [CrossRef]







| Scenario Name | System ID | Scenario Description |
|---|---|---|
| Baseline Scenario | S1 | Business-as-usual development to 2030: moderate growth rate for renewables, fossil fuel capacity develops according to plans, low hydrogen usage (below planned values). |
| Renewable Energy Development Scenario | S2 | Rapid growth rate for renewables, fossil fuel capacity growth lower than baseline, low hydrogen usage. |
| Hydrogen + Renewable Energy Development Scenario | S3 | Rapid growth rate for renewables, fossil fuel capacity growth lower than baseline, high hydrogen usage. |
| Carbon Emission Cost + Hydrogen + Renewable Energy Development Scenario | S4 | Rapid growth rate for renewables, fossil fuel capacity growth lower than baseline, high hydrogen usage, incorporates a CO2 penalty price. |
| Scenario | 2020 | 2025 | 2030 | ||||||
|---|---|---|---|---|---|---|---|---|---|
| S1 | S2 | S3 | S4 | S1 | S2 | S3 | S4 | ||
| Coal | 3680 | 3680 | 3180 | 3180 | 3180 | 3680 | 3180 | 3180 | 3180 |
| Gas | 3707 | 10,262 | 7482 | 10,262 | 10,262 | 12,277 | 10,262 | 12,277 | 12,277 |
| Hydro | 153 | 168 | 168 | 168 | 168 | 168 | 168 | 168 | 168 |
| Wind | 0 | 15 | 15 | 15 | 15 | 15 | 15 | 15 | 15 |
| Solar | 602 | 900 | 1200 | 1200 | 1200 | 1959 | 2400 | 2400 | 2400 |
| Biomass | 394 | 600 | 930 | 930 | 930 | 1150 | 1500 | 1500 | 1500 |
| Year | Heat Load (MWh/d) | Electric Load | Scenario | Hydrogen Load (t/d) | |
|---|---|---|---|---|---|
| Commercial (kWh/d) | Resident (kWh/d) | ||||
| 2020 | 17,933.1 | 11,835.1 | 15,472.3 | BASE | 0 |
| 2025 | 16,447.4 | 16,448.8 | 20,095.3 | S1 | 5 |
| S2 | 10 | ||||
| S3 | 20 | ||||
| S4 | 20 | ||||
| 2030 | 16,447.4 | 24,834.2 | 24,335.1 | S1 | 50 |
| S2 | 100 | ||||
| S3 | 200 | ||||
| S4 | 200 | ||||
Disclaimer/Publisher’s Note: The statements, opinions and data contained in all publications are solely those of the individual author(s) and contributor(s) and not of MDPI and/or the editor(s). MDPI and/or the editor(s) disclaim responsibility for any injury to people or property resulting from any ideas, methods, instructions or products referred to in the content. |
© 2025 by the authors. Licensee MDPI, Basel, Switzerland. This article is an open access article distributed under the terms and conditions of the Creative Commons Attribution (CC BY) license (https://creativecommons.org/licenses/by/4.0/).
Share and Cite
Duan, Y.; Gao, C.; Li, F.; Cai, G.; Wu, D.; Ren, S. Research on the Optimization of Urban Electric Heating Hydrogen Integrated Energy System Under Carbon Pricing Mechanism: A Case Study of Guangzhou City. Energies 2025, 18, 6084. https://doi.org/10.3390/en18236084
Duan Y, Gao C, Li F, Cai G, Wu D, Ren S. Research on the Optimization of Urban Electric Heating Hydrogen Integrated Energy System Under Carbon Pricing Mechanism: A Case Study of Guangzhou City. Energies. 2025; 18(23):6084. https://doi.org/10.3390/en18236084
Chicago/Turabian StyleDuan, Yao, Chong Gao, Feng Li, Guotian Cai, Donghong Wu, and Songyan Ren. 2025. "Research on the Optimization of Urban Electric Heating Hydrogen Integrated Energy System Under Carbon Pricing Mechanism: A Case Study of Guangzhou City" Energies 18, no. 23: 6084. https://doi.org/10.3390/en18236084
APA StyleDuan, Y., Gao, C., Li, F., Cai, G., Wu, D., & Ren, S. (2025). Research on the Optimization of Urban Electric Heating Hydrogen Integrated Energy System Under Carbon Pricing Mechanism: A Case Study of Guangzhou City. Energies, 18(23), 6084. https://doi.org/10.3390/en18236084

