Next Article in Journal
Lifting the Blanket: Why Is Wholesale Electricity in Southeast European (SEE) Countries Systematically Higher than in the Rest of Europe? Empirical Evidence According to the Markov Blanket Causality and Rolling Correlations Approaches
Previous Article in Journal
Justification of Pore Configuration of Metal-Foam-Filled Thermal Energy Storage Tank: Optimization of Energy Performance
 
 
Font Type:
Arial Georgia Verdana
Font Size:
Aa Aa Aa
Line Spacing:
Column Width:
Background:
Article

Analysis of Gas Boiler Failure and Successful Modification of Its Design

Chair of Thermal and Process Engineering, Faculty of Mechanical Engineering, Cracow University of Technology, Al. Jana Pawła II 37, 31-864 Cracow, Poland
*
Author to whom correspondence should be addressed.
Energies 2025, 18(18), 4860; https://doi.org/10.3390/en18184860
Submission received: 27 August 2025 / Revised: 7 September 2025 / Accepted: 10 September 2025 / Published: 12 September 2025
(This article belongs to the Section B: Energy and Environment)

Abstract

This study addresses recurring failures of a gas boiler with a steam capacity of 65,000 kg/h, which is operating in a Polish industrial plant. To determine the cause, material examinations were carried out, including chemical composition and microstructural analysis of SA178A steel, as well as strength tests. The results revealed no significant material degradation outside the cracking zones, suggesting that the failures were primarily caused by thermo-mechanical interactions. A finite element model in Ansys Workbench software was developed, incorporating thermal and mechanical boundary conditions, to reproduce the behavior of the critical section. The analysis demonstrated stress concentrations at the junction between the box and the membrane wall, resulting from large thermal displacement differences. The plastic strains under static loading do not exceed 5%, which implies that, without considering the cyclic nature of boiler operation, the wall should not experience failure. Analysis taking into account only 3 full operating cycles indicates a continuous increase in plastic deformation, which leads to the occurrence of ratcheting. To mitigate these effects, a modification of the sealing box design was proposed. Simulations indicated a reduction in plasticized zones by approximately 65%, and the effectiveness of the solution was confirmed by two years of failure-free operation. The findings highlight the importance of an integrated diagnostic, numerical, and design approach to improving boiler durability.

1. Introduction

Power boilers are key components in thermal and electrical energy production, and their reliability and durability directly impact the operational efficiency of power plants. During operation, boiler components such as superheater tubes and membrane wall components—including tubes and fins—are exposed to extreme conditions, including high temperatures and pressures, leading to complex material degradation processes such as loss of ductility, creep, fatigue, and corrosion [1,2,3]. Damage to steam boiler components can occur when excessive stresses arise from these phenomena. Identifying the sources of elevated stresses poses a significant engineering challenge. It is often difficult to clearly determine whether they result from design errors, improper operation, or unexpected operating conditions [4,5,6].
The failure mechanism in a double-fired steam boiler starts due to significant corrosion and uneven heat distribution in the tubes, which causes thermal oxidation [7]. In Ref. [8] it is shown that the high susceptibility to corrosion and the resulting failures in the low-temperature parts of the waste heat recovery boiler are directly related to the formation of hydrated ferric sulfate in these areas.
Therefore, diagnosing damage to boiler components plays a key role in maintaining their reliability [9]. Advanced diagnostic methods enable not only the detection of existing defects but also the identification of the underlying causes of stress increases. This, in turn, facilitates design improvements and provides engineers with valuable information that can be used in future projects to avoid similar problems. Much valuable information can be obtained by examining the microstructure, phase distribution, and alloying element distribution. In Ref. [10] high-temperature confocal laser scanning microscopy is applied to observe the grain growth and phase transformations in austenitic stainless steel. Optical microscopy, scanning electron microscopy, electron backscatter diffraction and electron probe microanalysis are used to study the morphology, content, decomposition of ferrite and microsegregation in 316H austenitic stainless steel electro-slag remelting in [11].
The design and operation of power boilers require precise consideration of not only the forces and loads resulting from operating pressure and temperature, but also the interactions between individual structural elements. One key aspect is the analysis of the flexibility of joined components, as differences in the stiffness of individual parts can lead to local stress concentrations and, consequently, premature failure [5,12]. A typical example of this problem is the connection of pressure elements with supporting or shielding structures, which in practice are often treated as rigid, even though in reality they may be subject to significant relative deformations [13]. Despite increasingly precise recommendations [14,15,16] for the design and operation of pressure equipment, failures of these devices still occur. A review of the literature in this area reveals a variety of physical phenomena that may be responsible for such failures. Consequently, determining the cause of a failure solely on the basis of applicable regulations and available literature is difficult without conducting experimental and/or numerical studies dedicated to this specific case.
The subject of this article is the analysis of the cyclical failure of a gas boiler operating in a Polish manufacturing plant. To clarify the cause of this failure, comprehensive material testing is carried out, a numerical model is developed and validated against the actual operation of the boiler, and a modification of the boiler’s design is proposed. The effectiveness of this modification is confirmed after an extended period of failure-free operation.

2. Description of Facility

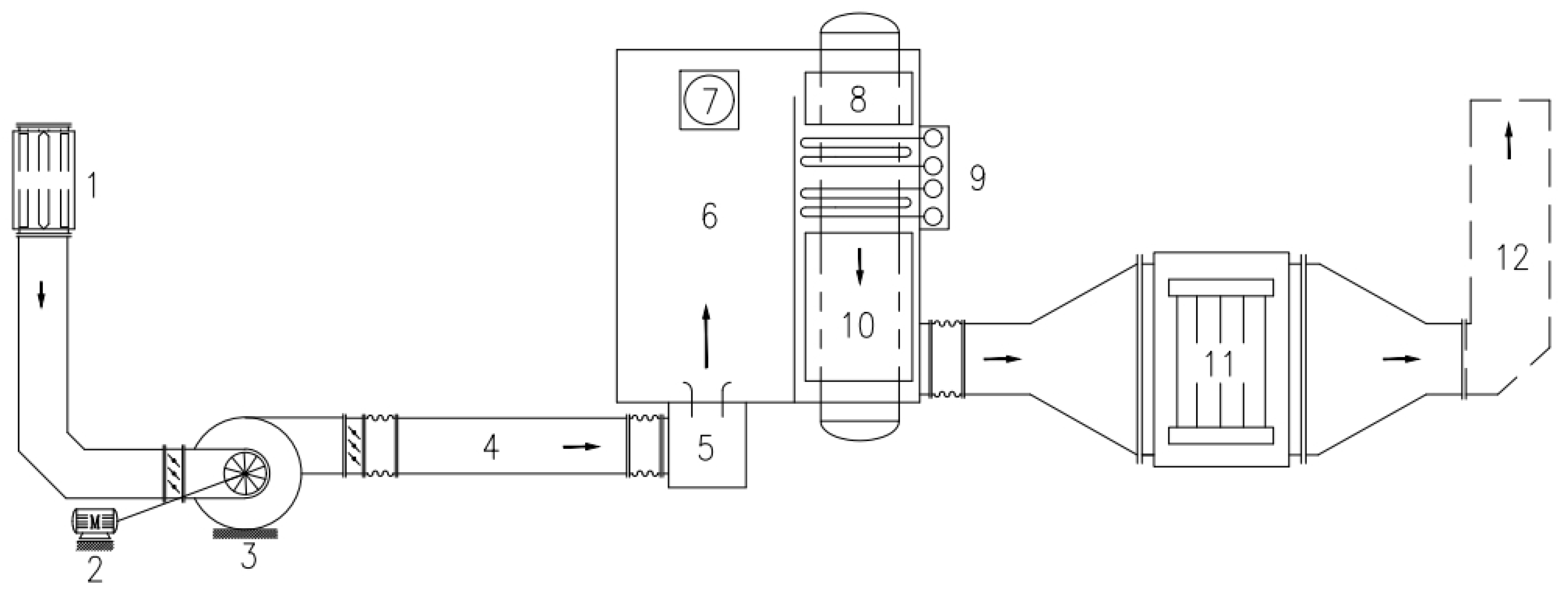
A diagram of the boiler system highlighting the components under analysis is shown in Figure 1. The unit produces steam at a rate of 65,000 kg/h, a pressure of 5 MPa, and a temperature of 454 °C. The generated steam is essential both for production processes and for meeting the plant’s energy demand.
The cause of the boiler’s periodic failures is a damaged tube located at the corner where the box connects to the membrane wall of the combustion chamber, as shown in Figure 2. These tubes operate under a medium pressure of 5 MPa and a temperature of 371 °C. The damage manifests as water leakage at the rupture point, which, due to prolonged seepage, also leads to external corrosion of the pipes and the accumulation of deposits on their surface, as illustrated in Figure 2. Leaks occur on a monthly basis, and repairs by welding the damaged areas do not deliver the expected results in the long-term operation of the boiler.
Figure 3 shows a section of the boiler where the failure occurred. The box marked 4 is welded to the wall of the combustion chamber number 3. This box is designed to accommodate the installation of superheater coil number 6, along with chambers and connectors number 7 in the boiler. Thermal insulation is installed on the outside of the drums marked 1 and 2 and the walls marked 3. The box itself is not insulated from the outside. The box is made of heat-resistant or carbon steel; therefore, considering the direct impact of flue gases on the box, it must be protected from overheating from the inside so that its temperature remains comparable to that of the wall to which it is attached. For this purpose, wool marked 5 is used in the box, which should be tightly packed. Unfortunately, this wool often degrades over time and does not provide sufficient insulation against flue gases, frequently leading to localized overheating, as shown in Figure 4.
Thermal images show localized temperature concentrations caused by a lack of wool filling in the box. This observation is confirmed by the boiler operator, but due to the nature of the boiler’s operation and the lack of access for continuous wool replenishment, overheating problems occur regularly. Due to the continuous operation of the boiler, it is impossible to remove the external insulation from the boiler walls while taking thermal images. For this reason, the images do not include membrane wall temperatures. The highest temperature recorded in the box ranges from 200 °C to 300 °C in its upper parts, especially in the corners, while the temperatures in the remaining parts of the box range from 70 °C to 80 °C.
To answer the question of whether the observed overheating leads to material damage beyond the immediate cracking sites, material tests are presented.
In order to clarify whether the observed overheating leads to the formation of cracks, numerical models of the boiler operation are also presented.

3. Material Examination

Effective damage analysis in power boilers requires the use of advanced diagnostic methods. First, a control analysis of the chemical composition of combustion chamber front wall tubes made of SA178A steel is performed after operation at an operating temperature of 371 °C. The spark optical emission spectrometry (Spark OES) with a Bruker Magellan Q8 (Billerica, MA, USA) optical emission spectrometer in accordance with ISO 14284 standards is applied [17]. The results are summarized in Table 1.
Comparing the chemical composition of the steel shown in the table with publicly available specifications for SA178A, it can be concluded that this steel meets the boiler tube standard specification [18] and its chemical composition is well-defined for this application. Typical carbon contents for SA178A range from 0.06–0.18%, and those for manganese from 0.27 to 0.63%, and phosphorus and sulfur do not exceed 0.035%.
Microstructural studies are performed using a scanning electron microscope on etched transverse metallographic sections from a section of the combustion chamber front wall tube. Figure 5 shows the results for a representative sample from the tube marked as number 1. The material for the study is cut from the membrane wall of the furnace chamber in the region of the observed leakage, with the extracted tube section having a length of approximately 250 mm. (Figure 5a). Microstructural observations of the material are carried out on metallographic specimens (Figure 5b). The specimens are prepared on transverse and longitudinal sections of the tube segments by grinding with abrasive papers and mechanical polishing using diamond pastes. Chemical etching is performed in a 4% alcoholic solution of nitric acid.
A ferritic-pearlitic structure is identified. The pearlitic areas are clearly defined and characterized by a well-preserved cementite morphology in the form of typical lamellae, which may indicate relatively stable thermal conditions during operation [19,20]. The ferritic areas (visible as smooth grains without lamellae) between pearlite colonies contain fine precipitates visible both at the grain boundaries and within the grains. In particular, numerous secondary precipitates are observed at the ferritic grain boundaries, which may indicate diffusion phenomena occurring during long-term exposure to high temperatures. These precipitates are likely carbides (e.g., Fe3C) or possibly manganese sulfides (MnS), which tend to segregate along the grain boundaries. Their size and quantity are not large and therefore do not significantly affect the steel’s properties.
Individual, very fine, randomly distributed precipitates are observed within the ferrite grains. Their presence may indicate the initial stage of microstructural changes resulting from creep or long-term exposure to operational stresses, which is a normal phenomenon in boilers operating at high temperatures and does not significantly reduce the material’s mechanical properties. Importantly, no microcracks, voids, or other structural discontinuities are observed, suggesting that the material—despite the presence of precipitates—retains its structural integrity and does not exhibit mechanical degradation. This indicates that the pipe is in satisfactory technical condition at the time of testing.
Strength properties are also tested at room temperature, in particular: tensile strength Rm, yield strength Rp0.2, elongation A5 and yield strength Ret at 430 °C. All tested properties meet the standard requirements: Rm = 364 MPa > 325 MPa; Rp0.2 = 278 MPa > 179 MPa; A5 = 37.8% > 35%; Ret = 155 MPa > 120 MPa.

4. Failure Modeling

Material testing reveals no material degradation away from the cracks through which the water leaks. Due to the lack of accessible parts of the boiler where cracks occur, numerical simulation of the operation of these elements is performed using the Finite Element Method (FEM) [21] with Ansys Workbench software version 19. The numerical analysis of the damaged boiler section, as shown in Figure 2, includes the entire membrane wall, along with the upper and lower drums, as depicted in Figure 3.
For an isotropic solid body, the energy balance equation reduces to the transient heat conduction equation
c ρ T t = q + q V
where q is the heat flux vector, which is described by Fourier’s law
q = k T
The variables in the above equations are: c—specific heat [J/kg·K], r—density [kg/m3], T—temperature [°C], t—time [s], qV—volumetric heat generation [W/m3], k—thermal conductivity coefficient [W/m·K]. For larger temperature changes, the effect of temperature on properties should be taken into account by providing functional or tabular relationships. To determine the unsteady temperature distribution the following initial and boundary conditions are used:
T r , t t 0 = 0 = T 0 r
k T n S q = q S
k T n S h = h T m T S h
where n—unit outward normal vector to the boundary S, qs—heat flux set on the body boundary Sq, h—heat transfer coefficient set on the body boundary Sh, Tm—temperature of a medium. The above system of equations is solved by FEM.
A model consisting of shell elements (shell 181) for simulating steel parts and solid elements (solid 27) for modeling wool is shown in Figure 6b. In total, the model contains 2,358,090 finite elements.
First, the temperature distribution is calculated. Thermal boundary conditions of the third type are defined on the surfaces in contact with the fluids shown in Figure 6a, such as: the steam-water mixture, flue gas, and air outside the boiler. The exhaust gas temperature is set to 676 °C, the temperature of the steam-water mixture inside the tubes to 371 °C, and the steam temperature in the superheater bundle to 482.2 °C. The boiler is instrumented with several measurement points, both on the steam pipeline and in the drums. For this purpose, type-K thermocouples (model 2XT-H-12-DANAWDIE-M18x1,5-6/375/200-K-1-TR, Lapp Automaatio Oy, Vantaa, Finland) are used to record the operating temperatures, including the steam temperature applied in the model. These temperature values are consistent with the design assumptions and are confirmed by measurements. The heat transfer coefficient on the exhaust side and inner side is estimated to be 40 W/m2 °C. and 2000 W/m2 °C, respectively. These values are confirmed by the boiler designers and checked during the boiler start-up phase before its operation. Since the boiler walls and drums are insulated externally with mineral wool, except for the outer surface of the box, the analysis assumes zero heat exchange with the environment in these areas. However, the box is exposed to the ambient air, so heat exchange with the environment occurs there. The air-side heat transfer coefficient is assumed to be 4.27 W/m2 °C, which corresponds to an air temperature of 22 °C measured near the boiler. In places where the numerical model is cut off from the remaining parts of the boiler, symmetry conditions are assumed. The thermal conductivity coefficients for steel and mineral wool used in the model are presented in Figure 7. The thermal analysis is conducted at steady state because the goal is to determine a representative, long-term temperature distribution under nominal operating conditions. The boiler operates predominantly in a steady-state regime, and the infrared thermography measurements are carried out under these conditions. The results of the thermal analysis are presented in Figure 8. The maximum temperature on the box reaches approximately 400 °C near the membrane wall, with a pronounced gradient observed towards the central region of the box.
The temperature distribution corresponds closely to that captured in the infrared thermography images. The boiler membrane wall is not visible in infrared thermographic images because it is insulated, which means that the displayed temperature distribution is cut off at the point where it meets the membrane wall insulation. Validation of the temperature distribution for one corner of the box is shown in Figure 9. For comparison with thermography, the numerical results are limited to 280 °C, i.e., at the value equal to the maximum temperature recorded in the IR image at the cut-off line on the box, where the membrane wall insulation begins. The comparison is performed using an image-based quantitative method, where pixel values from both FEA and IR thermography are converted into temperature fields and evaluated point-by-point [23]. The results show a mean absolute error (MAE) of 29.8 °C and a bias of −25.5 °C, which corresponds to about 8% of the maximum temperature level. The negative bias indicates that the FEA results systematically overestimate the measured surface temperatures. Considering that the IR images are acquired under very challenging conditions and with limited measurement possibilities, this level of agreement can be regarded as a very good result.
The obtained temperature distribution results are used in the FEM analysis to assess the stress distribution in the box, fins, and membrane wall tubes. A one-way coupling between thermal and structural analysis is assumed. Structural calculations are based on a force equilibrium, a geometric, and a constitutive equation:
σ i j , j + f i = 0 ,
ε i j e = 1 2 u i , j + u j , i ,
σ i j = 2 G ε i j e + λ ε k k e δ i j + β ( T T 0 ) δ i j ,
where σ is a stress tensor [Pa], f is the body forces vector [N/m3], u is a displacement vector, εe is an elastic strain tensor, G and λ are Lame constants, β is a thermal expansion coefficient [1/°C] and δij—the Kronecker delta.
The total infinitesimal strain tensor is additively decomposed into elastic, plastic, and thermal parts:
ε i j = ε i j e + ε i j p + ε i j T
Displacement and force boundary conditions are used to determine the strain and stress distribution. The former relate to the case of restraint or symmetry, and the latter to pressure loading or free surfaces. A flue gas pressure of 1.4 kPa is applied to the inner surface of the membrane wall and the box. The steam pressure inside the membrane wall tubes and drums is set to 5 MPa. These pressure values are consistent with the design specifications and are verified against local measurements from the installed pressure sensors. At the edges of the model cut off from the remaining part of the boiler, displacement boundary conditions are applied, allowing boiler movement in the direction of thermal expansion. The system of thermoelasticity equations is solved by FEM.
In the numerical analysis, the yield strength as a function of temperature is considered, as presented in Table 2. For the purpose of the analysis, it is assumed that the tested material sample meets the standard requirements regarding mechanical properties; therefore, the FEM simulations adopt material properties in accordance with the applicable normative specification [18]. Since the objective of the numerical analysis is to identify locations susceptible to yielding, it is carried out as a nonlinear analysis considering first-order theory, a linear-elastic, perfectly plastic constitutive law for materials, the von Mises yield criterion (maximum distortion energy criterion), and the associated flow rule [14].
The results of the nonlinear analysis are presented in Figure 10. The yielded zones of the wall correspond to the locations that have already failed and also indicate potentially critical areas that may be susceptible to future damage. The plastic strains do not exceed 5% [14], which implies that, under static loading without considering the cyclic nature of boiler operation, the wall should not experience failure. This observation is consistent with the boiler’s operational history, as the damage occurs only after several consecutive shutdown and start-up cycles, and, following repair of the damaged area by welding, the failures reappear after a few subsequent operating cycles. It can also be observed that the boiler failures occur in locations other than those corresponding to the maximum strain values.
This suggests that the primary cause is cyclic loading resulting from periodic shutdowns, during which all loads are removed, followed by start-ups to the operating state, where the loads (pressure and temperature gradients) once again reach the values defined in the boundary conditions used for the FEM analysis.
Considering the cyclic operation of the boiler (including shutdown and operating phases), an additional analysis is performed to examine how the plastic strains at a selected point on the tube evolve with each subsequent operating cycle (as shown in Figure 11). The results of the analysis accounting for the cyclic operation of the boiler indicate a continuous increase in plastic strain, which leads to the occurrence of ratcheting [14,15,24,25].
The results shown in Figure 11 are verified numerically for a selected section in which the damage had been observed. The mesh sensitivity study is conducted using a nonlinear material behaviour model, incorporating an ideal plastic plateau. Since the primary objective of the FEM analysis is to illustrate the propagation of plastic deformations, the mesh study focuses on comparing the yielded area for the selected model fragment across different mesh sizes. This comparison is carried out for element sizes listed in Table 3. The results for the coarsest and the finest mesh analysed for the selected model fragment are shown in Figure 12. The yielded area is expressed as a percentage, defined as the ratio of the plasticised area to the total area of the examined fragment.
According to the results in Table 3, the average yielded area is 7.45%, with a scatter of ±0.24 percentage points (≈±3% relative). This indicates that the influence of mesh size on the yielded area for element sizes between 10 mm and 40 mm is insignificant. The structural analysis is therefore performed using an average mesh size of 10 mm.
This result is also consistent with on-site observations during boiler operation, where the severity of damage increases with the number of operating cycles. The progressive accumulation of strain means that, even without significant static overload, the structural integrity of the affected region inevitably deteriorates under repeated thermal and mechanical cycling. As a result, the component experiences recurrent failures, ultimately leading to premature end-of-life for the damaged boiler section.

5. Proposed Changes to the Boiler Design

As a result of the conducted material and numerical tests, it is shown that the main cause of damage is a significant difference in thermal displacements between the membrane wall and the box, resulting from a large temperature gradient. To limit these effects and reduce the level of thermal stresses, a compensation solution is established and implemented directly in the box structure.
The implemented solutions, shown in Figure 13, include chamfering the box corner (1), which reduces the local stiffness of the structure and limits stress accumulation in areas of sharp geometric discontinuities. In addition, compensating grooves are introduced in the box wall (2), which increase structural flexibility and allow partial relief of stresses resulting from thermal expansion. The element ensuring the tightness of the box is a set of compensating plates covering the grooves (3). Such a solution reduces stress concentrations generated during thermal cycles, thereby extending the boiler’s service life and minimizing the risk of recurrent failures.
Figure 14 presents a comparison of plastic deformations in the membrane wall tubes at the box corners for two variants: (a) structure with implemented compensating elements, (b) original structure (without compensation). The results clearly demonstrate the beneficial effect of the applied compensating solutions. In the original variant (b), significantly larger plasticized areas are observed, particularly in the zones of contact with the box. After introducing compensation (a), the plastic deformation zones are markedly reduced by approximately 65%.
It can be observed that the applied compensating solutions effectively reduce stress concentrations and limit the propagation of plastic deformations in the corners. As a result, the risk of damage during cyclic boiler operation is decreased, and the service life of the structure is extended. This has also been confirmed in practice, as the structure has remained failure-free for the past two years.

6. Conclusions

This study presented an integrated diagnostic, experimental, and numerical approach to investigating the recurring failures of a gas boiler operating in an industrial plant. The results of chemical composition analysis, microstructural examinations, and mechanical testing of SA178A steel revealed no significant material degradation outside the cracking zones, suggesting that the failures were primarily caused by thermo-mechanical interactions. A finite element model was developed, incorporating thermal and mechanical boundary conditions, to reproduce the behavior of the critical section. The analysis demonstrated stress concentrations at the junction between the box and the membrane wall, resulting from large thermal displacement differences. Cyclic operation intensified plastic strains, leading to ratcheting and repeated failures. To mitigate these effects, a modification of the sealing box design was proposed. Simulations indicated a reduction in plasticized zones by approximately 65%, and the effectiveness of the solution was confirmed by two years of failure-free operation. The study highlights that reliable operation of power boilers requires not only compliance with standard design guidelines but also detailed consideration of thermal displacement effects, cyclic loading, and local stress concentrations. The key factor contributing to the failure of the steel pipe was the lack of a compensation solution in the box structure. The presented methodology provides a practical framework for diagnosing damage and developing effective design improvements, thereby enhancing the durability, safety, and operational efficiency of boiler systems.

Author Contributions

Conceptualization, P.D.; methodology, Ł.F.; software, Ł.F.; validation, Ł.F.; formal analysis, P.D.; investigation, Ł.F.; resources, Ł.F.; data curation, Ł.F.; writing—original draft preparation, P.D. and Ł.F.; writing—review and editing P.D.; visualization, Ł.F.; supervision, P.D. All authors have read and agreed to the published version of the manuscript.

Funding

This research received no external funding.

Data Availability Statement

The data presented in this study are available on request from the corresponding author due to legal reasons.

Conflicts of Interest

The authors declare no conflicts of interest.

References

  1. Duda, P.; Felkowski, Ł. Negative Impact of Thermal Loads on Pressure and Non-Pressure Boiler Parts. Energies 2023, 16, 5768. [Google Scholar] [CrossRef]
  2. Karthikeyan, R.; Karthick Srinivas, C.; Logeshwaran, U. Analysis of Boiler Tube Failure. Int. J. Innov. Sci. Res. Technol. 2018, 3, 633–638. [Google Scholar]
  3. Ghosh, M. Failure Investigation of Boiler Tube: A Root Cause Analysis. J. Fail. Anal. Prev. 2023, 23, 1222–1231. [Google Scholar] [CrossRef]
  4. Duda, P.; Felkowski, Ł.; Dobrzański, J. An analysis of an incident during the renovation work of a power boiler superheater. Eng. Fail. Anal. 2015, 57, 248–253. [Google Scholar] [CrossRef]
  5. Duda, P.; Felkowski, Ł.; Zieliński, A.; Duda, A. An Analysis of a Reheater Failure and a Proposal to Upgrade the Device Design. Energies 2019, 12, 2255. [Google Scholar] [CrossRef]
  6. Song, M.J.; Kim, W.C.; Lee, S.Y. The Corrosion Failure Mechanism of a Peak Load Boiler in a District Heating System. Appl. Sci. 2025, 15, 4528. [Google Scholar] [CrossRef]
  7. Ibrahim, A.O.; Ighodaro, O.O.; Fasogbon, S.K.; Orumwense, E.F.; Waheed, M.A. Failure investigation of the tube of a dual fired steam boiler in a western nigerian food and beverage manufacturing plant. Eng. Fail. Anal. 2023, 143 Part B, 106906. [Google Scholar] [CrossRef]
  8. Srikanth, S.; Ravikumar, B.; Das, S.K.; Gopalakrishna, K.; Nandakumar, K.; Vijayan, P. Analysis of failures in boiler tubes due to fireside corrosion in a waste heat recovery boiler. Eng. Fail. Anal. 2003, 10, 59–66. [Google Scholar] [CrossRef]
  9. Zamanzadeh, M.; Larkin, E.S.; Bayer, G.; Linhart, W. Failure Analysis and Investigation Methods for Boiler Tube Failures. In Proceedings of the Corrosion 2007, Nashville, TN, USA, 11–15 March 2007; pp. 1–35. [Google Scholar] [CrossRef]
  10. Wang, Y.; Chen, C.; Yang, X.-Y.; Zhang, Z.-R.; Wang, J.; Li, Z.; Chen, L.; Mu, W.-Z. Solidification modes and delta-ferrite of two types of 316L stainless steels: A combination of as-cast microstructure and HT-CLSM research. J. Iron Steel Res. Int. 2025, 32, 426–436. [Google Scholar] [CrossRef]
  11. Wang, Y.; Chen, C.; Ren, R.; Xue, Z.; Wang, H.; Zhang, Y.; Wang, J.; Wang, J.; Chen, L.; Mu, W. Ferrite formation and decomposition in 316H austenitic stainless steel electro slag remelting ingot for nuclear power applications. Mater. Charact. 2024, 218 Part 2, 114581. [Google Scholar] [CrossRef]
  12. Sertić, J.; Kozak, D.; Konjatić, P.; Kokanović, M. Analytical and numerical investigation of elastic-plastic behaviour of the connecting so that the box temperature is comparable to the temperature of the wall it connects to between header and steam superheater. In Proceedings of the 6th International Congress of Croatian Society of Mechanics, Dubrovnik, Croatia, 30 September–2 October 2009; Hrvatsko Društvo za Mehaniku (HDM): Zagreb, Croatia, 2009; p. 119. Available online: https://www.croris.hr/crosbi/publikacija/prilog-skup/555916# (accessed on 3 January 2020).
  13. Nagiar, H.; Maneski, T.; Milosevic-Mitic, V.; Gacesa, B.; Andjelic, N. Modeling of the buckstay system of membrane-walls in watertube boiler construction. Therm. Sci. 2014, 18, 59–72. [Google Scholar] [CrossRef]
  14. EN 13445-3; Unfired Pressure Vessel–Part 3: Design. 2014. Available online: https://www.en-standard.eu/une-en-13445-3-2014-a3-2017-unfired-pressure-vessels-part-3-design-endorsed-by-asociacion-espa-ola-de-normalizacion-in-september-of-2019/ (accessed on 25 August 2025).
  15. ASME Boiler & Pressure Vessel Code. Section VIII, Div.2. Available online: https://www.asme.org/learning-development/find-course/asme-bpv-code-section-viii-division-2-design-fabrication-pressure-vessel/online (accessed on 25 August 2025).
  16. EN 12952-3:2022; Water-Tube Boilers and Auxiliary Installations—Part 3: Design and Calculation for Pressure Parts. Available online: https://www.en-standard.eu/bs-en-12952-3-2022-water-tube-boilers-and-auxiliary-installations-design-and-calculation-for-pressure-parts-of-the-boiler/ (accessed on 27 June 2023).
  17. Parameters of Bruker Magellan Q8. Available online: https://img1.17img.cn/17img/files/201506/attachment/4bb36a79-e2db-4679-9a4b-612477f98ae7.pdf (accessed on 25 August 2025).
  18. ASME Boiler & Pressure Vessel Code. Section II. Part D. Available online: https://www.asme.org/codes-standards/find-codes-standards/bpvc-iid-bpvc-section-ii-materials-part-d-properties (accessed on 25 August 2025).
  19. Wang, S.; Cao, L.; Zhang, Z. Influence of Carbide Morphology on the Deformation and Fracture Mechanisms of Spheroidized 14CrMoR Steel. Metals 2019, 9, 1221. [Google Scholar] [CrossRef]
  20. Qayyum, F.; Darabi, A.C.; Guk, S.; Guski, V.; Schmauder, S.; Prahl, U. Analyzing the Effects of Cr and Mo on the Pearlite Formation in Hypereutectoid Steel Using Experiments and Phase Field Numerical Simulations. Materials 2024, 17, 3538. [Google Scholar] [CrossRef] [PubMed]
  21. ANSYS. User’s Manual, Revision 19.1; ANSYS: Canonsburg, PA, USA, 2019. [Google Scholar]
  22. Parameters of Wool. Available online: https://www.jbc-tech.com/media/1298/sw_blanket_data_sheet_english_1_jbc.pdf (accessed on 25 August 2025).
  23. Rongier, C.; Gilblas, R.; Le Maoult, Y.; Belkessam, S.; Schmidt, F. Infrared thermography applied to the validation of thermal simulation of high luminance LED used in automotive front lighting. Infrared Phys. Technol. 2022, 120, 103980. [Google Scholar] [CrossRef]
  24. Lian, W.; Sun, Z.; Lyu, Y.; Duan, Z. Cause Analysis of Condensed Water Induced Bulging in High-Pressure Steam Tee Joints of a Pyrolyzer. Processes 2023, 11, 2288. [Google Scholar] [CrossRef]
  25. Egner, W.; Sulich, P.; Mroziński, S.; Egner, H. Modelling thermo-mechanical cyclic behavior of P91 steel. Int. J. Plast. 2020, 135, 101213. [Google Scholar] [CrossRef]
Figure 1. Diagram of a gas boiler system: 1—silencer/fan inlet; 2—fan motor; 3—fan; 4—air inlet duct; 5—supply duct; 6—combustion chamber; 7—burner; 8—screen tubes; 9—superheater; 10—evaporator; 11—economizer; 12—chimney. Boiler (6, 8, 9, 10). Damage located in area (9).
Figure 1. Diagram of a gas boiler system: 1—silencer/fan inlet; 2—fan motor; 3—fan; 4—air inlet duct; 5—supply duct; 6—combustion chamber; 7—burner; 8—screen tubes; 9—superheater; 10—evaporator; 11—economizer; 12—chimney. Boiler (6, 8, 9, 10). Damage located in area (9).
Energies 18 04860 g001
Figure 2. Location of damage.
Figure 2. Location of damage.
Energies 18 04860 g002
Figure 3. Description of the boiler structure in the damaged area: 1—upper drum; 2—lower drum; 3—membrane wall of the combustion chamber; 4—box; 5—wool; 6—superheater tube bundles; 7—superheater chamber connector; 8—damaged tube; 9—fin.
Figure 3. Description of the boiler structure in the damaged area: 1—upper drum; 2—lower drum; 3—membrane wall of the combustion chamber; 4—box; 5—wool; 6—superheater tube bundles; 7—superheater chamber connector; 8—damaged tube; 9—fin.
Energies 18 04860 g003
Figure 4. Temperature distribution on the location of damage obtained from an infrared camera.
Figure 4. Temperature distribution on the location of damage obtained from an infrared camera.
Energies 18 04860 g004
Figure 5. Images of the material structure of a section of the front wall tube of the furnace chamber after long-term operation, made of SA178A steel, observed in a scanning electron microscope: (a) a section of the furnace wall tube from which the samples for testing were taken.; (b) a metallographic mount with a diameter of 30 mm containing the resin-embedded specimen, prepared for microstructural examinations; (c) microstructure image—magnification 250×; (d) microstructure image—magnification 500×; (e) microstructure image—magnification 1000×; (f) microstructure image—magnification 2000×.
Figure 5. Images of the material structure of a section of the front wall tube of the furnace chamber after long-term operation, made of SA178A steel, observed in a scanning electron microscope: (a) a section of the furnace wall tube from which the samples for testing were taken.; (b) a metallographic mount with a diameter of 30 mm containing the resin-embedded specimen, prepared for microstructural examinations; (c) microstructure image—magnification 250×; (d) microstructure image—magnification 500×; (e) microstructure image—magnification 1000×; (f) microstructure image—magnification 2000×.
Energies 18 04860 g005
Figure 6. Model of the boiler: (a) Membrane wall section with working media distribution, (b) FEM model of the membrane wall section.
Figure 6. Model of the boiler: (a) Membrane wall section with working media distribution, (b) FEM model of the membrane wall section.
Energies 18 04860 g006
Figure 7. Thermal conductivity coefficient for carbon steel and mineral wool [22].
Figure 7. Thermal conductivity coefficient for carbon steel and mineral wool [22].
Energies 18 04860 g007
Figure 8. Temperature distribution obtained from the FEM analysis.
Figure 8. Temperature distribution obtained from the FEM analysis.
Energies 18 04860 g008
Figure 9. Temperature distribution validation for the box corner (a) Result from FEM analysis (b) Infrared thermography image.
Figure 9. Temperature distribution validation for the box corner (a) Result from FEM analysis (b) Infrared thermography image.
Energies 18 04860 g009
Figure 10. Yielded area for the damaged region of the membrane wall.
Figure 10. Yielded area for the damaged region of the membrane wall.
Energies 18 04860 g010
Figure 11. Progressive strains for a selected point on the yielded tube of the membrane wall.
Figure 11. Progressive strains for a selected point on the yielded tube of the membrane wall.
Energies 18 04860 g011
Figure 12. Yielded area for the analysed mesh: (a) average element size 40 mm, (b) average element size 10 mm.
Figure 12. Yielded area for the analysed mesh: (a) average element size 40 mm, (b) average element size 10 mm.
Energies 18 04860 g012
Figure 13. Introduced solutions for thermal stress compensation: 1—chamfered box corner, 2—compensating grooves, 3—compensating plates covering the grooves.
Figure 13. Introduced solutions for thermal stress compensation: 1—chamfered box corner, 2—compensating grooves, 3—compensating plates covering the grooves.
Energies 18 04860 g013
Figure 14. FEM analysis results for the membrane wall in the damaged area: (a) structure with implemented compensating elements, (b) original structure (without compensation).
Figure 14. FEM analysis results for the membrane wall in the damaged area: (a) structure with implemented compensating elements, (b) original structure (without compensation).
Energies 18 04860 g014
Table 1. Identified chemical composition of the material of the front wall tubes of the combustion chamber after operation at a temperature of 371 °C.
Table 1. Identified chemical composition of the material of the front wall tubes of the combustion chamber after operation at a temperature of 371 °C.
Steel SA178AChemical Composition, %
CSiMoMnVPSCuCrTiNiNbBSnAl
Pipe0.058
±
0.006
0.018
± 0.005
0.025
± 0.004
0.44
±
0.02
<0.0030.010
±
0.003
0.007
±
0.002
0.084
±
0.008
0.065
±
0.007
0.015
±
0.006
0.068
±
0.007
<0.005<0.0010.008
±
0.003
0.044
±
0.007
Table 2. Adopted yield strength for SA178A steel [18].
Table 2. Adopted yield strength for SA178A steel [18].
Temp. [°C]Yielded Strength [MPa]
20179
100163
320136
370128
500111
67696
Table 3. Numerical verification—influence of mesh size on the yielded area.
Table 3. Numerical verification—influence of mesh size on the yielded area.
Element Size [mm]Plasticity = Yielded Area/Total Area [%]
407.56
357.40
307.38
247.31
207.28
157.73
107.52
Disclaimer/Publisher’s Note: The statements, opinions and data contained in all publications are solely those of the individual author(s) and contributor(s) and not of MDPI and/or the editor(s). MDPI and/or the editor(s) disclaim responsibility for any injury to people or property resulting from any ideas, methods, instructions or products referred to in the content.

Share and Cite

MDPI and ACS Style

Felkowski, Ł.; Duda, P. Analysis of Gas Boiler Failure and Successful Modification of Its Design. Energies 2025, 18, 4860. https://doi.org/10.3390/en18184860

AMA Style

Felkowski Ł, Duda P. Analysis of Gas Boiler Failure and Successful Modification of Its Design. Energies. 2025; 18(18):4860. https://doi.org/10.3390/en18184860

Chicago/Turabian Style

Felkowski, Łukasz, and Piotr Duda. 2025. "Analysis of Gas Boiler Failure and Successful Modification of Its Design" Energies 18, no. 18: 4860. https://doi.org/10.3390/en18184860

APA Style

Felkowski, Ł., & Duda, P. (2025). Analysis of Gas Boiler Failure and Successful Modification of Its Design. Energies, 18(18), 4860. https://doi.org/10.3390/en18184860

Note that from the first issue of 2016, this journal uses article numbers instead of page numbers. See further details here.

Article Metrics

Back to TopTop