Next Article in Journal
Pump-Valve Combined Control of a HVAC Chilled Water System Using an Artificial Neural Network Model
Previous Article in Journal
The Law of Liquid–Solid Carrying in the Wellbore of Natural Gas Hydrate Gas Well under the Condition of Foam Drainage Gas Recovery
 
 
Font Type:
Arial Georgia Verdana
Font Size:
Aa Aa Aa
Line Spacing:
Column Width:
Background:
Article

Application of Spent Coffee Grounds (SCGs) as a Fuel and Alternative Reducer of Slags from the Copper Industry

1
Department of Metallurgy and Recycling, Faculty of Materials Science, Silesian University of Technology, Krasinskiego 8, 40-019 Katowice, Poland
2
Department of Production Engineering, Faculty of Materials Science, Silesian University of Technology, Krasinskiego 8, 40-019 Katowice, Poland
3
Lukasiewicz Research Network—Institute of Non-Ferrous Metals, Sowinskiego 5, 44-100 Gliwice, Poland
*
Author to whom correspondence should be addressed.
Energies 2023, 16(5), 2415; https://doi.org/10.3390/en16052415
Submission received: 18 January 2023 / Revised: 28 February 2023 / Accepted: 1 March 2023 / Published: 2 March 2023

Abstract

This article presents the results of a study on metallurgical slag reduction using biomass such as Spent Coffee Grounds (SCGs). The proposed solution is a new aspect of searching for alternatives to standard reducers used in pyrometallurgical processes of metal production. Its gasification yields significant amounts of hydrocarbons, which are excellent reducing agents in such processes. The research results of copper slag reduction with the use of SCG biomass indicate this process is characterised by lower carbon dioxide emissions compared with the process using solid fuels such as coke and coke breeze. The addition of SCG as the reducer ensures the decrease in copper content in the slag to 0.32 wt.%, which corresponds to the increase of so-called relative decopperisation degree even up to 96.9%. As the decopperisation degree of slag increases, significantly more intense reduction in lead oxides during the reduction process is observed. The smallest lead content in waste slag of 0.91 wt.% was obtained for the slag reduction process with 7.56 wt.% of SCG as the reducer and the process duration of 1.5 h.

1. Introduction

In recent years, we have experienced a markedly growing interest in new solutions concerning technologies of metal production using both secondary and waste metalliferous raw materials. The main reason is depletion of primary raw materials and increasing costs of mining operations associated with their extraction. Slags are major waste materials resulting from metal production technologies based on pyrometallurgical processes. Their metal contents significantly vary. In the case of slags from the copper industry, copper contents range from 0.5 wt.% Cu up to 16 wt.% Cu. Such considerable amounts of copper in slags compared with ores have made them a very important raw material for copper recovery. In high-temperature copper slag processing operations, the basic technological additive is coke. It functions both as the fuel and the substrate in the Boudouard reaction which yields a gaseous reducer, i.e., carbon monoxide (CO). Due to a meaningful drop in coke production observed in the EU countries over the recent years, it is necessary to search for alternative raw materials as substitutes for coke. This activity includes attempts to utilise biomass in technological operations. Application of biomass in processes aimed at energy production requires the use of resources of plant or tree origin or wastes from food production [1,2]. The latter category includes, e.g., the nut blanching waste, sunflower husks, fruit seeds/stones, nut shells, or spent coffee grounds (SCGs). The literature contains data on the use of alternative materials in metallurgical slag reduction processes [3,4,5,6,7,8]. However, the literature does not refer to the application of solid biomass from food production. Moreover, there are no papers associated with the SCG use in processes of metal production. This kind of biomass was studied for its application in biofuel production, extraction of organic acids, and activated carbon production [9,10,11,12,13,14,15,16,17,18,19,20,21,22,23,24,25,26]. In addition, it can be used as a source of sugars or a sorbent for pollutant removal from sewage [27,28,29,30,31,32,33,34,35,36,37,38,39,40,41,42,43,44,45]. To date, the methods of SCG utilisation have not ensured the full management of this waste, which confirms the need for further studies to develop new technological solutions for the SCG use in other industries.
This paper presents results of the research on copper slag reduction using the SCG additive as a reducer.
The chemical composition of coffee is very complex. Both before and after the roasting process, coffee contains (among others) folic acid and many vitamins from the E and B groups. Minerals only constitute approx. 4% of the bean composition. Coffee primarily contains magnesium, phosphorus, calcium, and potassium. In addition, there are smaller amounts of iron, sodium, nickel, zinc, copper, and cobalt. Before the roasting process, raw coffee contains large amounts of proteins, carbohydrates, and sugars. The content of the last component is approx. 40 wt.% on average. During preparation of coffee drinks, sugar compounds remain as a solid matter, i.e., waste. Following thermal processing, coffee beans may also contain many organic acids. The available literature data on the SCG chemical composition are presented in Table 1.
Regarding technologies of non-ferrous metal production, copper pyrometallurgical practice is a particularly important issue. It should be noted that natural raw materials, such as ores, contain approx. 1.5 wt.% Cu while processing operations involve enriched concentrates with 25% to 30% of copper. One of waste products is slag which may contain 0.7 wt.% up to 16 wt.% Cu depending on its generation stage. As mentioned before, the contents of copper in slags resulting from various processes greatly vary. For instance, copper contents in slags from one-stage processes range from 11 wt.% Cu to 16 wt.% Cu and from 5.5 wt.% Cu to 8 wt.% Cu in processes of copper matte converting. It should be emphasised here that the amount of slag in a particular process mainly depends on the copper content in the concentrate being processed. In the case of rich concentrate smelting, significantly less slag is generated compared with so-called poor concentrates due to considerable amounts of iron and waste rock. Processes of copper slag reduction are not only aimed at recovery of metals but also at production of secondary waste slag which can be safely recycled or stored in accordance with applicable laws and regulations.
While analysing the process of copper recovery from slags, we should remember that copper in the slag being an ionic liquid appears in the form of Cu+ cations [48] (which bond to silicate anions) or in the form of Cu2O particles. Reduction in copper contained in the slag using carbon reducers (coke, coke breeze, anthracite, etc.) may proceed according to the following reactions:
Cu2O + C => 2Cu + CO
2Cu2O + C => 4Cu + CO2
Cu2O + CO => 2Cu + CO2
When the analysed reduction process is accompanied by formation of hydrocarbons, they may participate in the reduction in copper oxides. The Gibbs free energy (enthalpy) values for the Cu2O reduction reactions with such reducers as carbon, methane, and ethane within 1200 °C to 1473 °C are presented in Table 2. The values were estimated using the thermodynamic data from the HSC database [49]. Based on the results presented in Table 2, it may be concluded that these are probable courses of all discussed reduction reactions from the thermodynamic perspective.
Assuming that each of the considered reactions takes place in a given direction when the following condition is achieved:
ΔG < 0
Therefore, analysing the data contained in Table 2, it can be concluded that from the thermodynamic point of view all the discussed reduction reactions are possible.
It should be noted, however, that a metal alloy which forms during copper slag reduction very commonly appears in the form of spheroid particles suspended in the slag. When alloy droplets are very small (a few micrometres), they can float on the surface of liquid slag [50]. With the copper content of 0.3 to 0.7 wt.% Cu in the secondary slag, it is usually assumed that about a half amount of this metal is present in the form of oxides while the other appears as suspended metal droplets. The level of copper loss in the secondary slag depends on its temperature and physicochemical properties, mainly its viscosity and surface tension. From the technological viewpoint, slag decopperisation should be carried out in conditions which ensure the most rapid separation of the liquid metal phase from the slag phase. The process is far more rapid when the liquid slag is stirred [51,52]. This is possible with the CaCO3 additive which decomposes and releases CO2, ensuring the movement of liquid slag. Considering the above, SCG proposed as a reducer for the process of slag decopperisation is a beneficial solution influencing its efficiency because this material, when exposed to temperature, releases hydrocarbons [53] which intensify the slag stirring process and participate in processes of reduction in metal oxides contained in the slag. The proposed solution is a new aspect of searching for alternatives to standard reducers used in pyrometallurgical processes of metal production.
The main purpose of undertaking research in this area was an unconventional approach to the process of metal recovery from waste oxide materials generated in the pyrometallurgical process. This approach consisted of replacing natural carbon raw materials such as coke or anthracite with plant-derived materials. It is particularly interesting in the field of non-ferrous metallurgy, as the literature practically lacks a comprehensive description in terms of the applicability and effectiveness in reduction processes.
Increasing emphasis on greenhouse gas emissions as well as the use of various types of waste in other areas of the economy has resulted in an increased search for raw materials that are conducive to environmentally friendly use. This type of raw materials from human social and living sources can be a natural resource used for production in the metallurgical industry. However, the use in high-temperature processes entails high requirements of both physical form and chemical composition. This entails the need for continuous analysis and determination of the possibilities of use depending on the source of origin of this type of waste and even taking into account the season in which they become available. All these factors make it necessary to enrich databases characterizing biomaterials so that in the event of exhaustion or limitation of one, others can be used. The effect of the conducted research is the possibility of extending the experiments to a semi-technical scale, which enables the selection of the most advantageous variants of the use of this type of materials on an industrial scale.

2. Materials and Methods

To verify the SCG physicochemical properties that condition its application in the process of metal oxide reduction, a series of experiments were conducted to characterise this material. The assumed cycle of experiments included:
  • SCG degasification tests using the thermogravimetric method;
  • SCG pyrolysis;
  • Slag reduction tests.
As part of the preliminary tests, the SCG chemical composition and its heat of combustion were determined.

2.1. Equipment and Research Methodology

The thermogravimetric analysis was carried out using an STA 449 F3 Jupiter analyser, Netzch. The F3 Jupiter analyser is a device which enables series of measurements with the use of thermal analysis methods. It contains a graphite furnace which works in a protective atmosphere (argon and helium) and facilitates measurements at up to 2000 °C. The device and is presented in Figure 1.
Before the experiment, an SCG sample of a particular weight (approx. 200 mg) was placed inside a small DTA/TG Al2O3 crucible which was then attached to the measuring head in the working chamber of the analyser. The measurements were performed in the argon atmosphere with hydrogen addition. The assumed programme of sample heating consisted of three essential stages: the first stage involved sample heating up to 1200 °C (20 °C/min); next, the sample was isothermally held for 30 min, and then it was cooled down to 800 °C. The amount of volatile matter in the tested material corresponded to the loss of sample mass recorded during its heating as part of the experiment.
Measurements of the heat of combustion were carried out using a KL-12 Mn calorimeter, Precyzja-BIT. The values of heat of combustion were measured in the following way: an SCG sample was entirely burnt in the oxygen atmosphere under pressure in a calorimetric bomb immersed in water and the water temperature increment was determined. The heat of fuel combustion was automatically calculated. The accuracy of temperature increment measurement was 0.001 °C. The calorimetric measurements of the heat of combustion for the SCG pellet sample were carried out for three 1.5 g samples.
Low-temperature pyrolysis tests were performed to determine chemical compositions of fractions resulting from SCG thermal decomposition. The tests were carried out in a research stand outlined in Figure 2.
The low-temperature pyrolysis experiments were carried out on 500 g SCG material. The test sample was placed in the furnace pyrolysis chamber (1) and, following tight sealing of the measuring system, the carrier gas (argon) was delivered at 6.1 L/min. After several minutes, the furnace pyrolysis chamber was heated to the measurement temperature of 600 °C. This process was initiated when the O2 content in the gas leaving the reactor (13) was less than 0.1%. The pyrolysis process started when smoke in the filtering flask (9) was observed, and CO appeared in the measuring system (12). This moment was assumed to be the beginning of thermal decomposition of the sample. The resulting process gas was cooled down using the water cooler (8). The pyrolysis oil drops migrated from the cooled gas into the filtering flask (9) below the cooler. Following its cooling, the process gas was delivered to the water scrubbers (14) and the absorption tubes (15) with the activated carbon and XAD-2 deposit. The aim of the research was to determine the amounts of hydrocarbons that formed during the pyrolysis process. In addition, CO, CO2, and O2 levels in the process gases were measured by the analyser (12) until CO and CO2 were absent from the measuring system. The measurement ended when the argon flow to the reactor was cut off and the reactor heating system was shut down.
The processes of slag reduction smelting were carried out in a PT 40/1300 pit-type resistance furnace, Czylok. The maximum working temperature of the furnace is 1350 °C. The application of this furnace in laboratory experiments facilitated crucible feeding during the experiment. An overview of the PT 40/1300 the schematic diagram of the research stand for reduction experiments is presented in Figure 3.
The reduction process was carried out in alundum crucibles at 1300 °C. This temperature was found optimal based on the findings of preliminary tests. The slag weight was 100 g. The variable parameters were the SCG reducer weight and duration of the reduction process. The amount of smelted metal and the weight of secondary slag were determined after each experiment. Both the metal and the slag were analysed for copper, lead, and iron contents. The chemical composition of the alloy was analysed using the wavelength dispersive X-ray fluorescence (WDXRF) spectroscopy with direct exposure of the sample to X-rays. The elemental composition was analysed with the use of the programme for semi-quantitative (SQX) analysis. Before the analysis, the sample was thoroughly ground in a planetary mill with a zirconium dioxide (ZrO2) grinding chamber. The final grain size was <0.2 mm, which constituted an analytical sample. Next, 2.0000 g (+/− 0.0001 g) of the sample was weighed and transferred to the weighing container where it was blended with 2.0000 g (+/− 0.0001 g) of the binding agent, i.e., anhydrous crystalline cellulose (ACS grade). The mixture was pressed in an HTP 40 hydraulic press, Herzog. The yielded pellet was analysed for its elemental composition by means of the Primus II X-ray fluorescence spectrometer. For the measurements, laboratory analytical programmes for quantitative and semi-quantitative (SQX) analyses included in the analytical software of the spectrometer were applied.
Determination of carbon content in SCG was obtained by burning an SCG sample in an Eltra carbon analyser model CS2000. The contents of other elements, such as oxygen, hydrogen, and nitrogen, were obtained as a result of semi-quantitative analysis using X-ray fluorescence spectrometry (XRF) on the ZSX Primus—WDXRF (Rigaku) spectrometer.

2.2. Research Materials

Copper slag and spent coffee grounds (SCGs) following the drying process were used for the research. The slag chemical composition is presented in Table 3. The amounts of basic SCG components are listed in Table 4.

3. Results and Discussion

3.1. Thermogravimetric Analysis

TG and DTG curves of the degasification process for the tested SCG sample are presented in Figure 4 and Figure 5, respectively.
While analysing the curve shown in Figure 5, three distinct temperature ranges with significant differences in mass loss values are observed. Their characteristics are presented in Table 5. Based on the known chemical composition of the test material and the temperature ranges for the particular mass losses, the potential courses of characteristic reactions during sample heating were determined. The first mass loss recorded for the sample was associated with vaporisation of water. The next mass loss was related to the loss of so-called volatile matter. The last sample mass loss, occurring at the highest temperatures, was associated with thermal decomposition of the SCG chemical compounds. The average rate of the sample mass loss during the heating phase was 0.046 mg s−1.

3.2. Calorimetric Analysis

The values of the heat of combustion for the SCG samples (mean values from three measurements), determined based on the experiments, are listed in Table 6. For comparison, the values of the heat of combustion for other biomass types from the food production processes are also included in the table [54,55,56]. For SCG, the Qmean was 21.09 kJkg−1. It should be noted that the value of the heat of combustion for spent coffee grounds was higher than those for most biomass types.

3.3. Analysis of SCG Pyrolysis

The basic parameters of spent coffee ground sample pyrolysis are presented in Table 7. The duration of the process was 90 min. It started when the sample temperature reached approx. 105 °C. The SCG pyrolysis results are presented in Table 8.
The data in Table 8 show that the total loss of tested SCG sample mass during pyrolysis was 74.6%, which may be associated with removal of the volatile matter from the sample. The process yielded products including approx. 25% of biochar, almost 38% of pyrolysis oil, and approx. 37% of the volatile fraction. A graphic presentation of percentages of the particular fractions formed during the SCG sample pyrolysis is shown in Figure 6. Concentration changes for the gaseous phase components (O2, CO2, and CO) which accompany the process of pyrolysis and the temperature changes recorded during the pyrolysis process are presented in Figure 7 and Figure 8, respectively.
The analysis of the chemical composition of biochar produced during SCG pyrolysis showed significant amounts of carbon and oxygen: 78 wt.% and 13 wt.%, respectively. In addition, the biochar contained potassium, chlorine, calcium, magnesium, and phosphorus: 1 wt.% to 3 wt.% The carbon content in the biochar was much higher than that in the starting material (an increase from 47 wt.% to 78 wt.%). This confirms that SCG can be used in processes of reduction in copper oxides in slag.

3.4. Slag Reduction Process

Based on the experiments of liquid copper slag smelting with the SCG additive as an alternative reducer to coke, data on the effects of reducer mass percentage and the process duration on its efficiency were obtained. Results of copper slag reduction smelting with the SCG additive as a reducer are listed in Table 9. In addition to the data referring to the amounts and types of feeding materials used in the particular experiments, the table presents the test findings, i.e., the weights of smelted copper alloy and waste slag as well as their chemical compositions (contents of copper, lead, and iron) for the particular measurement series.
While analysing the results for changes in the slag chemical compositions, a high degree of oxide reduction was observed for copper. The waste slag contained less than 1.2 wt.% Cu after one hour of the reduction process and even less than 0.4 wt.% Cu after 4 h. In the case of lead, the smallest amount of this metal in the post-process slag was 0.91 wt.%.
The effects of reduction duration on the contents of lead and iron in the waste slag are illustrated in Figure 9. The changes in the Cu–Pb–Fe alloy chemical composition during the process are presented in Figure 10.
When the amount of the reducer (SCG) increased, larger amounts of the resulting Cu–Pb–Fe alloy and lower contents of copper in the waste slag were observed. These findings are graphically presented in Figure 11.
Examples of changes in the slag decopperisation degree depending on the reduction duration are presented in Figure 12. The values of this parameter were estimated based on the following equation:
SCu = (C0Cu − CtCu)/C0Cu ·100%
where: C0Cu and CtCu are the initial content of copper in the slag and the content of copper in the slag after time t, respectively.
Based on the results, very high values of this parameter are seen for all experiments.
The relationship between contents of lead and copper in the waste slag for selected reduction tests is presented in Figure 13. It shows that reduction in lead oxides is more intense when the copper amount in the slag decreases. The experiments of copper slag reduction with the SCG reducer demonstrated a small degree of iron transformation to the metal alloy.

4. Conclusions

Based on the research on the application of SCG for reduction in slag from the copper industry, the following conclusions were formulated:
  • The results of SCG pyrolysis show the potential for production of biochar containing 78 wt.% of elemental carbon, which means that SCG may be a good reducer in the process of copper slag reduction;
  • The assumed research parameters of copper slag reduction process and the addition of SCG as the reducer from 5.67 wt.% to 12 wt.% ensure the decrease in copper content from 10.3 wt.% to 0.32 wt.%, which corresponds to the increase in so-called relative decopperisation degree from 88.4% to 96.9%;
  • The slag reduction process with 7.56 wt.% of SCG as the reducer and the process duration of 1.5 h resulted in the smallest lead content of 0.91 wt.%;
  • When the amount of SCG reducer increased from 5.67 wt.% to 12 wt.%, a higher percentage of the resulting Cu–Pb–Fe alloy and decreased amounts of copper in the waste slag from 1.41 wt.% to 0.32 wt.% were observed;
  • When the content of copper in slag decreases, significantly more intense reduction in lead oxides during the reduction process is observed;
  • The assumed research parameters and the amount of SCG added as the reducer do not demonstrate any major effects on the degree of iron transformation to the metal alloy;
  • The process of copper slag reduction with the use of SCG biomass is characterised by lower carbon dioxide emissions compared with the process using solid fuels such as coke and coke breeze.

Author Contributions

Conceptualization, L.B.; methodology, T.M. and J.L.; software, K.N.; validation, K.N., P.M., L.J. and T.W.; formal analysis, L.B.; investigation, P.M., L.J. and T.W.; resources, L.K. and L.M.; data curation, L.K. and L.M.; writing—original draft preparation, L.B. and J.L.; writing—review and editing, T.M., L.K. and L.M.; visualization, T.M. All authors have read and agreed to the published version of the manuscript.

Funding

This research was funded by the Silesian University of Technology, grant number BK-217/RM0/2023 (11/990/BK_23/0084) and 11/020/BK_23/0104 (BK-219/RM2/2023).

Data Availability Statement

Data sharing is not applicable to this article.

Conflicts of Interest

The authors declare no conflict of interest.

References

  1. Marcisz, M. Niemiecka precyzja. Energetyka Ciepl. I Zawodowa 2010, 10, 31–35. [Google Scholar]
  2. McKendry, P. Energy Production from Biomass (Part 1): Overview of Biomass. Bioresour. Technol. 2002, 83, 37–46. [Google Scholar] [CrossRef] [PubMed]
  3. Li, B.; Wei, Y.; Wang, H.; Yang, Y. Reduction of Magnetite from Copper Smelting Slag Using Petro-Diesel and Biodiesel. ISIJ Int. 2018, 58, 1168–1174. [Google Scholar] [CrossRef]
  4. Zhou, S.; Wei, Y.; Zhang, S.; Li, B.; Wang, H.; Yang, Y.; Barati, M. Reduction of Copper Smelting Slag Using Waste Cooking Oil. J. Clean. Prod. 2019, 236, 117668. [Google Scholar] [CrossRef]
  5. Zuo, Z.; Yu, Q.; Xie, H.; Qin, Q.; Wei, M. Direct Reduction of Copper Slag Composite Pellets Within Lignite Using Biomass as Binder. In Energy Technology 2018; Sun, Z., Wang, C., Guillen, D.P., Neelameggham, N.R., Zhang, L., Howarter, J.A., Wang, T., Olivetti, E., Zhang, M., Verhulst, D., et al., Eds.; The Minerals, Metals & Materials Series; Springer International Publishing: Cham, Switzerland, 2018; pp. 65–75. ISBN 978-3-319-72361-7. [Google Scholar]
  6. Zuo, Z.; Yu, Q.; Luo, S.; Zhang, J.; Zhou, E. Effects of CaO on Two-Step Reduction Characteristics of Copper Slag Using Biochar as Reducer: Thermodynamic and Kinetics. Energy Fuels 2020, 34, 491–500. [Google Scholar] [CrossRef]
  7. Qu, G.; Wei, Y.; Li, B.; Wang, H.; Yang, Y.; McLean, A. Recovery of Copper from Copper Smelting Slag Using a Green Reductant. In 11th International Symposium on High-Temperature Metallurgical Processing; Peng, Z., Hwang, J.-Y., Downey, J.P., Gregurek, D., Zhao, B., Yücel, O., Keskinkilic, E., Jiang, T., White, J.F., Mahmoud, M.M., Eds.; The Minerals, Metals & Materials Series; Springer International Publishing: Cham, Switzerland, 2020; pp. 417–429. ISBN 978-3-030-36539-4. [Google Scholar]
  8. Łabaj, J.; Blacha, L.; Jodkowski, M.; Smalcerz, A.; Fröhlichová, M.; Findorak, R. The Use of Waste, Fine-Grained Carbonaceous Material in the Process of Copper Slag Reduction. J. Clean. Prod. 2021, 288, 125640. [Google Scholar] [CrossRef]
  9. Caetano, N.; Silva, V.; Teresa, M. Mata Valorization of Coffee Grounds for Biodiesel Production. Chem. Eng. Trans. 2012, 26, 267–272. [Google Scholar] [CrossRef]
  10. Kwon, E.E.; Yi, H.; Jeon, Y.J. Sequential Co-Production of Biodiesel and Bioethanol with Spent Coffee Grounds. Bioresour. Technol. 2013, 136, 475–480. [Google Scholar] [CrossRef]
  11. Codignole Luz, F.; Cordiner, S.; Manni, A.; Mulone, V.; Rocco, V. Biomass Fast Pyrolysis in Screw Reactors: Prediction of Spent Coffee Grounds Bio-Oil Production through a Monodimensional Model. Energy Convers. Manag. 2018, 168, 98–106. [Google Scholar] [CrossRef]
  12. Afolabi, O.O.D.; Sohail, M.; Cheng, Y.-L. Optimisation and Characterisation of Hydrochar Production from Spent Coffee Grounds by Hydrothermal Carbonisation. Renew. Energy 2020, 147, 1380–1391. [Google Scholar] [CrossRef]
  13. Rocha, M.V.P.; de Matos, L.J.B.L.; de Lima, L.P.; da Silva Figueiredo, P.M.; Lucena, I.L.; Fernandes, F.A.N.; Gonçalves, L.R.B. Ultrasound-Assisted Production of Biodiesel and Ethanol from Spent Coffee Grounds. Bioresour. Technol. 2014, 167, 343–348. [Google Scholar] [CrossRef] [PubMed]
  14. Vassilev, S.V.; Vassileva, C.G.; Song, Y.-C.; Li, W.-Y.; Feng, J. Ash Contents and Ash-Forming Elements of Biomass and Their Significance for Solid Biofuel Combustion. Fuel 2017, 208, 377–409. [Google Scholar] [CrossRef]
  15. Burniol-Figols, A.; Cenian, K.; Skiadas, I.V.; Gavala, H.N. Integration of Chlorogenic Acid Recovery and Bioethanol Production from Spent Coffee Grounds. Biochem. Eng. J. 2016, 116, 54–64. [Google Scholar] [CrossRef]
  16. Choi, I.S.; Wi, S.G.; Kim, S.-B.; Bae, H.-J. Conversion of Coffee Residue Waste into Bioethanol with Using Popping Pretreatment. Bioresour. Technol. 2012, 125, 132–137. [Google Scholar] [CrossRef]
  17. Atabani, A.E.; Al-Muhtaseb, A.H.; Kumar, G.; Saratale, G.D.; Aslam, M.; Khan, H.A.; Said, Z.; Mahmoud, E. Valorization of Spent Coffee Grounds into Biofuels and Value-Added Products: Pathway towards Integrated Bio-Refinery. Fuel 2019, 254, 115640. [Google Scholar] [CrossRef]
  18. Karmee, S.K. A Spent Coffee Grounds Based Biorefinery for the Production of Biofuels, Biopolymers, Antioxidants and Biocomposites. Waste Manag. 2018, 72, 240–254. [Google Scholar] [CrossRef]
  19. Vardon, D.R.; Moser, B.R.; Zheng, W.; Witkin, K.; Evangelista, R.L.; Strathmann, T.J.; Rajagopalan, K.; Sharma, B.K. Complete Utilization of Spent Coffee Grounds to Produce Biodiesel, Bio-Oil, and Biochar. ACS Sustain. Chem. Eng. 2013, 1, 1286–1294. [Google Scholar] [CrossRef]
  20. Battista, F.; Fino, D.; Mancini, G. Optimization of Biogas Production from Coffee Production Waste. Bioresour. Technol. 2016, 200, 884–890. [Google Scholar] [CrossRef]
  21. Primaz, C.T.; Schena, T.; Lazzari, E.; Caramão, E.B.; Jacques, R.A. Influence of the Temperature in the Yield and Composition of the Bio-Oil from the Pyrolysis of Spent Coffee Grounds: Characterization by Comprehensive Two Dimensional Gas Chromatography. Fuel 2018, 232, 572–580. [Google Scholar] [CrossRef]
  22. Limousy, L.; Jeguirim, M.; Labaki, M. Energy Applications of Coffee Processing By-Products. In Handbook of Coffee Processing By-Products; Elsevier: Amsterdam, The Netherlands, 2017; pp. 323–367. ISBN 978-0-12-811290-8. [Google Scholar]
  23. Girotto, F.; Pivato, A.; Cossu, R.; Nkeng, G.E.; Lavagnolo, M.C. The Broad Spectrum of Possibilities for Spent Coffee Grounds Valorisation. J. Mater. Cycles Waste Manag. 2018, 20, 695–701. [Google Scholar] [CrossRef]
  24. Kante, K.; Nieto-Delgado, C.; Rangel-Mendez, J.R.; Bandosz, T.J. Spent Coffee-Based Activated Carbon: Specific Surface Features and Their Importance for H2S Separation Process. J. Hazard. Mater. 2012, 201–202, 141–147. [Google Scholar] [CrossRef] [PubMed]
  25. Reffas, A.; Bernardet, V.; David, B.; Reinert, L.; Lehocine, M.B.; Dubois, M.; Batisse, N.; Duclaux, L. Carbons Prepared from Coffee Grounds by H3PO4 Activation: Characterization and Adsorption of Methylene Blue and Nylosan Red N-2RBL. J. Hazard. Mater. 2010, 175, 779–788. [Google Scholar] [CrossRef] [PubMed]
  26. Polyxeni, P.; Frantseska-Maria, P.; Evangelos, G. Characterization of Biochar Produced from Spent Coffee Waste; Chania: Crete, Greece, 2012; pp. 1–8. [Google Scholar]
  27. Mussatto, S.I.; Carneiro, L.M.; Silva, J.P.A.; Roberto, I.C.; Teixeira, J.A. A Study on Chemical Constituents and Sugars Extraction from Spent Coffee Grounds. Carbohydr. Polym. 2011, 83, 368–374. [Google Scholar] [CrossRef]
  28. Mussatto, S.I.; Machado, E.M.S.; Martins, S.; Teixeira, J.A. Production, Composition, and Application of Coffee and Its Industrial Residues. Food Bioprocess Technol. 2011, 4, 661–672. [Google Scholar] [CrossRef]
  29. Scully, D.; Jaiswal, A.; Abu-Ghannam, N. An Investigation into Spent Coffee Waste as a Renewable Source of Bioactive Compounds and Industrially Important Sugars. Bioengineering 2016, 3, 33. [Google Scholar] [CrossRef] [PubMed]
  30. Nguyen, Q.A.; Cho, E.J.; Lee, D.-S.; Bae, H.-J. Development of an Advanced Integrative Process to Create Valuable Biosugars Including Manno-Oligosaccharides and Mannose from Spent Coffee Grounds. Bioresour. Technol. 2019, 272, 209–216. [Google Scholar] [CrossRef]
  31. Juarez, G.F.Y.; Pabiloña, K.B.C.; Manlangit, K.B.L.; Go, A.W. Direct Dilute Acid Hydrolysis of Spent Coffee Grounds: A New Approach in Sugar and Lipid Recovery. Waste Biomass Valor. 2018, 9, 235–246. [Google Scholar] [CrossRef]
  32. Go, A.W.; Conag, A.T.; Cuizon, D.E.S. Recovery of Sugars and Lipids from Spent Coffee Grounds: A New Approach. Waste Biomass Valor. 2016, 7, 1047–1053. [Google Scholar] [CrossRef]
  33. Mayanga-Torres, P.C.; Lachos-Perez, D.; Rezende, C.A.; Prado, J.M.; Ma, Z.; Tompsett, G.T.; Timko, M.T.; Forster-Carneiro, T. Valorization of Coffee Industry Residues by Subcritical Water Hydrolysis: Recovery of Sugars and Phenolic Compounds. J. Supercrit. Fluids 2017, 120, 75–85. [Google Scholar] [CrossRef]
  34. Fiol, N.; Escudero, C.; Villaescusa, I. Re-use of Exhausted Ground Coffee Waste for Cr(VI) Sorption. Sep. Sci. Technol. 2008, 43, 582–596. [Google Scholar] [CrossRef]
  35. Oliveira, W.E.; Franca, A.S.; Oliveira, L.S.; Rocha, S.D. Untreated Coffee Husks as Biosorbents for the Removal of Heavy Metals from Aqueous Solutions. J. Hazard. Mater. 2008, 152, 1073–1081. [Google Scholar] [CrossRef] [PubMed]
  36. Kondamudi, N.; Mohapatra, S.K.; Misra, M. Spent Coffee Grounds as a Versatile Source of Green Energy. J. Agric. Food Chem. 2008, 56, 11757–11760. [Google Scholar] [CrossRef] [PubMed]
  37. Al-Hamamre, Z.; Foerster, S.; Hartmann, F.; Kröger, M.; Kaltschmitt, M. Oil Extracted from Spent Coffee Grounds as a Renewable Source for Fatty Acid Methyl Ester Manufacturing. Fuel 2012, 96, 70–76. [Google Scholar] [CrossRef]
  38. Zuorro, A.; Lavecchia, R. Spent Coffee Grounds as a Valuable Source of Phenolic Compounds and Bioenergy. J. Clean. Prod. 2012, 34, 49–56. [Google Scholar] [CrossRef]
  39. Mata, T.M.; Martins, A.A.; Caetano, N.S. Bio-Refinery Approach for Spent Coffee Grounds Valorization. Bioresour. Technol. 2018, 247, 1077–1084. [Google Scholar] [CrossRef]
  40. Cruz, R.; Cardoso, M.M.; Fernandes, L.; Oliveira, M.; Mendes, E.; Baptista, P.; Morais, S.; Casal, S. Espresso Coffee Residues: A Valuable Source of Unextracted Compounds. J. Agric. Food Chem. 2012, 60, 7777–7784. [Google Scholar] [CrossRef]
  41. Nakanishi, A.; Tamai, M.; Kawasaki, N.; Nakamura, T.; Araki, M.; Tanada, S. Characterization of Water Adsorption onto Carbonaceous Materials Produced from Food Wastes. J. Colloid Interface Sci. 2002, 255, 59–63. [Google Scholar] [CrossRef]
  42. Kovalcik, A.; Obruca, S.; Marova, I. Valorization of Spent Coffee Grounds: A Review. Food Bioprod. Process. 2018, 110, 104–119. [Google Scholar] [CrossRef]
  43. Campos-Vega, R.; Loarca-Piña, G.; Vergara-Castañeda, H.A.; Oomah, B.D. Spent Coffee Grounds: A Review on Current Research and Future Prospects. Trends Food Sci. Technol. 2015, 45, 24–36. [Google Scholar] [CrossRef]
  44. Ballesteros, L.F.; Teixeira, J.A.; Mussatto, S.I. Extraction of Polysaccharides by Autohydrolysis of Spent Coffee Grounds and Evaluation of Their Antioxidant Activity. Carbohydr. Polym. 2017, 157, 258–266. [Google Scholar] [CrossRef]
  45. McNutt, J.; He, Q. (Sophia) Spent Coffee Grounds: A Review on Current Utilization. J. Ind. Eng. Chem. 2019, 71, 78–88. [Google Scholar] [CrossRef]
  46. Battista, F.; Barampouti, E.M.; Mai, S.; Bolzonella, D.; Malamis, D.; Moustakas, K.; Loizidou, M. Added-Value Molecules Recovery and Biofuels Production from Spent Coffee Grounds. Renew. Sustain. Energy Rev. 2020, 131, 110007. [Google Scholar] [CrossRef]
  47. Pujol, D.; Liu, C.; Gominho, J.; Olivella, M.À.; Fiol, N.; Villaescusa, I.; Pereira, H. The Chemical Composition of Exhausted Coffee Waste. Ind. Crops Prod. 2013, 50, 423–429. [Google Scholar] [CrossRef]
  48. Madej, P. Wpływ Temperatury, Dodatku Fe2O3 Oraz Powierzchni Reduktora Na Kinetykę Procesuodmiedziowania Żużla Zawiesinowego. Ph.D. Thesis, AGH University of Science and Technology, Kraków, Poland, 2015. [Google Scholar]
  49. HSC Chemistry ver. 6.1. Outocumpu Research Oy. Pori. Available online: http://www.hsc-chemistry.net/ (accessed on 14 December 2022).
  50. Kucharski, M. Solubility of Copper in Outokumpu Slag. Met. Technol. 1979, 6, 354–356. [Google Scholar] [CrossRef]
  51. Blacha, L.; Łabaj, J.; Jodkowski, M. Research on the Reduction of Copper Slag Using an Alternative Coal Range. Metalurgija 2020, 59, 329–332. [Google Scholar]
  52. Siwiec, G.; Sozańska, M.; Blacha, L.; Smalcerz, A. Behaviour of Iron during Reduction of Slag Obtained from Copper Flash Smelting. Metalurgija 2015, 54, 113–115. [Google Scholar]
  53. Bok, J.P.; Choi, H.S.; Choi, Y.S.; Park, H.C.; Kim, S.J. Fast Pyrolysis of Coffee Grounds: Characteristics of Product Yields and Biocrude Oil Quality. Energy 2012, 47, 17–24. [Google Scholar] [CrossRef]
  54. Ebeling, J.; Jenkins, B.M. Physical and Chemical Properties of Biomass Fuels. Trans. ASAE 1985, 28, 898–902. [Google Scholar] [CrossRef]
  55. Duan, F.; Zhang, J.-P.; Chyang, C.-S.; Wang, Y.-J.; Tso, J. Combustion of Crushed and Pelletized Peanut Shells in a Pilot-Scale Fluidized-Bed Combustor with Flue Gas Recirculation. Fuel Process. Technol. 2014, 128, 28–35. [Google Scholar] [CrossRef]
  56. Lasek, J.; Głód, K.; Kazalski, K.; Janusz, M.; Wilk, B. Ocena Modeli Do Określania Włąściwości Kalorycznych Paliw Stałych Pod Kątem Ich Zastosowania w Bilansowaniu Obiektów Energetyki Zawodowej. Rynek Energii 2013, 1, 95–103. [Google Scholar]
Figure 1. A diagram of the STA 449 F3 Jupiter thermal analyser.
Figure 1. A diagram of the STA 449 F3 Jupiter thermal analyser.
Energies 16 02415 g001
Figure 2. A diagram of the biomass pyrolysis system used in the research: 1: the pyrolysis chamber; 2: the material feeding zone near the furnace pyrolysis chamber; 3: the temperature recorder; 4: the furnace chamber thermocouple; 5: the sample thermocouple; 6: the process gases thermocouple; 7: the measurements of gas pressures in the pyrolysis chamber; 8: the water cooler; 9: the filtering flask with pyrolysis oil drain; 10: the gas separator; 11: the filter; 12: the measurements of gas compositions; 13: the measurements of O2 content in the gases; 14: the water scrubbers; 15: the absorption tubes with XAD-2 and activated carbon; 16: the pump; 17: the gas meter.
Figure 2. A diagram of the biomass pyrolysis system used in the research: 1: the pyrolysis chamber; 2: the material feeding zone near the furnace pyrolysis chamber; 3: the temperature recorder; 4: the furnace chamber thermocouple; 5: the sample thermocouple; 6: the process gases thermocouple; 7: the measurements of gas pressures in the pyrolysis chamber; 8: the water cooler; 9: the filtering flask with pyrolysis oil drain; 10: the gas separator; 11: the filter; 12: the measurements of gas compositions; 13: the measurements of O2 content in the gases; 14: the water scrubbers; 15: the absorption tubes with XAD-2 and activated carbon; 16: the pump; 17: the gas meter.
Energies 16 02415 g002
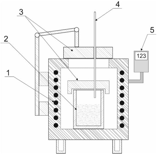
Figure 3. A schematic diagram of the research stand for slag reduction experiments: 1: electric resistance furnace; 2: crucible with the tested sample; 3: ceramic cover; 4: thermocouple; 5: device controlling the furnace operation.
Figure 3. A schematic diagram of the research stand for slag reduction experiments: 1: electric resistance furnace; 2: crucible with the tested sample; 3: ceramic cover; 4: thermocouple; 5: device controlling the furnace operation.
Energies 16 02415 g003
Figure 4. The TG curve for the process of spent coffee ground sample degasification.
Figure 4. The TG curve for the process of spent coffee ground sample degasification.
Energies 16 02415 g004
Figure 5. The DTG curve for the process of spent coffee ground sample degasification.
Figure 5. The DTG curve for the process of spent coffee ground sample degasification.
Energies 16 02415 g005
Figure 6. Percentages of the particular fractions resulting from pyrolysis.
Figure 6. Percentages of the particular fractions resulting from pyrolysis.
Energies 16 02415 g006
Figure 7. Composition of the gaseous phase during SCG pyrolysis.
Figure 7. Composition of the gaseous phase during SCG pyrolysis.
Energies 16 02415 g007
Figure 8. The temperature distribution during spent coffee ground pyrolysis.
Figure 8. The temperature distribution during spent coffee ground pyrolysis.
Energies 16 02415 g008
Figure 9. Changes in copper, lead, and iron amounts in the waste slag.
Figure 9. Changes in copper, lead, and iron amounts in the waste slag.
Energies 16 02415 g009
Figure 10. Changes in copper, lead, and iron amounts in the Cu–Pb–Fe alloy.
Figure 10. Changes in copper, lead, and iron amounts in the Cu–Pb–Fe alloy.
Energies 16 02415 g010
Figure 11. Effects of the added reducer on the amounts of smelted Cu–Pb–Fe alloy and on the final copper content in the waste slag.
Figure 11. Effects of the added reducer on the amounts of smelted Cu–Pb–Fe alloy and on the final copper content in the waste slag.
Energies 16 02415 g011
Figure 12. Changes in the slag decopperisation degree depending on the reduction duration.
Figure 12. Changes in the slag decopperisation degree depending on the reduction duration.
Energies 16 02415 g012
Figure 13. The relationship between lead and iron contents in the waste slag.
Figure 13. The relationship between lead and iron contents in the waste slag.
Energies 16 02415 g013
Table 1. Elemental and biochemical analysis of SCG [46,47].
Table 1. Elemental and biochemical analysis of SCG [46,47].
Elemental analysisElement, wt.%
CarbonOxygenHydrogenNitrogen
45–59.832–476–7.571.18–4
Biochemical analysisChemical substance, wt.%
CelluloseHemicelluloseLigninProtein
8.6–15.331.7–41.722.20–33.6013.00–17.54
Table 2. The Gibbs free energy changes for selected Cu2O reduction reactions.
Table 2. The Gibbs free energy changes for selected Cu2O reduction reactions.
ReactionTemperature, °C
12001250130013501400
ΔG, kJ/mol
Cu2O + CO = 2Cu + CO2−96.72−94.74−92.73−90.70−88.65
Cu2O + C = 2Cu + CO−183.38−189.94−196.46−202.94−209.38
2Cu2O + C = 4Cu + CO2−280.09−284.68−289.19−293.65−298.04
4Cu2O + CH4 = 8Cu + CO2 + 2H2O−567.13−576.04−584.80−593.43−601.92
7Cu2O + C2H6 = 14Cu + 2CO2 + 3H2O−1096.07−1114.36−1132.41−1150.23−1167.82
Table 3. The amounts of basic copper slag components used in the research.
Table 3. The amounts of basic copper slag components used in the research.
Slag ComponentCuPbFeSiO2CaO
Component amount, wt.%10.32.2511.134.514.1
Table 4. The amounts of basic SCG components used in the research.
Table 4. The amounts of basic SCG components used in the research.
SCG ComponentCarbonOxygenHydrogenNitrogen
Component amount, wt.%47.250.06.173.11
Table 5. Recorded mass losses of the particular samples.
Table 5. Recorded mass losses of the particular samples.
Sample Mass LossLoss I [%]Loss II [%]Loss III [%]
5.6348.4527.70
Temperature range for the particular loss: °C20–200200–370370–1200
Mass loss rate: mg s−10.00940.10470.0064
Table 6. Tabularised results of combustion heat measurements for spent coffee grounds (SCGs) and selected biomass types [53,54,55].
Table 6. Tabularised results of combustion heat measurements for spent coffee grounds (SCGs) and selected biomass types [53,54,55].
No.SampleCHONMean Heat of Combustion Qmean, kJ/kg
[%w/w]
1Almond shells44.985.9742.271.1619.38
2Walnut shells49.985.7143.350.2120.18
3Peanut shells46.306.5941.660.5017.35
4Peanut shells, pellet40.845.4438.390.8616.74
5Peach stones53.005.9039.140.3220.82
6Sunflower husks, pellet52.086.0637.940.7520.49
7SCG47.26.1750.03.1121.09
Table 7. SCG pyrolysis parameters.
Table 7. SCG pyrolysis parameters.
Pyrolysis duration[min]90
Argon flow[L/min]6.1
Beginning of the process
Furnace temperature[°C]174.8
Sample temperature104.7
Gas temperature24.4
End of the process
Furnace temperature[°C]603.3
Sample temperature594.5
Gas temperature129.6
Table 8. Weights of the SCG pyrolysis products.
Table 8. Weights of the SCG pyrolysis products.
Sample Weight for the ProcessBiocharSample Mass Loss during the ProcessSolid
Fraction Percentage
OilLiquid Fraction PercentageVolatile FractionVolatile
Fraction
Percentage
[g][%][g][%][g][%]
500.0127.074.625.4189.037.8184.036.8
Table 9. Results of slag reduction using the SCG additive.
Table 9. Results of slag reduction using the SCG additive.
No.Feeding Components, gReduction Time,
h
Alloy Weight, gWaste Slag Weight, gChemical
Composition of the Waste Slag,
wt.%
Chemical
Composition of the Cu–Pb–Fe Alloy,
wt.%
SlagSCGCuPbFeCuPbFe
11005.6718.9589.131.192.2211.8592.922.290.07
27.56113.6185.810.501.0412.3991.027.770.06
35.671.512.1789.820.911.8711.9394.614.460.01
47.561.513.0285.940.450.9111.7290.707.060.07
55.67211.5387.990.791.7111.6191.187.340.03
67.56212.1286.910.411.2712.0693.515.350.05
7.5.67310.0488.681.412.4611.1096.841.900.07
87.56311.4086.590.631.3711.4592.384.950.15
95.67410.5789.621.031.9411.2295.663.310.03
107.56411.2686.230.671.5611.9493.585.370.11
1110312.1192.050.491.1511.6077.6619.820.31
1212313.1590.040.320.9812.5589.488.060.20
Disclaimer/Publisher’s Note: The statements, opinions and data contained in all publications are solely those of the individual author(s) and contributor(s) and not of MDPI and/or the editor(s). MDPI and/or the editor(s) disclaim responsibility for any injury to people or property resulting from any ideas, methods, instructions or products referred to in the content.

Share and Cite

MDPI and ACS Style

Matula, T.; Labaj, J.; Nowacki, K.; Blacha, L.; Kortyka, L.; Mycka, L.; Madej, P.; Jaworek, L.; Wojtal, T. Application of Spent Coffee Grounds (SCGs) as a Fuel and Alternative Reducer of Slags from the Copper Industry. Energies 2023, 16, 2415. https://doi.org/10.3390/en16052415

AMA Style

Matula T, Labaj J, Nowacki K, Blacha L, Kortyka L, Mycka L, Madej P, Jaworek L, Wojtal T. Application of Spent Coffee Grounds (SCGs) as a Fuel and Alternative Reducer of Slags from the Copper Industry. Energies. 2023; 16(5):2415. https://doi.org/10.3390/en16052415

Chicago/Turabian Style

Matula, Tomasz, Jerzy Labaj, Krzysztof Nowacki, Leszek Blacha, Lukasz Kortyka, Lukasz Mycka, Piotr Madej, Lukasz Jaworek, and Tomasz Wojtal. 2023. "Application of Spent Coffee Grounds (SCGs) as a Fuel and Alternative Reducer of Slags from the Copper Industry" Energies 16, no. 5: 2415. https://doi.org/10.3390/en16052415

APA Style

Matula, T., Labaj, J., Nowacki, K., Blacha, L., Kortyka, L., Mycka, L., Madej, P., Jaworek, L., & Wojtal, T. (2023). Application of Spent Coffee Grounds (SCGs) as a Fuel and Alternative Reducer of Slags from the Copper Industry. Energies, 16(5), 2415. https://doi.org/10.3390/en16052415

Note that from the first issue of 2016, this journal uses article numbers instead of page numbers. See further details here.

Article Metrics

Back to TopTop