Next Article in Journal
Application of Capacitive Deionization in Water Treatment and Energy Recovery: A Review
Previous Article in Journal
Study on the Separation Effect and Mechanism of 6–0.5 mm Coal in Fluidized Bed with Vibratory Combined Force Field
Previous Article in Special Issue
Doweled cross Laminated Timber (DCLT) Building Air Tightness and Energy Efficiency Measurements: Case Study in Poland
 
 
Font Type:
Arial Georgia Verdana
Font Size:
Aa Aa Aa
Line Spacing:
Column Width:
Background:
Article

Active-Arm Bridge with Two-Channel DC Voltage Source for Comparison of High-Resistance Standards in 1:1 Ratio

1
Faculty of Electrical Engineering, Wroclaw University of Science and Technology, 50-370 Wrocław, Poland
2
Faculty of Electrical Engineering, Silesian University of Technology, 44-100 Gliwice, Poland
*
Author to whom correspondence should be addressed.
Energies 2023, 16(3), 1135; https://doi.org/10.3390/en16031135
Submission received: 27 December 2022 / Revised: 13 January 2023 / Accepted: 16 January 2023 / Published: 19 January 2023
(This article belongs to the Special Issue Selected Papers from the 54th Inter-University Metrology Conference)

Abstract

In this paper, a guarded active-arm bridge for high-resistance standards with programmable two-channel source of DC voltage is described. Both channels of this source are controlled from a common reference voltage. This ensures a high stability of the voltage ratio of both source channels. The presented results of tests of this source show that its use in the active bridge is more advantageous than the use of the two independent DC voltage sources. The bridge allows high accuracy in the comparison of the high-resistance standards in 1:1 ratio. The current state of knowledge about active-arm bridges is presented, the basics of the bridge operation are given, the two-channel DC voltage source used in the bridge and its test results are described, the measurement process that does not require transposition of the compared resistance standards is described, sample measurement results, and a plan for further work are given. The bridge is used in the resistance standard calibration system at the Central Office of Measures (GUM), Poland, in the range from 100 MΩ to 100 TΩ.

1. Introduction

The most accurate high-resistance measurements are carried out with bridge methods [1]. These bridge methods are based on a modified Wheatstone bridge with a precision binary divider [2] or on an active-arm bridge using two calibrated DC voltage sources in its two active arms [3,4,5,6,7,8,9]. Commercial Wheatstone bridges, with precision binary divider, allow for a precise comparison of resistance in the range from 10 kΩ to 1 GΩ with expanded uncertainty (k = 2) of 0.02–5 μΩ/Ω. Comparison of high-resistance standards in the range from 1 GΩ to 100 TΩ is usually made with active-arm bridges, which have an expanded uncertainty (k = 2) of 1–500 μΩ/Ω. Such active AC bridges are also used for impedance measurements [10].
Henderson developed the first automated active-arm bridge with two programmable DC voltage sources to calibrate resistance standards from 1 GΩ to 100 TΩ at the National Physical Laboratory (NPL, Teddington, UK) [3]. In addition, Jarrett at the National Institute of Standards and Technology (NIST, Gaithersburg, MD, USA) developed an automated guarded bridge to calibrate standard resistors, initially in the range of 10 MΩ–1 TΩ [4], and later extended to 10 TΩ [5]. This bridge used two commercial programmable DC voltage calibrators and a very sensitive commercial programmable electrometer as a detector. To reduce measurement time, Jarrett did not fully balance the bridge, but used an iterative procedure to obtain a measurement result based on the basis of the measurements of the detector current and the calibrator voltages in two stages [4]. First, the calibrators voltages were set to values corresponding to the bridge balance at the nominal resistance values of the compared standards, and the unbalanced current was measured. Next, on the basis of the determined relationship between the detector current and the change in the calibrator voltage, this voltage was set again for the expected value of null for the detector current and the detector current was remeasured. The results of measurements of these two values of the detector current and the voltage settings of the calibrators enable the correct determination of the resistance ratio of the compared resistors.
Research work on a similar active-arm bridge was also conducted at the Physikalisch-Technische Bundesanstalt (PTB, Braunschweig, Germany) in the range from 1 GΩ to 100 TΩ by Schumacher and Melcher [6]. They optimized the guarding and grounding of the bridge by adding a resistive guard network. This reduced measurement time and noise tenfold. The connecting leads between the two voltage sources and the compared resistors were replaced with triaxial cables. The bridge was balanced for the nominal values of the compared resistors, and the current measured by the detector was used to calculate the final measurement result.
Another active-arm bridge was developed by Galliana, Capra, and Gasparotto from the National Institute of Metrological Research (INRIM, Turin, Italy). It was used to compare 100 GΩ and 1 TΩ resistance standards [7].
At the Dutch National Metrology Institute (VSL, Delft, The Netherlands), Rietveld and Beek tested the accuracy of the bridge with the active arms depending on the null detector used, i.e., with the current detector and the voltage detector [8]. They stated that in the range from 10 MΩ to 100 GΩ there is no significant difference between the measurement results, therefore in this range, the type of the detector is irrelevant, whereas above 100 GΩ the current detector should be used.
Lenicek, Ilic and Ferkovic of the University of Zagreb, (UNIZG, Zagreb, Croatia), stated that parasitic voltages and currents in the input circuitry of the detector can have a significant impact on the measurement results of high resistances obtained with an active-arm bridge [9]. This bias current or offset voltage of the detector can be determined by shortening the terminals of the compared standard resistors and taking an indication of the detector into account in the calculation of the resistance measurement result. This is why they proposed a four-stage procedure to balance the bridge.
Usually, in automatic active-arm bridges for high-accuracy measurement of high-resistances, two programmable DC voltage calibrators and a very sensitive programmable electrometer as a detector are used. The 6600A Measurement International commercial bridge is also built in this way [11,12].
The active-arm bridge can also be assembled from two separate DC voltage sources or one dual channel source of stable DC voltage. The voltage generated by such a source should be adjustable with a sufficiently high resolution, but it does not necessarily need to be very accurate, as the voltage ratio can be determined using a DC digital voltmeter with sufficiently high resolution. If the nominal resistances of the compared standards are the same, then the inaccuracy of the voltage sources can be eliminated from the uncertainty of the measurement result using the substitution or transposition method. The accuracy of the comparison of the reference standards will then depend mainly on the sensitivity of the detector, as well as on the resolution and stability of the ratio of voltages generated of both sources. The stability of the voltage ratio can be increased by using a two-channel voltage source with a common DC voltage reference. The disadvantage of the substitution and transposition method is the need to replace or transpose resistance standards. This can be avoided by using a procedure for correcting the difference in the voltages of both source channels, proposed in this paper.
This precision active-arm bridge with two-channel voltage source was developed by the authors [13] and is described in this paper. The bridge is used in the Central Office of Measures in Poland (GUM—Polish name: Główny Urząd Miar) for the resistance standard calibration system with the use of high-resistance transfer standards in the range of 10 GΩ to 100 TΩ [14,15].
This paper is an extension of the authors’ paper presented at the 53rd Interuniversity Conference on Metrology and published in Polish in the materials of this conference [16].

2. Active-Arm Bridge Principle

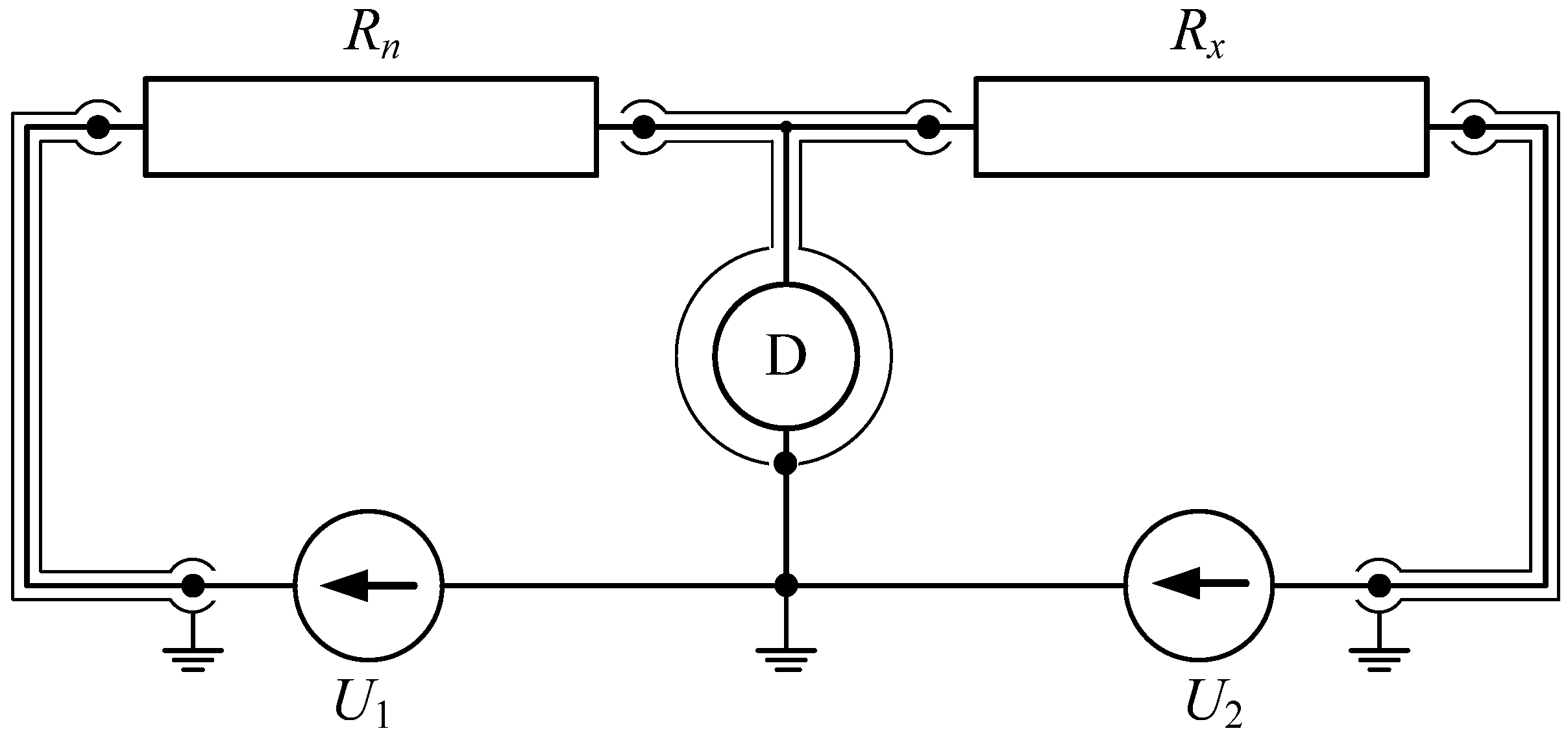
The basic active-arm bridge set-up is shown in Figure 1.
A specific valuable feature of the active-arm bridge system is that the detector D and both voltage sources U1 and U2 are grounded at one point. The insulation resistance of the coaxial leads, connecting voltage sources U1 and U2 with resistors Rx and Rn, shunts these sources, which have a very low internal resistance, and therefore the leakage currents of this insulation do not have a significant effect on the measurement accuracy of the high resistance. This ensures a high accuracy of high-resistance measurement with the use of such a bridge.
When the bridge is balanced, the resistance ratio Rx/Rn equals the voltage ratio U2/U1, and the value of the measured resistance is given by:
R x = R n U 2 U 1 .
Measurement resistance accuracy depends primarily on the accuracy of the reference standard, accuracy the voltage sources, and the sensitivity of the null detector.
The achievement of high metrological parameters of the bridge requires appropriate shielding of its elements and connections [17]. Comparing the values of high-resistance standards is very time-consuming. High resistance in combination with the parasitic capacitances of coaxial connections (i.e., 10 TΩ and 30 pF) reaches time constants in the order of several tens of seconds. Long time constants are caused not only by dielectric effects but also by the absorption of charge in the polytetrafluoroethylene (PTFE) insulation in coaxial connections used. To obtain a stable measurement value, a waiting time should be at least ten time constants. Therefore, a single measurement takes several hours, and multiple measurements of the high-resistance standard take many days. The effect of parasitic capacitance can be reduced by using a resistive guard network [3,4,5]. Then, the time constant of this set-up of the bridge is about one order of magnitude smaller, resulting in a decrease in the measurement time by a factor of 10. In this solution, the coaxial cables were replaced with triaxial leads. The center conductor delivers current for compared standards, the internal screen carries the voltage to the resistive guard network, and the external screen is connected to the ground potential. This guard network is also adopted in guarded high-resistance transfer standards developed by the authors for GUM [14,15]. This guard network is composed of 10 precision high value resistors, just like the main network, but of 100 times lower values.
The active-arm bridge described here is primarily intended for comparison of guarded high-resistance transfer standards among each other and with commercial high-resistance standards in 1:1 ratio. The simplified scheme of the guarded active-arm bridge for the comparison of value of two guarded high-resistance transfer standards is shown in Figure 2. When comparing a high-resistance transfer standard with a commercial high-resistance standard, an additional standard is used in the guard arm of this resistor, with resistance value equal to the resistance value of the guard network of high-resistance transfer standard. However, when comparing two commercial high-resistance standards Rx and Rn, one should use additional standards R x and R n forming the guard network in both arms of the bridge. The resistances of these additional resistors should be of the following condition:
R x R n = R x R n 1 .
The resistances R x and R n should have values 100 times smaller than Rx and Rn resistors.
Figure 2. Simplified scheme of the guarded active-arm bridge for the comparison of two guarded resistance transfer standards: U1 and U2—voltages of the two-channel DC voltage source, Rx and Rn—resistances of guarded transfer standards, R x  and  R n —resistances of guard network of these transfer standards, I0—unbalanced current.
Figure 2. Simplified scheme of the guarded active-arm bridge for the comparison of two guarded resistance transfer standards: U1 and U2—voltages of the two-channel DC voltage source, Rx and Rn—resistances of guarded transfer standards, R x  and  R n —resistances of guard network of these transfer standards, I0—unbalanced current.
Energies 16 01135 g002
The potential of the internal shield of the triaxial cable that connects the R x and R n resistors is close to the potential of the central conductor connecting the Rx and Rn resistors with the detector D. The leakage currents are so small here that their impact on the measurement accuracy can be neglected. These internal and external screens are grounded. Such a system of an active-arm bridge is also described by Schumacher and Melcher from PTB [6].
When the active-arm bridge is balanced, the result of the resistance comparison is calculated from Equation (1). Since the balancing procedure is time-consuming, most often the bridge is pre-balanced for the nominal values of the compared resistance standards, and the comparison result is calculated from the dependence:
R x = R n U 2 + I 0 R n + R 0 U 1 + I 0 R 0
where I0 is the unbalanced current indicated by detector D (Figure 1) and R0 is the resistance of this detector.
When comparing standard resistors in 1:1 ratio, both resistors Rx and Rn have the same nominal value. If the DC voltages of the sources differ by a small value ΔU = U1U2, then the bridge will be close to balance. As R0 << Rn in Formula (3) R0 may be omitted and the Equation (2) is converted to the form:
R x = R n 1 Δ U U 1 + I 0 R n U 1
where ΔU/U1 is the relative voltage difference of both source channels and I0Rn/U1 is the relative value of the detector current related to the current I1 flowing through the resistor Rn.
It should be noted that voltages U1 and U2 have opposite polarity (see Figure 2). The resistance Rx is measured for both polarizations, i.e.,
Δ U + = U 1 + U 2   and   Δ U = U 1 U 2 + .  
The source voltages U1 and U2 are measured with a high resolution 8½ digital voltmeter. As they have very close values, systematic errors of measurement of these voltages are the same and the uncertainty of the difference in these voltages is determined only by the voltmeter resolution (type B uncertainty) and scatter of the results (type A uncertainty).
The unbalanced current I0 is measured with an electrometer. The uncertainty of this measurement is determined by the accuracy of the electrometer (type B uncertainty) and the dispersion of the recorded results (type A uncertainty).
In the calculation of the measurement result from Equation (4), the voltage difference ΔU = U1U2 and the unbalanced current I0, which is measured with an electrometer, should be included. The uncertainty contribution of the I0 current measurement is getting higher along with the growth of the differences between the compared real resistances and their nominal values.
This uncertainty contribution of the unbalanced current I0 can be reduced if the measurement process is carried out in two stages. In the first stage, the nominal voltages U1 and U2 of the source are set to correspond to the bridge balanced at the nominal value of the compared resistors and the current value I 0 * is read. The initial value of the measured resistance R x * is calculated from the relationship (4), which takes the form:
R x * = R n 1 Δ U + U 1 + I 0 * R n U 1 .  
For this value R x * , the required voltage difference Δ*U is calculated at the point where the bridge would be balanced (I0 = 0) i.e., from dependence:
Δ * U = U 1 R n R x * R n .  
This Δ * U = Δ U + Δ a U , where Δ a U is the voltage increase added to the nominal value of the source voltage U1.
In the second stage, the voltage U1 is set so that the difference U1U2 = Δ*U and the current I0 is read again. The bridge should be very near balance, and the value of this current should be much lower than in the first stage. The measured resistance value Rx is calculated again from the corrected relationship (4). When calculating the value of resistance Rx, the value Δ*U should be taken as ΔU, and the correct value of the reference standard should be taken as Rn.
The standard uncertainty of the Rx measurement is calculated from:
u R X = u 2 R n + u 2 R x R n .  
where u(Rn) is the standard uncertainty of the resistance standards and u(Rx/Rn) is the standard uncertainty of the resistance ratio measured with the active-arm bridge.
The standard uncertainty of the resistance ratio is calculated from:
u R X R n = 1 U 1 2 u 2 Δ U + R n U 1 2 u 2 I 0 .  
Equation (9) contains two components, the first related to the measurement uncertainty of the difference in voltage between the two source channels, uU), and the second related to the uncertainty of the unbalanced current, u(I0).
The contribution of type B uncertainty for the unbalanced current I0 to the total uncertainty of resistance measured Rx should be very small. Otherwise, the iterative procedure should be repeated.

3. Two-Channel DC Voltage Source and Its Testing

In order to obtain a high accuracy of the active-arm bridge, a programmable two-channel DC voltage source (DCVS) controlled by a common DC voltage reference was designed and developed (Figure 3).
The source generates two DC voltages from 0 to ±1100 V of high stability in three ranges: 10 V, 100 V and 1000 V. Both generated voltages can be adjusted with a resolution better than 10−8 V/V. The simplified schematic diagram of the source is shown in Figure 4.
Each channel contains a hybrid digital to analog converter (DAC) used to generate DC voltage from −11 V to 11 V in the 10 V range. The hybrid DAC is composed of two DACs, the “coarse” 20-bit DAC and the auxiliary “fine” 16-bit DAC. The resulting resolution of the hybrid DAC exceeds 32 bit, what allows the output voltage of the hybrid DAC to be set with a resolution of at least 10−9 V/V. The output of the hybrid DAC is buffered with a precise voltage follower (not shown in Figure 4), equipped with digitally adjustable output current and voltage limiters. The hybrid DAC and associated circuits are mounted in ovens, which stabilize the temperature of these circuits at approximately 55 °C. Each channel has its own oven assembly. The voltages on 100 V and 1000 V ranges are generated by a precise multi-feedback DC voltage amplifier. High voltage is generated by a low-noise DC/DC voltage converter. The open-loop gain of the amplifier is very high and the overall voltage gain is determined by resistance ratios of two pairs of precision resistors: 1 MΩ to 100 kΩ on 100 V range and 10 MΩ to 100 kΩ on 1000 V range. These resistors are custom-made wire-wound high-precision resistors mounted in hermetically oil-filled tubular brass enclosures. The temperature coefficients of these resistors were trimmed by the manufacturer to keep the temperature coefficients of their resistance ratios less than 1 μΩ/Ω per K. The set of resistors is mounted in the same oven as the hybrid DAC. The internal 10 V DC reference voltage is based on a hermetically sealed precision Zener diode. To increase the stability of the reference voltage, the reference module is mounted in a separate thermostat. The DCVS is controlled by the main 32-bit ARM controller. The external interface is a low-noise asynchronous GPIB/USB/RS-232 interface. There are at least two isolation barriers between the analogue circuits and the external digital interface.
Such a design of the source enables maintaining the ratio of the output voltages of the two channels at a very high stability, and measuring these voltages with the aid of a precision digital multimeter (DMM) ensures high accuracy of the active bridge.
As the accuracy of the active-arm bridge depends to a large extent on the properties of the DCVS, detailed tests of this source were carried out. For both source channels, the short-term (1 h) and long-term (36 days) stability of the output voltages and its difference were tested. The voltage measurements were carried out at 23 °C ± 1 °C and humidity 50% ± 10% with the 7½ DMM. The measurement results via the interface were recorded in the PC memory.
As the comparison of the resistance standards is made in 1:1 ratio by the method for which the correction of the voltage difference ΔU = U1U2 is determined, the time stability of this correction is very important. To determine it, the same nominal voltages were set on both channels. The final results of these tests are presented in Table 1.
For 10 V setting during 1 h the output voltage U2 of the second channel changed only within the limits of the voltmeter resolution ±10−6 V, i.e., its relative changes did not exceed ±0.1 μV/V. However, for the first channel at the same time the voltage change U1 decreased by 0.1 μV/V, and the relative difference in voltage between the channels δU decreased by 0.1 μV/V. The long-term evaluation shows that within 36 days the voltage of both channels increased, for the first channel by 0.9 μV/V, and for the second channel by 1.1 μV/V, but the voltage difference δU during that time decreased by −0.2 μV/V.
For 100 V setting in 1 h the output voltage U1 of the first channel changed at δU = −1.0 μV/V. However, for channel 2 at the same time the voltage change was lower and equaled −0.8 μV/V, and the relative difference in voltage between the channels increased by 0.2 μV/V. Long-term tests show that within 36 days the voltage of both channels decreased for the first channel by −1.1 μV/V and for the second channel by −0.8 μV/V. The voltage difference over this time increased by 0.3 μV/V.
Similarly, for the 1000 V settings in 1 h, the output voltage of the first channel changed by −0.6 μV/V, and for channel 2 at the same time the voltage change was greater and equaled −0.7 μV/V. The relative difference in voltage between channels increased by 0.1 μV/V. Long-term tests show that within 36 days the voltage of both channels decreased, for the first channel by −1.0 μV/V and for the second channel by −0.6 μV/V. The voltage difference over this time increased by 0.2 μV/V.
From the test results it can be seen that the two-channel voltage source had very high voltage stability for both channels. During 36 days, these voltages did not change by more than 1.1 µV/V. However, the difference in these voltages was even more time stable and in this time it did not change by more than 0.2 µV/V.
In the results presented (Table 1), the voltage for each channel of the DCVS was measured directly with DMM, with a resolution ±0.1 µV/V, and the voltage difference was calculated. In the next tests, the polarization of one of the voltage source channels was changed and the difference of voltages was measured directly with DMM for 10 days. In these measurements, the voltmeter measured low voltage values in the 100 mV range with a resolution of 100 nV. It was found that at this time, the stability of the voltage difference was at the level of ±0.2 μV/V, similar to the results presented in Table 1. This high time stability of the voltage difference has great influence on the accuracy of the comparison of standard resistors with the active-arm bridge.

4. Measurement Process

The active-arm bridge with two-channel voltage source and guarded high-resistance transfer standard set-up is shown in Figure 5. The two-channel DC voltage source and the detector are controlled with a personal computer using dedicated software.
The comparison process of high-resistance standards is done in four stages. In the first stage, for the voltages that are used for resistance measurements, both channels of the voltage source are pre-calibrated in relation to each other. The calibration data are saved in software configuration files and then used during measurements. Calibration is performed with the 8½ DMM. The software allows the number of measurements to be set, settling time and the value of the measuring voltage. The pre-calibration is only performed for positive or negative polarity of source voltages. The calibration process consists of the following steps:
1.
Setting DCVS output voltages at which the comparison will be performed.
2.
Setting positive voltage for channel 1 U 1 + . Performing voltage measurements and determining the average value U ¯ 1 + . Then this action is repeated for the negative polarity U 1 .
3.
Based on the above measurements, the voltage difference between channels 1 and 2 for both polarities is determined as
Δ U + = U ¯ 1 + U ¯ 2 .
In the second stage, the standard resistance is premeasured. The program performs the following steps:
1.
Setting the nominal voltage with the selected value, positive for channel 1 U 1 +   and negative for channel 2   U 2 , wherein U 1 + = U 2 .
2.
Waiting until the value of unbalance current I 0 * is settled.
3.
Measuring the unbalance current I 0 * .
4.
Calculating the initial resistance value from Equation (6):
5.
Calculating the required voltage difference, for the bridge to be balanced, from dependence (7):
6.
Calculating correction from relationship:
Δ a U = Δ * U Δ U + .
and changing the source U1 voltage setting by this value.
In the third stage, the voltage difference Δ * U is determined. The calibration process consists of the following steps:
1.
Setting positive voltage for channel 1 U 1 + . Performing voltage measurements and determining the average value U ¯ 1 + . Then this action is repeated for the negative polarity U 1 .
2.
Setting positive voltage for channel 2 U 2 + . Performing voltage measurements and determining the average value U ¯ 2 + . Then this action is repeated for the negative polarity U 2 .
3.
Based on the above measurements, the voltage difference between channels 1 and 2 for both polarities is determined as
Δ * U + = U ¯ 1 + U ¯ 2   and   Δ * U = U ¯ 1 U ¯ 2 + .
4.
The uncertainty of this voltage difference is calculated.
Since the voltages of both source channels are very close, systematic errors in the measurement of both voltages are the same for the same voltmeter and the difference of these voltages does not include the component of the systematic error. Thus, the uncertainty of the voltage difference ΔU measurement will mainly depend on the resolution of the voltmeter and noise. It contains predominantly the type A component, which can be determined from the scatter of the measurement results. These data are saved in the program configuration files and then used during comparison of the standard resistors.
In the fourth stage, the resistance Rx is measured. The program performs the following steps:
1.
Setting positive voltage for channel 1 and negative voltage for channel 2.
2.
Waiting until the value of unbalanced current I 0 + is settled and determining its average value from the recorded results.
3.
Calculating the resistance value from the Equation:
R x + = R n 1 Δ * U + U 1 + + I 0 + R n U 1 + .
4.
Setting negative voltage for channel 1 and positive for channel 2.
5.
Waiting until the value of unbalanced current I 0 is settled and determining its average value from the recorded results.
6.
Calculating the resistance value from the Equation:
R x = R n 1 Δ * U U 1 + I 0 R n U 1 .
7.
Calculating the resistance value from the results obtained for both polarities:
R x = 1 2 R x + + R x .
8.
Calculating the uncertainty of the measured resistance Rx.
The contribution of type B uncertainty of the unbalanced current I0 to the total uncertainty of resistance measurement Rx should be small. If not, this procedure should be repeated, but in the calculation of the voltage difference Δ * U the value from the final Rx result should be taken for the initial value of resistance R x * .

5. Sample Measurement Results

The exemplary results of the Rx/Rn resistance ratio measurements, together with their standard uncertainties, are shown in Table 2.
The results presented in Table 2 show that the uncertainty component related to the measurement uncertainty of the voltage difference uU) is at the level of 1 × 10−6 and it is the uncertainty u(I0), related to the measurement of the current in the detector arm, which contributes the most to the total uncertainty.

6. Conclusions

The accuracy of the described guarded active-arm bridge with a two-channel voltage source is comparable to the accuracy of similar bridges with two independent sources described by other authors cited in the Introduction. The two-channel voltage source, with a common reference voltage, ensures a higher stability of the voltage ratio of both channels. In the case of comparing the values of resistance standards in the 1:1 ratio, a high-resolution digital voltmeter can be used to determine the difference between the voltages of both channels and include it in the measurement model.
The uncertainty of the ratio of the comparison of resistance standards depends mainly on the uncertainty of determining the voltage difference between the two source channels and the uncertainty of current measurement in the detector arm. The uncertainty component related with the measurement of this current is much larger than the uncertainty component of uncertainty related to the measurement of the voltage difference. The developed active-arm bridge meets the requirements and is used in the Central Office of Measures in Poland in the system of scaling resistance standards in the range from 100 GΩ to 100 TΩ.
The authors are still working to improve the bridge and extending its measurement capabilities with comparison of high-resistance standards in the ratios 1:10 and 1:100.

Author Contributions

Conceptualization, K.K. and M.L.; methodology, K.K. and M.L.; validation, M.L.; investigation, K.K.; resources, M.K. and K.K.; writing—original draft preparation, M.L., K.K, and M.K.; writing—review and editing, M.L. and K.K.; visualization, K.K. All authors have read and agreed to the published version of the manuscript.

Funding

This work was financed from the Polish budget under the program of the Minister of Science and Higher Education called Polish Metrology, project No. PM/SP/0014/2021/1, financed amount PLN 854100, the total value of the project PLN 854100. Poland.

Data Availability Statement

The data presented in this study are available on request from the corresponding author.

Conflicts of Interest

The authors declare no conflict of interest.

References

  1. Jarrett, D.G.; Jones, G.; Kraft, M.; Castro, I. Procedures for the traceability of high resistance standards using a teraohmmeter. Measure 2009, 4, 32–40. [Google Scholar] [CrossRef]
  2. Tsao, H.S. A 25-Bit Reference Resistive Voltage Divider. IEEE Trans. Instrum. Meas. 1987, IM-36, 285–290. [Google Scholar] [CrossRef]
  3. Henderson, L.C. A new technique for the automated measurement of high valued resistors. J. Phys. E Sci. Instrum. 1987, 20, 492–495. [Google Scholar] [CrossRef]
  4. Jarrett, D.G. Automated guarded bridge for calibration of multimegohm standard resistors from 10 MΩ to 1 TΩ. IEEE Trans. Instrum. Meas. 1997, 46, 325–328. [Google Scholar] [CrossRef]
  5. Jarrett, D.G. Analysis of dual-balance high-resistance bridge at 10 TΩ. IEEE Trans. Instrum. Meas. 2001, 50, 249–254. [Google Scholar] [CrossRef]
  6. Schumacher, B.; Melcher, J. Automated high-value resistance calibration up to 1PΩ. In Proceedings of the 2010 Conference on Precision Electromagnetic Measurements (CPEM 2010), Daejeon, Republic of Korea, 13–18 June 2010; pp. 635–636. [Google Scholar]
  7. Galliana, F.; Capra, P.; Gasparotto, E. Evaluation of two alternative methods to calibrate ultrahigh value resistors at INRIM. IEEE Trans. Instrum. Meas. 2011, 60, 965–970. [Google Scholar] [CrossRef]
  8. Rietveld, G.; Beek, J. Automated high- ohmic resistance bridge with voltage and current null detection. IEEE Trans. Instrum. Meas. 2013, 62, 1760–1765. [Google Scholar] [CrossRef]
  9. Lenicek, I.; Ilić, D.; Ferkowić, L. High value resistance comparison using modified Wheatstone bridge based on current detection. Measurement 2013, 46, 4388–4393. [Google Scholar] [CrossRef]
  10. Callegaro, L.; D’Elia, V.; Kim, D.B.; Ortolano, M.; Pourdanesh, F. Experiences with a two-terminal-pair digital impedance bridge. IEEE Trans. Instrum. Meas. 2015, 64, 1460–1465. [Google Scholar] [CrossRef]
  11. Measurement International. 6600A Dual Source High Resistance Bridge. Product Date Sheet. Available online: https://mintl.com (accessed on 15 November 2022).
  12. Mihai, I.; Capra, P.; Galliana, F. Evaluation of a commercial high resistance bridge and methods to improve its precision. Metrol. Meas. Syst. 2022, 29, 701–718. [Google Scholar]
  13. Kolakowska, D.; Krawczyk, K.; Lisowski, M.; Kampik, M. Precision active arm bridge with two channel voltage source for resistance measurements of the standards. In Proceedings of the 2018 Conference on Precision Electromagnetic Measurements (CPEM 2018), Paris, France, 8–13 July 2018. [Google Scholar]
  14. Lisowski, M.; Krawczyk, K. Resistance scaling from 10 kΩ up to 100 TΩ with new designs of Hamon transfer devices. IEEE Trans. Instrum. Meas. 2013, 62, 1749–1754. [Google Scholar] [CrossRef]
  15. Krawczyk, K.; Kocjan, B.; Lisowski, M. Double path system for resistance unit transfer from QHR primary standard to 100 TΩ standards. In Proceedings of the 2016 Conference on Precision Electromagnetic Measurements (CPEM 2016), Ottawa, ON, Canada, 10–15 July 2016; pp. 1–2. [Google Scholar]
  16. Krawczyk, K.; Lisowski, M.; Jasiński, R. Mostek aktywny z dwukanałowym źródłem napięcia do porównań bardzo dużych rezystancji wzorców w stosunku 1:1. In Metrologia: Teoria i Praktyka; Issue 556; The Opole University of Technology: Opole, Poland, 2021; pp. 133–142. [Google Scholar]
  17. Awan, S.; Kibble, B.; Schurr, J. Coaxial Electrical Circuits for Interference-Free Measurements; The Institution of Engineering and Technology: London, UK, 2011; Volume 350. [Google Scholar]
Figure 1. The basic setup of the active-arm bridge.
Figure 1. The basic setup of the active-arm bridge.
Energies 16 01135 g001
Figure 3. The two-channel DC voltage source for the active-arm bridge.
Figure 3. The two-channel DC voltage source for the active-arm bridge.
Energies 16 01135 g003
Figure 4. Simplified schematic diagram of the two-channel DC voltage source.
Figure 4. Simplified schematic diagram of the two-channel DC voltage source.
Energies 16 01135 g004
Figure 5. Active-arm bridge for comparison of guarded high-resistance transfer standard with conventional high-resistance standard in GUM.
Figure 5. Active-arm bridge for comparison of guarded high-resistance transfer standard with conventional high-resistance standard in GUM.
Energies 16 01135 g005
Table 1. Time drift of the DCVS output voltages.
Table 1. Time drift of the DCVS output voltages.
Nominal voltage of U1 and U210 V100 V1000 V
Initial voltage valueU110.000139 V100.00427 V1000.0144 V
U210.000145 V99.99921 V1000.0006 V
Initial ΔU = U1 − U2−6 µV5.06 mV13.8 mV
Within
1 h
relative changes U1−0.1 µV/V−1.0 µV/V −0.6 µV/V
U20.0 µV/V−0.8 µV/V−0.7 µV/V
ΔU = U1 − U2−7 µV5.04 mV 13.9 mV
change
δU = ΔU/U1
−0.1 µV/V0.2 µV/V0.1 µV/V
Within
36 days
relative changes U10.9 µV/V −1.1 µV/V−1.0 µV/V
U21.1 µV/V−0.8 µV/V−0.6 µV/V
ΔU = U1 − U2−8 µV5.03 mV14.0 mV
change
δU = ΔU/U1
−0.2 µV/V0.3 µV/V0.2 µV/V
Table 2. The exemplary results of the Rx/Rn resistance ratio and the standard uncertainties.
Table 2. The exemplary results of the Rx/Rn resistance ratio and the standard uncertainties.
Nominal
Value U1
(V)
Nominal
Value
Rn
R x R n 1 U 1 u Δ U
× 10−6
R n U 1 u I 0
× 10−6
u R x R n
× 10−6
1010 GΩ1.0035720.54.95
100100 GΩ0.9966340.52727
1001 TΩ0.9912010.58787
100010 TΩ0.9705700.6160160
1000100 TΩ0.9632100.6420420
Disclaimer/Publisher’s Note: The statements, opinions and data contained in all publications are solely those of the individual author(s) and contributor(s) and not of MDPI and/or the editor(s). MDPI and/or the editor(s) disclaim responsibility for any injury to people or property resulting from any ideas, methods, instructions or products referred to in the content.

Share and Cite

MDPI and ACS Style

Krawczyk, K.; Lisowski, M.; Kampik, M. Active-Arm Bridge with Two-Channel DC Voltage Source for Comparison of High-Resistance Standards in 1:1 Ratio. Energies 2023, 16, 1135. https://doi.org/10.3390/en16031135

AMA Style

Krawczyk K, Lisowski M, Kampik M. Active-Arm Bridge with Two-Channel DC Voltage Source for Comparison of High-Resistance Standards in 1:1 Ratio. Energies. 2023; 16(3):1135. https://doi.org/10.3390/en16031135

Chicago/Turabian Style

Krawczyk, Krystian, Michał Lisowski, and Marian Kampik. 2023. "Active-Arm Bridge with Two-Channel DC Voltage Source for Comparison of High-Resistance Standards in 1:1 Ratio" Energies 16, no. 3: 1135. https://doi.org/10.3390/en16031135

APA Style

Krawczyk, K., Lisowski, M., & Kampik, M. (2023). Active-Arm Bridge with Two-Channel DC Voltage Source for Comparison of High-Resistance Standards in 1:1 Ratio. Energies, 16(3), 1135. https://doi.org/10.3390/en16031135

Note that from the first issue of 2016, this journal uses article numbers instead of page numbers. See further details here.

Article Metrics

Back to TopTop