Increasing Safety in an Underground Coal Mine through Degasification by Vertical Wells—Influence of the Relationship between the Permeability of Carbon and the Filter Cake of the Bentonite Suspension
Abstract
:1. Introduction
2. Materials and Methods
2.1. Zone 1 Analysis. Coalbed
2.2. Zone 1 Analysis. Bentonite Suspension Drilling Fluid
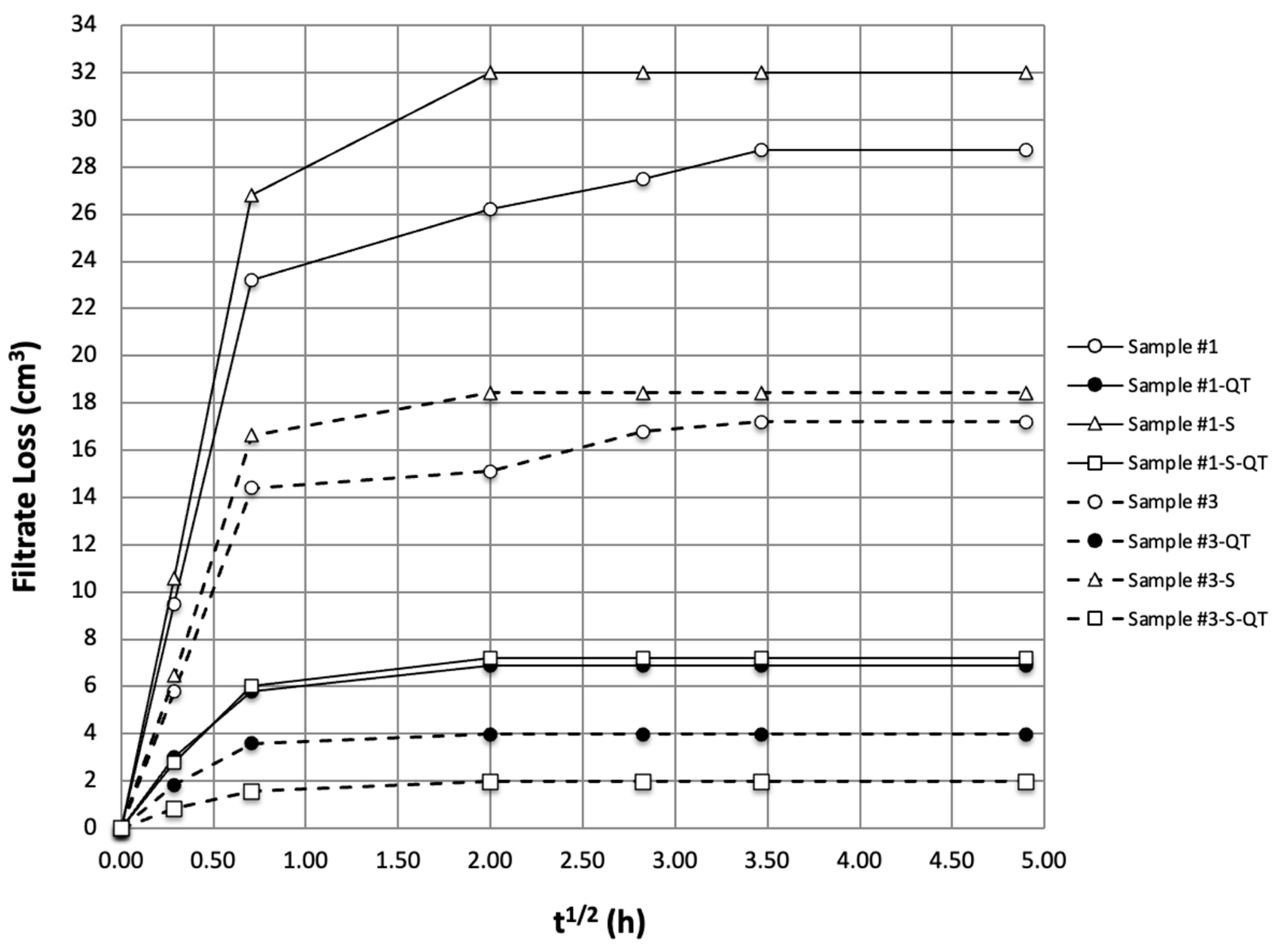
2.2.1. Density, Viscosity and Static Filtration
2.2.2. Filter Cake Thickness
2.2.3. Effect of Sand Contamination by an Addition of Filtrate Reducer on Bentonite Suspension
2.2.4. Permeability of Bentonite Suspension Filter Cake Compared to Coal Permeability
Filter Cake Model
- bentonite suspension volume: QT (API test), cm3
- filtrate area: A (API test)
- filtrate loss volume: QW, cm3
- filtrate loss per filtrate unit area: QW/A = e cm
- filter cake volume: Qc, cm3
- filter cake volume per filtrate unit area: QC/A cm
- filtrate volume after t = 1800 s
2.3. Zone 2. Analysis during Downtimes
- For bentonite suspension #1, the filter cake is absent in subzone c (3 m), and water can enter the soil from the borehole. The filter cake is absent in subzone d (4.5 to 6 m), and both water and soil can enter the borehole. The borehole sidewalls are unstable in both subzones.
- Sand contamination of bentonite suspension #1 increases the size of subzone d, and therefore the significance of the abovementioned problems.
- The addition of the filtrate reducer (QT) to the uncontaminated and sand-contaminated bentonite suspension #1 decreases the size of subzone c to 0.5 m. The absence of a filter cake allows water to enter the soil from the borehole and destabilizes the borehole sidewalls.
3. Zone 1, 2, and 3: Transport Ratio and Cutting Slip Velocity
- (a)
- The filtrate reducer increases the transport ratio.
- (b)
- Contamination by sand of the slurry decreases the cutting slip velocity, and therefore increases the transport ratio.
- (c)
- If the increase in the filter cake thickness is taken into account, (a) and (b) are fulfilled. It also decreases the transport ratio except in the case of sample #1 with filtrate reducer.
4. Conclusions
Author Contributions
Funding
Data Availability Statement
Acknowledgments
Conflicts of Interest
References
- Toraño, J.; Torno, S.; Menendez, M.; Gent, M.; Velasco, J. Models of methane behaviour in auxiliary ventilation of underground coal mining. Int. J. Coal Geol. 2009, 80, 35–43. [Google Scholar] [CrossRef]
- Toraño, J.; Torno, S.; Alvarez, E.; Riesgo, P. Application of outburst risk indices in the underground coal mines by sublevel caving. Int. J. Rock Mech. Min. Sci. 2012, 50, 94–101. [Google Scholar] [CrossRef]
- Zhang, X.; Zhu, T.; Yi, N.; Yuan, B.; Li, C.; Ye, Z.; Zhu, Z.; Zhang, X. Study on Characteristics and Model Prediction of Methane Emissions in Coal Mines: A Case Study of Shanxi Province, China. Atmosphere 2023, 14, 1422. [Google Scholar] [CrossRef]
- Bosikov, I.I.; Martyushev, N.V.; Klyuev, R.V.; Savchenko, I.A.; Kukartsev, V.V.; Kukartsev, V.A.; Tynchenko, Y.A. Modeling and Complex Analysis of the Topology Parameters of Ventilation Networks When Ensuring Fire Safety While Developing Coal and Gas Deposits. Fire 2023, 6, 95. [Google Scholar] [CrossRef]
- Tutak, M.; Brodny, J. Forecasting Methane Emissions from Hard Coal Mines Including the Methane Drainage Process. Energies 2019, 12, 3840. [Google Scholar] [CrossRef]
- Krassakis, P.; Pyrgaki, K.; Gemeni, V.; Roumpos, C.; Louloudis, G.; Koukouzas, N. GIS-Based Subsurface Analysis and 3D Geological Modeling as a Tool for Combined Conventional Mining and In-Situ Coal Conversion: The Case of Kardia Lignite Mine, Western Greece. Mining 2022, 2, 297–314. [Google Scholar] [CrossRef]
- Mutmansky, J.M.; Thakur, P.C. Guidebook on Coalbed Methane Drainage for Underground Coal Mine; USEPA No. CX824467-01-0; Pennsylvania State University: State College, PA, USA, 1999. [Google Scholar]
- Xu, T.; Tang, C.A.; Yang, T.H.; Zhu, W.C.; Liu, J. Numerical investigation of coal and gas outbursts in underground collieries. Int. J. Rock Mech. Min. Sci. 2006, 43, 905–919. [Google Scholar] [CrossRef]
- Karacan, C.O. Predicting methane emissions and developing reduction strategies for a Central Appalachian Basin, USA, longwall mine through analysis and modeling of geology and degasification system performance. Int. J. Coal Geol. 2023, 270, 104234. [Google Scholar] [CrossRef]
- Li, D. A new technology for the drilling of long boreholes for gas drainage in a soft coal seam. J. Petrol. Sci. Eng. 2016, 137, 107–112. [Google Scholar] [CrossRef]
- Pan, Z.; Connell, L.D.; Camilleri, M. Laboratory characterisation of coal reservoir permeability for primary and enhanced coalbed methane recovery. Int. J. Coal Geol. 2010, 82, 252–261. [Google Scholar] [CrossRef]
- Lu, M.; Connell, L. A dual-porosity model for gas reservoir flow incorporating adsorption behaviour-part I. Theoretical development and asymptotic analyses. Transp. Porous Media 2007, 68, 153–173. [Google Scholar] [CrossRef]
- Somerton, W.H.; Söylemezoglu, I.M.; Dudley, R.C. Effect of stress on permeability of coal. Int. J. Rock Mech. Min. Sci. Geomech. Abstr. 1975, 12, 129–145. [Google Scholar] [CrossRef]
- Reid, G.W.; Towler, B.F.; Harris, H.G. Simulation and Economics of Coalbed Methane Production in Power River Basin. In Proceedings of the SPE Rocky Mountain Regional Meeting, Casper, WY, USA, 18–21 May 1992; Society of Petroleum Engineers: Dallas, TX, USA, 1992. [Google Scholar]
- Sherwood, J.D.; Meeten, G.H. The filtration properties of compressible mud filtercakes. J. Petrol. Sci. Eng. 1987, 18, 73–81. [Google Scholar] [CrossRef]
- Sparks, D.P.; McLendon, T.H.; Saulsberry, J.L.; Lambert, S.W. The Effects of Stress on Coalbed Reservoir Performance. In Proceedings of the SPE Annual Technical Conference and Exhibition, Dallas, TX, USA, 22–25 October 1995; Society of Petroleum Engineers: Dallas, TX, USA, 1995. [Google Scholar]
- Palmer, I. Permeability changes in coal: Analytical modeling. Int. J. Coal Geol. 2009, 77, 119–126. [Google Scholar] [CrossRef]
- Palmer, I. Coalbed methane completions: A world view. Int. J. Coal Geol. 2010, 82, 184–195. [Google Scholar] [CrossRef]
- Chapuis, R.P. Estimating the in situ porosity of sandy soils sampled in boreholes. Eng. Geol. 2012, 141–142, 57–64. [Google Scholar] [CrossRef]
- Chilingarian, G.V.; Vrabutr, P. Drilling and Drilling Fluids; Developments in Petroleum Science; U.S. Department of Energy Office of Scientific and Technical Information: Oak Ridge, TN, USA, 1983; p. 11. [Google Scholar]
- Khodja, M. Drilling Fluid: Performance Study and Environmental Considerations. Ph.D. Thesis, L’Institut National Polytechnique de Toulouse, Toulouse, France, 2008. (In French). [Google Scholar]
- API (American Petroleum Institute Specifications). Specification for Drilling Fluid Materials; API 13A; API: Washington, DC, USA, 1993. [Google Scholar]
- API (American Petroleum Institute Specifications). Recommended Practice Standard Procedure for Laboratory Testing Drilling Fluids; API 13I; API: Washington, DC, USA, 2000. [Google Scholar]
- API (American Petroleum Institute Specifications). Recommended Practice Standard Procedure for Field Testing Water-Based Drilling FIuids; API RP 13B-1; API: Washington, DC, USA, 2019. [Google Scholar]
- Szlząk, N.; Korzec, M.; Piergies, K. The Determination of the Methane Content of Coal Seams Based on Drill Cutting and Core Samples from Coal Mine Roadway. Energies 2022, 15, 178. [Google Scholar] [CrossRef]
- Gray, I. Reservoir Engineering in Coal Seams, Part 1-The Physical Process of Gas Storage and Movement in Coal Seams. SPE Reserv. Eng. 1987, 2, 28–34. [Google Scholar] [CrossRef]
- Wang, S.; Elsworth, D.; Liu, J. Permeability evolution during progressive deformation of intact coal and implications for instability in underground coal seams. Int. J. Rock Mech. Min. Sci. 2013, 58, 34–45. [Google Scholar] [CrossRef]
- Zhou, H.; Gao, J.; Han, K.; Cheng, Y. Permeability enhancements of borehole outburst cavitation in outburst-prone coal seams. Int. J. Rock Mech. Min. Sci. 2018, 111, 12–20. [Google Scholar] [CrossRef]
- Alderman, N.; Ram, B.D.; Hughes, T.; Maitland, G. The rheological properties of water-based drilling fluids—Effect of bentonite chemistry. Spec. Chem Prod Mark. Appl. 1989, 9, 314–326. [Google Scholar]
- Kumar, R.; Kumar, V.; Rajak, D.K.; Guria, C. An improved estimation of shear rate using rotating coaxial-cylinder Fann viscometer: A rheological study of bentonite and fly ash suspensions. Int. J. Miner. Process. 2014, 126, 18–19. [Google Scholar] [CrossRef]
- ISO 3310-1:2016; Test Sieves. Technical Requirements and Testing. Part 1: Test Sieves of Metal Wire Cloth. ISO (International Organization for Standardization): Geneva, Switzerland, 2016.
- Baptiste, N.; Chapuis, R.P. What maximum permeability can be measured with a monitoring well? Eng. Geol. 2015, 184, 111–118. [Google Scholar] [CrossRef]
- Chien, S.F. Annular Velocity for Rotary Drilling Operations. J. Rock Mech. Min. Sci. Geomech. Abstr. 1972, 9, 403–416. [Google Scholar] [CrossRef]
- Kelessidis, V.C.; Tsamantaki, C.; Pasadakis, N.; Repouskou, E.; Hamilaki, E. Permeability, porosity and surface characteristics of filter cakes from water–bentonite suspensions. WIT Trans. Eng. Sci. 2007, 56, 173–182. [Google Scholar]
- Moore, P.L. Drilling Practices Manual, 1st ed.; Petroleum Publishing Co.: Tulsa, OK, USA, 1974. [Google Scholar]
- Bourgoyne, A.; Miliheim, K.; Chenevert, M.; Young, K.S. Applied Drilling Engineering, 2nd ed.; Society of Petroleum Engineers: Richardson, TX, USA, 1986. [Google Scholar]














| Q (m3/tp) | V1 (cm3/10 g/35 s) | Δ DCVD (a-b) | Δ GP (a-b) | Δ PI (a-b) |
|---|---|---|---|---|
| 10–12 | 2–4 | 90 | 0.85 | 0.5 |
| Coal Permeability (cm2) | |||
|---|---|---|---|
| Subzone b | Subzone a | ||
| Min | Max | Min | Max |
| 0.06 × 10−13 | 1.04 × 10−10 | 1.79 × 10−10 | 4.44 × 10−10 |
| Bentonite Suspension Samples | Density (g/cm3) | Viscosity (s) |
|---|---|---|
| Sample #1 | 1.021 | 47 |
| Sample #2 | 1.029 | 95 |
| Sample #3 | 1.034 | 179 |
| Bentonite Suspension Samples | Density (g/cm3) | Viscosity (s) |
|---|---|---|
| Sample #1 | 1.021 | 47 |
| Sample #1 with QT | 1.031 | 119 |
| Sample #1 with sand | 1.04 | 60 |
| Sample #1 with sand and QT | 1.045 | 192 |
| Coal Permeability (cm2) | |||
|---|---|---|---|
| Subzone b | Subzone a | ||
| Min | Max | Min | Max |
| 0.06 × 10−13 | 1.04 × 10−10 | 1.79 × 10−10 | 4.44 × 10−10 |
| Bentonite Suspension Penetration e (mm) | |||
| Subzone b | Subzone a | ||
| 0.89 | 158.46 | 570.47 | 713.08 |
| Bentonite Suspension | d | n | k | AVN | MV | CT | FCP |
|---|---|---|---|---|---|---|---|
| Sample #1 | 1.020 | 0.485 | 247.5 | 27.83 | 47 | 2.5 | 0.43604 |
| Sample #1 with QT | 1.031 | 0.514 | 288.9 | 37.32 | 119 | 3 | 0.31146 |
| Sample #1 with sand | 1.040 | 0.502 | 267.0 | 32.28 | 56 | 5 | 1.1993 |
| Sample #1 with sand and QT | 1.045 | 0.447 | 689.9 | 64.71 | 192 | 3 | 0.35442 |
Disclaimer/Publisher’s Note: The statements, opinions and data contained in all publications are solely those of the individual author(s) and contributor(s) and not of MDPI and/or the editor(s). MDPI and/or the editor(s) disclaim responsibility for any injury to people or property resulting from any ideas, methods, instructions or products referred to in the content. |
© 2023 by the authors. Licensee MDPI, Basel, Switzerland. This article is an open access article distributed under the terms and conditions of the Creative Commons Attribution (CC BY) license (https://creativecommons.org/licenses/by/4.0/).
Share and Cite
Torno, S.; Toraño, J. Increasing Safety in an Underground Coal Mine through Degasification by Vertical Wells—Influence of the Relationship between the Permeability of Carbon and the Filter Cake of the Bentonite Suspension. Energies 2023, 16, 7223. https://doi.org/10.3390/en16217223
Torno S, Toraño J. Increasing Safety in an Underground Coal Mine through Degasification by Vertical Wells—Influence of the Relationship between the Permeability of Carbon and the Filter Cake of the Bentonite Suspension. Energies. 2023; 16(21):7223. https://doi.org/10.3390/en16217223
Chicago/Turabian StyleTorno, Susana, and Javier Toraño. 2023. "Increasing Safety in an Underground Coal Mine through Degasification by Vertical Wells—Influence of the Relationship between the Permeability of Carbon and the Filter Cake of the Bentonite Suspension" Energies 16, no. 21: 7223. https://doi.org/10.3390/en16217223
APA StyleTorno, S., & Toraño, J. (2023). Increasing Safety in an Underground Coal Mine through Degasification by Vertical Wells—Influence of the Relationship between the Permeability of Carbon and the Filter Cake of the Bentonite Suspension. Energies, 16(21), 7223. https://doi.org/10.3390/en16217223

