Hot-Water Extraction (HWE) Method as Applied to Lignocellulosic Materials from Hemp Stalk
Abstract
1. Introduction
2. Materials and Methods
2.1. Material
2.2. Physical Properties of the Raw Material
2.2.1. Division of Chips into Fractions by Their Thickness
- Finest (p < 0 ÷ 4) mm.
- Middle (p < 4 ÷ 8) mm.
- Coarsest (p < 8 ÷ 16) mm.
2.2.2. Material Moisture Measurement
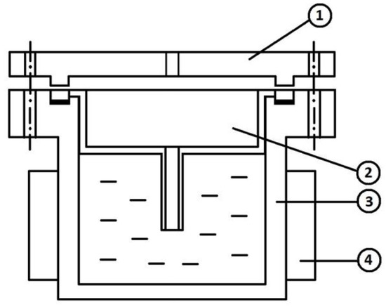
2.3. HWE—Hot Water Extraction
2.4. Extraction and Determination of Cellulose (Native and HWE)—Post-Extraction Chips
3. Results
3.1. Extraction and Determination of Cellulose (Native and HWE)—Post-Extraction Chips
3.2. HWE—Hot Water Extraction
3.3. Extraction and Determination of Cellulose (Native and HWE)—Post-Extraction Chips
4. Discussion
5. Conclusions
Author Contributions
Funding
Data Availability Statement
Conflicts of Interest
References
- Mańkowski, J.; Kołodziej, J.; Kubacki, A. Kompozyt wapienno-paździerzowy wykorzystywany w budownictwie. Aktual. Wlkp Izby Budownictwa Kwart. 2013, 35, 15–16. [Google Scholar]
- Rupasinghe, H.P.V.; Davis, A.; Kumar, S.K.; Murray, B.; Zheljazkov, V.D. Industrial hemp (Cannabis sativa subsp. sativa) as an emerging source for value-added functional food ingredients and nutraceuticals. Molecules 2020, 25, 4078. [Google Scholar] [CrossRef] [PubMed]
- Bääth, H.; Gällerspäng, A.; Hallsby, G.; Lundström, A.; Löfgren, P.; Nilsson, M.; Ståhl, G. Remote sensing, field survey, and long-term forecasting: An efficient combination for local assessments of forest fuels. Biomass Bioenergy 2002, 22, 145–157. [Google Scholar] [CrossRef]
- Demirbas, A. Biofuels securing the planet’s future Energy needs. Energy Convers. Manag. 2009, 50, 2239–2249. [Google Scholar] [CrossRef]
- Kozłowski, R.; Kaniewski, R.; Mańkowski, J. New trends in harvesting, processing and application of hemp used for production of textiles and cellulose. In Proceedings of the 1st Nordic conference on Flax and Hemp Processing, Tampere, Finland, 10–12 August 1998; pp. 115–125. [Google Scholar]
- Venturi, P.; Amaducci, S.; Amaducci, M.T.; Venturi, G. Interaction between agronomic and mechanical factors for fiber crops harvesting Italian results nate II. hemp. J. Nat. Fibers 2007, 4, 83–97. [Google Scholar] [CrossRef]
- Singh, S.; Deepak, D.; Aggarwal, L.; Gupta, V.K. Tensile and Flexural Behavior of Hemp Fiber Reinforced Virgin recycled HDPE Matrix Composites. Procedia Mater. Sci. 2014, 6, 1696–1702. [Google Scholar] [CrossRef]
- Andre, C.h.M.; Hausman, J.F.; Guerriero, G. Cannabis sativa: The Plant of the thousand and one molecules. Front. Plant Sci. 2016, 19, 1–17. [Google Scholar] [CrossRef]
- Mańkowski, J.; Kubacki, A.; Kołodziej, J. Materiały budowlane na bazie paździerzy konopnych i spoiwa wapiennego. PILIK 2011, 16, 29–33. [Google Scholar]
- Bosca, I.; Karus, M.; Lohmeyer, D. Der Hanfanbau. Botanik, Sorten, Anbau und Ernte, Markte und Productlinien; Landwirtschaftsverl: Münster, Germany, 2000; p. 195. [Google Scholar]
- Roman, K.; Grzegorzewska, E.; Leszczyński, M.; Pycka, S.; Barwicki, J.; Golisz, E.; Zatoń, P. Effect of Seawater with Average Salinity on the Moisture Content, Ash Content and Tensile Strength of Some Coniferous Wood. Materials 2023, 16, 2984. [Google Scholar] [CrossRef]
- Here Comes Cannabis: How Legalisation Will Disrupt Global Industries. Euromonitor International. Available online: go.euromonitor.com/white-paper-cannabis-2019-here-comes-cannabis-how-legalisation-will-disrupt-global-industries.html (accessed on 12 April 2021).
- Roman, K.; Rzodkiewicz, W.; Hryniewicz, M. Analysis of Forest Biomass Wood Briquette Structure According to Different Tests of Density. Energies 2023, 16, 2850. [Google Scholar] [CrossRef]
- Poisa, L.; Adamovics, A. Hemp (Cannabis sativa L.) as an environmentally friendly energy plant. Sci. J. Riga Tech. Univ. 2010, 5, 80–85. [Google Scholar]
- Grabowska, L.; Kołodziej, J.; Burczyk, H. Zastosowanie energetyczne konopi włóknistych. Probl. Inżynierii Rol. 2007, 15, 19–26. [Google Scholar]
- Delucci, M.A. Emissions of Greenhouse Gases from the Use of Transportation Fuels and Electricity; Center for Transportation Research, Argonne National Laboratory: Argonne, IL, USA, 1991. [Google Scholar]
- Fan, L.T.; Lee, Y.-H.; Gharpuray, M.M. The nature of lignocellulosic and their pretreatments for enzymatic hydrolysis. Adv. Biochem. Eng. 1982, 23, 157–187. [Google Scholar]
- Saddler, J.N.; Ramos, L.P.; Breuil, C. Steam pretreatment of lignocellulosic residue. Biotechnol. Agric. Ser. 1993, 9, 73–91. [Google Scholar]
- Sun, Y.; Cheng, J. Hydrolysis of lignocellulosic materials for ethanol production: A review. Bioresour. Technol. 2002, 83, 1–11. [Google Scholar] [CrossRef]
- Fischer, G.; Schrattenholzer, L. Global bioenergy potentials through 2050. Biomass Bioenergy 2001, 20, 151–159. [Google Scholar] [CrossRef]
- Muharja, M.; Darmayanti, R.F.; Fachri, B.A.; Palupi, B.; Rahmawati, I.; Rizkiana, M.F.; Amini, W.; Putri, D.K.Y.; Setiawan, A.F.; Asrofi, M.; et al. Biobutanol production from cocoa pod husk through a sequential green method: Depectination, delignification, enzymatic hydrolysis, and extractive fermentation. Bioresour. Technol. Rep. 2023, 21, 101298. [Google Scholar] [CrossRef]
- Chen, X.; Zheng, X.; Pei, Y.; Chen, W.; Lin, Q.; Huang, J.; Hou, P.; Tang, J.; Han, W. Process design and techno-economic analysis of fuel ethanol production from food waste by enzymatic hydrolysis and fermentation. Bioresour. Technol. 2022, 363, 127882. [Google Scholar] [CrossRef]
- Chen, W.; Nižetić, S.; Sirohi, R.; Huang, Z.; Luque, R.; Papadopoulos, A.; Sakthivel, R.; Phuong Nguyen, X.; Tuan Hoang, A. Liquid hot water as sustainable biomass pretreatment technique for bioenergy production: A review. Bioresour. Technol. 2022, 344, 126207. [Google Scholar] [CrossRef]
- Roman, K.; Barwicki, J.; Hryniewicz, M.; Szadkowska, D.; Szadkowski, J. Production of Electricity and Heat from Biomass Wastes Using a Converted Aircraft Turbine AI-20. Processes 2021, 9, 364. [Google Scholar] [CrossRef]
- Roman, K.; Roman, M.; Szadkowska, D.; Szadkowski, J.; Grzegorzewska, E. Evaluation of Physical and Chemical Parameters According to Energetic Willow (Salix viminalis L.). Cultivation. Energy 2021, 14, 2968. [Google Scholar] [CrossRef]
- Pan, X.; Arato, C.; Gilkes, N.; Gregg, D.; Mabee, W.; Pye, K.; Xiao, Z.; Zhang, X.; Saddler, J. Biorefining of softwoods using ethanol organosolv pulping: Preliminary evaluation of proces streams for manufacture of fuel-grade ethanol and co-products. Biotechnol. Bioeng. 2005, 90, 473–481. [Google Scholar] [CrossRef] [PubMed]
- Ruiz, H.A.; Galbe, M.; Garrote, G.; Ramirez-Gutierrez, D.M.; Ximenes, E.; Sun, S.; Lachos-Perez, D.; Rodríguez-Jasso, R.M.; Sun, R.; Yang, B.; et al. Severity factor kinetic model as a strategic parameter of hydrothermal processing (steam explosion and liquid hot water) for biomass fractionation under biorefinery concept. Bioresour. Technol. 2021, 342, 125961. [Google Scholar] [CrossRef] [PubMed]
- Alvira, P.; Tomás-Pejó, E.; Ballesteros, M.; Negro, M.J. Pretreatment technologies for an efficient bioethanol production process based on enzymatic hydrolysis: A review. Bioresour. Technol. 2010, 101, 4851–4861. [Google Scholar] [CrossRef]
- Roman, K.; Barwicki, J.; Rzodkiewicz, W.; Dawidowski, M. Evaluation of Mechanical and Energetic Properties of the Forest Residues Shredded Chips during Briquetting Process. Energies 2021, 14, 3270. [Google Scholar] [CrossRef]
- Mosier, N.; Wyman, C.; Dale, B.; Elander, R.; Lee, Y.Y.; Holtzapple, M.; Ladish, M. Features of promising technologies for pretreatment of lignocellulosic biomass. Bioresour. Technol. 2005, 96, 673–686. [Google Scholar] [CrossRef] [PubMed]
- Capelle, A. Hemp: Specialty crop for the paper industry. In Progress in Newcrops; Janick, J., Ed.; ASHS Press: Arlington, TX, USA, 1996; pp. 384–388. [Google Scholar]
- Krutul, D. Ćwiczenia z Chemii Drewna Oraz Wybranych Zagadnień Chemii Organicznej; Wydawnictwo SGGW: Warsaw, Poland, 2002; pp. 125–127. [Google Scholar]
- Liu, Z.H.; Qin, L.; Pang, F.; Jin, M.J.; Li, B.Z.; Kang, Y.; Dale, B.E.; Yuan, Y.J. Effects of biomass particle size on steam explosion pretreatment performance for improving the enzyme digestibility of corn stover. Ind. Crops Prod. 2013, 44, 176–184. [Google Scholar] [CrossRef]
- Prasedya, E.S.; Frediansyah, A.; Martyasari, N.W.R.; Ilhami, B.K.; Abidin, A.S.; Padmi, H.; Fahrurrozi; Juanssilfero, A.B.; Widyastuti, S.; Sunarwidhi, A.L. Effect of particle size on phytochemical composition and antioxidant properties of Sargassum cristaefolium ethanol extract. Sci. Rep. 2021, 11, 17876. [Google Scholar] [CrossRef]
- Liu, J.; Li, M.; Luo, X.; Chen, L.; Huang, L. Effect of hot-water extraction (HWE) severity on bleached pulp based biorefinery performance of eucalyptus during the HWE–Kraft–ECF bleaching process. Bioresour. Technol. 2015, 181, 183–190. [Google Scholar] [CrossRef]
- Ding, S.; Wang, X.; Sun, S.; Zhang, Z. Effect of multiple extractives treatments on the mechanical and thermal properties of poplar wood. BioResources 2014, 9, 1694–1704. [Google Scholar]
- Wang, H.; Lu, L.; Hu, J.; Xiao, Y.; Yao, S.; Lu, J.; Liu, J. Effect of hot water extraction on the surface chemistry and morphology of moso bamboo. BioResources 2017, 12, 5152–5165. [Google Scholar]
- Fatma, S.; Hameed, A.; Noman, M.; Ahmed, T.; Shahid, M.; Tariq, M.; Sohail, I.; Tabassum, R. Lignocellulosic Biomass: A Sustainable Bioenergy. Source Future 2018, 25, 148–163. [Google Scholar]
- Öhgren, K.; Bura, R.; Saddler, J.; Zacchi, G. Effect of hemicellulose and lignin removal on enzymatic hydrolysis of steam pretreated corn stover. Bioresour. Technol. 2007, 13, 2503–2510. [Google Scholar] [CrossRef] [PubMed]
- Taherzadeh, M.J.; Karimi, K. Pretreatment of Lignocellulosic Wastes to Improve Ethanol and Biogas Production: A Review. Int. J. Mol. Sci. 2008, 9, 1621–1651. [Google Scholar] [CrossRef]





| Fraction | Number of Repetitions of the HWE Process | Series | Absolute Dry Chip Weight [g] | Wet Chip Weight [g] | Moisture Content of Chips before HWE [%] | 
|---|---|---|---|---|---|
| 0–4 | 0 | A | 13.7 | 15.4 | 12.4 | 
| B | |||||
| C | |||||
| 1 | A | 13.9 | 15.5 | 11.7 | |
| B | |||||
| C | |||||
| 2 | A | 14.2 | 16.0 | 12.7 | |
| B | |||||
| C | |||||
| 3 | A | 13.5 | 15.2 | 12.3 | |
| B | |||||
| C | |||||
| 4–8 | 0 | A | 13.1 | 14.7 | 12.2 | 
| B | |||||
| C | |||||
| 1 | A | 12.1 | 13.6 | 12.5 | |
| B | |||||
| C | |||||
| 2 | A | 14.7 | 16.5 | 12.0 | |
| B | |||||
| C | |||||
| 3 | A | 13.8 | 15.5 | 12.6 | |
| B | |||||
| C | |||||
| 8–16 | 0 | A | 13.7 | 15.4 | 12.4 | 
| B | |||||
| C | |||||
| 1 | A | 14.1 | 15.9 | 12.6 | |
| B | |||||
| C | |||||
| 2 | A | 13 | 14.5 | 11.5 | |
| B | |||||
| C | |||||
| 3 | A | 12.7 | 14.3 | 12.3 | |
| B | |||||
| C | 
| Fraction | Number of Repetitions of the HWE Process on the Material | Mass of Chips Treated with the HWE Process [g] | Mass of Sludge Remaining after Evaporation of Distilled Water Used for the HWE Process [g] | Percentage of Residual Sludge after Evaporation of Distilled Water Used in the HWE Process [%] | 
|---|---|---|---|---|
| 0–4 | 1 | 10 | 0.143 | 1.43 | 
| 2 | 0.216 | 2.16 | ||
| 3 | 0.262 | 2.62 | ||
| 4–8 | 1 | 0.154 | 1.54 | |
| 2 | 0.217 | 2.17 | ||
| 3 | 0.052 | 0.52 | ||
| 8–16 | 1 | 0.163 | 1.63 | |
| 2 | 0.235 | 2.35 | ||
| 3 | 0.375 | 3.75 | 
| Fraction | Number of Repetitions of the HWE Process on the Material | Series | Weight of Shavings Used for Extraction [g] | Mass of Precipitate after Evaporation of the Chloroform Mixture-Ethanol from the Flask [g] | Percentage of Sediment after Evaporation of Chloroform Mixture-Ethanol from Flask [%] | Sum of Percentage Sediment Content after Evaporation of Chloroform-Ethanol Flask Mixture [%] | Sum of Percentage Sediment Content after Evaporation of the Chloroform-Ethanol Mixture for the Entire Chip Fraction [%] | 
|---|---|---|---|---|---|---|---|
| 0–4 | 0 | A | 2.688 | 0.026 | 0.967 | 3.738 | 22.682 | 
| B | 2.715 | 0.013 | 0.479 | ||||
| C | 2.793 | 0.064 | 2.291 | ||||
| 1 | A | 2.713 | 0.052 | 1.917 | 5.221 | ||
| B | 2.692 | 0.062 | 2.303 | ||||
| C | 2.697 | 0.027 | 1.001 | ||||
| 2 | A | 2.871 | 0.066 | 2.299 | 6.389 | ||
| B | 2.789 | 0.054 | 1.936 | ||||
| C | 2.785 | 0.06 | 2.154 | ||||
| 3 | A | 2.74 | 0.036 | 1.314 | 7.334 | ||
| B | 2.635 | 0.122 | 4.630 | ||||
| C | 2.805 | 0.039 | 1.390 | ||||
| 4–8 | 0 | A | 2.721 | 0.028 | 1.029 | 3.340 | 20.381 | 
| B | 2.715 | 0.031 | 1.142 | ||||
| C | 2.737 | 0.032 | 1.169 | ||||
| 1 | A | 2.727 | 0.033 | 1.210 | 4.258 | ||
| B | 2.785 | 0.026 | 0.934 | ||||
| C | 2.79 | 0.059 | 2.115 | ||||
| 2 | A | 2.714 | 0.032 | 1.179 | 5.556 | ||
| B | 2.752 | 0.063 | 2.289 | ||||
| C | 2.73 | 0.057 | 2.088 | ||||
| 3 | A | 2.712 | 0.099 | 3.650 | 7.226 | ||
| B | 2.726 | 0.048 | 1.761 | ||||
| C | 2.7 | 0.049 | 1.815 | ||||
| 8–16 | 0 | A | 2.714 | 0.023 | 0.847 | 2.938 | 17.947 | 
| B | 2.743 | 0.028 | 1.021 | ||||
| C | 2.711 | 0.029 | 1.070 | ||||
| 1 | A | 2.781 | 0.033 | 1.187 | 4.438 | ||
| B | 2.784 | 0.033 | 1.185 | ||||
| C | 2.71 | 0.056 | 2.066 | ||||
| 2 | A | 2.716 | 0.039 | 1.436 | 4.627 | ||
| B | 2.72 | 0.047 | 1.728 | ||||
| C | 2.733 | 0.04 | 1.464 | ||||
| 3 | A | 2.717 | 0.062 | 2.282 | 5.943 | ||
| B | 2.72 | 0.055 | 2.022 | ||||
| C | 2.745 | 0.045 | 1.639 | 
| Fraction | Number of Repetitions of the HWE Process on the Material | Series | Mass of Dry Extracted Sawdust [g]—mo | The Amount of Obtained Dried Cellulose [g]—mc | Percentage of Cellulose Content [%]—C | Average Percentage of Cellulose Content [%]—C [%] | Loss of Cellulose Compared to Previous Extraction [%]—Cn–Cn-1 | Loss of Cellulose Compared to Cellulose Content in Native Material [%] | 
|---|---|---|---|---|---|---|---|---|
| 0–4 | 0 | A | 0.723 | 0.377 | 52.144 | 60.071 | ||
| B | 0.731 | 0.49 | 67.031 | |||||
| C | 0.77 | 0.47 | 61.039 | |||||
| 1 | A | 0.714 | 0.413 | 57.843 | 56.145 | −3.926 | −3.926 | |
| B | 0.719 | 0.397 | 55.216 | |||||
| C | 0.744 | 0.412 | 55.376 | |||||
| 2 | A | 0.714 | 0.342 | 47.899 | 51.241 | −4.904 | −8.830 | |
| B | 0.73 | 0.407 | 55.753 | |||||
| C | 0.703 | 0.352 | 50.071 | |||||
| 3 | A | 0.735 | 0.351 | 47.755 | 48.359 | −2.882 | 11.712 | |
| B | 0.747 | 0.353 | 47.256 | |||||
| C | 0.757 | 0.379 | 50.066 | |||||
| 4–8 | 0 | A | 0.728 | 0.348 | 47.802 | 48.925 | ||
| B | 0.726 | 0.358 | 49.311 | |||||
| C | 0.737 | 0.366 | 49.661 | |||||
| 1 | A | 0.727 | 0.355 | 48.831 | 47.778 | −1.147 | −1.147 | |
| B | 0.713 | 0.337 | 47.265 | |||||
| C | 0.76 | 0.359 | 47.237 | |||||
| 2 | A | 0.766 | 0.306 | 39.948 | 43.186 | −4.591 | −5.739 | |
| B | 0.742 | 0.326 | 43.935 | |||||
| C | 0.74 | 0.338 | 45.676 | |||||
| 3 | A | 0.774 | 0.301 | 38.889 | 40.713 | −2.473 | −8.211 | |
| B | 0.726 | 0.31 | 42.700 | |||||
| C | 0.762 | 0.309 | 40.551 | |||||
| 8–16 | 0 | A | 0.755 | 0.445 | 58.940 | 53.456 | ||
| B | 0.79 | 0.452 | 57.215 | |||||
| C | 0.717 | 0.317 | 44.212 | |||||
| 1 | A | 0.72 | 0.418 | 58.056 | 50.021 | −3.435 | −3.435 | |
| B | 0.747 | 0.35 | 46.854 | |||||
| C | 0.784 | 0.354 | 45.153 | |||||
| 2 | A | 0.736 | 0.336 | 45.652 | 45.741 | −4.280 | −7.715 | |
| B | 0.725 | 0.341 | 47.034 | |||||
| C | 0.723 | 0.322 | 44.537 | |||||
| 3 | A | 0.735 | 0.339 | 46.122 | 43.381 | −2.360 | 10.075 | |
| B | 0.72 | 0.334 | 46.389 | |||||
| C | 0.76 | 0.286 | 37.632 | 
| Disclaimer/Publisher’s Note: The statements, opinions and data contained in all publications are solely those of the individual author(s) and contributor(s) and not of MDPI and/or the editor(s). MDPI and/or the editor(s) disclaim responsibility for any injury to people or property resulting from any ideas, methods, instructions or products referred to in the content. | 
© 2023 by the authors. Licensee MDPI, Basel, Switzerland. This article is an open access article distributed under the terms and conditions of the Creative Commons Attribution (CC BY) license (https://creativecommons.org/licenses/by/4.0/).
Share and Cite
Leszczyński, M.; Roman, K. Hot-Water Extraction (HWE) Method as Applied to Lignocellulosic Materials from Hemp Stalk. Energies 2023, 16, 4750. https://doi.org/10.3390/en16124750
Leszczyński M, Roman K. Hot-Water Extraction (HWE) Method as Applied to Lignocellulosic Materials from Hemp Stalk. Energies. 2023; 16(12):4750. https://doi.org/10.3390/en16124750
Chicago/Turabian StyleLeszczyński, Mateusz, and Kamil Roman. 2023. "Hot-Water Extraction (HWE) Method as Applied to Lignocellulosic Materials from Hemp Stalk" Energies 16, no. 12: 4750. https://doi.org/10.3390/en16124750
APA StyleLeszczyński, M., & Roman, K. (2023). Hot-Water Extraction (HWE) Method as Applied to Lignocellulosic Materials from Hemp Stalk. Energies, 16(12), 4750. https://doi.org/10.3390/en16124750
 
        



 
       