Next Article in Journal
Deep and Machine Learning Models to Forecast Photovoltaic Power Generation
Previous Article in Journal
VR-Supported Analysis of UAV—Magnetic Launcher’s Cart System
error_outline You can access the new MDPI.com website here. Explore and share your feedback with us.
 
 
Font Type:
Arial Georgia Verdana
Font Size:
Aa Aa Aa
Line Spacing:
Column Width:
Background:
Article

Entropy Generation Minimization of Two-Phase Flow Irreversibilities in Hydrocarbon Reservoirs

1
Faculty of Engineering and Applied Science, Memorial University, St. John’s, NL A1B 3X5, Canada
2
Faculty of Sustainable Design Engineering, University of Prince Edward Island, Charlottetown, PE C1A 4P3, Canada
*
Author to whom correspondence should be addressed.
Energies 2023, 16(10), 4096; https://doi.org/10.3390/en16104096
Submission received: 4 April 2023 / Revised: 26 April 2023 / Accepted: 3 May 2023 / Published: 15 May 2023
(This article belongs to the Section H: Geo-Energy)

Abstract

The efficient use of available energy in hydrocarbon extraction processes is essential to reducing overall emissions in the petroleum industry. The inefficient design of an extraction process leads to higher emissions per unit mass of hydrocarbon recovery. Fluid friction and heat transfer are irreversible processes that are vital in decreasing the overall system’s operational efficiency. To reduce these irreversible energy losses in the petroleum reservoir production’s life, contributing factors such as the characteristic features of a reservoir formation, reservoir fluids, and production rate are investigated in this paper. This study examines irreversible energy loss in porous media and wellbore formations using entropy generation minimization at various stages of production and thermodynamic conditions, eventually achieving higher hydrocarbon recovery factors. Entropy production is used to develop predictive models that calculate reservoir and wellbore energy losses for multiphase flow. The proposed models consider oil and water as the working fluids in a porous medium and a wellbore. This paper also investigates the thermophysical effects around the wellbore by incorporating Hawkin’s model. A sensitivity analysis assessed the impact of rock and fluid properties and thermodynamic conditions such as temperature, wettability, and capillary pressure on the total entropy generation. The findings reveal that the capillary pressure significantly impacts the oil and water recovery factor and total entropy production. Additionally, the capillary pressure strongly influences the reservoir production life. The two-phase models show that as the recovery factor increases, the total entropy production decreases at lower production rates. This article helps to address the impact of irreversible processes on multiphase hydrocarbon reservoir operational efficiency. Furthermore, the results obtained from the numerical-simulation model open up a new research area for scholars to maximize the recovery factor using entropy generation minimization in heterogeneous reservoirs.

1. Introduction

Thermodynamics laws can examine various hydrocarbon reservoir energy processes [1]. Entropy is a measure of the molecular configuration probability of a system or the ability of a system to perform valuable work [2,3]. Significant efforts to analyze the reservoir energy lost during production processes have been made in recent years [4,5,6]. This paper focuses on the energy availability that exists in a hydrocarbon reservoir and the irreversible losses that occur during extraction processes.
From a hydrocarbon production point of view, primary reservoir energy plays a vital role in overall petroleum production [7]. The production rate, reservoir pressure, and skin factor influence the reservoir energy and production rate of reservoir fluids [8,9,10,11]. This paper will investigate these factors and other reservoir and operating characteristics, such as capillary pressure and relative permeability. The friction that occurs due to turbulence within the fluid and from the fluid’s movement inside a channel is a leading cause of irreversible energy loss. To decrease reservoir energy loss, vital production-related factors, such as reservoir formation characteristics, properties of reservoir fluids, and production rate, should be considered for more effective design and maintenance.
This paper is an extension of the previous work of Elhaj et al. [10]. The previous study focused on the energy losses in three systems—a reservoir, around a wellbore, and a wellbore—due to production for a single-phase flow, while this paper focuses on two systems—a reservoir and a wellbore—for a two-phase flow using the same principles of thermodynamics that were used in the single-phase case. The fundamentals of single-phase fluid flow are relatively well understood; however, a two-phase flow is more complicated due to the existence of moving and deformable interfaces and interactions among the involved phases.
Multiphase flow involves a heterogeneous mixture of multiple fluids or phases, which are not homogeneously mixed at a molecular level, but which can be identified by macroscopic structures such as solid particles, droplets, and/or bubbles in certain regions. One can classify them according to the state of the two phases or components (e.g., gas–liquid, gas–solid, liquid–liquid, and liquid–solid). Various fluid and energy loss aspects of two-phase flow systems are still poorly understood. This paper focuses on investigating the entropy generation in porous media as well as for a wellbore and multiphase flow.
Miller et al. [12,13] developed a transient multiphase flow finite-difference model for a geometrical well. Initially, the model was developed under the condition of the homogenous flow of one component at thermodynamic equilibrium. The extension of the model then included slip and a finite rate of evaporation. The model is only applicable in a flowing well, which limits the use of this model in a reservoir system.
A Representative Elementary Volume (REV) averaging technique was used to develop balance equations for multiphase flow in porous media [14]. Gray [14] used a technique to derive the vertically averaged balance equations of mass, momentum, energy, and entropy. Past research has neglected the entropy equation for flow in porous media; however, Gray [14] included it and showed significant effects. The transport equations were valid for vapor, liquid, and solid phases.
An important thermodynamic property known as the “availability function” can be used for multiphase well cases to calculate the thermodynamic efficiency, including energy losses due to irreversibility [15,16,17]. The availability function’s benefit is that it captures the thermodynamic efficiency of a system even if no work (production or consumption) is performed on the targeted system. In addition, it has the potential to compare different processes, which may lead to good system improvement possibilities.
A thermodynamic model for separated two-phase flow was developed by Kocamustafaogullari [18]. The two-fluid model was formulated by considering each phase separately. The formulation was expressed in two conservation equation sets (one for each phase). In addition to the continuity, momentum, and energy equations, the enthalpy equations were used together with appropriate conditions to formulate the overall model for the two-phase flow. A stability theory for general separated two-phase flow was developed using the model. The study had no applicability in porous media; however, its fundamental concepts were used in porous media [14].
Previous studies conducted experimental investigations on the system’s thermal performance and entropy generation [19,20]. Those research studies aimed to examine the effect of fluid concentrations on system efficiency. The experimental work presented by Sheikholeslami et al. [21] investigated the effect of vapor quality and nanofluid concentration on entropy generation and exergy losses of nano-refrigerants. It was found that the relationship between nanofluid concentration and the frictional entropy generation is proportional. Rahbar et al. [22] proposed two new empirical correlations to predict water productivity, which resulted in lower entropy generation in triangular and tubular solar stills. This paper will formulate similar concepts but instead apply the formulation to hydrocarbon reservoirs to reduce irreversible losses and improve overall process efficiency.

2. Pressure Profile Formulation

Past models developed by Elhaj et al. [10,11] for single-phase flow will be extended in this work to two-phase flow (oil–water). The following assumptions are made in the modelling approach: the reservoir is an idealized cylindrical geometry; radial flow exists toward the well; the well is vertical and/or deviated; fluid flow is one-dimensional; the fluid is a two-phase system; an isothermal condition is maintained; the production occurs under pseudo-steady state conditions; and a constant flow rate for each phase is assumed in the well.
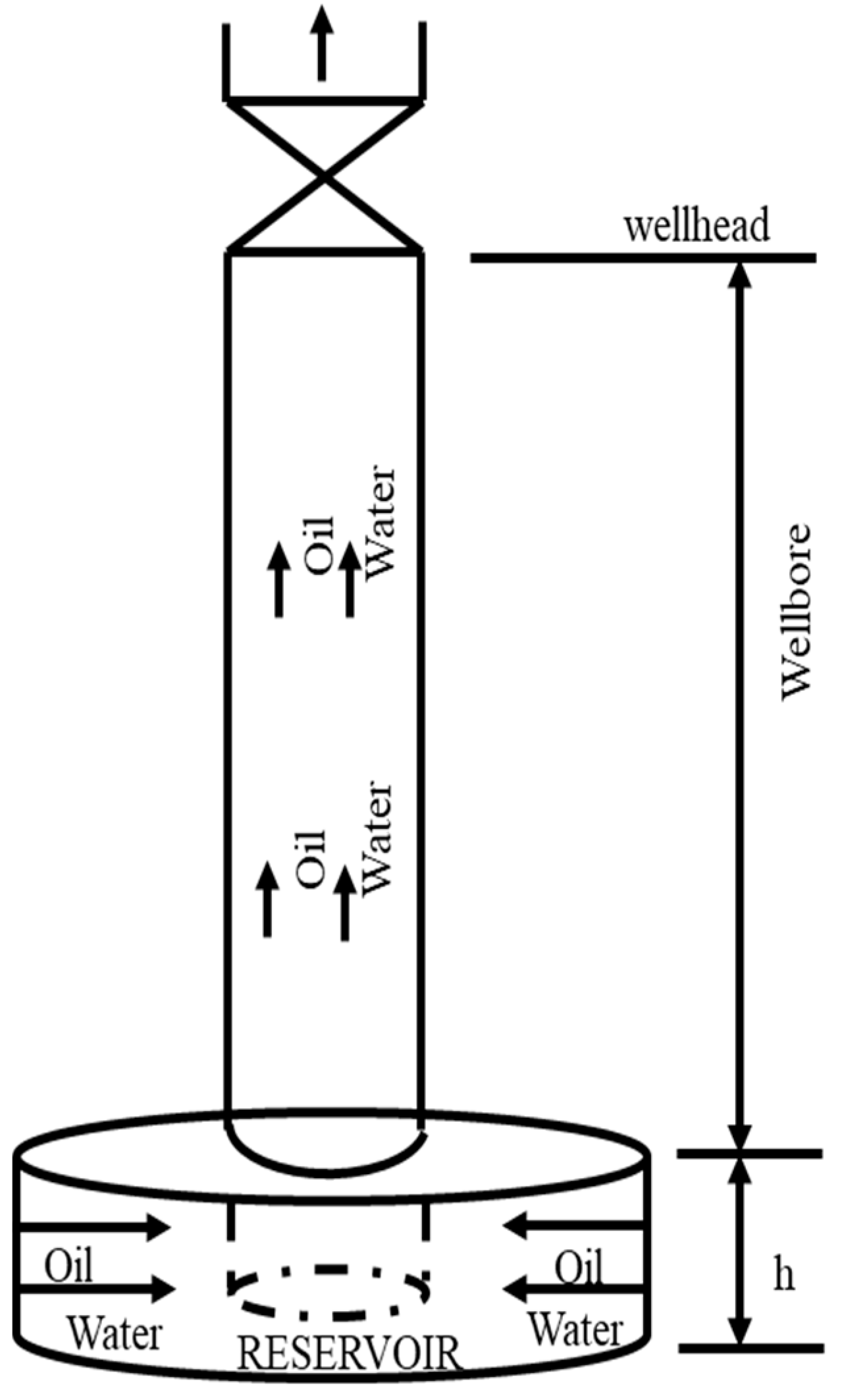
A semi-steady state model will be used to describe the fluid flow in porous media. The properties of hydrocarbon mixtures are assumed to be constant as both systems are assumed to be at isothermal conditions. Figure 1 shows a schematic diagram of a production volumetric reservoir. Two parts will be considered for simulation: (i) a wellbore model and (ii) a reservoir model. The primary fluid flow equations in both systems are the continuity (conservation of mass), momentum, energy, and entropy equations (second law of thermodynamics).
The appropriate governing equations for pipeline and porous media will address the total entropy generation minimization of both systems. The wellbore and reservoir equations will be solved simultaneously. A one-dimensional, two-phase flow model will be developed for the wellbore, while a radial, pseudo-steady state, two-phase flow (oil and water) is assumed for the reservoir system.
For pseudo-steady state flow, the rate of change of pressure with respect to time is assumed to be constant for a reservoir operating at a total constant terminal rate of q tsc [23]. This type of flow occurs if the outer boundary is completely closed. Therefore, the pressure will decline when fluids are removed from the reservoir, since fluids cannot flow across the reservoir boundaries.

2.1. Reservoir Pressure Profile

Consider the constitutive relationships for fluid and rock properties of two-phase flow in porous media. The auxiliary equations are given below [23,24,25].
s o + s w = 1
P cow = P o P w
c o = 1 B o B o P
c w = 1 B w B w P
c r = 1 P
c T = c o s o + c w s w + c r
k o s o = kk ro
k w s w = kk rw
Important parameters characterizing the two-phase flow behavior are auxiliary equations [26] that define the interaction parameter between two phases in a particular system. In this study, the two-phase system is oil and water flowing in the reservoir and wellbore. This study focuses on the relationship between capillary pressure and saturation and the relationship between relative permeability and saturation.
The material balance equations are used for both fluids to find the value of ∂P/∂t for a two-phase flow. The mass balance for oil is given by Aziz and Settari [25]:
t V b ϕ ρ o s o = ρ o q o
where m o = V b ϕ ρ o s o is the oil mass in porous medium; V b is the bulk volume; ϕ represents the porosity; ρ o refers to the oil density; s o introduces the oil saturation; and q o is the oil flow rate.
Taking the partial derivative of Equation (9) for oil and water and adding these two equations:
P o t = q tsc B o ϕ c T h π r e 2
Equation (10) represents the rate of pressure change with respect to time for pseudo-steady state flow.
The continuity equations for the oil and water, respectively, are given by Lee and Wattenbarger [24]:
1 r r r k o μ o B o ρ os P r = t ϕ s o B o ρ os
1 r r r k w μ w B w ρ ws P r = t ϕ s s B w ρ ws
where r is the radius; ϕ stands is the porosity; P represents the pressure; μ o   and   μ w refer to the viscosities for oil and water;  s o   and   s w are the oil and water saturation, respectively; ρ os   and   ρ ws introduce the densities at standard conditions for oil and water, respectively; and B o   and   B w symbolize the formation volume factors for oil and water, respectively.
Referring to Equations (11) and (12) for slightly compressible fluids, assume that P r 2 , P r s o r , and P r s w r are negligible. Taking the partial derivative for the formation volume factor for oil and water phases:
1 r r r   P r = ϕ μ o k o s o P s o B o B o P P t
1 r r r   P r = ϕ μ w k w s w P s w B w B w P P t
The fluid mobility for each phase is defined as follows:
λ o = k o μ o
λ w = k w μ w
The total compressibility for multiphase flow in porous media can be determined from the model given below [24]:
c t = s w P s w B w B w P λ t λ o
Equation (17) is the total compressibility for oil and water as it has both fluid mobilities, and it was developed initially from a series of equations from the diffusivity equation.
Substituting Equation (17) in Equations (13) and (14) gives:
1 r r r P r = ϕ c t λ o P t
Capillary pressure, Pc, is defined as the difference in pressure across the interface between two immiscible fluids.
1 r r r   P r = ϕ c t λ w P t   or 1 r r r   P r 1 r r r   P c r = ϕ c t λ w P t
Equation (18) describes fluid flow through porous media for slightly compressible fluids. Equation (19) includes the capillary pressure as a variable in the fluid flow.
Substituting Equation (10) in Equation (18) leads to:
1 r r r   P r = 1 λ o q sc B h π r e 2
Using the Darcy equation:
d dr q B = 2 r r e q sc
Integrating Equation (21) and using the volumetric flux, and then substituting the result in the Darcy equation give the following pressure distribution in the reservoir:
P r = B l μ l k l q sc 2 π h 1 r r r e 2
Equation (22) represents the pressure distribution in the reservoir for a two-phase flow, which is similar to a single-phase flow except that k l is the effective liquid (oil or water) permeability; μ l is the viscosity of a liquid (oil or water); and B l introduces the liquid (oil or water) formation volume factor.

2.2. Flowing Well Pressure

The governing equation for the well pressure is based on integrating the mechanical energy equation along a streamline within a well at a constant flow rate [27,28], as given below:
1 ρ dP d + v dv d + g c sin θ + dW d = 0
where is the axial coordinate; v refers to the velocity; g c is the gravitational conversion constant; W represents the work; and θ is the inclination angle.
The following relationship determines the pressure loss due to friction along the well length [27]:
dw d = f M v 2 2 D  
where f M is the Moody friction factor and D represents the wellbore diameter.
Taking the derivative of the fluid velocity ( v = 4 q sc B π D 2 ) with respect to pressure leads to:
dv dp = 4 q sc π D 2 dB dp
Using the chain rule and substituting Equations (24) and (25) into Equation (23), the following expression is obtained:
dp l d = g H L + f M 2 D   4 q sc l π D 2 2 B l 2 B l ρ sc l + 4 q sc l π D 2 2 B l dB l dp l
Equation (26) is applicable for both fluids separately in a wellbore.
For both fluids flowing simultaneously, Equation (26) changes to:
dp d = g H L + f M 2 D   4 q tsc π D 2 2 B t 2 B t ρ tsc + 4 q tsc π D 2 2 B t dB t dp
The total formation volume factor and density are given as follows:
B t = B o
ρ t = 1 f w ρ o + f w ρ w
As the water formation factor is generally equal to 1 and is a fragile function of pressure and temperature, it is assumed that the oil formation volume factor has a primary influence at various pressures. Hence, the total formation factor will only be the equation of the change in the oil formation factor.
Then, f w is the water volume fraction or quality [16] that is calculated under surface conditions, as defined below:
f w = q water q total

3. Entropy Generation Minimization

This section describes Entropy Generation Minimization (EGM) as a useful design tool for achieving a higher recovery factor. The second law of thermodynamics, along with EGM, is applied in a wellbore and porous system during fluid production. EGM is used as a design tool to optimize the operating parameters and enhance the recovery factor while concurrently consuming the least amount of available energy.

3.1. Reservoir System

It can be shown that entropy generation in porous media can be expressed as [10]:
S T t = 2 π h r w r e ρ sc f p β u 2 ϕ 1 s wc TB r   dr
where S T represents the total entropy production rate of a radial flow system in a reservoir; h refers to the reservoir thickness; r w is the wellbore radius; r e introduces the reservoir radius; ϕ is the formation porosity; ρ sc introduces the fluid mixture density at standard conditions; f p is the porous medium friction factor; s wc denotes the connate water saturation; T represents the reservoir temperature; β is the non-Darcy coefficient; B is the formation volume factor; and u is the fluid velocity.

3.2. Flowing Well System

A similar equation for single-phase [10] with the modifications of two-phase flow will be used to calculate the total entropy for a flowing well:
S T t l = 0 L ρ sc f M 2 DTB 4 q sc B π D 2 3 d l  

3.3. Total Entropy Generation

It is well known in thermodynamics that the total entropy of a system is given by the following equation.
S T = 2 π h t i t f r w r e 〈S〉 ˙ rdrdt
S ˙  where is the rate of entropy production per unit volume.
Using the previous results, the total entropy production rate for two-phase flow in a reservoir and wellbore system over a time interval from an initial time ti to a final time tf, where the pressure changes from an initial pressure Pi to a final pressure Pf or spatially averaged pressure in pseudo-steady state, becomes:
S T = π r e 2 h q sc P ¯ f P ¯ i S T t well + S T t reservoir ϕ P ¯ c t P ¯ B t P ¯ d P ¯  
Here, B t P ¯ , c t P ¯ , and ϕ P ¯ are functions of the average pressure.

4. Solution Method

To simulate the fluid flow behavior in the reservoir and wellbore, a computer code was generated in MATLAB. The reservoir and wellbore models involve nonlinear partial differential equations that cannot be solved analytically. The solution of the reservoir models is determined in terms of pressure and entropy. In contrast, the solution of wellbore models is obtained in terms of pressure, mixture entropy, and mixture density.
The computer code was developed to simultaneously simulate and solve the flow of two-phase (oil–water) equations in the reservoir and wellbore systems. Both models have nonlinear equations that can be solved using a numerical solution. As there are only spatial changes but no change in the temperature of the reservoir and wellbore, a finite-difference approximation or grid construction is not used as a solution method. Rather, Euler’s method is used for a fast and efficient solution. The outputs of both models are pressure and entropy.
The equations derived in the previous section for two-phase flow in a porous medium and a wellbore are insufficient to describe the fluid flow behavior fully. Additionally, the equations needed are described as follows. The Original Hydrocarbon In Place (OHIP) model by Dake [23] is given by:
N = 7758 Ah ϕ 1 S wi B oi
where N is the OHIP; A introduces the reservoir area; h refers to the reservoir thickness; ϕ is the porosity; S wi represents the initial water saturation; and B oi denotes the initial oil formation volume factor.
The capillary pressure as a function of saturation in field units is defined according to Aziz and Settari [25]:
P c = P nw P w
where P c is the capillary pressure; ρ w introduces the density of water; ρ o refers to the density of oil; and h is the height of the capillary rise.
The effective water saturation is expressed as follows [29]:
S ew = S w S wr 1 S wr S or
In Equation (36), S ew is the effective water saturation; S wr represents the residual water saturation; S or is the residual oil saturation; and S w introduces the water saturation at a different P c .
The fractional oil and water flow are given by the following equations [23,24]:
f w = q w q t   and   f o = q o q t
where f w   and   f o are the water and oil fractional flow, respectively; q w   and   q o refer to the water and oil production rates, respectively; and q t = q w + q o denotes the total production rate.
The relative permeabilities as a function of fluid saturation are given below using Brooks and Corey’s formula [29]:
k rw = s we 2 + 3 λ / λ  
k ro = 1 s we 2   1 s we 2 + λ λ  
where k rw is the water relative permeability; k ro introduces the oil relative permeability; and λ characterizes the pore size distribution of the porous medium (ranging from 0.2–5). Higher values of λ are used for highly homogeneous porous media for which the pore size distribution is narrow [30].
The two-phase model’s solution differs from the single-phase model in some factors/parameters, such as the relative permeability and pressure profiles. It is not straightforward to control each phase’s production at the surface as the pseudo-steady state is required. It is well known that the total production rate (oil and water) that reaches the surface can be controlled. In this paper, an assumption of a constant fractional flow for the entire production time of each phase was made, and the numerical value for each phase was based on a past research by Tillero and Mogollon [31]. In their study, they assumed a fixed percentage of the fluid fraction to maintain the stability of the production for each fluid for simplicity purposes.
The step-by-step algorithm to determine the total entropy production and recovery factor for two-phase flow, as shown in Figure 2, starts by using all the required parameters, such as porosity and relative permeability. Then it calculates the OOIP and the effective water saturation by assuming fractional flow and a degree of reservoir homogeneity. The next step is to calculate the average reservoir pressure using the initial and final relative permeabilities and the pressure profile equations, and then calculate the total entropy production by solving the reservoir and wellbore entropy equations simultaneously. Finally, the recovery factor is calculated and plotted against the total entropy.

5. Results and Discussion

In this study, past single-phase gas models were extended to two-phase (oil–water) fluid flow models. Significant changes in the models were made to simulate the reservoir pressure profiles for fluids, oil and water. It was found that the multiphase reservoir pressure model has a similar structure to that for single-phase flow except in mathematical formulas for total compressibility, viscosity, and permeability. The same assumptions for single-phase flow were applied in the two-phase flow models.
To maintain the production rate constant for both fluids, the fractional flow of water was assumed to be fixed for the entire period of time. The reservoir pressure and BHP were kept above the bubble point to prevent gas production and to keep only two fluids flowing in the reservoir and wellbore. Here, only natural energy mechanisms influenced the reservoir properties; no secondary or tertiary enhanced oil recovery technique was used.
Figure 2. Flowchart for the approach used in two-phase flow.
Figure 2. Flowchart for the approach used in two-phase flow.
Energies 16 04096 g002

5.1. Model Validation

Computer Modelling Group (CMG) simulation software was used to compare real field data with the data obtained from CMG to validate the model. Figure 3 shows a good agreement between the actual field data [32] and CMG predictions; they show the same trend, and the CMG results are reasonable. It is worth noting that Figure 3 was developed under semi-steady state conditions as the production rate was kept constant at 1000 bbl/day from day 10 to 50. It was then decreased to 100 bbl/day from day 50 to 70 to maintain the initial reservoir pressure. Another validation was conducted to examine the results obtained from the proposed model and estimated by CMG. An excellent match was achieved between the proposed model data and CMG’s data. Figure 4 depicts the recovery factor versus time for the proposed models and CMG. The profiles were obtained at a constant Bottom Hole Pressure (BHP).

5.2. Model Results

Based on the two-phase models, the total entropy production decreases at lower production rates as the recovery factor increases. The skin factor effect is significant in recovery, while slight changes occur in total entropy generation. To incorporate the effect of damaged zone around the wellbore, a simple mathematical formula proposed by Hawkins [33] was used in this study and displayed as Equation (41) below:
k d = k s ln r d r w 1
where s is the skin factor; r d is the radius of the damaged region; and r w is the well radius.
Table 1 displays the formation and fluid property data, while Table 2 reports the saturation data [32].
The results obtained from the models are divided into two scenarios: in the absence and presence of capillary pressure. The results from both scenarios are displayed in the figures in this section. To satisfy the assumption of a constant production rate in pseudo-steady state two-phase flow, the fractional flow for oil and water is assumed to be constant for the entire time.
The total entropy production increases as the production rate increases for both oil and water, despite the skin effect, as shown in Figure 5 and Figure 6 for oil and water, respectively. These two figures were obtained at P c = 0 . The general trend of total entropy production versus recovery factor for a two-phase flow is similar to that for a single-phase flow.
The skin factor does not significantly affect the total entropy production due to the high oil viscosity and the low values of effective permeabilities for both oil and water phases. However, it affects the recovery factor. This effect is more pronounced in oil, as shown in Figure 5, while in water, the effect is hardly observable in both the entropy production and recovery factor (see Figure 6). As the reservoir is under a natural energy mechanism and no Enhanced Oil Recovery (EOR) technique is used, the recovery factors for both oil and water are relatively low. The BHP and well head pressure were kept equal to or above the bubble point pressure, 1000 psi, to avoid any gas production at the surface.
Different fractional flows for oil and water for the same skin effect were obtained and depicted in Figure 7 and Figure 8. As the oil production rate decreases at the same skin effect, both the recovery and total entropy production increase (Figure 7). However, the production time increases as the production rate increases. For the water phase, the contrary is observed. Both recovery factor and total entropy production decrease when the water production rate increases, as illustrated in Figure 8. The production time decreases as water production increases.
At no skin effect and no capillary pressure ( P c = 0 ) conditions, when a high oil production rate and a low water production rate were investigated, the total entropy production was higher in water than in oil, as depicted in Figure 9. This phenomenon occurs due to the low water production rate. The water production time is significantly higher than the oil production time in this case. On the other hand, when water and oil production rates are the same, the total entropy production is almost similar, as shown in Figure 10.
The models’ results also reveal that the effect of capillary pressure is significant on both oil and water recovery factors and total entropy production. Figure 11 displays an example of the effect of capillary pressure on the recovery factor and total entropy production when f w = 0.1 . Based on Figure 11, it can be concluded that the change in recovery factor (from 2.5% to 5.5%) is more significant compared with the change in the total entropy production (from 4.7 × 1012 J/K to 1.0 × 1013 J/K).
At the same skin effect, the oil production time required for a higher recovery factor increases as the oil production rate decreases, as depicted in Figure 12. However, at the same oil flow rate and different skin effects, the oil production time for positive skin is less than for negative and zero skin. Figure 12 also reveals that there is not much time difference at the same production rate for negative and zero skin effects.
Capillary pressure has a strong influence on reservoir production life. For example, at a water fractional flow of 0.5, the recovery factor is much higher when capillary pressure is considered than when assuming no capillary pressure effect. However, the time needed to achieve this recovery factor is much higher in the case of capillary pressure, as can be seen in Figure 13.
The multiphase reservoir pressure profile models are similar to those for single-phase except in total compressibility, viscosity, and permeability models. The results of the two-phase models show the same trend as with single-phase models. The two-phase models show that the total entropy production decreases at lower production rates as the recovery factor increases. The skin factor effect on the recovery factor is appreciable, while slight changes occur in total entropy generation.

5.3. Sensitivity Analysis

Most methods to investigate the effect of temperature on oil viscosity are empirical, such as Beal’s correlation, the Beggs–Robinson’s model, and Glaso’s correlation [34]. Sutton and Farshad [35] concluded that Glaso’s correlation yields higher accuracy than Beals’s and Beggs–Robinson’s correlations. Thus, Glaso’s correlation will be used in this work to consider the temperature effect on viscosity. Glaso’s correlation is given below:
μ od = 3.141 10 10 T 460 3.444 log API A
The temperature is in R (Rankine), and the coefficient A is defined as follows:
A = 10.313 log T 460 36.447
The effect of reservoir temperature was investigated over a wide range from 120   ° F to 200   ° F . Viscosity is a function of mainly temperature and density. Therefore, any temperature change will dramatically affect viscosity. The recovery factor increases as the temperature increases, while the entropy production also increases. Figure 14 displays the recovery factor versus entropy production on a semi-log scale at different temperatures.
Figure 15 shows a standard scale for entropy production versus viscosity. When viscosity changes, there is no considerable change in entropy production at low production rates. However, there is a noticeable decrease in entropy production at higher production rates as viscosity increases. The influence of viscosity on the recovery factor at a constant production rate was also investigated. Based on Figure 16, as viscosity increases, the recovery factor decreases at a constant production rate. This decrease is more pronounced at higher and lower production rates.
The impact of wettability on the fluid location and distribution in porous media is essential, as the wettability considerably affects relative permeability. The data used in this paper to investigate the effect of wettability on relative permeability is adopted from [36], as listed in Table 3.
Rock wettability is one of the key factors that affects entropy production. As the relative permeability and capillary pressure are affected by rock wettability, both variables (i.e., relative permeability and capillary pressure) were studied. Based on the literature, the effective oil permeability decreases as wettability increases [37]. The effect of wettability on relative permeability is apparent, as shown in Figure 17. At 100% water-wet, both recovery factor and entropy production exist at their maximum, which agrees with the literature.
On the other hand, when the rock is 100% oil-wet, the recovery factor and entropy are at their minimum levels. Both cases (fully water-wet and fully oil-wet) were tested under different flow rates. The wettability effect on entropy production was investigated at a constant flow rate. As the contact angle increases, the entropy production decreases only for higher production rates. Figure 18 shows entropy production versus contact angles on a standard scale. The same phenomenon was observed when the recovery factor versus contact angle at a constant flow rate was studied (see Figure 19). However, as the production rate increases with wettability changes to become fully water wet, the recovery factor decreases due to the low effective oil permeability. On the contrary, entropy production increases with an increase in production rate.
In conclusion, the effect of capillary pressure is critical in two-phase flow models. However, the change of capillary pressure does not significantly affect the results of two-phase flow models. The high impact of capillary pressure on the model is due to a change in BHP, because when the capillary pressure is assumed to be zero, the BHP for oil and water is equal.
The effects of temperature and rock wettability were considered in the models. As the temperature increases, the total entropy production increases at high production rates. This occurs because the viscosity decreases when the temperature increases, leading to a lower recovery factor and an increase in total entropy production. As the water contact angle increases, the effective permeability of the oil increases. Both the recovery factor and entropy production are at their maximum at complete water saturation condition. However, the recovery factor and entropy are at their minimum levels when the rock is fully oil-wet.

6. Conclusions

This paper has demonstrated the use of entropy generation minimization as a helpful design tool for improving the overall process efficiency of hydrocarbon extraction. The second law of thermodynamics was used to predict the entropy generation in a wellbore and porous system during fluid production. The paper analyzed multiphase flow in both porous medium and wellbore systems. Saturation, capillary pressure, and relative permeability factors were considered. The primary equations included the continuity, momentum, energy and entropy balance equations (second law of thermodynamics). Further supplementary equations, such as capillary pressure equation, effective water saturation equation, fractional flow equation, and relative permeability equations, were also used. Computer Modeling Group (CMG) was used to verify the predicted results. The results of the models showed that the recovery factor and total entropy production change slightly for water upon an increase in water fractional flow. Compared to the oil phase, this might be due to the low water production rate (low water fraction) and low value of water’s relative permeability. As the oil production rate decreases, the recovery factor and total entropy production increase at the same skin factor effect. In contrast, the recovery factor and total entropy production decrease as the water production rate increases. The results also revealed that the capillary pressure significantly impacts both the oil and water recovery factors and total entropy production. Additionally, the capillary pressure strongly influences the reservoir production life. For example, at a water fractional flow of 0.5, the recovery factor is much higher when the capillary pressure is considered compared with the case with no capillary pressure effect. From all the above results and interpretations, we conclude that it is wise and recommended for production engineers and designers to avoid having high values of entropy production in a reservoir, which eventually leads to low recovery factors with high reservoir energy loss.

Author Contributions

Conceptualization, M.A.E. and G.F.N.; methodology, M.A.E., G.F.N., S.A.I. and S.Z.; software, M.A.E.; validation, M.A.E. and S.A.I.; formal analysis M.A.E., G.F.N., S.A.I. and S.Z.; investigation, M.A.E.; resources, G.F.N., S.A.I. and S.Z.; data curation, M.A.E.; writing—original draft preparation, M.A.E.; writing—review and editing, S.A.I., G.F.N. and S.Z.; visualization, G.F.N.; supervision, S.A.I., G.F.N. and S.Z. All authors have read and agreed to the published version of the manuscript.

Funding

This research received no external funding.

Data Availability Statement

Data sharing is not applicable to this article.

Acknowledgments

Financial support from the Natural Sciences and Engineering Research Council of Canada (NSERC), Memorial University, InnovateNL, and Equinor Canada is gratefully acknowledged.

Conflicts of Interest

The authors declare no conflict of interest. The funders had no role in the design of the study; in the collection, analyses, or interpretation of data; in the writing of the manuscript; or in the decision to publish the results.

Disclosure

This manuscript is a part of the PhD thesis of the first author at Memorial University, Canada. Graduate students can submit their thesis either in a traditional way or on the basis of manuscripts. In the latter case, each chapter (manuscript) may be published or submitted or in the preparation process at the time of thesis submission. Thus, the authors confirm that they have followed the Memorial University thesis regulations/guidelines with regard to the manuscript style.

References

  1. Sangi, R.; Müller, D. Application of the Second Law of Thermodynamics to Control: A review. Energy 2019, 174, 938–953. [Google Scholar] [CrossRef]
  2. Bennett, C.H. The Thermodynamics of Computation—A Review. Int. J. Theor. Phys. Vol. 1982, 21, 905–940. [Google Scholar] [CrossRef]
  3. Naterer, G.F.; Camberos, J.A. Entropy Based Design and Analysis of Fluids Engineering Systems; CRC Press. Inc.: Boca Raton, FL, USA, 2008. [Google Scholar] [CrossRef]
  4. Bejan, A. Entropy Generation Minimization: The New Thermodynamics of Finite-Size Devices and Finite-Time Processes. J. Appl. Phys. 1996, 79, 1191–1218. [Google Scholar] [CrossRef]
  5. Bidi, M.; Nobari, M.R.H.; Saffar-Avval, M. A Numerical Evaluation of Combustion in Porous Media by EGM (Entropy Generation Minimization). Energy 2010, 35, 3483–3500. [Google Scholar] [CrossRef]
  6. Torabi, M.; Zhang, Z.; Peterson, G.P. Interface Entropy Generation in Micro Porous Channels with Velocity Slip and Temperature Jump. Appl. Therm. Eng. 2017, 111, 684–693. [Google Scholar] [CrossRef]
  7. Sarathi, P.S.; Tiab, D. Effects of Production Rate on The In Situ Energy Utilization of Dry and Condensate Gas Reservoirs. In Middle East Technical Conference and Exhibition; Society of Petroleum Engineers: Awali, Bahrain, 1981. [Google Scholar] [CrossRef]
  8. Tiab, D.; Sarathie, S.P.; Chichlow, H.B. Thermodynamic Analysis of Gas Reservoirs. In ASME Proceedings, Energy Technical Conference and Exhibition; The American Society of Mechanical Engineering: New Orleans, LA, USA, 1980. [Google Scholar]
  9. Civan, F.; Tiab, D. Second Law Analysis of Petroleum Reservoirs for Optimized Performance. In SPE Production Operations Symposium; Society of Petroleum Engineers: Oklahoma City, OK, USA, 1989. [Google Scholar] [CrossRef]
  10. Elhaj, M.; Imtiaz, S.A.; Naterer, G.F.; Zendehboudi, S. Production Optimization of Hydrocarbon Reservoirs by Entropy Generation Minimization. J. Nat. Gas Sci. Eng. 2020, 83, 103538. [Google Scholar] [CrossRef]
  11. Elhaj, M.A. Entropy Generation Minimization for Enhancing the Fluid Recovery and Energy Efficiency in Petroleum Reservoirs. Ph.D. Thesis, Memorial University, St. John’s, NL, Canada, 2021. [Google Scholar] [CrossRef]
  12. Miller, C. Numerical Model of Transient Two-Phase Flow in a Wellbore. California, 1979. Available online: https://escholarship.org/uc/item/3460s7vc#main (accessed on 11 November 2022).
  13. Miller, C.T.; Christakos, G.; Imhoff, P.T.; McBride, J.F.; Pedit, J.A.; Trangenstein, J.A. Multiphase Flow and Transport Modeling in Heterogeneous Porous Media: Challenges and Approaches. Adv. Water Resour. 1998, 21, 77–120. [Google Scholar] [CrossRef]
  14. Gray, W.G. Derivation of Vertically Averaged Equations Describing Multiphase Flow in Porous Media. Water Resour. Res. 1982, 18, 1705–1712. [Google Scholar] [CrossRef]
  15. Tiab, D.; Duruewuru, A.U. Thermodynamic Analysis of Transient Two-Phase Flow in Petroleum Reservoirs. SPE Prod. Eng. 1988, 3, 495–507. [Google Scholar] [CrossRef]
  16. Duruewuru, A.U. Thermodynamics Analysis of Transient Two Phase Flow in Oil and Gas Reservoirs; University of Oklahoma: Norman, OK, USA, 1985. [Google Scholar]
  17. Bejan, A.; Tsatsaronis, G. Purpose in Thermodynamics. Energies 2021, 14, 408. [Google Scholar] [CrossRef]
  18. Kocamustafaogullari, G. Thermo-Fluid Dynamics of Separated Two-Phase Flow; Georgia Institure of Technology: Atlanta, GA, USA, 1971. [Google Scholar]
  19. Tharayil, T.; Asirvatham, L.G.; Dau, M.J.; Wongwises, S. Entropy Generation Analysis of a Miniature Loop Heat Pipe with Graphene–Water Nanofluid: Thermodynamics Model and Experimental Study. Int. J. Heat Mass Transf. 2017, 106, 407–421. [Google Scholar] [CrossRef]
  20. Haseli, Y. Interpretation of Entropy Calculations in Energy Conversion Systems. Energies 2021, 14, 7022. [Google Scholar] [CrossRef]
  21. Sheikholeslami, M.; Darzi, M.; Li, Z. Experimental Investigation for Entropy Generation and Exergy Loss of Nano-Refrigerant Condensation Process. Int. J. Heat Mass Transf. 2018, 125, 1087–1095. [Google Scholar] [CrossRef]
  22. Rahbar, N.; Asadi, A.; Fotouhi-Bafghi, E. Performance Evaluation of Two Solar Stills of Different Geometries: Tubular versus Triangular: Experimental Study, Numerical Simulation, and Second Law Analysis. Desalination 2018, 443, 44–55. [Google Scholar] [CrossRef]
  23. Dake, L.P. Fundamentals of Reservoir Engineering; Elsevier: Amsterdam, The Netherlands, 1998. [Google Scholar]
  24. Lee, J.; Wattenbarger, R.A. Gas Reservoir Engineering; Society of Petroleum Engineers: Kuala Lumpur, Malaysia, 1996. [Google Scholar]
  25. Aziz, K.; Settari, A. Petroleum Reservoir Simulation; Applied Science Publishers LTD: Grass Valley, CA, USA, 2002. [Google Scholar]
  26. Mori, H. The Study of Constitutive Relationships of Multi-Phase Flow for Geological Carbon Sequestration; Colorado School of Mines: Golden, CO, USA, 2013. [Google Scholar]
  27. Ikoku, C. Natural Gas Production Engineering; John Wiley & Sons: New York, NY, USA, 1984. [Google Scholar]
  28. Naterer, G.F. Advanced Heat Transfer; CRC Press: Boca Raton, FL, USA, 2018. [Google Scholar]
  29. Brooks, R.H.; Corey, A.T. Properties of Porous Media Affecting Fluid Flow. J. Irrig. Drain. Div. 1966, 92, 61–90. [Google Scholar] [CrossRef]
  30. Mahmoodi, M.; Rezaei, N.; Zendehboudi, S.; Heagle, D. Fluid Dynamic Modeling of Multiphase Flow in Heterogeneous Porous Media with Matrix, Fracture, and Skin. J. Hyrogl. 2020, 583, 124510. [Google Scholar] [CrossRef]
  31. Tillero, E.; Mogollon, J.L. Unified Oil and Water Fractional-Flow Functions: Improving Waterflood Performance Analytical Modeling Technique. In Proceedings of the SPE Latin American and Caribbean Petroleum Engineering Conference, Online, 27–31 July 2020. [Google Scholar] [CrossRef]
  32. Jirjees, A.Y.; Jumma, N.; Yashar, J.; Talib, U. Reservoir Modeling Using CMG-2007 for Single Well of Radial Flow. 2012. Available online: https://www.researchgate.net/publication/328917231_Reservoir_Modeling_using_CMG-2007_for_Single_Well_of_radial_Flow (accessed on 7 November 2022). [CrossRef]
  33. Hawkins, M.F. A Note on the Skin Effect. J. Pet. Technol. 1956, 8, 65–66. [Google Scholar] [CrossRef]
  34. Ahmed, T. Equations of State and PVT Analysis Applications for Improved Reservoir Modeling; Elsevier Inc.: Amsterdam, The Netherlands, 2016. [Google Scholar] [CrossRef]
  35. Sutton, R.P.; Farshad, F. Evaluation of Empirically Derived PVT Properties for Gulf of Mexico Crude Oils. SPE J. 1990, 5, 79–86. [Google Scholar] [CrossRef]
  36. Anderson, W.G. Wettability Literature Survey Part 5: The Effects of Wettability on Relative Permeability. J. Pet. Technol. 1987, 39, 1453–1468. [Google Scholar] [CrossRef]
  37. Anderson, W.G. Wettability Literature Survey-Part 3: The Effects of Wettability on the Electrical Properties of Porous Media. J. Pet. Technol. 1986, 38, 1371–1378. [Google Scholar] [CrossRef]
Figure 1. Schematic of a production volumetric reservoir for multiphase flow.
Figure 1. Schematic of a production volumetric reservoir for multiphase flow.
Energies 16 04096 g001
Figure 3. Oil production rate (field data and CMG) in the absence of skin factor.
Figure 3. Oil production rate (field data and CMG) in the absence of skin factor.
Energies 16 04096 g003
Figure 4. Recovery factor versus time (current model and CMG) at constant BHP.
Figure 4. Recovery factor versus time (current model and CMG) at constant BHP.
Energies 16 04096 g004
Figure 5. Recovery factor versus cumulative entropy production at different oil fractional flow values and P c = 0 .
Figure 5. Recovery factor versus cumulative entropy production at different oil fractional flow values and P c = 0 .
Energies 16 04096 g005
Figure 6. Recovery factor based on different values of water fraction flow at no effect of P c .
Figure 6. Recovery factor based on different values of water fraction flow at no effect of P c .
Energies 16 04096 g006
Figure 7. Recovery factor versus cumulative entropy production at different values of oil fractional flow for the same skin factor and no effect of P c .
Figure 7. Recovery factor versus cumulative entropy production at different values of oil fractional flow for the same skin factor and no effect of P c .
Energies 16 04096 g007
Figure 8. Recovery factor versus cumulative entropy production at different values of water fractional flow with no effect of P c .
Figure 8. Recovery factor versus cumulative entropy production at different values of water fractional flow with no effect of P c .
Energies 16 04096 g008
Figure 9. Comparison between f o = 0.9 and f w = 0.1 without skin effect at P c = 0 .
Figure 9. Comparison between f o = 0.9 and f w = 0.1 without skin effect at P c = 0 .
Energies 16 04096 g009
Figure 10. Comparison between f o = 0.5 and f w = 0.5 at no skin effect when P c = 0 .
Figure 10. Comparison between f o = 0.5 and f w = 0.5 at no skin effect when P c = 0 .
Energies 16 04096 g010
Figure 11. Effect of capillary pressure on the recovery factor of the water phase without skin factor.
Figure 11. Effect of capillary pressure on the recovery factor of the water phase without skin factor.
Energies 16 04096 g011
Figure 12. Recovery factor at different values of skin factor at P c = 0   psi . .
Figure 12. Recovery factor at different values of skin factor at P c = 0   psi . .
Energies 16 04096 g012
Figure 13. Effect of capillary pressure on the recovery factor at the same value of f w and skin factor.
Figure 13. Effect of capillary pressure on the recovery factor at the same value of f w and skin factor.
Energies 16 04096 g013
Figure 14. Effect of viscosity on entropy production on the recovery factor.
Figure 14. Effect of viscosity on entropy production on the recovery factor.
Energies 16 04096 g014
Figure 15. Entropy production versus viscosity at a constant flow rate.
Figure 15. Entropy production versus viscosity at a constant flow rate.
Energies 16 04096 g015
Figure 16. Recovery factor versus viscosity at a constant flow rate.
Figure 16. Recovery factor versus viscosity at a constant flow rate.
Energies 16 04096 g016
Figure 17. Effect of wettability as a function of relative permeability on entropy.
Figure 17. Effect of wettability as a function of relative permeability on entropy.
Energies 16 04096 g017
Figure 18. Entropy production versus permeability at a constant flow rate.
Figure 18. Entropy production versus permeability at a constant flow rate.
Energies 16 04096 g018
Figure 19. Recovery factor versus permeability at a constant production rate.
Figure 19. Recovery factor versus permeability at a constant production rate.
Energies 16 04096 g019
Table 1. Data for two-phase flow (oil–water system), adopted from [32].
Table 1. Data for two-phase flow (oil–water system), adopted from [32].
Parameter SymbolValueUnit
Reservoir radius r e 2050 ft
Wellbore radius r w 0.25 ft
Wellbore depth h 1000 ft
Pore compressibility C r 0.000004 psi 1
Water compressibility C w 0.000003 psi 1
Oil compressibility C o 0.00001 psi 1
Oil density ρ o 45 lb m / ft 3
Water density ρ w 63.02 lb m / ft 3
Initial reservoir pressure P i 4000 psi
Capillary pressure at water/oil contact P c 0 psi
Bubble point pressure P b 1000 psi
Absolute permeability k 265 mD
Porosity ϕ 0.13
Reservoir temperature T 180 °F
Initial water formation factor B wi 1.003875 bbl / STB
Initial oil formation factor B oi 1.103875 bbl / STB
Water viscosity μ w 0.9975 cp
Oil viscosity μ o 0.96 cp
Table 2. Saturation data for the modeling and simulations.
Table 2. Saturation data for the modeling and simulations.
SwkrwkroPcow
0.22017
0.30.070.44
0.40.150.1253
0.50.240.06492.5
0.60.330.00482
0.80.6501
0.90.8300.5
1100
Table 3. Effective oil permeability as a function of contact angle.
Table 3. Effective oil permeability as a function of contact angle.
Effective Oil Permeability (mD)Contact Angle (Degrees)
5610 (water-wet)
47247
45990
380138
357180 (oil-wet)
Disclaimer/Publisher’s Note: The statements, opinions and data contained in all publications are solely those of the individual author(s) and contributor(s) and not of MDPI and/or the editor(s). MDPI and/or the editor(s) disclaim responsibility for any injury to people or property resulting from any ideas, methods, instructions or products referred to in the content.

Share and Cite

MDPI and ACS Style

Elhaj, M.A.; Imtiaz, S.A.; Naterer, G.F.; Zendehboudi, S. Entropy Generation Minimization of Two-Phase Flow Irreversibilities in Hydrocarbon Reservoirs. Energies 2023, 16, 4096. https://doi.org/10.3390/en16104096

AMA Style

Elhaj MA, Imtiaz SA, Naterer GF, Zendehboudi S. Entropy Generation Minimization of Two-Phase Flow Irreversibilities in Hydrocarbon Reservoirs. Energies. 2023; 16(10):4096. https://doi.org/10.3390/en16104096

Chicago/Turabian Style

Elhaj, Murtada A., Syed A. Imtiaz, Greg F. Naterer, and Sohrab Zendehboudi. 2023. "Entropy Generation Minimization of Two-Phase Flow Irreversibilities in Hydrocarbon Reservoirs" Energies 16, no. 10: 4096. https://doi.org/10.3390/en16104096

APA Style

Elhaj, M. A., Imtiaz, S. A., Naterer, G. F., & Zendehboudi, S. (2023). Entropy Generation Minimization of Two-Phase Flow Irreversibilities in Hydrocarbon Reservoirs. Energies, 16(10), 4096. https://doi.org/10.3390/en16104096

Note that from the first issue of 2016, this journal uses article numbers instead of page numbers. See further details here.

Article Metrics

Back to TopTop