Assessment of Environmental Pollution in Cement Plant Areas in Romania by Co-Processing Waste in Clinker Kilns
Abstract
:1. Introduction
- -
- The flame temperature is very high (about 2000 °C), and the material reaches 1450 °C;
- -
- At a temperature higher than 1100 °C, the standing time in the oven is around 5 to 6 s;
- -
- There is a corresponding excess of O2 required for the process and the achievement of total combustion;
- -
- Gaseous acids are neutralized by their capture by limestone from raw materials.
2. Materials and Methods
2.1. The Process of Obtaining the Clinker and the Flue Gas Discharge to the Stack
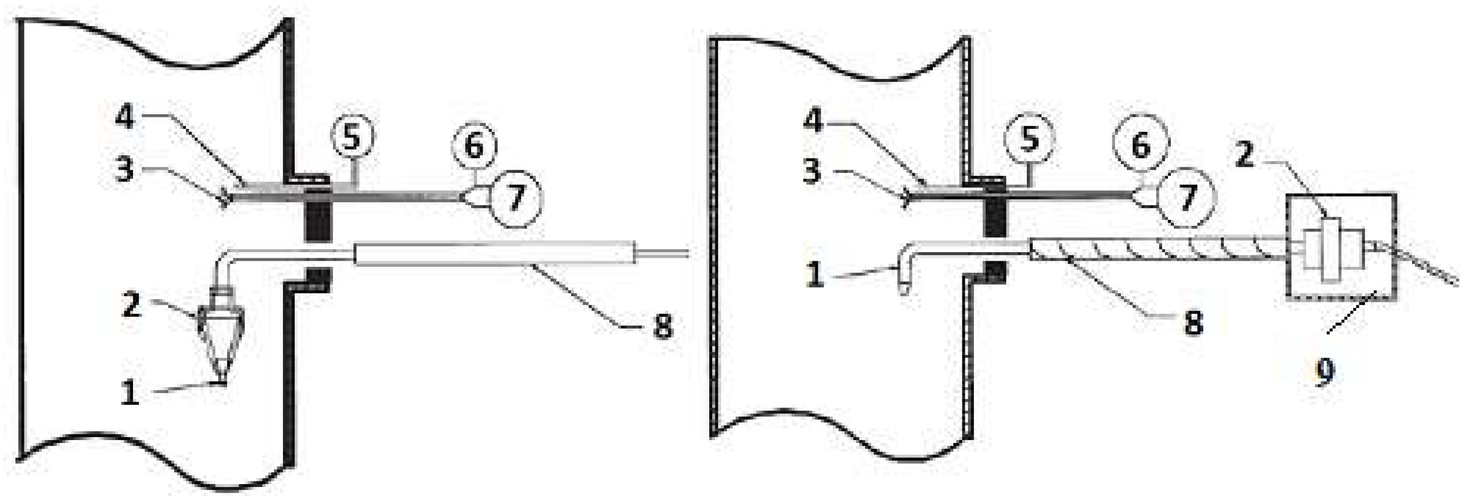
2.2. Isokinetic Sampling of Emissions (Total Dust)
2.3. Flue Gases Extraction (NOx, CO, SO2) from the Stack
- -
- Temperature and composition (O2, CO, NO, NO2, SO2, H2S, CxHy / HC and a module for CO2 measured in IR);
- -
- Temperature, relative humidity, and dew point temperature;
- -
- Gas velocity.
3. Results
3.1. General Sampling Results
3.2. The Characteristics of the Fuels Used in the Combustion Process of the Clincker
3.3. Estimation of Air Pollution Level with Total Dust and Polluting Gases
3.4. Digital Terrain Model and Analyzed Area (Area of Interest)
- Elevation—represents the elevation (altitude) of the terrain for the analyzed objective in relation to the sea level; in this situation, an average elevation value of 494 m was considered.
- Emission—represents the average of the values taken into account; for NOx, SO2, and CO the values from the measurement campaigns carried out by the accredited laboratory were used.
- Stack height—represents the height of each source in relation to the ground level.
- Temperature—represents the average of the values measured by the accredited laboratory for the basket of each machine.
- Speed—represents the speed of the gas in the pipeline and the average of the values measured by the accredited laboratory for each machine was taken into account.
- Diameter—represents the diameter of each stack.
3.5. Estimating the Level of Environmental Pollution with Polluting Gases
4. Discussion
- Dust emissions, measured at the stacks of the equipment belonging to the cement production line in the period January–November 2020, fall within the emission limit imposed by the integrated environmental permit, of 30 mg /Nm3 at 10% O2, with values in the range 3.78–24.57 mg/Nm3;
- Pollutants emissions (dust, NOX, CO, SO2) measured in 2020 (May, June, August, September, and November) at clinker kiln line no. 1 and line no. 2 were within the limit values provided in the integrated environmental permit;
- Emissions of pollutants (dust, NOX, CO, SOx) monitored at clinker kiln line no. 1 and line no. 2 in the conditions of use in the combustion of a thermal energy proportion between 4.98–50.64% combustible waste (used tires, lower coal, railroad sleepers–impregnated wood, fluff, plastic waste, waste paper, and cardboard, used oil, sunflower seed husks, corn biomass, vegetable waste, blast furnace sludge were as follows:
- -
- Dust emissions have been within the limits of the Integrated Environmental Permit (IEP)—30 mg/Nm3 10% O2; the variation range was relatively constant, between 0.48–19.88 mg/Nm3 at 10% O2;
- -
- NOx emissions were within the limit set in the IEP —500 mg/Nm3 at 10% O2; the variation range was between 273.56–484.07 mg/Nm3 at 10% O2;
- -
- SOx emissions were within the limit set in the IEP —400 mg/Nm3 at 10% O2; the variation range was between 4.81–225.79 mg/Nm3 at 10% O2;
- -
- CO emissions were within the limit provided in the integrated environmental permit—2000 mg/Nm3 at 10% O2; the variation range was between 253.08–1523.29 mg/Nm3 at 10% O2.
- Replacement of filters (electrofilter or bag filter) and existing equipment with more efficient and less consuming (different types of separators, respectively adding a Precalciner on the heat exchanger to increase the productivity of the oven);
- Cleaning and maintenance works (water spraying on the factory platform, sweeping, etc.), according to some factory procedures;
- Incineration of waste in the furnace (their type, depending on the incineration, also depends on the resulting pollution).
5. Conclusions
- Carrying out measurements and/or taking over the monitoring data of the pollutant emissions (dust, CO, NOX, and SO2) for the equipment from the production line;
- Interpretation of the results obtained from measurements/monitoring and comparison with the maximum permitted limits contained in the Integrated Environmental Authorization of the cement plant;
- Assessment of environmental pollution by dispersion analysis, based on measurements;
- Establishing pollution reduction measures, if necessary, for compliance with the regulations in place for the cement industry.
- -
- Monitoring the emissions of dust and polluting gases with the frequency provided in the EIA;
- -
- Thorough control of the chemical composition of combustible waste to comply with the required emission limits;
- -
- Maintenance of depollution and monitoring equipment for pollutant emissions to comply with the limit values set out in the EIA.
- ✓
- For waste generators
- -
- The certitude that they have a total elimination with no impact on the environment;
- -
- The life cycle of the products is closed;
- -
- The issues related to negative environmental impact, and also related to penalties, can be resolved.
- ✓
- For cement producers
- -
- The partial use of alternative materials (which will ensure a reduction in the use of traditional fuels and raw materials) is ensured;
- -
- There is active involvement in environmental protection which will lead to the transformation of this industry from the polluter to a person who remediate the problem.
- ✓
- For the community
- -
- Conservation of natural resources is achieved: coal, crude oil (fuel oil), natural gas, limestone, gypsum, marl, etc.;
- -
- CO2, greenhouse gas emissions are reduced;
- -
- The energy efficiency of cement kilns increases;
- -
- The environmental impact is low:
- ○
- Air emissions (strictly regulated) through the oven-heat exchanger system that neutralizes acid gases;
- ○
- A high temperature ensures complete combustion;
- -
- There is no waste (ash or slag) that requires storage (avoid overcrowding of controlled landfills-dumps);
- -
- Environmental risks are reduced (uncontrolled storage, soil and water pollution, etc.).
Author Contributions
Funding
Institutional Review Board Statement
Informed Consent Statement
Data Availability Statement
Conflicts of Interest
References
- Ciobanu, C.; Voicu, G.; Istrate, I.A.; Tudor, P. Pollution reduction through waste co-processing in Romanian cement plants. In Proceedings of the International Symposium ISB-INMA ’2021—Agricultural and Mechanical Engineering, Bucharest, Romania, 29 October 2021; pp. 370–377. [Google Scholar]
- Co-Processing. Available online: https://www.geocycle.com/co-processing (accessed on 10 December 2021).
- Georgiopoulou, M.; Lyberatos, G. Life cycle assessment of the use of alternative fuels in cement kilns: A case study. J. Environ. Manag. 2018, 216, 224–234. [Google Scholar] [CrossRef] [PubMed]
- Ghosh, S.K.; Parlikar, U.V.; Karstensen, K.H. Sustainable Management of Wastes through Co-Processing; Springer Science and Business Media LLC: Singapore, 2022. [Google Scholar]
- The Advantages of Co-Processing Waste (in Romanian). Available online: https://www.holcim.ro/ro/dezvoltare-durabila/avantajele-co-procesarii-deseurilor (accessed on 18 November 2021).
- Baidya, R.; Ghosh, S.K.; Parlikar, U.V. Co-processing of industrial waste in cement kiln—A robust system for material and energy recovery. Procedia Environ. Sci. 2016, 31, 309–317. [Google Scholar] [CrossRef] [Green Version]
- Meystre, J.A.; Silva, R.J. The possibility of coprocessing municipal solid waste—MSW in clinker kilns to cement production. Technol. Therm. Eng. 2013, 12, 34–39. [Google Scholar] [CrossRef]
- Ragazzi, M.; Rada, E.C.; Antolini, D. Material recovery in integrated waste management systems: An innovative approach for the characterization of the gaseous emissions from residual MSW bio-drying. Waste Manag. 2011, 31, 2085–2091. [Google Scholar] [CrossRef]
- Elinwa, A.U.; Mahmood, Y.A. Ash from timber waste as a cement replacement material. Cem. Concr. Compos. 2002, 24, 219–222. [Google Scholar] [CrossRef]
- Rahman, A.; Rasul, M.G.; Khan, M.M.K.; Sharma, S. Industrial Waste as Alternative Fuel in Cement Industry: Its Impact on Environment. In Proceedings of the 7th WSEAS International Conference on Energy & Environment: Recent Researches in Environmental and Geological Science, Kos Island, Greece, 14–17 July 2012; pp. 108–114. Available online: https://hdl.handle.net/10018/927953 (accessed on 20 December 2021).
- Rahman, A.; Rasul, M.G.; Khan, M.M.K.; Sharma, S. Recent development on the uses of alternative fuels in cement manufacturing process. Fuel 2015, 145, 84–99. [Google Scholar] [CrossRef]
- Strigac, J. Effect of selected alternative fuels and raw materials on the cement clinker quality. J. Civ. Eng. 2015, 10, 81–92. [Google Scholar] [CrossRef] [Green Version]
- Clavier, A.; Paris, J.M.; Ferraro, C.C.; Townsend, T.G. Opportunities and challenges associated with using municipal waste incineration ash as a raw ingredient in cement production—A review. Resour. Conserv. Recycl. 2020, 160, 104888. [Google Scholar] [CrossRef]
- Sarmiento, L.M.; Clavier, K.A.; Paris, J.M.; Ferraro, C.C.; Townsend, T.G. Critical examination of recycled municipal solid waste incineration ash as a mineral source for Portland cement manufacture—A case study. Resour. Conserv. Recycl. 2019, 148, 1–10. [Google Scholar] [CrossRef]
- Viczek, S.A.; Aldrian, A.; Pomberger, R.; Sarc, R. Origins of major and minor ash constituents of solid recovered fuel for co-processing in the cement industry. Waste Manag. 2021, 126, 423–432. [Google Scholar] [CrossRef]
- Viczek, S.A.; Aldrian, A.; Pomberger, R.; Sarc, R. Determination of the material-recyclable share of SRF during co-processing in the cement industry. Resour. Conserv. Recycl. 2020, 156, 1046962020. [Google Scholar] [CrossRef]
- Gotze, R.; Boldrin, A.; Scheutz, C.; Astrup, T.F. Physico-chemical characterisation of material fractions in household waste: Overview of data in literature. Waste Manag. 2016, 49, 3–14. [Google Scholar] [CrossRef] [PubMed] [Green Version]
- Co-Processing of Waste in EU Cement Plants: Status and Prospects. Available online: https://circulareconomy.europa.eu/platform/en/good-practices/co-processing-waste-eu-cement-plants-status-and-prospects (accessed on 12 December 2021).
- Kleshchov, A.; Hengevoss, D.; Terentiev, O.; Hugi, C.; Safiants, A.; Vorfolomeiev, A. Environmental potential analysis of co-processing waste in cement kilns. East. -Eur. J. Enterp. Technol. 2019, 4/10, 13–21. [Google Scholar] [CrossRef]
- Bhatty, J.I.; Miller, F.M.; Kosmatka, S.H.; Bohan, R.P. (Eds.) Innovations in Portland Cement Manufacturing; Portland Cement Association: Skokie, IL, USA, 2011. [Google Scholar]
- Odagiu, A. Monitorizarea Calitatii Mediului 1; BIOFLUX Publishing House: Cluj-Napoca, Romania, 2016. [Google Scholar]
- PBL Netherlands Environmental Assessment Agency. Trends in Global CO2 Emissions: 2016 Report. Available online: edgar.jrc.ec.europa.eu/.../jrc-2016-trends-in-global-co2-emissions-2016-report-103425 (accessed on 20 January 2022).
- Chinyama, M.P.M. Alternative Fuels in Cement Manufacturing. In Alternative Fuel; InTech Open: London, UK, 2011; Available online: http://www.intechopen.com/books/alternative-fuel/alternative-fuels-in-cement-manufacturing (accessed on 26 January 2022).
- Powering the Cement Industry. Available online: https://cembureau.eu/media/ckkpgrg1/cembureau-view-cement-sector-electricity-use-in-the-european-cement-industry.pdf (accessed on 10 November 2021).
- Verma, Y.; Mazumdar, B.; Ghosh, P. Dataset on the electrical energy consumption and its conservation in the cement manufacturing industry. Data Brief 2020, 28, 104967. [Google Scholar] [CrossRef] [PubMed]
- Cocarta, D.M.; Rada, E.C.; Ragazzi, M.; Badea, A.; Apostol, T. A contribution for a correct vision of health impact from municipal solid waste treatments. Environ. Technol. 2009, 30, 963–968. [Google Scholar] [CrossRef] [PubMed]
- Kallenborn, R. Persistent organic pollutants (POPS) as environmental risk factors in remote high-altitude ecosystems. Ecotoxicol. Environ. Saf. 2006, 63, 100–107. [Google Scholar] [CrossRef]
- Al-Neaimi, Y.I.; Gomes, J.; Lloyd, O.L. Respiratory illnesses and ventilatory function among workers at a cement factory in a rapidly developing country. Occup. Med. 2001, 51, 367. [Google Scholar] [CrossRef] [Green Version]
- Adak, M.D.; Adak, S.; Purohit, K.M. Ambient air quality and health hazards near min-cement plants. Pollut. Res. 2007, 26, 361–364. [Google Scholar]
- Ikli, B.I.; Demir, T.A.; Urer, S.M.; Beker, A.; Akar, T.; Kalyoncu, C. Effects of chroniuum exposure from a cement factory. Environ. Res. 2003, 9, 113–118. [Google Scholar] [CrossRef]
- Lisnic, R.; Jinga, S.I. Study regarding the efficiency of a wet FGD system on the dispersion of SO2 emissions. Rom. J. Mater. 2021, 51, 78–84. [Google Scholar]
- Radu, D.; Ghizdavet, Z. Relationships between burnability indices of the raw mix for clinker production. Rom. J. Mater. 2016, 46, 303–312. [Google Scholar]
- Buzdugan, G. Calculation of the mineralogical composition of the Portland cement clinker (in Romanian: Calculul compozitiei mineralogice a clinckerului de ciment Portland). In Mechanical Engineer’s Manual; (in Romanian: Manualul Inginerului Mecanic); Technical Publishing House: Bucharest, Romania, 1976; Volume 1, pp. 274–275. [Google Scholar]
- Fechet, R.; Zlagnean, M.; Moanta, A.; Mohanu, I. The effect of mineral sterile from tailing ponds used that the addition of the raw mix, on the properties of clinker and Portland cement. Rom. J. Mater. 2010, 40, 315–322. [Google Scholar] [CrossRef]
- Holcim. Raport Anual de Mediu. 2019. Available online: https://www.holcim.ro/sites/romania (accessed on 22 January 2022).



















| Measurement Date | Emission Source | Combustible, % | Dust (mg/Nm3) | NOx (mg/Nm3) | SO2 (mg/Nm3) | CO (mg/Nm3) | ||
|---|---|---|---|---|---|---|---|---|
| Coal/Cocs (%) | Combustible Waste (%) | |||||||
| 10 November 2020 Cement plant A | Branch A: C.R. 1 + Raw mill | (1) | 89.9 | Fluff—5.05 Cellulose—0.65 Used tires—4.4 | 12.06 | 342.00 | b.d.l. | 436.04 |
| (2) | 9.26 | 263.15 | b.d.l. | 333.66 | ||||
| Branch B: C.R. 1 + Raw mill | (1) | 8.88 | 482.10 | b.d.l. | 523.75 | |||
| (2) | 7.17 | 390.67 | b.d.l. | 421.58 | ||||
| 5 April 2021 Cement plant A | Branch A: C.R. 1 + Raw mill | (1) | 77 | Fluff—6.49 Lower coal—0.7 Used tires—12.68 | 17.18 | 499.85 | b.d.l. | 457.91 |
| (2) | 14.62 | 425.19 | b.d.l. | 388.28 | ||||
| Branch B: C.R. 1 + Raw mill | (1) | 11.53 | 445.53 | b.d.l. | 695.41 | |||
| (2) | 12.34 | 476.63 | b.d.l. | 743.2 | ||||
| C.R. 2 + Raw mill | (1) | 81.97 | Fluff—7.68 Used tires–10.35 | 3.35 | 342.35 | b.d.l. | 111.66 | |
| (2) | 2.96 | 302.85 | b.d.l. | 98.85 | ||||
| 15 October 2019 Cement plant B | C.R. + Raw mill | (1) | 82.35 | Fluff—8.75 Used tires-5.85 Oil waste—3.05 | 4.83 | 183.13 | b.d.l. | 1196.88 |
| (2) | 6.11 | 232.56 | b.d.l. | 1514.02 | ||||
| 8 October 2020 Cement plant B | C.R. + Raw mill | (1) | 80.15 | Fluff—19.85 | 3.22 | 314.47 | b.d.l. | 127.09 |
| (2) | 3.68 | 351.63 | b.d.l. | 138.38 | ||||
| 19 April 2021 Cement plant B | C.R. + Raw mill | (1) | 79.69 | Fluff—3.87 Oil waste—2.54 Used tires—13.9 | 0.49 | 343.50 | b.d.l. | 928.81 |
| (2) | 0.61 | 430.65 | b.d.l. | 1152.76 | ||||
| 14 November 2019 Cement plant C | Branch A: C.R. + Raw mill | (1) | 87.65 | Used tires—12.35 | 6.07 | 433.23 | b.d.l. | 478.54 |
| (2) | 4.98 | 356.09 | b.d.l. | 393.09 | ||||
| Branch B: C.R. + Raw mill | (1) | 6.28 | 441.10 | b.d.l. | 544.59 | |||
| (2) | 5.48 | 385.18 | b.d.l. | 475.45 | ||||
| 10 March 2020 Cement plant C | Branch A: C.R. + Raw mill | (1) | 81.4 | Used tires—18.6 | 8.65 | 448.91 | b.d.l. | 654.16 |
| (2) | 7.29 | 381.90 | b.d.l. | 551.97 | ||||
| Branch B: C.R. + Raw mill | (1) | 12.36 | 292.13 | b.d.l. | 669.38 | |||
| (2) | 6.47 | 235.23 | b.d.l. | 540.67 | ||||
| 24 March 2021 Cement plant C | Branch A: C.R. + Raw mill | (1) | 59.6 | Fluff/Mixed solid waste—20.1 Used tires—20.3 | 1.13 | 324.15 | b.d.l. | 309.38 |
| (2) | 1.02 | 293.43 | b.d.l. | 297.97 | ||||
| Branch B: C.R. + Raw mill | (1) | 1.05 | 480.97 | b.d.l. | 285.21 | |||
| (2) | 0.89 | 406.65 | b.d.l. | 241.09 | ||||
| Limits according to IEP | 30 | 500 | 400 | 2000 | ||||
| Characteristic | U.M. | Value |
|---|---|---|
| LSF (lime saturation factor) | % | 96.3 |
| MSI (silica moduli) | - | 2.15 |
| MAI (alumina moduli) | - | 1.62 |
| CaO liber | % | 0.81 |
| C3S (Bogue calculation) | % | 60.5 |
| C2S (Bogue calculation) | % | 15.17 |
| Clinker Mineralogical Components | Sample 1 | Sample 2 |
|---|---|---|
| Alit, % | ~70 | ~70 |
| Belit% | ~10 | ~10 |
| Interstitial mass, % | ~20 | ~20 |
| Alite crystal dimensions, μm | 3–80 | 3–80 |
| Belite crystal dimensions, μm | 10–25 | 10–25 |
| Characteristic | Fuel Type | |
|---|---|---|
| Coal + Coke Oil Mixture | Fluff | |
| Elementary analysis | ||
| Humidity, % | 1.19 | 3.77 |
| Ash content, % | 14.90 | 14.83 |
| Volatile matter content, % | 19.33 | 65.24 |
| Sulfur content, % | 1.63 | 0.10 |
| Chlorine content | <0.01 | 0.07 |
| Lower calorific value, kcal/kg | 6805 | 4905 |
| Oxidic analysis of ash | ||
| SiO2 | 23.35 | 33.98 |
| Al2O3 | 9.83 | 13.83 |
| Fe2O3 | 1.22 | 8.32 |
| CaO | 14.02 | 22.18 |
| K2O | 1.39 | 1.12 |
| Na2O | 0.37 | 2.46 |
| Characteristic | U.M. | Value |
|---|---|---|
| Fine grinding | ||
| R90μm | % | 5.88 |
| R200μm | % | 1.76 |
| Granulometry | ||
| Cumulative past < 1 μm | % | 1.6 |
| Cumulative past < 4 μm | % | 7.8 |
| D50% | μm | 22.1 |
| Nr | Description | Elevation (m) | Emission (g/s) | Stack Height (m) | Temperature, (°C) | Air Speed (m/s) | Diameter (m) |
|---|---|---|---|---|---|---|---|
| 1 | Kiln stack line 2 | 494 | 36.222 | 67 | 125.43 | 16.67 | 3.6 |
| 2 | Stack 1 (branch A) CR + RM | 494 | 21.178 | 67 | 124.47 | 16.55 | 2.3 |
| 3 | Stack 2 (branch B) CR + RM | 494 | 10.722 | 67 | 127.57 | 16.77 | 2.3 |
| Nr. | Description | Elevation (m) | Emission (g/s) | Stack Height (m) | Temperature, (°C) | Air Speed (m/s) | Diameter (m) |
|---|---|---|---|---|---|---|---|
| 1 | Kiln stack line 2 | 494 | 5.242 | 67 | 125.43 | 16.67 | 3.6 |
| 2 | Stack 1 (branch A) CR + RM | 494 | 7.270 * | 67 | 124.47 | 16.55 | 2.3 |
| 3 | Stack 2 (Branch B) CR + RM | 494 | 7.270 * | 67 | 127.57 | 16.77 | 2.3 |
| Nr. | Description | Elevation (m) | Emission (g/s) | Stack Height (m) | Temperature, (°C) | Air Speed (m/s) | Diameter (m) |
|---|---|---|---|---|---|---|---|
| 1 | Kiln stack line 2 | 494 | 86.916 | 67 | 125.43 | 16.67 | 3.6 |
| 2 | Stack 1 (branch A) CR + RM | 494 | 13.029 | 67 | 124.47 | 16.55 | 2.3 |
| 3 | Stack 2 (branch B) CR + RM | 494 | 11.087 | 67 | 127.57 | 16.77 | 2.3 |
| Source | Maximum Hourly Concentration, (μg/m3/h) | Maximum Annual Concentration, (μg/m3/year) |
|---|---|---|
| Clinker kiln—modeled values | 120.74 | 3.87 |
| Limit value—Law 104/2011 for the protection of human health | 200 | 40 |
| Limit value—Law 104/2011 for the protection of vegetation and natural ecosystems | - | 30 |
| Source | Daily Concentration (Average for 8 h), mg/m3 |
|---|---|
| Clinker kiln—modeled values | 0.050 |
| Limit value—Law 104/2011 for the protection of human health | 10 |
| Source | Maximum Hourly Concentration, μg/m3 | Maximum Daily Concentration, μg/m3 |
|---|---|---|
| Clinker kiln—modeled values | 23.71 | 6.69 |
| Limit value—Law 104/2011 for the protection of human health | 350 | 125 |
Publisher’s Note: MDPI stays neutral with regard to jurisdictional claims in published maps and institutional affiliations. |
© 2022 by the authors. Licensee MDPI, Basel, Switzerland. This article is an open access article distributed under the terms and conditions of the Creative Commons Attribution (CC BY) license (https://creativecommons.org/licenses/by/4.0/).
Share and Cite
Ciobanu, C.; Tudor, P.; Istrate, I.-A.; Voicu, G. Assessment of Environmental Pollution in Cement Plant Areas in Romania by Co-Processing Waste in Clinker Kilns. Energies 2022, 15, 2656. https://doi.org/10.3390/en15072656
Ciobanu C, Tudor P, Istrate I-A, Voicu G. Assessment of Environmental Pollution in Cement Plant Areas in Romania by Co-Processing Waste in Clinker Kilns. Energies. 2022; 15(7):2656. https://doi.org/10.3390/en15072656
Chicago/Turabian StyleCiobanu, Cristian, Paula Tudor, Irina-Aura Istrate, and Gheorghe Voicu. 2022. "Assessment of Environmental Pollution in Cement Plant Areas in Romania by Co-Processing Waste in Clinker Kilns" Energies 15, no. 7: 2656. https://doi.org/10.3390/en15072656
APA StyleCiobanu, C., Tudor, P., Istrate, I.-A., & Voicu, G. (2022). Assessment of Environmental Pollution in Cement Plant Areas in Romania by Co-Processing Waste in Clinker Kilns. Energies, 15(7), 2656. https://doi.org/10.3390/en15072656

