Next Article in Journal
Research on Energy Structure Optimization and Carbon Emission Reduction Path in Beijing under the Dual Carbon Target
Previous Article in Journal
Electricity Demand Forecasting with Use of Artificial Intelligence: The Case of Gokceada Island
 
 
Font Type:
Arial Georgia Verdana
Font Size:
Aa Aa Aa
Line Spacing:
Column Width:
Background:
Article

Estimation of Priming Mixture Force

Faculty of Mechatronics, Armament and Aerospace, Institute of Armament Technology, Military University of Technology, 2 Gen. S. Kaliskiego Street, 00-908 Warsaw, Poland
*
Author to whom correspondence should be addressed.
Energies 2022, 15(16), 5952; https://doi.org/10.3390/en15165952
Submission received: 21 July 2022 / Revised: 11 August 2022 / Accepted: 14 August 2022 / Published: 17 August 2022

Abstract

This paper presents the results of the estimation of the priming mixture force for primers used in 12.7 mm ammunition. The method of estimation is based on the results of pressure measurements in a closed chamber into which the products of the combustion of the priming mixture flowed. The capacity of the chamber was changed by inserting sleeves of various volumes. Another estimation of the force value was performed using the results of earlier investigations in which the chamber was filled with glass balls. The determined values of the force were compared with the values estimated based on the accessible literature data. The obtained estimations of the force value are of the same order of magnitude as the force value of black powder. This justifies the use of black powder characteristics for the assessment of the thermodynamic properties of priming mixture combustion products in interior ballistics calculations. The time of action of the investigated primer was determined using the optical recording of the outflow of the priming mixture combustion products into an open space. To facilitate the interpretation of the results of the experiments, a theoretical model was used.

1. Introduction

In the interior ballistics lumped parameter model described in STANAG 4367 [1], the thermodynamic properties of the priming mixture, such as the force and the covolume, are used as the input data. However, as a rule, these data are not often available. This is why the data for black powder are often used as an approximation of the force and covolume values of the priming mixtures. There are very few accessible data that can be used for the verification of this approach.
In [2], an attempt was made to calculate the value of the force using the thermodynamic code Cheetah. The calculations were performed for the priming mixture used in the primer N. 41, which contains lead styphnate (37%), barium nitrate (32%), antimony sulphide (15%), aluminium powder (7%), tetracene (4%) and PETN (5%). It was assumed that the explosives and aluminium undergo the reaction, while barium nitride and antimony sulphide act as heat sinks when they are heated to the boiling temperature. The mass of the priming mixture was equal to 25 mg, which corresponds to a loading density of 13.9 kg/m3 in a chamber with a capacity of 1.8 cm3. The following results were obtained: the force value = 540 kJ/kg, the covolume = 0.635 dm3/kg, the polytropic exponent = 1.176 and the temperature = 2797 K. The content of the solid products was estimated to be equal to 60% of the priming mixture mass. The estimated value of the force is much higher than the value determined in [3] for black powder, namely 298 kJ/kg. However, the pressure value calculated in [2], 7.4 MPa, was much higher than the value of 3 MPa measured under the same conditions in [4]. This suggests that the value of the force given in [2] may be overestimated.
The content of the solid products estimated in [2] can be compared with the estimations completed in [5,6]. In the first work, a value of 40% was established. In [6], the products of the combustion of the priming mixture of N. 41 primer were captured in a chamber with a capacity equal to the capacity of a 5.56 mm cartridge case. It was estimated that the solid products in the chamber formed 34% of the mass of the priming mixture, while at least 10% of the mass remained in the primer. The two estimates of the content of solid products made in [5,6] agree, but they are considerably lower than the estimates made in [2]. This also raises doubts concerning the correctness of the force value estimated in [2].
The aim of this work was to estimate the force value of the priming mixture in a primer used in 12.7 × 99 mm ammunition with an M33 Ball projectile produced by MESKO S.A. (Skarżysko Kamienna, Poland). The experimental setup used in [7] to determine the ignition pressure value was used. Based on the results of pressure measurements, three approaches for the estimation of the priming mixture force were applied. Moreover, the accessible literature data were analyzed from the point of view of the assessment of the priming mixture force. The investigations also included the optical recording of the outflow of the priming mixture combustion products into an open space and an attempt to model theoretically the processes taking place in the experimental setup.

2. Method

2.1. Experimental Investigation

The experimental setup is shown schematically in Figure 1.
The experimental setup was composed of a chamber with a capacity of 17.5 cm3, which is equal to the capacity of the case of the 12.7 × 99 mm cartridge (the volume of the projectile bottom was taken into account); the piezoelectric gauge; the primer, and the firing device. The pressure gauge AVL 5QP2000M (AVL, Graz, Austria) with a pressure range of 200 MPa was used. The gauge signal was recorded by Kistler transient recorder Type 2519A (Kistler, Winterthur, Switzerland) with a sampling frequency of 1 MHz. The signal was filtered by a 20 kHz low-pass filter.
The capacity of the chamber was limited by inserting sleeves with an external diameter of 17.5 mm, an internal diameter of 10 mm, and lengths of 32, 48, and 64 mm. The sleeves were positioned inside the chamber on the primer side. The longest sleeve limited the capacity of the chamber to the free volume in the cartridge. The shorter sleeves corresponded to free volumes that were larger than the free volume in the cartridge by 32.5% and 65%.
The measurements performed in [7] established that the mass of the priming mixture was 122 ± 10 mg, while the mass of the priming mixture products entering the chamber was 88 ± 5 mg.
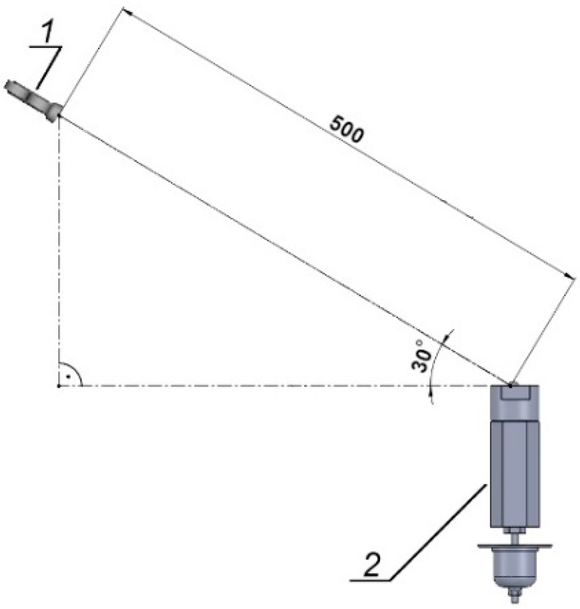
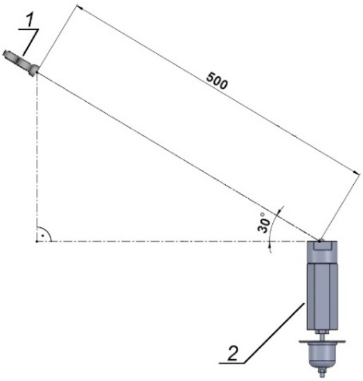
In order to assess the time of action of the priming impulse, the optical recording of the outflow of the priming mixture combustion products into open space was performed. The experimental setup used is shown schematically in Figure 2. The camera Phantom v1612 (Vision Research, Wayne, NJ, USA) with the frequency 100,000 fps and 10 μs exposition time was used. The angle between the optical axis of the camera and the axis of the primer was 60°.

2.2. Mathematical Model

The aim of the modeling was to perform a qualitative analysis of the gas dynamical processes taking place in the experimental setup. This is why a simplified model was used. It is defined by the following assumptions:
  • The reaction of the priming mixture can be treated as an instantaneous detonation.
  • The combustion products are treated as a perfect gas.
  • Transport phenomena (diffusion, viscosity, thermal conductivity) are neglected.
  • The heat losses to the chamber walls are neglected.
  • The motion of the gas is treated as cylindrically symmetric.
  • The influence of the channel connecting the chamber to the pressure sensor can be neglected. Thus, the pressure recorded by the sensor can be calculated as the pressure value at the wall enclosing the chamber, averaged over the area of the channel inlet.
It can be concluded from the results of experiments performed in [8], that the pressure rise inside the primer takes place in the time period of the order of 10 μs. The optical observations of the outflow of the combustion products from the primer, performed in [4] and in this work, showed that the outflow lasts for at least 1 ms. Two orders of magnitude differences between the priming mixture reaction time and the outflow time enabled us to assume instantaneous detonation.
The priming mixture combustion products have the form of a two-phase gas–solid mixture. Theoretical description of the flow of such a mixture is very complicated, as shown in [2]. However, the gas dynamical phenomena inside the experimental setup were mainly driven by the expansion of the gas phase. So, the role of the solid phase can be neglected. Because we aimed to use the results of modeling only for qualitative interpretation of the experimental results, this simplification is acceptable.
The transport phenomena and the heat losses play an important role in the modeled processes. However, they do not change the qualitative features of the gas dynamical processes inside the experimental setup. That is why they were neglected.
The experimental setup is cylindrically symmetric. So, the flow inside it can be assumed as having the same symmetry.
The flow inside the channel connecting the chamber to the pressure sensor influences the pressure records. A comparison of results of modeling of this flow and results of modeling in accordance with assumption 6 showed that the differences in calculated pressure courses are moderate. That is why the assumption was accepted.
The balance equations of the mass, momentum, and energy in the space cell shown in Figure 3 have the following forms:
t t + Δ t V ρ d V = t t + Δ t S L + S D ρ u n d S t t + Δ t S P + S G ρ u n d S ,
t t + Δ t V ρ u d V = t t + Δ t S L + S D ( ρ u ) u n d S + t t + Δ t S L + S D p n d S + t t + Δ t S P + S G ( ρ u ) u n d S t t + Δ t S P + S G p n d S + 2 t t + Δ t S F p n d S ,
t t + Δ t V ρ e d V = t t + Δ t S L + S D ( ρ e + p ) u n d S t t + Δ t S P + S G ( ρ e + p ) u n d S .
These equations contain the time variable t, axial and radial variables x and r, flow velocity u, density ρ, pressure p, specific energy e, normal vector n, volume V and surface area S. The partitioning of the primer and the chamber interior into cells is illustrated in Figure 4.
The initial conditions have the following form:
{ u x , u r , p , ρ } ( x , r , 0 ) = { { 0 , 0 , p 01 , ρ 01 } x [ 0 , x 1 ] { 0 , 0 , p 02 , ρ 02 } x ( x 1 , x 4 ] ,
where p01 and ρ01 are the initial pressure and density of the gas inside the primer, respectively, and p02 and ρ02 are the initial pressure and density of the gas in the chamber, respectively. The boundary condition has the following form:
u n ( x , r , t ) = 0 { x , r , t } Σ R .
The symbol ∑R represents the boundary of the area shown in Figure 4.
By averaging the values of the parameters inside the cell shown in Figure 3 and on its boundaries, the following finite difference forms of the balance equations can be obtained:
m ( t + Δ t ) = m ( t ) + [ ( S ρ u ) L ( S ρ u ) P + ( S ρ u ) D ( S ρ u ) G ] Δ t ,
P x ( t + Δ t ) = P x ( t ) + [ ( S ρ u x 2 ) L ( S ρ u x 2 ) P + ( S ρ u x u r ) D ( S ρ u x u r ) G ] Δ t + + [ ( S p ) L ( S p ) P ] Δ t ,
P r ( t + Δ t ) = P r ( t ) + [ ( S ρ u r u x ) L ( S ρ u r u x ) P + ( S ρ u r 2 ) D ( S ρ u r 2 ) G ] Δ t + + [ ( S p ) D ( S p ) G + p ( t ) S F ] Δ t ,
E ( t + Δ t ) = E ( t ) + [ S L u L ( ρ e + p ) L S P u P ( ρ e + p ) P ] Δ t + + [ S D u D ( ρ e + p ) D S G u G ( ρ e + p ) G ] Δ t .
These equations include the mass in the cell m, the momentum components Px and Pr, and the total energy in the cell E. In accordance with Godunov’s method [9], the values of the parameters at the cell boundaries are determined based on the solution of the Riemann problem. The values of the volume V and the surface areas of the cell boundaries, divided by the angular size of the cell, are calculated using the following formulae:
V i = S L Δ x ,
S L = S P = [ ( r + Δ r ) 2 r 2 ] / 2 ,
S D = r Δ x ,
S G = ( r + Δ r ) Δ x ,
S F = Δ x Δ r ,
where Δx and Δr are the spatial steps and the radial coordinate r corresponds to the surface SD in Figure 3. After the calculation of the extensive parameter values, the intensive parameter values are calculated:
ρ ( t + Δ t ) = m ( t + Δ t ) V ,
u x ( t + Δ t ) = P x ( t + Δ t ) m ( t + Δ t ) ,
u r ( t + Δ t ) = P r ( t + Δ t ) m ( t + Δ t ) ,
ε ( t + Δ t ) = E ( t + Δ t ) m ( t + Δ t ) u x 2 + u r 2 2 ,
p ( t + Δ t ) = ( γ 1 ) ρ ( t + Δ t ) ε ( t + Δ t ) ,
c ( t + Δ t ) = k p ( t + Δ t ) ρ ( t + Δ t ) .
These equations include the specific internal energy ε and the sound velocity c.

3. Results and Discussion

3.1. Estimation of the Force Value

Based on the measurements of the mass of the primers before and after firings, the mass of the priming mixture combustion products that entered the chamber was assumed to be equal to 88 mg [7]. By dividing this mass by the capacity of the chamber, the loading density values were calculated (see Table 1).
For the estimation of the force value fs, the following form of the Abel–Noble equation of state for the mixture of gaseous and condensed combustion products is used:
p max ( Δ 1 η μ s ρ s ) = ( 1 μ s ) R μ T f = f s .
This equation includes the maximum pressure value pmax, loading density Δ, covolume of the gaseous products η, the mass content of the condensed products μs, the average density of the condensed products ρs, gas constant Rm and adiabatic flame temperature Tf. Equation (21) shows that as the content of the condensed products increases, the value of the force diminishes. This is why the force value of black powder, which is characterized by a high content of condensed combustion products, is much lower than the force value of smokeless propellants (298 kJ/kg [3] versus 900–1300 kJ/kg). A similar situation occurs in the case of priming mixtures. The sum of the covolume of gaseous products and the volume of condensed products for black powder is equal to 0.5 dm3/kg [3]. This value is close to the value of 0.635 dm3/kg estimated in [2] for a priming mixture. For the highest value of the loading density in Table 1, the value of Δ−1 is equal to 87.5 dm3/kg. This value is two orders of magnitude higher than the expected value of η + μs/ρs. Thus, for the estimation of the force value, the following simplified formula can be applied:
f s = p max / Δ .
The values of pmax were determined based on smoothed pressure courses in order to restrain the effects of wave reverberations. A comparison of the measured and smoothed pressure courses is presented in Figure 5.
The outflow of the priming mixture combustion products from the primer vent induces an intensive blast wave. Its reflection at the end of the chamber causes a dynamic effect. To take this into account, the dynamic coefficient was assumed to be equal to 2. Thus, the values of pmax, before the force value was calculated using Equation (22), were divided by this value. The calculated values of fs for all tests are shown in Figure 6. The horizontal line represents the mean value of 271 kJ/kg. The uncertainty of the mean value for the 95% confidence level is equal to 27 kJ/kg.
The decrease in pressure after the maximum is caused by the gas dynamical processes and heat losses to the chamber walls. If the decrease in pressure was the only effect of the heat losses, the pressure value would diminish exponentially. In this case, the value of ln p would change linearly with time. Figure 7 shows how the ln p value changes with time. The plot is not linear. However, it approaches the linear approximation (the red line in Figure 7). This suggests that after 15 ms, the changes in the pressure are caused by heat losses. Because heat is also lost before this moment, the linear plot is extrapolated to the moment when the maximum pressure value is attained (the vertical line in Figure 7). In this way, a hypothetical maximum pressure value for eliminated dynamical effects is estimated. The values of the force calculated based on such values of pmax are shown in Figure 8. The mean value is equal to 263 ± 73 kJ/kg.
Another approach to the estimation of the force value is based on the maximum pressure values determined in [7] for a chamber filled with glass balls with diameters of 2 mm or 4 mm. The loading density value calculated for 2 mm balls was equal to 14.30 kg/m3, and for 4 mm balls, it was equal to 14.22 kg/m3. The dynamical effect is considerably weakened during the penetration of the bed of glass balls. Thus, the measured pressure values can be used to calculate the force value. The estimated force values are 67 ± 8 kJ/kg for 2 mm balls and 211 ± 28 kJ/kg for 4 mm balls. The large difference between these values is caused by the difference in the amount of heat absorbed during the filtration process. The bed of 2 mm balls has a surface area that is 2.25 times larger than that of the bed of 4 mm balls. Moreover, the average pressure rise time for 2 mm balls is three times longer than that for 4 mm balls. Based on this, we can estimate the value of the force in the following way. The force value is proportional to the heat of combustion Qs:
f s = θ Q s .
The values of the force determined for the case of glass ball fillings are affected by the heat losses. So, they are related to the heat of combustion by the formula:
f i = θ ( Q s Q h i ) = f s θ Q h i .
The symbol Qhi means the heat losses for a given glass filling. We can assume the following approximate relation between the heat losses for 4 mm glass ball filling (i = 4) and for 2 mm glass balls fillings (i = 2):
3 × 2.25 Q h 4 = Q h 2 .
Thus, the following approximate relation can be assumed:
3 × 2.25 ( f s f 4 ) = f s f 2 .
The symbols f2 and f4 indicate the force values determined for 2 mm and 4 mm balls, respectively. From Equation (26), a force value of 259 ± 42 kJ/kg is obtained.
The composition of the priming mixture in the analyzed primer differs from that used in the N. 41 primer investigated in [4,8]. Nevertheless, it would be interesting to compare the estimated force values with values characterizing other priming mixtures. In [4,8], the value of the force was not estimated. However, based on the presented results, an indirect estimation can be performed. In [8], the pressure values inside the primer were estimated. The estimation was based on measuring the force transferred from the primer cup to a force washer. The maximum pressure values showed a very large amount of scattering. They ranged from approximately 20–300 MPa. The most frequent value was equal to 95.7 MPa for primers produced in 1990 and 129.7 MPa for primers produced in 2010. The changes in the pressure value in time were illustrated in Figure 7 of [8]. The maximum pressure value was equal to 256 MPa and was close to the upper limit of the pressure value range. The pressure rise time was 18 μs. When interpreting the results of [8], it should be taken into account that the force value was transferred to the force washer by a massive element (force reductor). This means that the recorded force values may differ from the real values. To analyze a possible deformation of the signal, a simple estimation was made. We assumed that instantaneous detonation and the linear decrease in the pressure inside the primer occurred. Treating the set consisting of the force reductor and the force washer as a harmonic oscillator we can make use of the solution for forced vibrations:
x ( t ) = 1 m ω 0 0 t F ( τ ) sin [ ω 0 ( t τ ) ] d τ
Here, F(t) is the force exerted at the force reductor by the primer, m is the mass of the force reductor, ω0 is the free vibration frequency. Let us assume that the force changes in time are described by the following function:
F ( t ) = F 0 ( 1 t t 1 )
After inserting this function into Equation (27), we obtain:
x ( t ) = F 0 m ω 0 0 t ( 1 τ t 1 ) sin [ ω 0 ( t τ ) ] d τ
The force recorded by the force washer can be expressed as:
F s ( t ) = k s F 0 m ω 0 0 t ( 1 τ t 1 ) sin [ ω 0 ( t τ ) ] d τ
Here, ks represents the rigidity of the force washer. Making use of the relation:
ω 0 = k s m
We come to:
F s ( t ) F 0 = ω 0 0 t ( 1 τ t 1 ) sin [ ω 0 ( t τ ) ] d τ
The average pressure value in the primer is proportional to the force Fs. So, we obtain the following equation:
p ( t ) p 0 = ω 0 0 t ( 1 τ t 1 ) sin [ ω 0 ( t τ ) ] d τ
After performing integration we come to the following formula:
p s ( t ) p 0 = ( 1 t t 1 ) ( 1 cos ω 0 t ) + 1 ω 0 t 1 [ ω 0 t cos ω 0 t + sin ω 0 t ] .
The time constant t1 determines the rate of the pressure decrease inside the primer, and ω0 is the free vibration frequency. By properly choosing t1 and ω0 values, the pressure rise time of 18 μs was obtained. Figure 9 presents the assumed pressure time course inside the primer and the pressure course calculated using Equation (33). There is a qualitative agreement between the pressure course shown in Figure 7 of [8] and the calculated pressure course. This demonstrates that the pressure values determined in [8] may be overestimated. The faster the reaction of the primer, the greater the dynamic coefficient value. Thus, the scatter of the pressure values illustrated in Figure 13 of [8] is lower than estimated. The highest values (approximately 300 MPa) should be divided by 2. Thus, the pressure value of 150 MPa can be used for the estimation of the force value. The capacity of the primer chamber is found to be equal to 43 mm3. By dividing the mass of the priming mixture (25 mg) by this capacity, a loading density equal to 581 kg/m3 is obtained. It is very close to the value estimated for the primer analyzed in this work, namely 576 kg/m3. By assuming that the covolume has a value of 0.5 dm3/kg, we obtain a force value equal to 183 kJ/kg. This value can be corrected by considering only the mass of the priming mixture combustion products leaving the primer. In accordance with the results of [6], the upper limit of this mass is 0.9 of the priming mixture mass. The corrected estimate of the force value is 212 kJ/kg.
Another estimation can be made based on the results of [4]. The maximum pressure value produced by N. 41 primer in a chamber with a capacity of 1.8 cm3 was equal to 3 MPa. By plugging this value and the loading density value of 13.9 kg/m3 into Equation (22), a value of 216 kJ/kg is obtained. By correcting this value in the way described above, we obtain a value of 240 kJ/kg.
In a similar way, the value of the force was estimated based on the results of [10]. In that work, the pressure values were measured inside a chamber with a capacity of 1.9 cm3. The values of the loading density for primers denoted as Batches P, 1, 2, and 3 ranged from 10.5 to 11.7 kg/m3. The compositions of the priming mixtures differed only slightly. Thus, they can be treated as the same priming mixture. Using 14 maximum pressure values given in [10], the force value was estimated to be 389 ± 24 kJ/kg.
Figure 10 presents a comparison of the estimated force values. Despite the fact that they differ considerably, their order of magnitude is similar to the order of magnitude of the force value of black powder. Thus, if there is no available information concerning the real characteristics of the priming mixture, using the values for black powder is acceptable. The amount of priming mixture products in the propellant combustion products is as a rule very low. Thus, using the approximate characteristics of the priming mixture is justified.
There is a little attention devoted in the literature to the reasons behind the scatter in the level of the primer reaction. The scatter of the mass of the priming mixture and the scatter of the mass of the priming mixture combustion products entering the chamber are too small to have caused the observed scatter of the pressure values. In [10], the authors guessed that the observed scatter of the primer output may be the result of the relationship between the mass of the priming mixture and the mass of the grains of the components. The mass of the priming mixture is small, while the grains of the ingredients are relatively large. Thus, the number of grains of a given component inside the primer may vary in some range. This means that the real priming mixture composition may differ from the nominal composition. Following this line of thinking, we can suppose that the position of the grains of primary explosives relative to the anvil can also vary. This position may influence the reaction of the primer. The most violent reaction is a form of detonation. Taking into account the size of the primer and the order of magnitude of the detonation velocity, a reaction time on the order of 1 μs can be expected. In the case of a relatively slow reaction, the pressure rise in the primer is limited by the outflow of gases through the primer vent. Thus, the scatter of pressure values measured inside the chamber in this work can be explained by the level of the reaction of the priming mixture to the pin impact.

3.2. Analysis of the Results of Modeling

The modeling of the processes taking place in the experimental setup shown in Figure 1 was performed for an initial pressure value inside the primer of 154 MPa. The gaseous products of the priming mixture combustion and the air in the chamber were treated as one gas with a polytropic exponent equal to 1.3.
The pressure distribution inside the primer at 20 μs is shown in Figure 11. The radial and axial pressure gradients are clearly visible. They accelerate the flow, acting as the divergent part of a nozzle. Figure 12 illustrates the distribution of the flow velocity and the sound velocity along the axis of the setup. The sonic flow is attained at the inlet of the vent. The flow inside the vent is supersonic. After leaving the vent, the flow is further accelerated in the Prandtl–Meyer flow. Then, it is hampered in the Mach wave to the value at the front of the leading wave.
The structure of the flow at the vent outlet is analogous to the structure of the flow at the outlet of a nozzle. This is illustrated by the velocity distribution shown in Figure 13. The following basic elements of the flow structure are marked: the Prandtl–Meyer flow; lateral shock and Mach disc. The same structure of the flow was observed in [4] for the outflow into an open space.
Figure 14 illustrates how the average pressure acting on the primer bottom changes with time. After a transient period, the pressure plot can be approximated by the exponential function. The initial part of the plot is approximated by a straight line. Up to 100 μs, this is an acceptable approximation.
The intensity of the flow through the vent diminishes approximately exponentially with time. This is illustrated in Figure 15. The plot suggests that the outflow of the gas lasts approximately 1 ms. This modeling result can be compared with the results of the optical recording of the outflow from the primer into an open space. In Figure 16, four frames are presented. Even at 2 ms, from the moment the first light was observed, the products of the priming mixture combustion flow out of the vent. It is interesting that at 400 μs, tiny particles are observed. This is an effect of the hampering of the flow in the Mach disc. The gaseous products are hampered more effectively than the solid particles. At 1 ms, larger particles are observed. At 2 ms, mainly the radiation emitted by the large particles is observed. These observations agree well with the observations made in [4].
It should be stated that there is a difference between the conditions of the outflow in an open space and in a closed chamber. The outflow from the primer vent is stopped at a moment when pressure values inside the primer and the chamber equalize. Thus, the large particles observed in Figure 16c,d may not leave the primer. They may belong to 28% of the mass of the priming mixture that remains inside the primer. Taking this into account, we can state that the outflow time predicted by the modeling is of the same order of magnitude as can be deduced from the optical records. It proves the role of the flow chocking inside the primer vent in shaping the primer output.
The experimental and calculated pressure courses at the end of the chamber are compared in Figure 17. When comparing these two pressure courses, the filtering of the experimental signal by a 20 kHz low-pass filter should be taken into account. This filtering means that the experimental record does not show abrupt changes caused by the reflections of shock waves. The theoretical model is based on many simplified assumptions. This is why we did not expect good agreement with the results of the experiments. Nevertheless, similar levels of pressure values should be noted. Thus, some conclusions concerning the interpretation of the experimental data based on the modeling results can be drawn. Figure 18 presents the initial parts of the calculated pressure courses obtained for the scenario in which sleeves of various lengths are present in the chamber. For the 32 and 48 mm sleeves, the heights of the first maxima do not differ much from the height of the first maximum for the empty chamber. Only for the 64 mm sleeve did the height of the first maximum increase considerably. Based on this we can interpret better Figure 6 and Figure 8. In addition to the scatter of the force values, there is a tendency of decreasing the mean force value by increasing the loading density value. The results of the modeling suggest that this can be attributed to gas dynamical processes.

4. Conclusions

  • The estimated values of the force of priming mixtures are of the same order of magnitude as the value of the force of black powder. Thus, using this value to approximate the force values of priming mixtures in interior ballistics calculations is acceptable.
  • In experimental and theoretical attempts to estimate the priming mixture force, only the part of the mass entering the cartridge case should be taken into account.
  • The results of the modeling suggest that the primer output is limited by the chocking of the flow inside the primer vent rather than by the kinetics of the priming mixture reaction.
  • The observations of the outflow of priming mixture combustion products from the primer show a large amount of scattering in the sizes of solid particles. The large particles appear in the late phase of the process. Thus, it is possible that in the ammunition, these particles remain in the primer. In the experiments described in this work, approximately 30% of the priming mixture mass did not leave the primer. The tiny particles appear much sooner, and they may play an important role in the ignition of the propellant charge.

Author Contributions

Conceptualization, R.T. and R.W.; methodology, D.S. and B.F.; software, R.T.; validation, R.W. and R.T.; formal analysis, D.S. and R.T.; investigation, D.S. and B.F.; resources, R.W.; data curation, R.T.; writing—original draft preparation, R.T.; writing—review and editing, R.T., R.W., D.S. and B.F.; visualization, R.T. and D.S.; supervision, R.W.; project administration, R.W.; funding acquisition, R.W. All authors have read and agreed to the published version of the manuscript.

Funding

The methods and results presented in this paper have been obtained in the frame of research conducted within the university research project entitled “Theoretical and experimental investigations of weapons operating on the principle of recoil—Part II”. This work was financed by the Military University of Technology (Warsaw, Poland) in 2022 under research project UGB-772.

Institutional Review Board Statement

Not applicable.

Informed Consent Statement

Not applicable.

Data Availability Statement

Not applicable.

Conflicts of Interest

The authors declare no conflict of interest.

References

  1. STANAG 4367 Land (Edition 2); Thermodynamic Interior Ballistic Model with Global Parameters. NATO: Washington, DC, USA, 2000.
  2. Schmidt, J.R.; Nusca, M.J. Progress in the Development of a Multiphase Turbulent Model of the Gas/Particle Flow in a Small-Caliber Ammunition Primer; ARL-TR-3860 Report; Army Research Laboratory: Aberdeen Proving Ground, MD, USA, 2006. [Google Scholar]
  3. Trębiński, R.; Leciejewski, Z.; Surma, Z. Investigations of the influence of ignition on the dynamic vivacity of propellants. Probl. Mechatron. Armament Aviat. Saf. Eng. 2019, 10, 55–68. [Google Scholar] [CrossRef]
  4. Williams, A.W.; Brant, A.L.; Kaste, P.J.; Colburn, J.W. Experimental Studies of the No. 41 Primer and Ignition of 5.56-mm Ammunition; ARL-TR-3922 Report; Army Research Laboratory: Aberdeen Proving Ground, MD, USA, 2006. [Google Scholar]
  5. Kuo, K.K.; Koo, J.H. Transient combustion in mobile gas-permeable propellants. Acta Astronaut. 1976, 3, 573–591. [Google Scholar] [CrossRef]
  6. Chang, L.-M.; Williams, A.W. Characterization of Particle Output from a Percussion Primer; ARL-TR-4188 Report; Army Research Laboratory: Aberdeen Proving Ground, MD, USA, 2007. [Google Scholar]
  7. Trebinski, R.; Wozniak, R.; Szupienko, D.; Fikus, B. Estimation of ignition pressure in ammunition. Energies 2022, 15, 5916. [Google Scholar] [CrossRef]
  8. Ritter, J.J.; Beyer, R.A. Primer Output and Initial Projectile Motion for 5.56- and 7.62-mm Ammunition; ARL-TR-7479 Report; Army Research Laboratory: Aberdeen Proving Ground, MD, USA, 2015. [Google Scholar]
  9. Godunov, S.K.; Zabrodin, A.V.; Ivanov, M.Y.; Krayko, A.N.; Prokopov, G.P. Numerical Solution of Multidimensional Problems of Gas Dynamics; Nauka: Moscow, Russia, 1976. (In Russian) [Google Scholar]
  10. Goga, D.A.; Țiganescu, T.V.; Pulpea, B.; Moldoveanu, C.; Rotaru, C. A quantitative method of comparative assessment of primers ignition performances. Adv. Mil. Technol. 2017, 12, 217–228. [Google Scholar] [CrossRef][Green Version]
Figure 1. The experimental setup: 1: pressure gauge, 2: chamber, 3: primer, 4: firing pin, 5: pin catch.
Figure 1. The experimental setup: 1: pressure gauge, 2: chamber, 3: primer, 4: firing pin, 5: pin catch.
Energies 15 05952 g001
Figure 2. The setup for the optical recording of the outflow of the priming mixture combustion products: 1: camera Phantom v1612, 2: the firing setup.
Figure 2. The setup for the optical recording of the outflow of the priming mixture combustion products: 1: camera Phantom v1612, 2: the firing setup.
Energies 15 05952 g002
Figure 3. Space cell for which the balance equations are defined.
Figure 3. Space cell for which the balance equations are defined.
Energies 15 05952 g003
Figure 4. Partitioning of modeling area into cells (projection onto the x-r plane).
Figure 4. Partitioning of modeling area into cells (projection onto the x-r plane).
Energies 15 05952 g004
Figure 5. Comparison of recorded (solid line) and smoothed (dotted line) pressure courses.
Figure 5. Comparison of recorded (solid line) and smoothed (dotted line) pressure courses.
Energies 15 05952 g005
Figure 6. Estimated values of the force (the dashed line is the mean value) (approach 1).
Figure 6. Estimated values of the force (the dashed line is the mean value) (approach 1).
Energies 15 05952 g006
Figure 7. Comparison of ln p and the linear approximation (red line).
Figure 7. Comparison of ln p and the linear approximation (red line).
Energies 15 05952 g007
Figure 8. Estimated values of the force (the dashed line is the mean value) (modified method: approach 2).
Figure 8. Estimated values of the force (the dashed line is the mean value) (modified method: approach 2).
Energies 15 05952 g008
Figure 9. The model pressure course inside the primer (dashed line) and the response calculated using Equation (24) (solid line).
Figure 9. The model pressure course inside the primer (dashed line) and the response calculated using Equation (24) (solid line).
Energies 15 05952 g009
Figure 10. Estimated values of the force: 1: based on [8], 2: based on [4], 3: based on [7] (glass balls), 4: based on the extrapolation of the exponential part of pressure courses, 5: based on the maximum pressure values, 6: based on [10] (the dashed line is the black powder force).
Figure 10. Estimated values of the force: 1: based on [8], 2: based on [4], 3: based on [7] (glass balls), 4: based on the extrapolation of the exponential part of pressure courses, 5: based on the maximum pressure values, 6: based on [10] (the dashed line is the black powder force).
Energies 15 05952 g010
Figure 11. The pressure distribution inside the primer at 20 μs.
Figure 11. The pressure distribution inside the primer at 20 μs.
Energies 15 05952 g011
Figure 12. Distribution of the flow velocity (solid line) and the sound velocity (dashed line) along the axis at 20 μs.
Figure 12. Distribution of the flow velocity (solid line) and the sound velocity (dashed line) along the axis at 20 μs.
Energies 15 05952 g012
Figure 13. The velocity distribution at 20 μs: 1: the Prandtl–Meyer flow, 2: the lateral shock, 3: the Mach disc.
Figure 13. The velocity distribution at 20 μs: 1: the Prandtl–Meyer flow, 2: the lateral shock, 3: the Mach disc.
Energies 15 05952 g013
Figure 14. The changes in time of the average pressure acting on the primer bottom (solid line); exponential approximation (dotted line); linear approximation of the initial part of the plot (dashed line).
Figure 14. The changes in time of the average pressure acting on the primer bottom (solid line); exponential approximation (dotted line); linear approximation of the initial part of the plot (dashed line).
Energies 15 05952 g014
Figure 15. Changes in the flow intensity in the vent (solid line); exponential approximation (dotted line).
Figure 15. Changes in the flow intensity in the vent (solid line); exponential approximation (dotted line).
Energies 15 05952 g015
Figure 16. Results of the optical recording of the outflow from the primer into an open space: (a) 0.2 ms, (b) 0.4 ms, (c) 1 ms, (d) 2 ms.
Figure 16. Results of the optical recording of the outflow from the primer into an open space: (a) 0.2 ms, (b) 0.4 ms, (c) 1 ms, (d) 2 ms.
Energies 15 05952 g016
Figure 17. The changes in time of the pressure acting on the end of the chamber: black line: the results of measurements, red line: the results of calculations.
Figure 17. The changes in time of the pressure acting on the end of the chamber: black line: the results of measurements, red line: the results of calculations.
Energies 15 05952 g017
Figure 18. Initial parts of calculated pressure courses at the end of the chamber for sleeves of various lengths.
Figure 18. Initial parts of calculated pressure courses at the end of the chamber for sleeves of various lengths.
Energies 15 05952 g018
Table 1. Values of the chamber capacity and the loading density.
Table 1. Values of the chamber capacity and the loading density.
Sleeve Length [mm]Chamber Capacity [cm3]Loading Density [kg/m3]
017.724.97
3212.546.92
489.948.62
647.3511.42
Publisher’s Note: MDPI stays neutral with regard to jurisdictional claims in published maps and institutional affiliations.

Share and Cite

MDPI and ACS Style

Trębiński, R.; Woźniak, R.; Szupieńko, D.; Fikus, B. Estimation of Priming Mixture Force. Energies 2022, 15, 5952. https://doi.org/10.3390/en15165952

AMA Style

Trębiński R, Woźniak R, Szupieńko D, Fikus B. Estimation of Priming Mixture Force. Energies. 2022; 15(16):5952. https://doi.org/10.3390/en15165952

Chicago/Turabian Style

Trębiński, Radosław, Ryszard Woźniak, Damian Szupieńko, and Bartosz Fikus. 2022. "Estimation of Priming Mixture Force" Energies 15, no. 16: 5952. https://doi.org/10.3390/en15165952

APA Style

Trębiński, R., Woźniak, R., Szupieńko, D., & Fikus, B. (2022). Estimation of Priming Mixture Force. Energies, 15(16), 5952. https://doi.org/10.3390/en15165952

Note that from the first issue of 2016, this journal uses article numbers instead of page numbers. See further details here.

Article Metrics

Back to TopTop