Investigation of Pressure Coefficient Distribution on the Surface of a Modular Building
Abstract
:1. Introduction
2. Materials and Methods
2.1. Determination of Aerodynamic Characteristics of the House
2.2. Measuring Instruments
3. Results
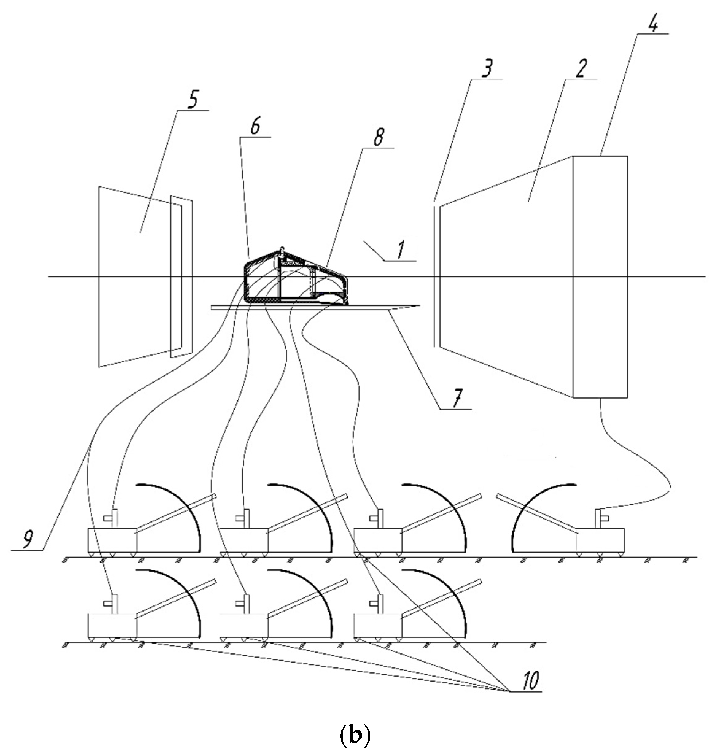
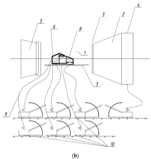
- The plane of the surface on which the model is located was divided by a grid with a step size of 40 mm × 40 mm. The letter axes are located perpendicular to the windward facade of the house model; the numerical ones are parallel.
- At each point of the grid, a hole was made and a drainage tube with a diameter of 0.8 mm was installed flush with the underlying surface, which was connected to the differential micromanometer MMN-240 by means of a flexible rubber tube.
- In the second stage, the distribution of pressure coefficients on the surfaces of the hollow model of the house (thermosyphon collector, projected roof, windward and windward facade) was studied. For this purpose, the places of cross sections (from A-A; B-B; C-C) were conditionally determined, in which holes were made at the level of each cell and drainage tubes were installed from the middle of the model.
- The studies were performed at three different air-flow velocities in the range v∞ = 7–10 m/s. The pressure determined at the drainage points was recorded by a micromanometer 10.
- The velocity of undisturbed air flow v∞ in the working part of the pipe was determined by the pressure in the prechamber of the pipe and specified by the value of dynamic pressure in the working part of the pipe, which was measured with a pneumometric tube and micrometer 10. Scheme and general view of the experimental setup are shown in Figure 2.
- The dependence was used to determine the pressure coefficientswhere lmod—micromanometer readings during measurements at the drainage points of the model; kmod, ktube—correction factors of micromanometers 1 and 2; lmod0, l tube0—initial readings of micromanometers 1 and 2; lmod—micromanometer readings when measuring the total pressure in the working part of the pipe.±k = ((lmod − lmod0) kmod)/(0.96722(ltube − ltube0) ktube),
- Studies were conducted for the direction of air flow on the model with an angle of attack α = 0°, i.e., on the facade with a built-in thermosyphon solar collector.
4. Conclusions
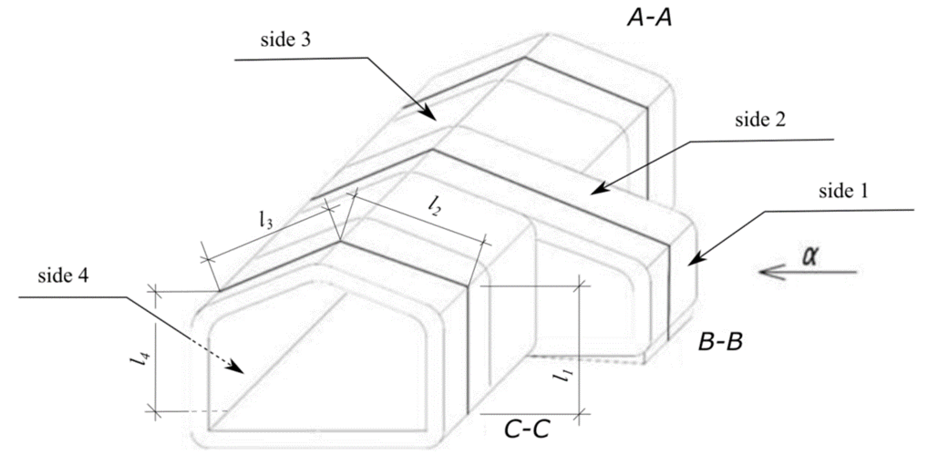
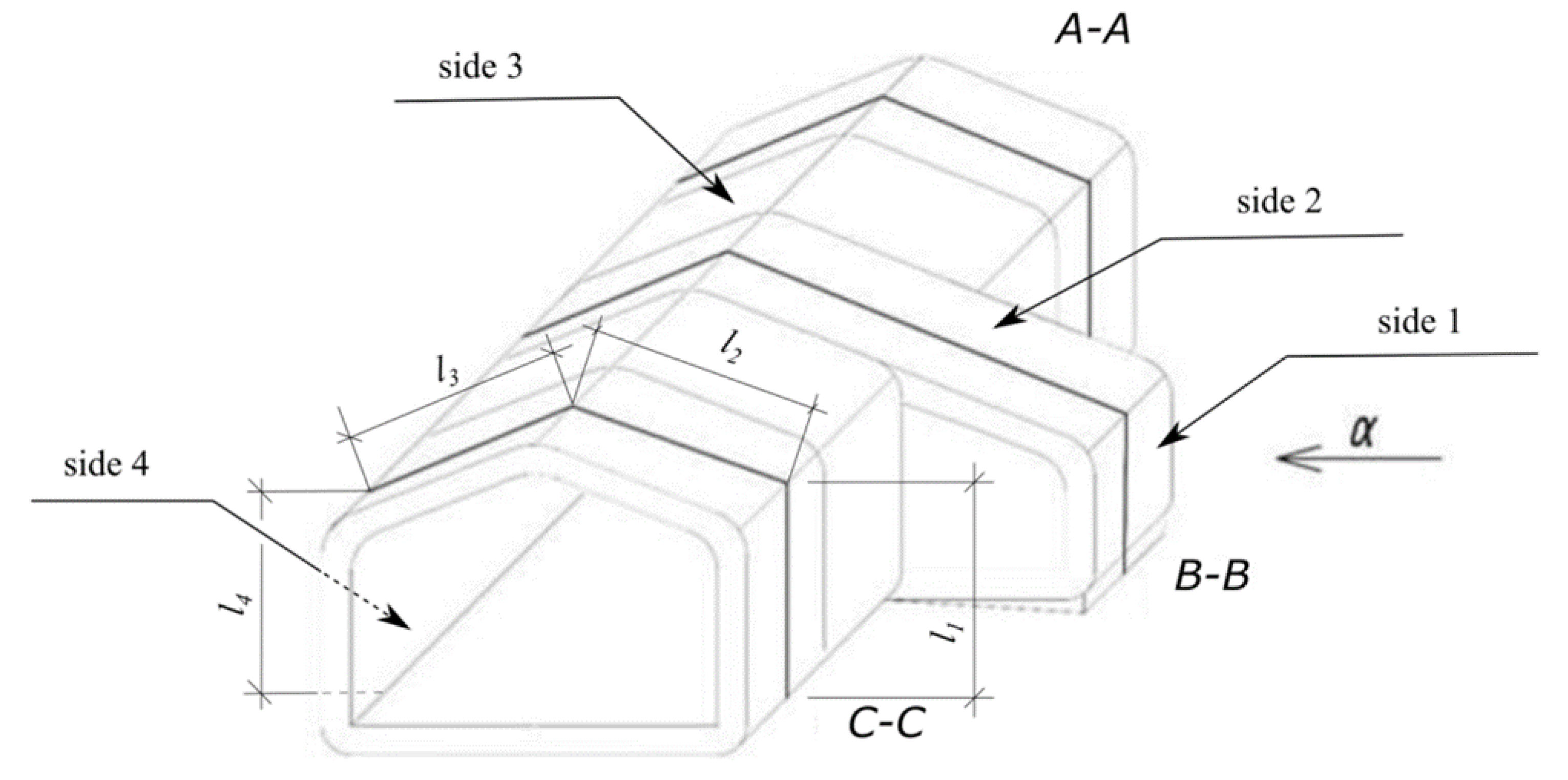
- On the side of the oncoming undisturbed air flow with an angle of attack α = 0° on the surface of the facade (side 1), the value of the pressure coefficient gradually increases, reaching a maximum value at the coordinate l\L = 0.15 and decreases when approaching the roof edge (side 2).
- In the windward area of the roof (side 2), pressure coefficients take positive values that range from 0.8 to 1.25. This fluctuation of the values of the coefficient Cp indicates the possibility of tearing off the boundary layer at the edges of the roof surface of the house model.
- In the windward zone on the roof surface (side 3), the value of pressure coefficients acquires negative values in the range −0.23… −0.43.
- For the windward facade of the model (side 4) in sections A-A and C-C, pressure coefficients are positive and range from 0.39 to 0.43. The section B-B is special for this facade, as it is characterized by a rarefaction of −0.27… −0.39, the formation of which can be explained by the elongated shape of the middle segment of the house, which falls on this section.
- The distribution of pressure coefficients obtained as a result of experimental studies in the wind tunnel and computer models of house flow make it possible to assert the effective operation of the thermosyphon solar collector, which can be installed on the windward side of the facade, especially in section B-B.
Author Contributions
Funding
Conflicts of Interest
References
- Pervez, H.; Ali, Y.; Petrillo, A. A quantitative assessment of greenhouse gas (GHG) emissions from conventional and modular construction: A case of developing country. J. Clean. Prod. 2021, 294, 126210. [Google Scholar] [CrossRef]
- Kamali, M.; Hewage, K.; Sadiq, R. Conventional versus modular construction methods: A comparative cradle-to-gate LCA for residential buildings. Energy Build. 2019, 204, 109479. [Google Scholar] [CrossRef]
- Tavares, V.; Lacerda, N.; Freire, F. Embodied energy and greenhouse gas emissions analysis of a prefabricated modular house: The “Moby” case study. J. Clean. Prod. 2018, 212, 1044–1053. [Google Scholar] [CrossRef]
- Johannes, A.W.H.; van Oorschot, J.A.; Halman, J.I.; Hofman, E. The adoption of green modular innovations in the Dutch housebuilding sector. J. Clean. Prod. 2021, 319, 128524. [Google Scholar] [CrossRef]
- Peltokorpi, A.; Olivieri, H.; Granja, A.D.; Seppänen, O. Categorizing modularization strategies to achieve various objectives of building investments. Constr. Manag. Econ. 2017, 36, 32–48. [Google Scholar] [CrossRef]
- Said, H.M.; Chalasani, T.; Logan, S. Exterior prefabricated panelized walls platform optimization. Autom. Constr. 2017, 76, 1–13. [Google Scholar] [CrossRef]
- Lacey, A.; Chen, W.; Hao, H.; Bi, K. Structural response of modular buildings—An overview. J. Build. Eng. 2018, 16, 45–56. [Google Scholar] [CrossRef] [Green Version]
- Rajanayagam, H.; Poologanathan, K.; Gatheeshgar, P.; Varelis, G.E.; Sherlock, P.; Nagaratnam, B.; Hackney, P. A-State-Of-The-Art review on modular building connections. Structures 2021, 34, 1903–1922. [Google Scholar] [CrossRef]
- Srisangeerthanan, S.; Hashemi, M.J.; Rajeev, P.; Gad, E.; Fernando, S. Review of performance requirements for inter-module connections in multi-story modular buildings. J. Build. Eng. 2019, 28, 101087. [Google Scholar] [CrossRef]
- Chen, Z.; Niu, X.; Liu, J.; Khan, K.; Liu, Y. Seismic study on an innovative fully-bolted beam-column joint in prefabricated modular steel buildings. Eng. Struct. 2021, 234, 111875. [Google Scholar] [CrossRef]
- Zhai, S.-Y.; Lyu, Y.-F.; Cao, K.; Li, G.-Q.; Wang, W.-Y.; Chen, C. Experimental study on bolted-cover plate corner connections for column-supported modular steel buildings. J. Constr. Steel Res. 2021, 189, 107060. [Google Scholar] [CrossRef]
- Aquino, C.D.; Branco, J.M. Experimental evaluation of a modular timber unit filled with insulated corkboard. J. Build. Eng. 2020, 32, 101725. [Google Scholar] [CrossRef]
- Rockwood, D.; da Silva, J.T.; Olsen, S.; Robertson, I.; Tran, T. Design and prototyping of a FRCC modular and climate responsive affordable housing system for underserved people in the pacific island nations. J. Build. Eng. 2015, 4, 268–282. [Google Scholar] [CrossRef]
- Bardhan, R.; Debnath, R. Evaluating building material based thermal comfort of a typical low-cost modular house in India. Mater. Today Proc. 2018, 5, 311–317. [Google Scholar] [CrossRef] [Green Version]
- Gatheeshgar, P.; Poologanathan, K.; Gunalan, S.; Shyha, I.; Sherlock, P.; Rajanayagam, H.; Nagaratnam, B. Development of affordable steel-framed modular buildings for emergency situations (COVID-19). In Structures; Elsevier: Amsterdam, The Netherlands, 2021; pp. 862–875. ISSN 2352-0124. [Google Scholar] [CrossRef]
- Lawson, M.; Ogden, R.; Goodier, C. Design in Modular Construction; CRC Press: Boca Raton, FL, USA, 2014; Volume 476. [Google Scholar] [CrossRef]
- Abdelmageed, S.; Zayed, T. A study of literature in modular integrated construction—Critical review and future directions. J. Clean. Prod. 2020, 277, 124044. [Google Scholar] [CrossRef]
- Pullen, T.; Hall, D.M.; Lessing, J. White Paper: A Preliminary Overview of Emerging Trends for Industrialized Construction in the United States; Center for Integrated Facility Engineering: Stanford, CA, USA, 2019; pp. 1–24. [Google Scholar] [CrossRef]
- Giriunas, K.; Sezen, H.; Dupaix, R.B. Evaluation, modeling, and analysis of shipping container building structures. Eng. Struct. 2012, 43, 48–57. [Google Scholar] [CrossRef] [Green Version]
- Lyu, Y.-F.; Li, G.-Q.; Cao, K.; Zhai, S.-Y.; Wang, Y.-B.; Mao, L.; Ran, M.-M. Bending behavior of splice connection for corner-supported steel modular buildings. Eng. Struct. 2021, 250, 113460. [Google Scholar] [CrossRef]
- Lyu, Y.-F.; Li, G.-Q.; Cao, K.; Zhai, S.-Y.; Li, H.; Chen, C.; Wang, Y.-Z. Behavior of splice connection during transfer of vertical load in full-scale corner-supported modular building. Eng. Struct. 2021, 230, 111698. [Google Scholar] [CrossRef]
- Jȩdrzejuk, H.; Klemm, K.; Marks, W. Multicriteria optimization of buildings arrangement based on wind criteria. Arch. Civ. Eng. 2008, 54, 751–767. [Google Scholar]
- Klemm, K.; Jȩdrzejuk, H.; Marks, W. Application of multicriteria optimization in wind flow analysis. In Proceedings of the 23rd International Conference on Passive and Low Energy Architecture (PLEA 2006), Geneva, Switzerland, 6–8 September 2006. [Google Scholar]
- Ramaji, I.J.; Memari, A.M. Product Architecture Model for Multistory Modular Buildings. J. Constr. Eng. Manag. 2016, 142, 04016047. [Google Scholar] [CrossRef]
- Zhang, J.; Long, Y.; Lv, S.; Xiang, Y. BIM-enabled Modular and Industrialized Construction in China. Procedia Eng. 2016, 145, 1456–1461. [Google Scholar] [CrossRef] [Green Version]
- Hyun, H.; Kim, H.; Lee, H.-S.; Park, M.; Lee, J. Integrated Design Process for Modular Construction Projects to Reduce Rework. Sustainability 2020, 12, 530. [Google Scholar] [CrossRef] [Green Version]
- Schoenborn, J.M. A Case Study Approach to Identifying the Constraints and Barriers to Design, Innovation for Modular Construction. Ph.D. Thesis, Virginia Polytechnic Institute and State University, Blacksburg, VA, USA, 2012. pp. 19–32. Available online: http://hdl.handle.net/10919/32397 (accessed on 27 April 2012).
- Yuan, Z.; Sun, C.; Wang, Y. Design for Manufacture and Assembly-oriented parametric design of prefabricated buildings. Autom. Constr. 2018, 88, 13–22. [Google Scholar] [CrossRef]
- Cao, J.; Bucher, D.F.; Hall, D.M.; Lessing, J. Cross-phase product configurator for modular buildings using kit-of-parts. Autom. Constr. 2021, 123, 103437. [Google Scholar] [CrossRef]
- Aye, L.; Ngo, T.; Crawford, R.H.; Gammampila, R.; Mendis, P. Life cycle greenhouse gas emissions and energy analysis of prefabricated reusable building modules. Energy Build. 2012, 47, 159–168. [Google Scholar] [CrossRef]
- Kamali, M.; Hewage, K. Life cycle performance of modular buildings: A critical review. Renew. Sustain. Energy Rev. 2016, 62, 1171–1183. [Google Scholar] [CrossRef]
- Li, Z.; Zhang, D.; Li, C. Experimental evaluation of indoor thermal environment with modularity radiant heating in low energy buildings. Int. J. Refrig. 2020, 123, 159–168. [Google Scholar] [CrossRef]
- Zhelykh, V.; Venhryn, I.; Kozak, K.; Shapoval, S. Solar collectors integrated into transparent facades. Prod. Eng. Arch. 2020, 26, 84–87. [Google Scholar] [CrossRef]
- Kapalo, P.; Klymenko, H.; Zhelykh, Z.; Adamski, M. Investigation of indoor air quality in the selected ukraine classroom–case study. In Proceedings of the International Conference Current Issues of Civil and Environmental Engineering Lviv-Košice–Rzeszów; Springer: Cham, Switzerland, 2019; ISBN 978-3-030-27010-0. Electronic ISBN: 978-3-030-27011-7. [Google Scholar]
- Wills, J.; Lee, B.; Wyatt, T. A model of wind-borne debris damage. J. Wind Eng. Ind. Aerodyn. 2002, 90, 555–565. [Google Scholar] [CrossRef]
- Peng, J.; Hou, C.; Shen, L. Numerical analysis of corner-supported composite modular buildings under wind actions. J. Constr. Steel Res. 2021, 187, 106942. [Google Scholar] [CrossRef]
- Chen, W.; Hao, H.; Du, H. Failure analysis of corrugated panel subjected to windborne debris impacts. Eng. Fail. Anal. 2014, 44, 229–249. [Google Scholar] [CrossRef]
- Chen, W.; Hao, H. Experimental and numerical study of composite lightweight structural insulated panel with expanded polystyrene core against windborne debris impacts. Mater. Des. 2014, 60, 409–423. [Google Scholar] [CrossRef] [Green Version]
- Barbolini, F.; Cappellacci, P.; Guardigli, L. A Design Strategy to Reach nZEB Standards Integrating Energy Efficiency Measures and Passive Energy Use. Energy Procedia 2017, 111, 205–214. [Google Scholar] [CrossRef]
- Singh, J.; Roy, A.K. Effects of roof slope and wind direction on wind pressure distribution on the roof of a square plan pyramidal low-rise building using CFD simulation. Int. J. Adv. Struct. Eng. 2019, 11, 231–254. [Google Scholar] [CrossRef] [Green Version]
- Sanyal, P.; Dalui, S.K. Effects of courtyard and opening on a rectangular plan shaped tall building under wind load. Int. J. Adv. Struct. Eng. 2018, 10, 169–188. [Google Scholar] [CrossRef] [Green Version]





| № | Name of Measuring Instruments | Characteristics |
|---|---|---|
| 1 | Pito-Prantle nozzle №77 | Ζ = 0.983 sensitivity ± 50 |
| 2 | Barometer-aneroid BAMM №8795 | 80,000–106,000 Pa Precision ± 200 Pa |
| 3 | Aspiration psychrometer №20922 | Precision ± 0.1 °C |
| 4 | High-pressure nozzle D = 0.8 mm | Ζ = 0.99 |
| 5 | Micromanometer MMN-24001.0 №2000 i №2200 | Precision ± 0.5 mm |
Publisher’s Note: MDPI stays neutral with regard to jurisdictional claims in published maps and institutional affiliations. |
© 2022 by the authors. Licensee MDPI, Basel, Switzerland. This article is an open access article distributed under the terms and conditions of the Creative Commons Attribution (CC BY) license (https://creativecommons.org/licenses/by/4.0/).
Share and Cite
Zhelykh, V.; Ulewicz, M.; Furdas, Y.; Adamski, M.; Rebman, M. Investigation of Pressure Coefficient Distribution on the Surface of a Modular Building. Energies 2022, 15, 4644. https://doi.org/10.3390/en15134644
Zhelykh V, Ulewicz M, Furdas Y, Adamski M, Rebman M. Investigation of Pressure Coefficient Distribution on the Surface of a Modular Building. Energies. 2022; 15(13):4644. https://doi.org/10.3390/en15134644
Chicago/Turabian StyleZhelykh, Vasyl, Małgorzata Ulewicz, Yurii Furdas, Mariusz Adamski, and Maksym Rebman. 2022. "Investigation of Pressure Coefficient Distribution on the Surface of a Modular Building" Energies 15, no. 13: 4644. https://doi.org/10.3390/en15134644
APA StyleZhelykh, V., Ulewicz, M., Furdas, Y., Adamski, M., & Rebman, M. (2022). Investigation of Pressure Coefficient Distribution on the Surface of a Modular Building. Energies, 15(13), 4644. https://doi.org/10.3390/en15134644

