Vibration Suppression of Hub Motor-Air Suspension Vehicle
Abstract
:1. Introduction
2. HM-AS Vehicle Model
2.1. Motor Model
2.2. UMF Calculation Model
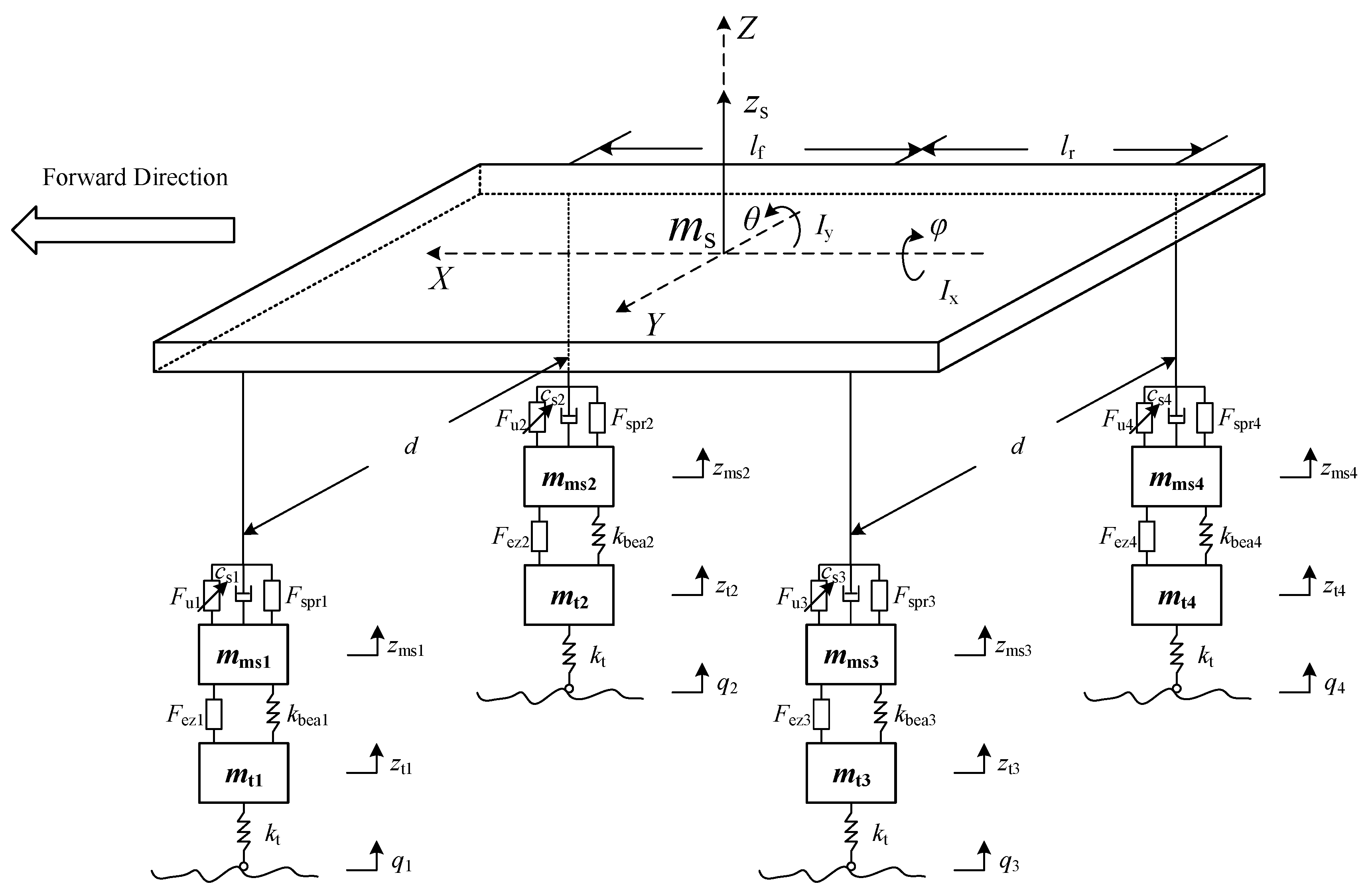
2.3. Vehicle Vertical Vibration Model
2.4. Random Road Excitation Model
2.4.1. Road Excitations of the Left and Right Wheels of the Front Axle
2.4.2. Road Excitations of the Left and Right Wheels of the Rear Axle
2.5. Bump Road Excitation Model
3. Model Validation
3.1. Test Vehicle Refitting and Sensor Arrangement
3.2. Vehicle Road Test
4. Optimal Control of the HM-AS Vehicle
4.1. LQR Controller Design
4.2. Weight Distribution of the LQR Controller Based on Genetic Algorithm
5. Simulation Results
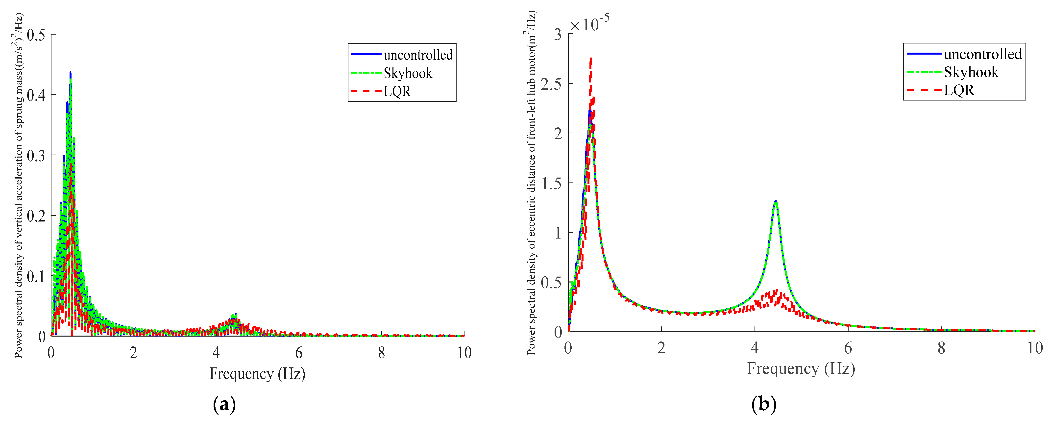
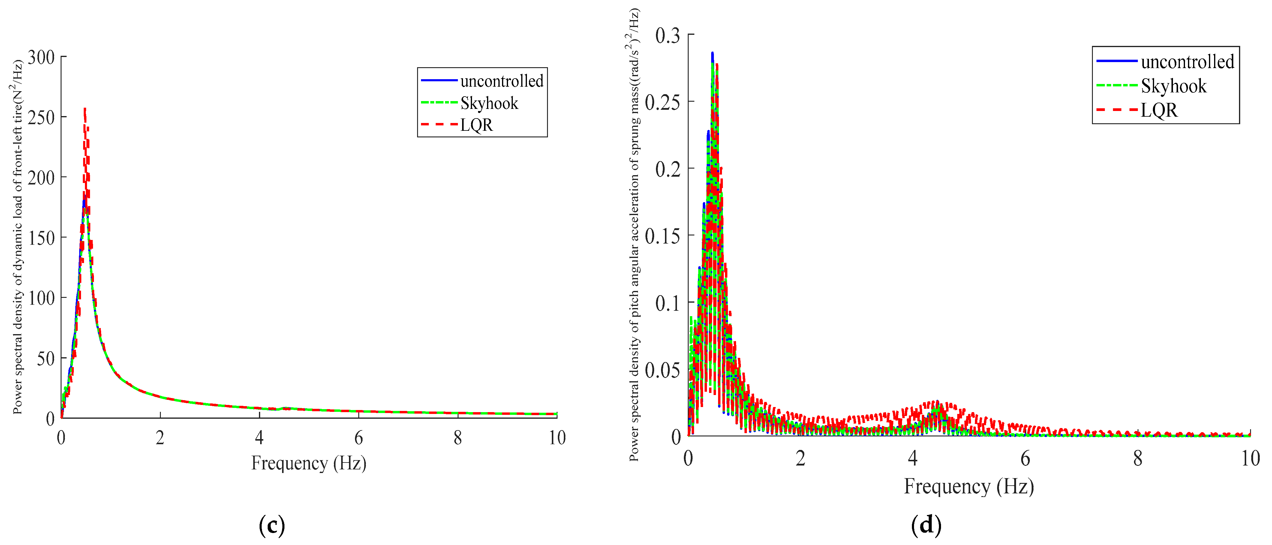
5.1. Simulation on Random Road
5.2. Simulation on Bump Road
6. Conclusions
- (1)
- Based on electromagnetics and vehicle dynamics, the vertical vibration model of the HM-AS vehicle is established. The vehicle road test is carried out, and the simulation results are compared with the test results, which proves that the dynamic model is correct.
- (2)
- Vertical acceleration of sprung mass, eccentric distance of each hub motor, dynamic load of each tire, roll angular acceleration of sprung mass, and pitch angular acceleration of sprung mass are proposed as evaluation indices, which can show changes in vehicle’s ride comfort, motor safety, and handling stability.
- (3)
- An LQR controller is designed for the HM-AS vehicle, and the optimal control weight matrix is determined by genetic algorithm. Simulation analysis is carried out and compared with the Skyhook control strategy under random road excitation and bump road excitation. The simulation results are analyzed in the time domain and the frequency domain. As simulation results show, compared with the Skyhook controller, the LQR controller can effectively improve ride comfort and motor safety; however, handling stability deteriorates slightly.
Author Contributions
Funding
Institutional Review Board Statement
Informed Consent Statement
Data Availability Statement
Conflicts of Interest
References
- Ślaski, G.; Gudra, A.; Borowicz, A. Analysis of the influence of additional unsprung mass of in-wheel motors on the comfort and safety of a passenger car. Arch. Automot. Eng. 2014, 3, 51–64. [Google Scholar]
- Dukalski, P.; Będkowski, B.; Parczewski, K.; Wnęk, H.; Urbaś, A.; Augustynek, K. Dynamics of the vehicle rear suspension system with electric motors mounted in wheels. Maint. Reliab. 2019, 21, 125–136. [Google Scholar] [CrossRef]
- Dukalski, P.; Będkowski, B.; Parczewski, K.; Wnęk, H.; Urbaś, A.; Augustynek, K. Analysis of the Influence of Motors Installed in Passenger Car Wheels on the Torsion Beam of the Rear Axle Suspension. Energies 2022, 15, 222. [Google Scholar] [CrossRef]
- Lou, S.; Fu, Z.; Zhang, L.; Xu, C. Integrated Control of semi-active suspension and ABS based on sliding mode theory. In Proceedings of the 2010 29th Chinese Control Conference (CCC), Beijing, China, 29–31 July 2010. [Google Scholar]
- Zhang, Z.; Tang, G. Optimal Vibration Control for Vehicle Active Suspension Systems with Controller Delays. In Proceedings of the 2010 29th Chinese Control Conference (CCC), Beijing, China, 29–31 July 2010. [Google Scholar]
- Zhou, C.; Zhang, S.; Shi, P.; Zhang, P. Research on Active Suspension Control Strategy Based on the Model with Parameters of Hydraulic System. In Proceedings of the 2013 Fourth Global Congress on Intelligent Systems, Hong Kong, China, 3–4 December 2013. [Google Scholar] [CrossRef]
- Sathishkumar, P.; Jancirani, J.; John, D.; Arun, B. Controller Design for Convoluted Air Spring System Controlled Suspension. In Proceedings of the 16th International Mechanical Engineering Congress (IMEC), Tamil Nadu, India, 13–15 June 2014. [Google Scholar] [CrossRef]
- Yin, J.; Chen, X.; Li, J.; Qian, S. Performance Evaluation of an Active and Energy Regenerative Suspension Using Optimal Control. In Proceedings of the 2015 34th Chinese Control Conference (CCC), Hangzhou, China, 28–30 July 2015. [Google Scholar] [CrossRef]
- Ibrahim, K.; Ghazaly, N.; Ali, A.S. Simulation Control of an Active Suspension System Using Fuzzy Control & H∞ Control Methods. In Proceedings of the 2016 16th International Conference on Control, Automation and Systems (ICCAS), Gyeongju, Korea, 16–19 October 2016. [Google Scholar] [CrossRef]
- Zhang, N.; Li, Y.; Li, H.; Zhou, C. Design of Air Suspension System based on Neural Sliding Mode Control. In Proceedings of the 2016 13th International Computer Conference on Wavelet Active Media Technology and Information Processing (ICCWAMTIP), Chengdu, China, 16–18 December 2016. [Google Scholar] [CrossRef]
- Junyao, F.; Wenping, X.; Guohai, L. Vibration Control for Vehicle Active Suspension Based on ANFIS Method. In Proceedings of the 2017 36th Chinese Control Conference (CCC), Dalian, China, 26–28 July 2017. [Google Scholar] [CrossRef]
- Bao, L.; Chen, S.; Yu, S. Research on Active Fault-Tolerant Control on Active Suspension of Vehicle based on Fuzzy PID Control. In Proceedings of the 2017 Chinese Automation Congress (CAC), Jinan, China, 20–22 October 2017. [Google Scholar] [CrossRef]
- Prassad, G.S.; Mohan, M.K. A Contemporary Adaptive Air Suspension Using LQR Control For Passenger Vehicles. ISA Trans. 2019, 93, 244–254. [Google Scholar] [CrossRef]
- Rui, B. Nonlinear Adaptive Sliding-mode Control of the Electronically Controlled Air Suspension System. Int. J. Adv. Robot. Syst. 2019, 16, 1–6. [Google Scholar] [CrossRef]
- Shalabi, M.E.; El-Hussieny, H.; Abouelsoud, A.A.; Elbab, A.M.R.F. Control of Automotive Air-Spring Suspension System Using Z-Number Based Fuzzy System. In Proceedings of the 2019 IEEE International Conference on Robotics and Biomimetics (ROBIO), Dali, China, 6–8 December 2019. [Google Scholar] [CrossRef]
- Wen, T.; Zhai, M.; Long, Z.; Zhang, B. Adaptive Robust Synovial Electromagnetic Suspension Control Based on RBF Neural Network. In Proceedings of the 2019 Chinese Automation Congress (CAC), Hangzhou, China, 22–24 November 2019. [Google Scholar] [CrossRef]
- Zhang, N.; He, Y.; Whang, Y.; Whang, J. Active Suspension Control Based on Multi-Agent Predictive Algorithm. In Proceedings of the 2020 4th CAA International Conference on Vehicular Control and Intelligence (CVCI), Hangzhou, China, 18–20 December 2020. [Google Scholar] [CrossRef]
- Ahmed, A.A.; Jomah, O.S.M. Modeling and Control of Car Active Suspension System Using a Neural Network-based Controller and Linear Quadratic Regulator Controller. In Proceedings of the 2020 IEEE 2nd International Conference on Electronics, Control, Optimization and Computer Science (ICECOCS), Kenitra, Morocco, 2–3 December 2020. [Google Scholar] [CrossRef]
- Ma, R.; Do, C.M. Comfort-Oriented Semi-Active Matching Design with a Magneto-Rheological Air Suspension Mechanism. Iran. J. Sci. Technol. Trans. Mech. Eng. 2021, 45, 699–709. [Google Scholar] [CrossRef]
- Li, Z.; Liu, C.; Song, X.; Wang, C. Vibration Suppression of Hub Motor Electric Vehicle Considering Unbalanced Magnetic Pull. Proc. Inst. Mech. Eng. Part D J. Automob. Eng. 2021, 235, 3185–3198. [Google Scholar] [CrossRef]
- Shalabi, M.E.; Elbab, A.M.R.F.; El-Hussieny, H.; Abouelsoud, A.A. Neuro-Fuzzy Volume Control for Quarter Car Air-Spring Suspension System. IEEE Access 2021, 9, 77611–77623. [Google Scholar] [CrossRef]
- Yu, W.; Li, J.; Yuan, J.; Ji, X. LQR controller design of active suspension based on genetic algorithm. In Proceedings of the 2021 IEEE 5th Information Technology, Networking, Electronic and Automation Control Conference (ITNEC), Xi’an, China, 15–17 October 2021. [Google Scholar] [CrossRef]
- Jin, X.; Wang, J.; Yan, Z.; Li, Z.; Wang, Z. Development of Robust Constrained Control Strategy for Active Suspension System of Electric Vehicle with In-Wheel-Motor. In Proceedings of the 2021 40th Chinese Control Conference (CCC), Shanghai, China, 26–28 July 2021. [Google Scholar] [CrossRef]
- Jeong, J.-H.; Kim, S.Y.; Kwon, B.-S. Preview Control of Automotive Active Suspension Systems to Improve Ride Comfort Using V2V Communication. In Proceedings of the 2021 21st International Conference on Control, Automation and Systems (ICCAS), Jeju, Korea, 12–15 October 2021. [Google Scholar] [CrossRef]
- Vinatha, U.; Pola, S.; Vittal, K.P. Simulation of Four Quadrant Operation & Speed Control of BLDC Motor on MATLAB/SIMULINK. In Proceedings of the TENCON 2008–2008 IEEE Region 10 Conference, Hyderabad, India, 19–21 November 2008. [Google Scholar] [CrossRef]
- Wu, H.; Zheng, L.; Li, Y.; Zhang, Z.; Yu, Y. Robust Control for Active Suspension of Hub-Driven Electric Vehicles Subject to in-Wheel Motor Magnetic Force Oscillation. Appl. Sci. 2020, 10, 3929. [Google Scholar] [CrossRef]
- Dodds, C.J.; Robson, J.D. The Description of Road Surface Roughness. J. Sound Vib. 1973, 31, 175–183. [Google Scholar] [CrossRef]
- Zhu, S.; Wang, L.; Zhang, N.; Du, H. H∞ Control of a Novel Low-Cost Roll-Plane Active Hydraulically Interconnected Suspension: An Experimental Investigation of Roll Control under Ground Excitation. SAE Int. J. Passeng. Cars-Mech. Syst. 2013, 6, 882–893. [Google Scholar] [CrossRef]
- Tan, D.; Lu, C. The Influence of the Magnetic Force Generated by the In-Wheel Motor on the Vertical and Lateral Coupling Dynamics of Electric Vehicles. IEEE Trans. Veh. Technol. 2016, 65, 4655–4668. [Google Scholar] [CrossRef]
- Do, A.L.; Sename, O.; Dugard, L.; Soualmi, B. Multi-Objective Optimization by Genetic Algorithms in H∞/LPV Control of Semi-Active Suspension. IFAC Proc. Vol. 2011, 44, 7162–7167. [Google Scholar] [CrossRef] [Green Version]














| Parameter | Value | Parameter | Value |
|---|---|---|---|
| 710 | 30.4 | ||
| 34.4 | 1.55 | ||
| 0.795 | 0.975 | ||
| 340 | 910 | ||
| 260,000 | 5,000,000 | ||
| 1767 | 1.4 | ||
| 0.007 | 0.0024 | ||
| 100,000 | 9.8 |
| Evaluation Index | Simulation | Test | Relative Error |
|---|---|---|---|
| Evaluation Index | Uncontrolled (RMS) | Skyhook (RMS) | LQR without GA (RMS) | LQR (RMS) |
|---|---|---|---|---|
| Evaluation Index | Uncontrolled (RMS) | Skyhook (RMS) | LQR without GA (RMS) | LQR (RMS) |
|---|---|---|---|---|
Publisher’s Note: MDPI stays neutral with regard to jurisdictional claims in published maps and institutional affiliations. |
© 2022 by the authors. Licensee MDPI, Basel, Switzerland. This article is an open access article distributed under the terms and conditions of the Creative Commons Attribution (CC BY) license (https://creativecommons.org/licenses/by/4.0/).
Share and Cite
Jiang, H.; Wu, C.; Chen, B. Vibration Suppression of Hub Motor-Air Suspension Vehicle. Energies 2022, 15, 3916. https://doi.org/10.3390/en15113916
Jiang H, Wu C, Chen B. Vibration Suppression of Hub Motor-Air Suspension Vehicle. Energies. 2022; 15(11):3916. https://doi.org/10.3390/en15113916
Chicago/Turabian StyleJiang, Hong, Chuqi Wu, and Bo Chen. 2022. "Vibration Suppression of Hub Motor-Air Suspension Vehicle" Energies 15, no. 11: 3916. https://doi.org/10.3390/en15113916
APA StyleJiang, H., Wu, C., & Chen, B. (2022). Vibration Suppression of Hub Motor-Air Suspension Vehicle. Energies, 15(11), 3916. https://doi.org/10.3390/en15113916
