The Analysis of a Prototype Installation for Biogas Production from Chosen Agricultural Substrates
Abstract
1. Introduction
2. Methane Production by Fermentation from Substrates
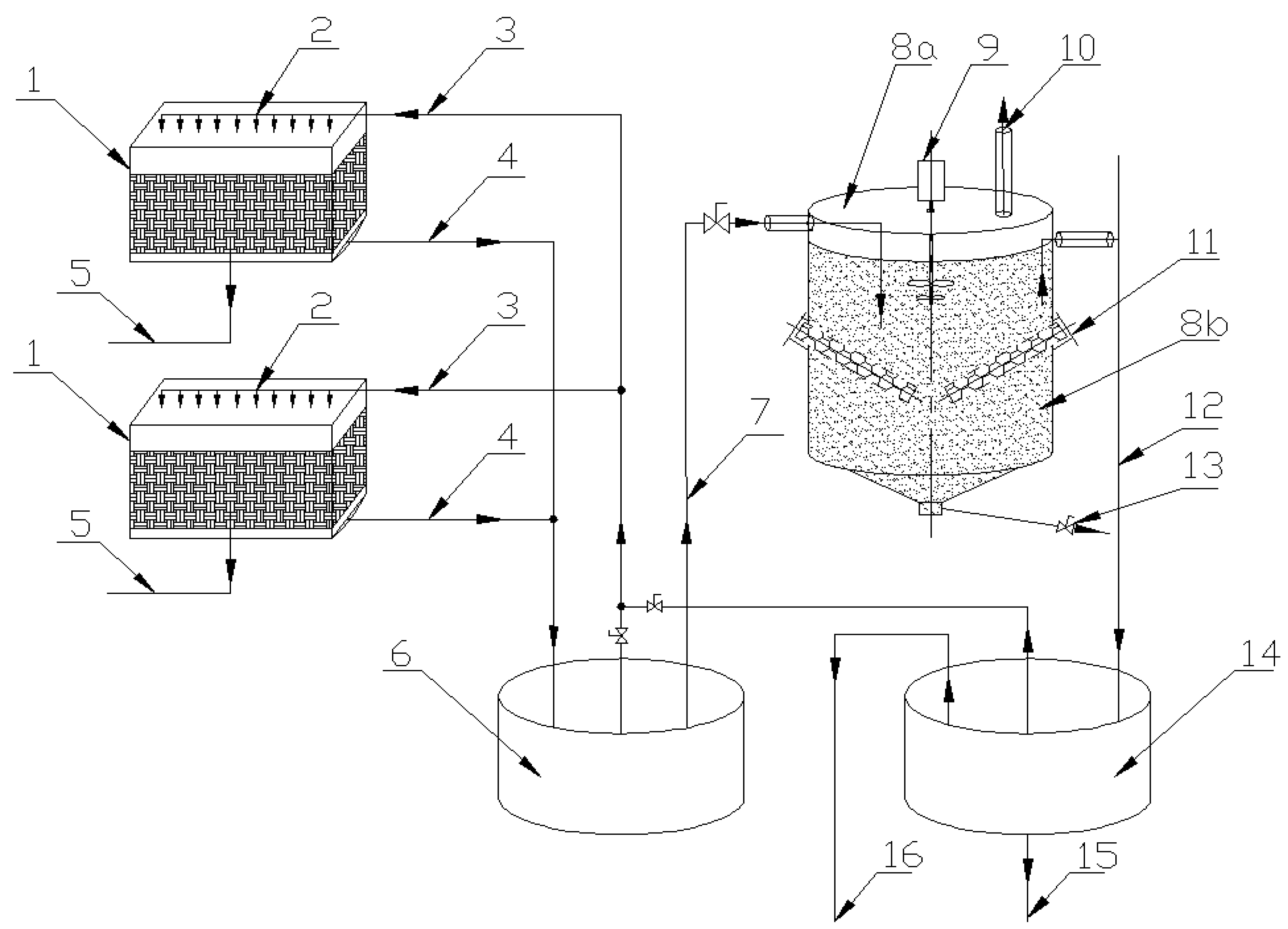
3. Materials and Methods
- the manure before leaching,
- the filtrate,
- the filter residue.
- the study began on 13 August 2019 and was completed on 23 October 2019,
- K0 control sample—inoculum of methane fermentation bacteria,
- incubation temperature: 37.0 °C,
- No. of repetitions for 1 sample: 3,
- volume of the fermentation mixture: 400 mL,
- laboratory conditions: temperature 21.6–22.5 °C, humidity 38.9–41.6%, pressure 1007.0–1013.0 hPa,
- total drying time: 60 h,
- total roasting time: 10 h,
- after leaching the samples were ground into chaff 2–3 cm long,
- no stabilizing and buffering additives were used,
- in order to standardize the samples, continuous mixing was applied at a temperature of 20.5 °C.
- pH-H2O,
- dissolved oxygen (results obtained using a method outside the scope of accreditation),
- LKT/OWN alkaline buffer potential (results obtained using a method outside the scope of accreditation),
- dry weight and organic dry weight load of the fermentation mixture
- days of fermentation,
- biogas yield (the biogas yield is the net amount of gas from the tested sample; the biogas yield from the inoculum was given for guidance purposes).
- leaching liquid: WD—water, IC—inoculum;
- manure: OS—fresh manure, OP—stacked manure, OD—composted manure;
- material after leaching: PC—filtrate, ST—residue.
4. Research Results
- -
- in the case of PC (OS WD)—increased efficiency of biogas yield by approx. 931.36% compared to fresh manure, i.e., approx. 582.01 ± 3.58 dm3·kg−1 (for 52 d);
- -
- in the case of PC (OP WD)—increased efficiency of biogas yield by approx. 895.03% compared to stacked manure, i.e., approx. 598.78 ± 3.68 dm3·kg−1 (for 52 d);
- -
- in the case of PC (OD WD)—increased efficiency of biogas yield by approx. 503.89% compared to the composted manure, i.e., approx. 286.16 ± 1.64 dm3·kg−1 (for 56 d).
- analysis of the physico-chemical parameters of manure, the leaching liquid, and the leached mixture and fermentation mixture, including weight, density, pH, humidity, dry weight, organic dry weight, and ash content;
- assessment of the efficiency of leaching of solid particles from batches of manure at various technological stages, i.e., with different degrees of maturity;
- evaluation of biogas profitability of the tested technological phases of manure and the leached mixture to determine the biogas efficiency of the designed technology.
5. Discussion
5.1. Technological Concepts
5.2. Local Transport and Distribution of Biogas
5.3. Advantages of Prototype Installation
6. Conclusions
- the obtained analytical details from standard (laboratory) tests allow the energy efficiency of the substrates subjected to anaerobic digestion to be assessed, to supply installations in farms above 100 LU;
- based on the research results, the presented technologies allow a 15–20% greater methane content in biogas to be obtained than in the case of conventional installations;
- the gas can be obtained from leached manure or silage substrate, which is then used for the production of compost or mulch;
- the obtained substrate in the form of post-fermentation liquid can then be separated and immediately used as a valuable natural fertilizer or as fertilizer granules;
- the obtained biogas can also be transported with the use of small gas cylinders when the construction of the pipeline is economically ineffective or impossible.
- Among the substrates used in the experiment, i.e., three types of manure, the best properties in terms of biogas yield forecasting were demonstrated by stacked manure, before fresh manure and composted manure.
- For the OS substrate (fresh manure), the yield of biogas was 62.49 ± 5.03 dm3·kg−1 dw and for OP (stacked manure) the yield was higher by 7.05%, whereas for OD (composted manure) the yield was lower by 9.12%.
- For filtrates (PC) from fresh manure (leached with distilled water) the yield was 44.77 ± 3.58 dm3·kg−1 dw, and for composted manure leached with distilled water the yield was 46.06 ± 3.68 dm3·kg−1 dw.
- For the residue (ST), after leaching fresh manure (with distilled water), the yield was 17.20 ± 1.38 dm3·kg−1 dw.
- The derived statistics in the form of an analysis of variance were used to investigate the influence of material parameters (fermented material) on the process (biogas yield). The analysis in some cases confirmed the statistical relationship, e.g., fresh manure (OS) and composted manure (OD) belonged to completely different homogeneous groups than manure influenced by distilled water, ranging from 57 to 63 dm3·kg−1 dw.
- Methane fermentation of washed manure (fresh, stacked, composted) required less time (4 d), rather than 52 and 54 d (in the case of manure before flushing).
- Washing the manure increases the production efficiency, because after 4 days a high yield of biogas is obtained, therefore, after the end of fermentation, a new batch can be introduced into the fermentation chamber more often and subjected to methane fermentation.
- The estimated efficiency of the biogas yield from washed samples is higher by approx. 503.89% to 931.36% compared to samples before washing.
- analysis of physico-chemical parameters of manure, washing liquid, leached mixture and fermentation mixture, including weight, density, pH, humidity, dry matter, organic dry matter, and ash content;
- assessment of the efficiency of leaching of solid particles from a batch of manure at various technological stages, i.e., with a different degree of maturity;
- evaluation of the quality of the fermentation substrate of energy;
- evaluation of the biogas yield of the tested technological phases of manure and the leached mixture to determine the biogas efficiency of the designed technology.
Author Contributions
Funding
Institutional Review Board Statement
Informed Consent Statement
Data Availability Statement
Conflicts of Interest
References
- Shaojie, B.; Hong, X.; Bai, Y.; Liu, J.; Yu, X.; Fang, S.; Gao, Y.; Yan, L.; Wang, Z.; Wang, Y.; et al. Methane production dynamics of co-digestion of cow manure and food waste under mesophilic condition. J. Biobased Mater. Bioenergy 2019, 13, 257–263. [Google Scholar] [CrossRef]
- Meyer, A.K.P.; Ehimen, E.A.; Nielsen-Holm, J.B. Future European biogas: Animal manure, straw and grass potentials for a sustainable European biogas production. Biomass Bioenergy 2018, 111, 154–164. [Google Scholar] [CrossRef]
- Wang, X.; Yang, G.; Feng, Y.; Ren, G.; Han, X. Optimizing feeding composition and carbon–nitrogen ratios for improved methane yield during anaerobic co-digestion of dairy, chicken manure and wheat straw. Bioresour. Technol. 2012, 120, 78–83. [Google Scholar] [CrossRef] [PubMed]
- Holm-Nielsen, J.B.; Seadi, T.A.; Oleskowicz-Popiel, P. The future of anaerobic digestion and biogas utilization. Bioresour. Technol. 2009, 100, 5478–5484. [Google Scholar] [CrossRef]
- Mahato, P.; Goyette, B.; Rahaman, M.S.; Rajagopal, R. Processing High-Solid and High-Ammonia Rich Manures in a Two-Stage (Liquid-Solid) Low-Temperature Anaerobic Digestion Process: Start-Up and Operating Strategies. Bioengineering 2020, 7, 80. [Google Scholar] [CrossRef] [PubMed]
- Adnan, A.I.; Ong, M.Y.; Nomanbhay, S.; Chew, K.W.; Show, P.L. Technologies for Biogas Upgrading to Biomethane: A Review. Bioengineering 2019, 6, 92. [Google Scholar] [CrossRef]
- Wałowski, W. Multi-phase flow assessment for the fermentation process in mono-substrate reactor with skeleton bed. J. Water Land Dev. 2019, 42, 150–156. [Google Scholar] [CrossRef][Green Version]
- Czekała, W.; Gawrych, K.; Smurzyńska, A.; Mazurkiewicz, J.; Pawlisiak, A.; Chełkowski, D.; Brzoski, M. The possibility of functioning micro-scale biogas plant in selected farm. J. Water Land Dev. 2017, 35, 19–25. [Google Scholar] [CrossRef][Green Version]
- Hijazi, O.; Munro, S.; Zerhusen, B.; Effenberger, M. Review of life cycle assessment for biogas production in Europe. Renew. Sustain. Energy Rev. 2016, 54, 1291–1300. [Google Scholar] [CrossRef]
- Triolo, J.M.; Sommer, S.G.; Møller, H.B.; Weisbjerg, M.R.; Jiang, X.Y. A new algorithm to characterize biodegradability of biomass during anaerobic digestion: Influence of lignin concentration on methane production potential. Bioresour. Technol. 2011, 102, 9395–9402. [Google Scholar] [CrossRef]
- Schievano, A.; D’Imporzano, G.; Adani, F. Substituting energy crops with organic wastes and agro-industrial residues for biogas production. J. Environ. Manag. 2009, 90, 2537–2541. [Google Scholar] [CrossRef]
- Clemens, J.; Trimborn, M.; Weiland, P.; Amon, B. Mitigation of greenhouse gas emissions by anaerobic digestion of cattle slurry. Agric. Ecosyst. Environ. 2006, 112, 171–177. [Google Scholar] [CrossRef]
- Mudryk, K.; Frączek, J.; Jewiarz, M.; Wróbel, M.; Dziedzic, K. Analysis of mechanical dewatering of digestate. Agric. Eng. 2016, 20, 157–166. [Google Scholar] [CrossRef][Green Version]
- Taherzadeh, M.; Karimi, K. Pretreatment of Lignocellulosic Wastes to Improve Ethanol and Biogas Production: A Review. Int. J. Mol. Sci. 2008, 9, 1621. [Google Scholar] [CrossRef] [PubMed]
- Amon, T.; Amon, B.; Kryvoruchko, V.; Bodiroza, V.; Potsch, E.; Zollitsch, W. Optimising methane yield from anaerobic digestion of manure: Effects of dairy systems and of glycerine supplementation. Int. Congr. Ser. 2006, 1293, 217–220. [Google Scholar] [CrossRef]
- Chynoweth, D.P.; Owens, J.M.; Legrand, R. Renewable methane from anaerobic digestion of biomass. Renew. Energy 2001, 22, 1–8. [Google Scholar] [CrossRef]
- Graham-Rowe, D. Agriculture: Beyond food versus fuel. Nature 2011, 474, S6–S8. [Google Scholar] [CrossRef]
- Caliceti, M.; Sanjuan Roca, D.; Venturi, P. Analysis of energy balances for different technical paths concerning biodiesel production from oilseed rape and sunfl ower in Italy. Asp. Appl. Biol. 2001, 65, 57–64. [Google Scholar]
- Allingham, K.D.; Cartwright, R.; Donaghy, D.; Conway, J.S.; Goulding, K.W.T.; Jarvis, S.C. Nitrate leaching losses and their control in a mixed farm system in the Cotswolds, England. Soil Use Manag. 2002, 18, 421–427. [Google Scholar] [CrossRef]
- Garten, C.T.; Wullschleger, S.D. Soil carbon inventories under a bioenergy crop (switchgrass): Measurement limitations. J. Environ. Qual. 1999, 28, 1359–1365. [Google Scholar] [CrossRef]
- Malovanyy, M.; Zhuk, V.; Nykyforov, V.; Bordun, I.; Balandiukh, I.; Leskiv, G. Experimental investigation of Microcystis aeruginosa cyanobacteria thickening to obtain a biomass for the energy production. J. Water Land Dev. 2019, 43, 113–119. [Google Scholar] [CrossRef]
- Schattauer, A.; Weiland, P. Biogaz. Produkcja i Wykorzystanie. Rozdział: Opis Wybranych Podłoży; Institut für Energetik und Umwelt gGmbh: Leipzig, Germany, 2006; pp. 109–124. [Google Scholar]
- Li, K.; Liu, R.; Cui, S.; Yu, Q.; Ma, R. Anaerobic co-digestion of animal manures with corn stover or apple pulp for enhanced biogas production. Renew. Energy 2018, 188, 335–342. [Google Scholar] [CrossRef]
- Böjti, T.; Kovács, K.L.; Kakuk, B.; Wirth, R.; Rákhely, G.; Bagi, Z. Pretreatment of poultry manure for efficient biogas production as monosubstrate or co-fermentation with maize silage and corn stover. Anaerobe 2017, 46, 138–145. [Google Scholar] [CrossRef]
- Cavinato, C.; Fatone, F.; Bolzonella, D.; Pavan, P. Thermophilic anaerobic co-digestion of cattle manure with agro-wastes and energy crops: Comparison of pilot and full scale experiences. Bioresour. Technol. 2010, 101, 545–550. [Google Scholar] [CrossRef]
- Hartman, H.; Ahring, B.K. Anaerobic digestion of the organic fraction of municipal solid waste: Influence of co-digestion with manure. Water Res. 2005, 39, 1543–1552. [Google Scholar] [CrossRef] [PubMed]
- Kirchmayr, R.; Scherzer, R.; Baggesen, D.L.; Braun, R.; Wellinger, A. Animal by products and anaerobic digestion. In IEA Bioenergy, Task 37—Energy from Biogas and Landfill Gas; IEA: Paris, France, September 2003. [Google Scholar]
- Wardal, W.J.; Pawlak, J. An attempt to estimate CO2 emissions caused by energy consumption in Polish agriculture. Pol. Tech. Rev. 2019, 4, 13–22. [Google Scholar] [CrossRef]
- Li, R.; Chen, S.; Li, X. Anaerobic Co-digestion of Kitchen Waste and Cattle Manure for Methane Production. Energy Sources 2009, 31, 1848–1856. [Google Scholar] [CrossRef]
- Campos, E.; Palatsi, J.; Flotats, X. Codigestion of pig slurry and organic wastes from food industry. In Proceedings of the II International Symposium on Anaerobic Digestion of Solid Waste, Barcelona, Spain, 15–18 June 1999; pp. 192–195. [Google Scholar]
- Romaniuk, W.; Łochowski Biskupska, K.; Ostroshko, S.A. Urządzenie laboratoryjne do Produkcji Biogazu ze Stałych Substratów (Laboratory Device for the Biogas Production from Solid Substrates). Poland Patent No. 232200, 11 December 2013. [Google Scholar]
- Available online: https://www.gicon.de/en/home.html (accessed on 28 July 2020).
- Romaniuk, W.; Łochowski, W.; Borek, K.; Mazur, K. Sposób Wytwarzania Biogazu i Zespół Urządzeń do Realizacji Tego Sposobu (Method of Biogas Production and Devices Set for Implementing this Method). Poland Patent Application No. P.421062, 30 March 2017. [Google Scholar]
- Borek, K.; Romaniuk, W. Possibilities of obtaining renewable energy in dairy farming. Agric. Eng. 2020, 24, 9–20. [Google Scholar] [CrossRef]
- Romaniuk, W.; Łochowski, B.; Borek, K.; Mazur, K.; Wardal, W.J. Układ do Transportu i Dystrybucji Niewielkich Ilości Biogazu (System for the Transport and Distribution of Small Amounts of Biogas). Poland Patent No. 232201, 13 June 2017. [Google Scholar]










| Substrate | dw (%) | odw (% dw) | N | NH4 | P2O5 (% dw) | K2O | Mg |
|---|---|---|---|---|---|---|---|
| Cattle slurry | 8–11 | 75–82 | 2.6–6.7 | 1–4 | 0.5–3.3 | 5.5–10 | 0.3–0.7 |
| Pig slurry | Ca. 7 | 75–86 | 6–18 | 3–17 | 2–10 | 3–7.5 | 0.6–1.5 |
| Cattle manure | Ca. 25 | 68–76 | 1.1–3.4 | 0.22–2 | 1–1.5 | 2–5 | 1.3 |
| Pig manure | 20–25 | 75–80 | 2.6–5.2 | 0.9–1.8 | 2.3–2.8 | 2.5–3 | N/A |
| Chicken manure | Ca. 32 | 63–80 | 5.4 | 0.39 | N/A | N/A | N/A |
| Corn silage | 20–35 | 85–95 | 1.1–2 | 0.15–0.3 | 0.73 | 1.21 | 0.12 |
| Action | Description |
|---|---|
| Collection and delivery of manure samples: fresh, | Daily phase |
| Collection and delivery of manure samples: stucked manure, | 4–8 week phase |
| Collection and delivery of manure samples: composted manure | 4–6 month phase |
| Density analysis, pH, sm, smo | 2 samples in 4 replicates |
| Attempts to wash out with distilled water and inoculate | 4 samples |
| Density analysis, pH, sm, smo, start of biogas fermentation | 1 cumulative sample in 4 replicates |
| Completion of biogas fermentation, analysis of density, pH, sm, and smo in the fermentation plant | 1 cumulative sample in 4 replicates |
| Process Parameters of the Fermentation Mixture | OS | PC (OS WD) | ST (OS WD) | OP ZTE 15/15 | PC (OP WD) | ST (OP WD) | OD | PC (OD WD) | ST (OD WD) | K0—Inoculum |
|---|---|---|---|---|---|---|---|---|---|---|
| 10% Sample | 10% Sample | 10% Sample | 10% Sample | 10% Sample | 10% Sample | 10% Sample | 10% Sample | 10% Sample | ||
| Initial pH-H2O | 7.28 ± 0.07 | 7.32 ± 0.07 | 7.31 ± 0.07 | 7.16 ± 0.07 | 7.20 ± 0.07 | 7.20 ± 0.07 | 6.94 ± 0.07 | 6.95 ± 0.08 | 6.94 ± 0.07 | 7.02 ± 0.07 |
| compensation temp. at laboratory temp.: 20.5 °C. | 28.2 °C | 26.1 °C | 26.9 °C | 25.6 °C | 27.8 °C | 25.1 °C | 24.6 °C | 26.8 °C | 26.1 °C | 31.1 °C |
| Dissolved oxygen O2 * | 0.18 mg·L−1 | 0.02 mg·L−1 | 0.06 mg·L−1 | 0.11 mg·L−1 | 0.02 mg·L−1 | 0.09 mg·L−1 | 0.13 mg·L−1 | 0.02 mg·L−1 | 0.08 mg·L−1 | 0.02 mg·L−1 |
| LKT/OWN alkaline buffer potential * | 4.16 | 4.68 | 2.94 | 4.31 | 4.53 | 3.12 | 4.33 | 4.14 | 2.06 | 0.08 |
| Fermentation mixture load 1 WITH DRY WEIGHT | 4.54% dw ± 0.14 | 2.60% dw ± 0.05 | 3.57% dw ± 0.07 | 4.51% dw ± 0.14 | 2.53% dw ± 0.05 | 3.47% dw ± 0.10 | 4.20% dw ± 0.13 | 2.49% dw ± 0.05 | 3.34% dw ± 0.07 | 2.68% dw ± 0.04 |
| WITH ORGANIC DRY WEIGHT | 68.93% dw ± 2.07 | 69.51% dw ± 2.08 | 67.86% dw ± 2.04 | 68.95% dw ± 2.07 | 69.57% dw ± 2.09 | 68.71% dw ± 2.06 | 69.13% dw ± 2.05 | 67.47% dw ± 2.02 | 69.39% dw ± 2.08 | 67.61% dw ± 1.9 |
| Days of fermentation | 52 | 4 | 54 | 52 | 4 | 56 | 56 | 4 | 58 | 14 |
| Biogas yield, SPFM ** | 62.49 a,b ± 5.03 | 44.77 c ± 3.58 | 17.20 d ± 1.38 | 66.90 b ± 5.35 | 46.06 c ± 3.68 | 29.84 e ± 2.39 | 56.79 a ± 4.54 | 20.44 d ± 1.64 | 28.34 e ± 2.27 | 0.88 f ± 0.07 |
| dm3·kg−1 dw | dm3·kg−1 dw | dm3·kg−1 dw | dm3·kg−1 dw | dm3·kg−1 dw | dm3·kg−1 dw | dm3·kg−1 dw | dm3·kg−1 dw | dm3·kg−1 dw | dm3·kg−1 dw | |
| CH4 content | 53.6% | 46.8% | 51.3% | 55.1% | 48.8% | 50.5% | 50.7% | 43.6% | 50.3% | 51.6% |
| NH3 | 23.6 ppm | 12.3 ppm | 20.2 ppm | 18.4 ppm | 18.5 ppm | 12.2 ppm | 8.7 ppm | 4.7 ppm | 4.0 ppm | 2.56 ppm |
| H2S | 128 ppm | 113 ppm | 22 ppm | 216 ppm | 125 ppm | 24 ppm | 34 ppm | 30 ppm | 22 ppm | 9 ppm |
| Process Parameters of the Post-Fermentation Mixture | Digestate OS 2 | Digestate PC (OS WD) 2 | Digestate ST (OS WD) 2 | Digestate OP ZTE 15/15 2 | Digestate PC (OP WD) 2 | Digestate ST (OP WD) 2 | Digestate OD 2 | Digestate PC (OD WD) 2 | Digestate ST (OD WD) 2 | Digestate K0—Inoculum |
|---|---|---|---|---|---|---|---|---|---|---|
| pH-H2O final compensation temperature at laboratory temperature: 20.3 °C | 7.02 ± 0.07 | 7.18 ± 0.07 | 6.92 ± 0.07 | 7.14 ± 0.08 | 7.55 ± 0.08 | 6.48 ± 0.07 | 7.18 ± 0.07 | 7.52 ± 0.07 | 6.94 ± 0.08 | 7.34 ± 0.07 |
| 34.1 °C | 34.5 °C | 33.8 °C | 33.6 °C | 34.1 °C | 34.0 °C | 34.5 °C | 34.8 °C | 34.2 °C | 34.2 °C | |
| Dissolved oxygen O2 * | 0.02 mg·L−1 | 0.02 mg·L−1 | 0.02 mg·L−1 | 0.02 mg·L−1 | 0.02 mg·L−1 | 0.02 mg·L−1 | 0.02 mg·L−1 | 0.02 mg·L−1 | 0.02 mg·L−1 | 0.02 mg·L−1 |
| Alkaline buffer potential LKT/OWN | 0.68 | 0.05 | 0.83 | 0.89 | 0.08 | 0.98 | 0.76 | 0.04 | 1.12 | 0.028 |
| Residue in the post-fermentation mixure 1 WITH DRY WEIGHT | 4.4% dw ± 0.1 | 1.5% dw ± 0.1 | 4.1% dw ± 0.1 | 5.3% dw ± 0.1 | 1.8% dw ± 0.1 | 4.0% dw ± 0.1 | 4.6% dw ± 0.1 | 1.2% dw ± 0.1 | 5.1% dw ± 0.1 | 2.10% dw ± 0.0 |
| ORGANIC DRY WEIGHT | 52.2% dw ± 1.6 | 32.0% dw ± 1.3 | 39.8% dw ± 1.3 | 46.3% dw ± 1.4 | 34.2% dw ± 1.3 | 36.8% dw ± 1.3 | 42.8% dw ± 1.4 | 32.4% dw ± 1.3 | 36.1% dw ± 1.3 | 50.4% dw ± 1.8 |
| Substrate | Biogas Yield | CH4 Content (% Vol.) | |
|---|---|---|---|
| (m3·t−1 dw) | (m3·t−1 odw) | ||
| Cattle slurry | 20–30 | 200–500 | 60 |
| Pig slurry | 20–35 | 300–700 | 60–70 |
| Cattle manure | 40–50 | 210–300 | 60 |
| Pig manure | 55–65 | 270–450 | 60 |
| Chicken manure | 70–90 | 250–450 | 60 |
| Corn silage | 170–200 | 450–700 | 50–55 |
Publisher’s Note: MDPI stays neutral with regard to jurisdictional claims in published maps and institutional affiliations. |
© 2021 by the authors. Licensee MDPI, Basel, Switzerland. This article is an open access article distributed under the terms and conditions of the Creative Commons Attribution (CC BY) license (https://creativecommons.org/licenses/by/4.0/).
Share and Cite
Borek, K.; Romaniuk, W.; Roman, K.; Roman, M.; Kuboń, M. The Analysis of a Prototype Installation for Biogas Production from Chosen Agricultural Substrates. Energies 2021, 14, 2132. https://doi.org/10.3390/en14082132
Borek K, Romaniuk W, Roman K, Roman M, Kuboń M. The Analysis of a Prototype Installation for Biogas Production from Chosen Agricultural Substrates. Energies. 2021; 14(8):2132. https://doi.org/10.3390/en14082132
Chicago/Turabian StyleBorek, Kinga, Wacław Romaniuk, Kamil Roman, Michał Roman, and Maciej Kuboń. 2021. "The Analysis of a Prototype Installation for Biogas Production from Chosen Agricultural Substrates" Energies 14, no. 8: 2132. https://doi.org/10.3390/en14082132
APA StyleBorek, K., Romaniuk, W., Roman, K., Roman, M., & Kuboń, M. (2021). The Analysis of a Prototype Installation for Biogas Production from Chosen Agricultural Substrates. Energies, 14(8), 2132. https://doi.org/10.3390/en14082132

