The Silent Path: The Development of the Single Sleeve Valve Two-Stroke Engine over the Last 110 Years
Abstract
:1. Introduction
- Larger valve flow areas for the same bore and stroke than a poppet valve engine [2].
- There is no valve, valve stem, or valve guide to affect air flow at small port openings.
- Higher effective compression/expansion ratios than that of poppet valve engines are possible at the same knock limit for a common fuel quality (RON or MON) [2].
- Complete flexibility in the design of combustion chamber shape, injector, or spark plug position, as there are no valve discs to consider.
- Removal of many of the hot spots in the cylinder head i.e., components such as the exhaust valves.
- Desmodromic valve operation is simple to achieve (and indeed the norm), leading to reduced limitations on gas exchange and engine speed.
- Reduction in number of engine parts, including the elimination of valves, valve spring, followers, and associated paraphernalia.
- Quieter operation.
- Reduced engine height for a given engine stroke length (as there is no valve train mechanism above the cylinder head to consider).
- Potentially better heat transfer behaviuor.
- Simple cylinder disablement, depending on the valve drive mechanism.
- Reduced component wear.
- Potentially lower running friction.
- The possibility of supercharging and/or Atkinson cycle operation on a two-stroke engine.
2. Birth of Sleeve Valve Technology: The First Decade of 20th Century
2.1. History of the Two-Stroke Engine Sleeve Valve Arrangement
2.1.1. Early Developments
2.1.2. 1930s and the War Years
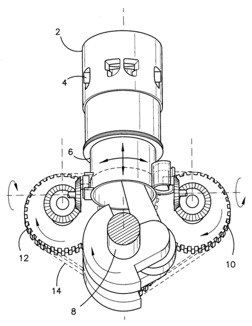
2.1.3. Engine Design Issues
- Seizure of the engine caused by thermal expansion of different components
- Junk head cooling
- Piston cooling
- Sleeve roundness (a specific issue for sleeve valves)
3. Conclusions
4. Taxonomy of Terms
Author Contributions
Funding
Conflicts of Interest
References
- Galpin, J.; Colliou, T.; Laget, O.; Rabeau, F.; De Paola, G.; Rahir, P. Design of a Fuel-Efficient Two-Stroke Diesel Engine for Medium Passenger Cars: Comparison between Standard and Reverse Uniflow Scavenging Architectures; SAE Technical Paper Series; SAE: London, UK, 2017. [Google Scholar]
- Fedden, A.H.R. The Single Sleeve as a Valve Mechanism for the Aircraft Engine; SAE Technical Paper 380161; SAE: Warrendale, PA, USA, 1938. [Google Scholar] [CrossRef]
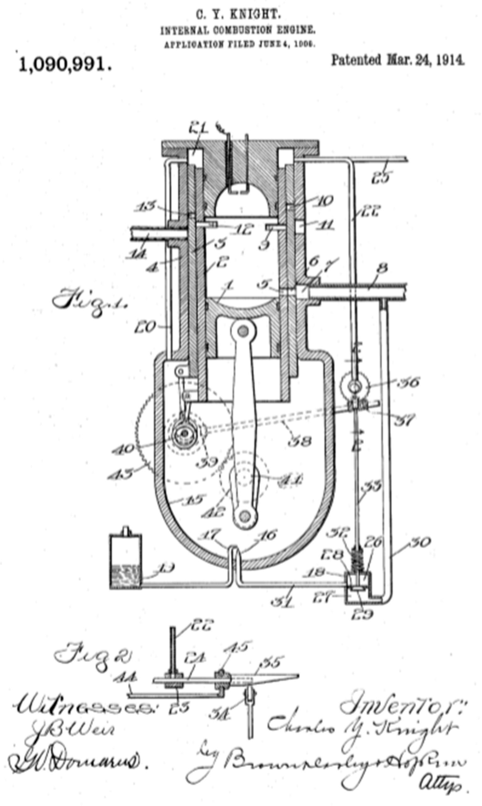
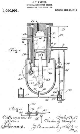
- Knight, C.Y. Internal Combustion Engine. U.S. Patent No. 968,166, 4 April 1904. [Google Scholar]
- Knight, C.Y. Internal Combustion Engine. U.S. Patent No. 1,090,991, 4 June 1906. [Google Scholar]
- Knight, C.Y. Internal Combustion Engine. U.S. Patent No. 1,136,143, 10 October 1908. [Google Scholar]
- Burt, P. Internal Combustion Engine. International Patent Application No. GB418,988x, 8 August 1909. [Google Scholar]
- McCollum, J.H.K. Internal Combustion Engine. International Patent Application No. GB409,216, 29 May 1909. [Google Scholar]
- Montagu, D.S.; Barrington, E.J.; Burgess-Wise, D. Daimler Coventry: The Full History of Britain’s Oldest Car Maker, 1st ed.; Patrick Stephens Ltd.: Somerset, UK, 1995; p. 114. [Google Scholar]
- Hunt, W.H. Valve Mechanism for Two-Stroke Gas Engine. U.S. Patent No. 1,292,322, 13 December 1915. [Google Scholar]
- Stokes, C.L. Internal Combustion Engine. U.S. Patent No. 1,308,560, 2 April 1916. [Google Scholar]
- Bischof, B. 2 Cycle Internal Combustion Engine. U.S. Patent No. 2,022,841, 9 February 1931. [Google Scholar]
- Kipfer, P.F. Two-Stroke Internal Combustion Engine. U.S. Patent No. 2,134,286, 20 May 1936. [Google Scholar]
- Kammer, G.S. Two Stroke Cycle. U.S. Patent No. 2,197,107, 21 February 1939. [Google Scholar]
- Scott, L.L. GM. Internal Combustion Engine. U.S. Patent No. 22,611,567, 13 July 1939. [Google Scholar]
- Rowledge, A.J. Two Stroke Sleeve Drive of V Engines. International Patent Application No. GB524642A, 2 February 1939. [Google Scholar]
- Ricardo, H. Two Stroke Sleeve Valve Engine. U.S. Patent No. 2,367,963, 11 June 1943. [Google Scholar]
- Hiett, G.F.; Robson, J.V.B. A High-Power Two Cycle Sleeve Valve Engine for Aircraft. Aircraft. Eng. Burn. Publ. 1950, 22, 21–23. [Google Scholar] [CrossRef]
- Nahum, A.; Foster-Pegg, R.W.; Birch, D. The Rolls-Royce Crecy; Rolls-Royce Heritage Trust: Derby, UK, 1994; ISBN 1-872922-05-8. [Google Scholar]
- Halsing, K. GM. Sleeve Valve Engine. U.S. Patent No. 2,409,761, 24 February 1945. [Google Scholar]
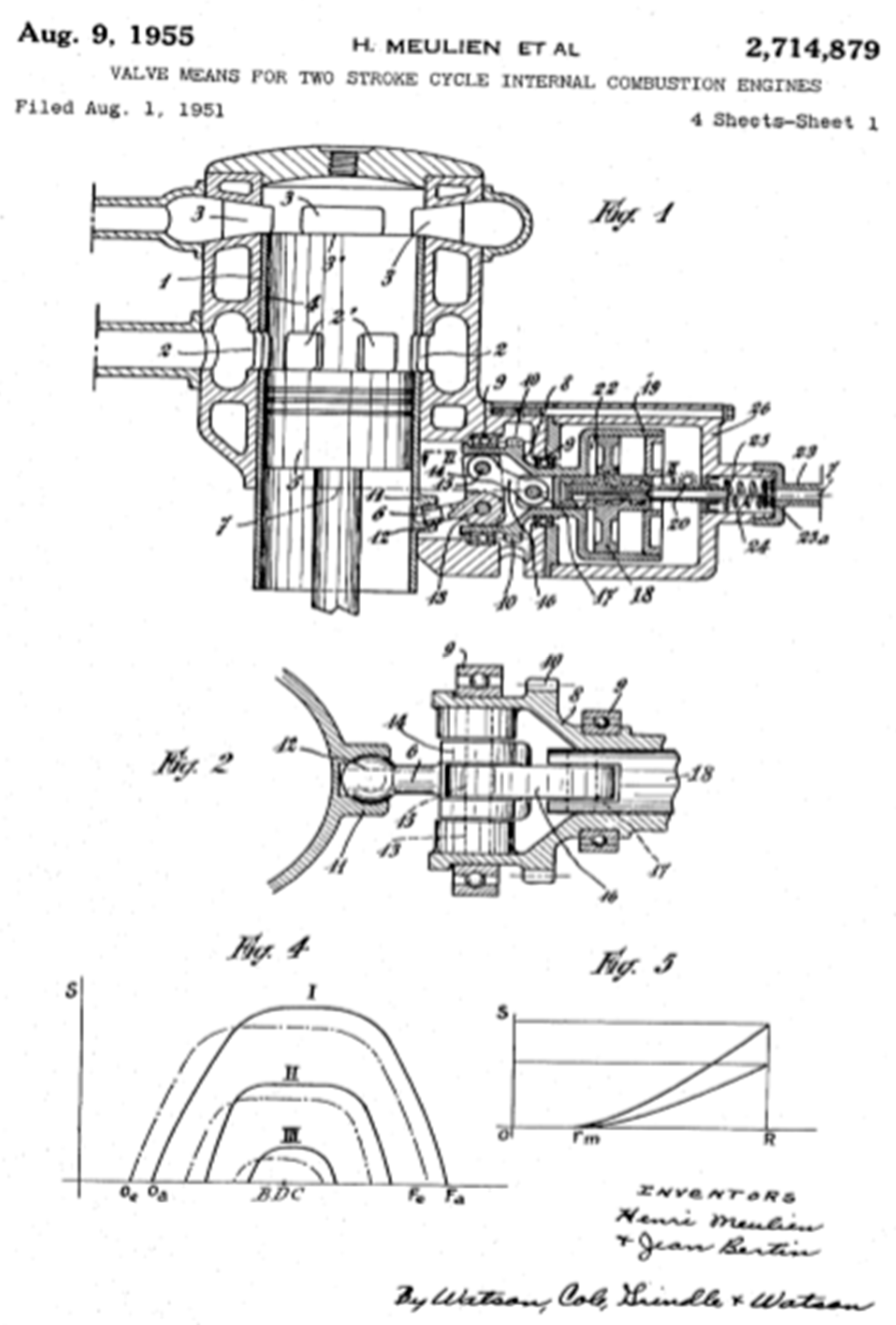
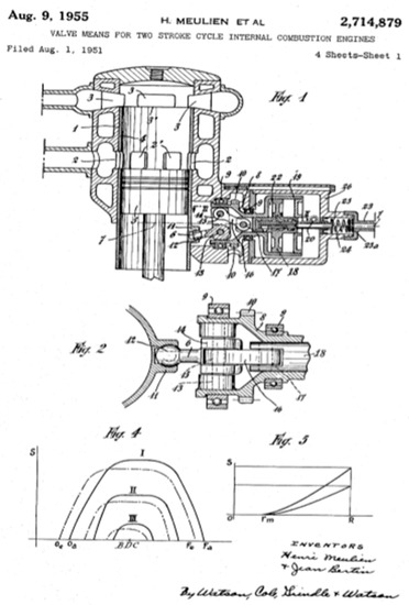
- Meulien, H.; Bertin, J. Valve Means for Two Stroke Cycle Internal Combustion Engines. U.S. Patent No. 2714879, 1 August 1951. [Google Scholar]
- Sparmann, E.E.K. Two Cycle Engine Sleeve Valve Control of Scavenging. U.S. Patent No. 2,523,599, 26 November 1946. [Google Scholar]
- Chen, Y.; Chen, C. Two Stroke Engine. U.S. Patent No. 6662764B2, 6 November 2003. [Google Scholar]
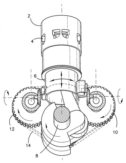
- Beninca, J.; Jones, M. Compound Drive for the Sleeve Valve of an Engine. International Patent Application No. WO2010094078A1, 26 August 2010. [Google Scholar]
- Cleeves, J.M. Single Piston Sleeve Valve with Optional Variable Compression Ratio Capability. U.S. Patent No. 9650951B2, 16 May 2017. [Google Scholar]
- Ellis, P. Sleeve Valve Engine. U.S. Patent No. 2017/009617A1, 12 January 2017. [Google Scholar]
- Pattakos, J. Rotary Sleeve Valve for Asymmetric Timing in Two Strokes. International Patent Application No. GB2563685A, 26 December 2018. [Google Scholar]
- Turner, J. Sleeve Valve Engine. International Patent Application No. GB2432398, 18 November 2005. [Google Scholar]
- Fedden, A.H.R. Bristol Aeroplane Company Improvements in or Relating to Internal Combustion Engines Having Sleeve Valves. International Patent Application No. GB425060A, 15 November 1935. [Google Scholar]
- Mayer, A.J. Continental Engine. U.S. Patent No. 2016680, 8 October 1931. [Google Scholar]
- Fedden, A.H.R. Bristol Aeroplane Company Cylinder Head for Internal Combustion Engine. U.S. Patent No. 1962987, 28 August 1931. [Google Scholar]
- Niven, A.M. Continental; Cylinder Head. U.S. Patent No. 1820628, 25 August 1931. [Google Scholar]
- Turner, J.W.; Monsma, J.P.L. An Investigation into the Port Timing of a Burt-McCollum Sleeve Valve and Its Interaction with a Simple Variable Compression Ratio Mechanism; SAE Technical Paper 2017-24-0168; SAE: Capri, Italy, 2017. [Google Scholar]
- Turner, J.W.G.; Head, R.A.; Chang, J.; Engineer, N.; Wijetunge, R.; Blundell, D.W.; Burke, P. Two-Stroke Engine Options for Automotive Use: A Fundamental Comparison of Different Potential Scavenging Arrangements for Medium-Duty Truck Applications; SAE Technical Paper 2019-01-0071; SAE: San Antonio, TX, USA, 2019. [Google Scholar]



























Publisher’s Note: MDPI stays neutral with regard to jurisdictional claims in published maps and institutional affiliations. |
© 2021 by the authors. Licensee MDPI, Basel, Switzerland. This article is an open access article distributed under the terms and conditions of the Creative Commons Attribution (CC BY) license (http://creativecommons.org/licenses/by/4.0/).
Share and Cite
Head, R.; Turner, J. The Silent Path: The Development of the Single Sleeve Valve Two-Stroke Engine over the Last 110 Years. Energies 2021, 14, 616. https://doi.org/10.3390/en14030616
Head R, Turner J. The Silent Path: The Development of the Single Sleeve Valve Two-Stroke Engine over the Last 110 Years. Energies. 2021; 14(3):616. https://doi.org/10.3390/en14030616
Chicago/Turabian StyleHead, Robert, and James Turner. 2021. "The Silent Path: The Development of the Single Sleeve Valve Two-Stroke Engine over the Last 110 Years" Energies 14, no. 3: 616. https://doi.org/10.3390/en14030616
APA StyleHead, R., & Turner, J. (2021). The Silent Path: The Development of the Single Sleeve Valve Two-Stroke Engine over the Last 110 Years. Energies, 14(3), 616. https://doi.org/10.3390/en14030616

