Next Article in Journal
Streams Analysis for Better Air Quality: The German Lead City Program Assessed by the Policy Package Approach and the Multiple Streams Framework
Next Article in Special Issue
Stochastic Drift Counteraction Optimal Control of a Fuel Cell-Powered Small Unmanned Aerial Vehicle
Previous Article in Journal
Power Hardware-in-the-Loop: Response of Power Components in Real-Time Grid Simulation Environment
Previous Article in Special Issue
Power Split Supercharging: A Mild Hybrid Approach to Boost Fuel Economy
 
 
Font Type:
Arial Georgia Verdana
Font Size:
Aa Aa Aa
Line Spacing:
Column Width:
Background:
Article

Energy Optimization of Electric Vehicles by Distributing Driving Power Considering System State Changes

1
School of Mechanical Engineering, Sungkyunkwan University, Suwon 16419, Korea
2
Central R&D Center, Mando Corporation, Seongnam 13486, Korea
*
Author to whom correspondence should be addressed.
Energies 2021, 14(3), 594; https://doi.org/10.3390/en14030594
Submission received: 21 December 2020 / Revised: 18 January 2021 / Accepted: 22 January 2021 / Published: 25 January 2021

Abstract

In a battery-electric vehicle, a representative electric vehicle, there is a growing demand for performance and one-charge mileage improvement. As an alternative to such improvements, the capacity of the battery has been increased; however, due to the corresponding increase in the weight of the battery and the limited space in the vehicle, increasing the capacity of the battery also has limitations. Therefore, researches are being actively conducted to improve system operation efficiency to overcome such limitations. This paper proposes a distributing method of the driving forces to a battery-powered electric shuttle bus for last-mile mobility equipped with the decentralized driving system while taking into account voltage changes of the input terminals due to changes in the battery charge. The system operation efficiency changes were compared and evaluated by performing energy consumption analysis using ‘Manhattan Bus Driving Cycle’ at low voltage condition (SOC 20%). Various analyzes were performed and compared, such as the uniform distribution method of driving forces of the front and rear wheels (Uniform), the optimization method without considering the input terminal voltage change (Vnorm = 90 V), and the optimization method considering the input terminal voltage change (Vdclink). As a result, it shows that the proposed algorithm can improve 6.0% compared to the conventional uniform driving force distribution method (Uniform). Moreover, it shows that the real-time optimization method without considering the input voltage change (Vnorm = 90 V) can improve 5.3% compared to the uniform distribution method. The proposed method can obtain an additional 0.7% increase in total cost compared to the existing optimization method, which shows that the vehicle system has cost-effectiveness by reducing the battery capacity required to achieve the same mileage.

1. Introduction

Due to their high energy density and convenience, fossil fuels have been exploited for vehicles for a long time. However, this exploitation has been accompanied by global problems of air pollution in the form of fine particulates resulting from vehicle exhausts, including NO x , as well as global warming, which is attributable to carbon dioxide emissions.
Therefore, countries worldwide have strengthened regulations on the fuel efficiency and emissions of vehicles. Additionally, some countries and cities have even prohibited the driving and sale of vehicles equipped with internal combustion engines [1]. To cope with these regulations, the global automobile industry has developed and released various kinds of eco-friendly vehicles, denoted as ‘xEV’. Among them, electric vehicles have been spotlighted as alternatives that can help reducing air pollution due to their zero emission. There has also been a rapid increase in the number of electric vehicle models that have been released into the market, as well as the sales [2]. The market outlooks estimate that the share of electric vehicles could reach approximately 28% of all motor vehicles in the motor vehicle industry by 2030 [3].
The charging time and driving distance per battery charge still remain as issues that can be further improved. In case of the charging time issue, the charging time for 400 km driving range of electric vehicle equipped with 400 V system is 29 min, but, the charging time can be reduced to less than 15 min for the same driving range by changing the voltage level from 400 V to 800 V [4]. In case of driving distance, the driving distance between 80 km and 200 km for a battery-powered electric shuttle bus equipped with 30.7 kWh and 33 kWh, respectively, has been presented [5,6]. To extend the driving distance provided by a single charge of an electric vehicle battery, various methods have been introduced, including one that developed a high-power-density battery (solid state battery) to increase the energy capacity [7], as well as another study that installed two different driving systems on the front and rear wheels and optimized the power distribution of the front and rear wheels [8]. Furthermore, Xibo et al. proposed the traction force distribution method to minimize power losses for permanent magnet (PM)-type traction motors for a front and rear wheel driven electric vehicle [9]. Studies on independent four-wheel driving systems intending to increase the performance efficiency of electric vehicles have also shown promising results. For example, Park et al. conducted a study on the optimization of the driving energy and systematic stability of an electric vehicle equipped with a four-wheel drive system by employing fuzzy logic [10]. The efficiency of the driving system of an electric vehicle depends substantially on the temperature and input voltage of the driving system [11], and the input voltage is also dependent on the voltage level at the terminal of the battery because of the wire connection between the terminal of the battery and the input terminal of the driving system. The voltage level at the terminal and capacity of the battery vary according to the elapsed driving hours, and changes in the input voltage affect the output of the driving system. However, the studies mentioned above [8,9,10] did not account for changes in the system state.
This paper presents methods to increase the energy efficiency of a battery-powered electric shuttle bus equipped with a decentralized four-wheel drive system. First, the specification of a battery-powered electric shuttle bus will be derived. Then, the analysis of the input voltage effects on the driving system efficiency will be conducted, and an algorithm to obtain the optimal distribution of driving torque to the front and rear wheels by accounting for the varying input voltages will be proposed. The effects and gain of the algorithm on the driving efficiency of a battery-powered electric shuttle bus will be verified by Matlab/Simulink simulation.
This paper is organized as follows: The specifications for a driving system and requirements for a battery-powered electric shuttle bus are defined in Section 2, in Section 3, design results for the drive system are described. The efficiency changes are also examined with the input voltage changes in Section 3. The algorithm used to allocate the driving torque to the front and rear wheels while securing optimal system efficiency is explained in Section 4. In Section 5, the simulation model for a battery-powered electric shuttle bus is built and the effects on the system efficiency in low voltage condition is analyzed by comparing with uniform distribution method and also with a fixed voltage optimization method through simulation according to ‘Manhattan Bus cycle’. Finally, an effectiveness of proposed algorithm is analyzed for a battery-powered electric shuttle bus.

2. Electric Vehicle System Design

In this section, the requirement of the target vehicle is defined and then, the requirement for propulsion system is specified by using longitudinal dynamics.

2.1. Vehicle Requirements

The target vehicle selected for the simulation is a battery-powered electric shuttle bus. This bus drives according to a predetermined interval to connect key places to respective final destinations as a means of last-mile transportation. The driving route for the target vehicle has a one-way interval of 3.7 km, wherein the simulation design included an average driving speed of 15 km/h, a driving time of approximately 15 min, a daily operation of 8 h, and up to 15 passengers. The specifications of the target vehicle are summarized in Table 1.
Table 2 presents the performance requirements of the target vehicle. By considering the fact that the vehicle drives at a low speed along the last-mile interval in the downtown regions of cities, the following performance requirements were set for the vehicle: a maximum driving speed of 45 km/h [5,6], an autonomous driving speed of 25 km/h [5,6], a maximum climbing capacity enabling propulsion on a road with a maximum gradient of 28%, continuous driving at 5 km/h on a road with an identical gradient, and a maximum acceleration or deceleration capability of 3 m / s 2 .
The electric shuttle bus has an independent four-wheel drive system with the following power transmission architecture. Figure 1 shows the configuration of the power system of the target autonomous electric vehicle.

2.2. Propulsion System Sizing

To fulfill the power requirements for the desired performance of the target vehicle, it is necessary to set the design objectives of the power system. Thus, according to the power performance requirements of the target vehicle, the correlation thereof with the attributes of the power system needs to be identified. As shown in Figure 2, the correlations between the indicators of the power performance of the target vehicle and the attributes of the power system are defined.
The maximum speed signifies the maximum continuous driving speed of the target vehicle on a flat road (gradient 0%) corresponding to the continuous output of its power system. As an attribute of a vehicle that corresponds to the continuous output of its power system, the performance of that vehicle continuously driving along a gradient road (gradeability) could be taken into account. In addition, the performance in terms of the maximum acceleration and deceleration, along with the maximum gradeability (gradient), correspond to the instantaneous output of the power system.
The forces ( F x ) acting on the driving vehicle can be differentiated as the driving force of the vehicle ( F t ) and the forces of air resistance ( F a e r o ), rolling resistance ( F r o l l i n g ), and climbing resistance ( F g r a d e ). These are illustrated in Equations (1)–(5). The balance relationship between forces, corresponding to the power performance objectives of the vehicle in question, can be represented in terms of longitudinal vehicle dynamics (illustrated in Equation (1)), from which the forces required for each wheel can be determined [12]:
  F x = M x ¨
F x = F t F a e r o F r o l l i n g F g r a d e
F a e r o = 1 2 ρ C d A f x ˙ 2
F r o l l i n g = C r M g cos
F g r a d e = M g sin
Here, ρ represents the air density of 1.293   kg / m 3 ; C d is a coefficient of air resistance; A f and x ˙ represent the front area and velocity of the vehicle, respectively; C r denotes the coefficient of rolling resistance, which is 0.01; and M , g , and represent the mass of a vehicle, gravitational acceleration, and longitudinal gradient of the road, respectively. The other specifications were borrowed from the vehicle specifications presented in Table 1.
Table 3 and Figure 3 present the results of the power output and torque required for the vehicle, which were obtained using Equations (1)–(5) and Equations (6) and (7), respectively. By accounting for changes in the loading condition, air pressure, and tire diameter of the vehicle, a speed of 2 km/h and a 1% margin for the gradient angle were added:
T t = F t R t
P = T t ω t = F t x ˙
Here, T t and R t represent the wheel torque and tire radius, respectively.
An operating speed of 25 km/h was selected to satisfy the requirement that the maximum speed remain below 45 km. Based on the above results, the largest value among the values corresponding to the continuous output was selected by using Equations (8) and (9), by which the continuous maximum torque of 2971 Nm and the continuous maximum output of 33.5 kW were derived. Additionally, a base speed of 108 rpm was determined by Equation (7), which is the TN characteristic expression of the driving system. Here, the instantaneous maximum torque and instantaneous maximum output are dependent upon the cooling mechanism of the motor. For example, in the case of water cooling, these are approximately 1.8 to 2 times the continuous peak torque and continuous output, respectively. In this paper, the value of 1.8 was used, resulting in a maximum torque of 5348 N and an instantaneous maximum output of 60.4 kW:
T t = F t R t
T m a x = max ( T max _ s p e e d ,   T g r a d e _ 25 % ,   T g r a d e _ 12 % )
As shown in Figure 1, four driving motors are mounted on the vehicle. Furthermore, the required performance of each driving motor in the single driving system was derived by dividing the entire torque and output of the vehicle into four shares, as presented in Table 4.

2.3. Propulsion System Design

This section describes the specifications of the driving motor that is capable of satisfying the requirements of the output characteristics in the drive system derived from Section 2.2. The correlation between the Vdclink value and the efficiency map of the motor is analyzed.
Table 5 lists the specifications of the motor used in this study. Figure 4 illustrates the dimensions and shapes for the cross-sectional view of the motor. Figure 5 shows the efficiency map of the motor corresponding to Vdclink values of 105 V and 75 V, respectively. To develop the efficiency map of the motor, the finite element method (FEM) was used to obtain the inductance Ld and Lq on the dq-axis, as well as the magnetic flux ψa for a permanent magnet.
Based on the FEM results, the information needed for the efficiency map of the motor is derived through the following Equation of torque (10) and Equations of voltage (11)–(13) [13], by using the equivalent circuit (Figure 6) on the dq-axis of the motor [14]:
T = 3 4 N p   { ψ a   i o q +   ( L d     L q ) i o d   i o q } = 3 4 N p   { ψ a   i a   cos β +   1 2 ( L q     L d )   i a 2   sin 2 β }
v o d =   ω e   L q   I o q , v o q = ω e   L d   I o d + ω e   ψ a , v o = v o d 2 + v o q 2
v d = R a I o d +   ( 1 +   R a R c )   v o d , v q = R a I o q +   ( 1 +   R a R c )   V o q
V l i m i t = V d c l i n k ×   η i n v   v d 2 + v q 2
The meanings of the symbols expressed in Equations (10)–(13) are as follows:
Np: Number of poles; ψa: Magnetic flux of a permanent magnet; Ld and Lq: Inductance on the dq-axis;
iod and ioq: Current on the dq-axis; icd and icq: Current for the core resistance Rc on the dq-axis;
id and iq: Input current on the dq-axis; ia: Input current; β: Current angle;
ωe: Electric angular velocity; ωm: Mechanical angular velocity; vod and voq: Voltage on the dq-axis;
Ra: Phase resistance for the winding; Rc: Core loss resistance; and ηinv: Inverter efficiency.
Equation (10) for torque T can be derived using Faraday’s law [15]. In order to meet the voltage limit by considering the maximum speed of the vehicle, the given voltage limit Vlimit is required to satisfy equation (13). In Equation (13), Vdclink denotes the peak voltage in the terminal of the inverter input for the battery. The inverter efficiency is assumed as ηinv = 0.95 to derive Vlimit [13]
The motor efficiency ηm is derived by the maximum torque per ampere (MTPA) control methodology to generate the maximized efficiency. The efficiency of the motor is reduced by the losses generated from the motor. These losses can be distinguished into the copper loss, iron loss, and mechanical loss. The copper loss Pcu is due to the input current of the stator coil. The iron loss for the electrical core of the stator and rotor Piron results from the eddy current of the core, which is proportional to the rotating speed of the motor. Pcu is calculated using Equation (14), and Piron is calculated using Equation (15) by deriving the iron loss resistance Rc after conducting finite element analysis by using the loss information of the electrical core (15). The mechanical loss is excluded in this study due to the fact that the measurements are indispensable. Therefore, the efficiency of the motor can be expressed as shown in Equation (16) [13]:
P c u = i a 2   R a
P i r o n = v o 2 R c
η m =   P P +   P l o s s =   T ω m T ω m + P c u + P i r o n  

3. Analysis of the Propulsion System Efficiency

As illustrated in Figure 5, an analysis of the efficiency and output for a torque of 25 Nm over the entire speed interval for the whole efficiency map was conducted to identify changes in the efficiency for the two Vdclink models. By using Equations (10)–(16), the causes of the changes in efficiency according to Vdclink were analyzed. Figure 7 shows the analyzed results. The efficiency of the Vdclink = 75 V model decreased compared to that of the Vdclink = 105 V model, in accordance with the increase of speed after exceeding the base speed. In the drive region for the torque of 25 Nm as shown in Figure 5, the mechanical output at each speed was identical.
The difference in the loss characteristics, which caused the difference in the efficiency of the two Vdclink models, is described by using Figure 8. The phase resistance Ra of the two Vdclink models is identical, since the two models use the same motor. However, the phase currents used to generate the torque of 25 Nm are different for different Vdclink values, as shown in Figure 8a. The requirement of the two models is to meet the identical power condition, as shown in Figure 7b. In the case of Vdclink = 105 V, the voltage limit is reached at the base speed of 1450 rpm. However, in the case of Vdclink = 75 V, the voltage limit is reached at the base speed of 1000 rpm. Considering the voltage limit condition after reaching the base speed of the two models, the Vdclink = 75 V model requires more current Ia than the Vdclink = 105 V model in order to satisfy the identical power output condition P = Vdclink Ia.
In this paper, the power factor was assumed to be 1. Therefore, in the case of Vdclink = 75 V, a higher input current is required than in Vdclink = 105 V, as shown in Figure 8a. For this reason, the copper loss increased significantly compared to that of Vdclink = 105 V, as shown Figure 8b. In terms of the iron loss, the magnitude is significantly smaller than that of the copper loss, as shown in Figure 8c. Therefore, in the case of Vdclink = 75 V, the main cause of the reduced efficiency is that the increased copper loss due to the phase current is dominant.

4. Control Strategy

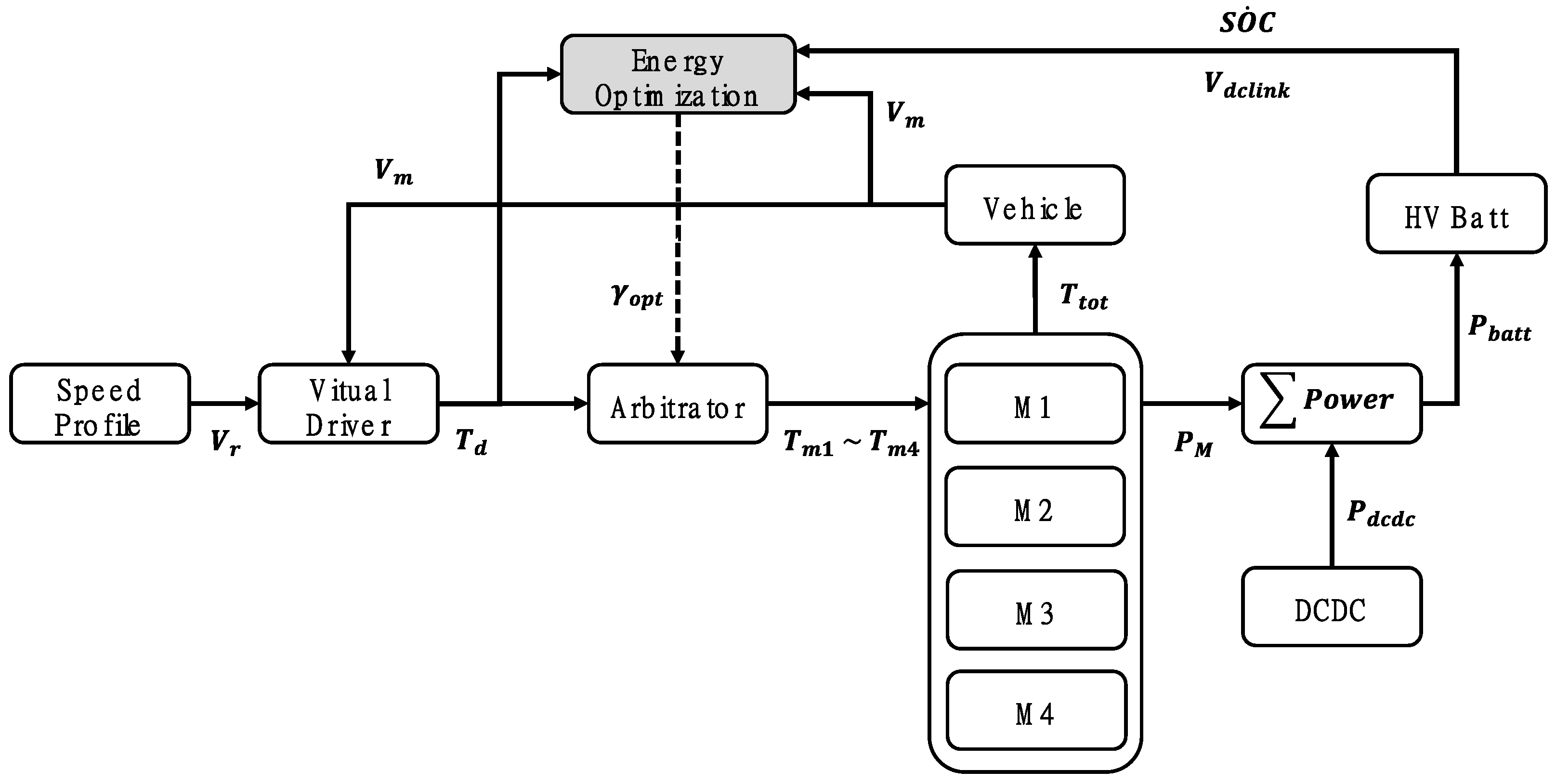
As illustrated in Figure 9, the real-time optimization algorithm for the power distribution to the front and rear wheels, which showed the lowest energy consumption to create the required driving torque under a given speed, is presented. The ‘Virtual Driver’ creates the required driving torque ( T d ) in order to follow the given speed ( V r ) , and the ‘Energy Optimization’ creates the ‘set-point’ of the driving torque of each system divided into four wheels with minimum energy consumption while satisfying the required driving torque. Here, V r , T d , T m 1 T m 4 , T t o t , γ o p t , P M , P d c d c , P b a t t , V m , V d c l i n k , and S O C ˙ signify the required speed, required torque by the driver, target torque of the driving system, total driving torque, ratio of the optimal energy distribution for the front and rear driving torques, required electric driving torque of the driving system, electric power consumption of the 12 V power system, total power consumption of the battery, vehicle speed, input voltage of the driving system, and rate of change in the electric energy of the battery, respectively.
The real-time optimization method presented in this paper is explained concretely below, and the effects of changing Vdclink were verified by comparing two cases of power consumption, where the changes in Vdclink were taken into account or not taken into account for the specified point (speed, required torque).

4.1. Optimal Front/Rear Torque Distribution Concept

The real-time optimization of the driving energy can be modeled using Equations (17)–(23), shown below. The system state variable SOC and the controlled input of the ratio γ of the driving torques to the front and rear wheels are used for modeling. Here, the required torque ( T d , f ) for the front and rear wheel drive of the system varies according to the distribution ratio to the front and rear wheels.
Thus, the operating point varies accordingly, resulting in changes in the efficiencies ( η f , η r ) of the front and rear wheel drive systems. Additionally, the electric power ( P M ) used by the drive system varies in accordance with the changing distribution ratio of the driving torque. Here, as examined in Section 3, the efficiency ( η ) of drive system as a map can be modeled with speed and torque. In this study, the efficiency ( η ) map of the drive system is modeled with Equation (22) by taking the change of the input voltage ( V d c l i n k ) into account. The input voltage ( V d c l i n k ) modeled by internal resistance circuit of the battery is as a function of SOC and the rate of SOC (23) [16]; in this way, the input voltage ( V d c l i n k ) of the given state is considered. In addition, the braking stability based on the ideal braking torque distribution was designed. Then, the regenerative braking torques distributed to the front and rear axles were limited by the maximum generated torque of the corresponding traction system.
By employing Equation (18), which represents the cost function, the total consumption of energy can be minimized by minimizing the consumption of electric power ( E ˙ ) required at each moment by the driving system in every time interval 10 ms, as expressed in Equation (19):
S O C ˙ = f ( S O C ( t ) ,   P d ( t ) , γ ( t ) )
J * = min γ ( t ) ,   t 0 t t f t 0 t f E ˙ ( P d ( t ) ,   γ ( t ) , t ) d t
E ˙ ( P d ( t ) ,   γ ( t ) , t ) =   P M ( t ) + P d c d c ( t )
P M ( t ) =   P M , f ( t ) +   P M , r ( t )
P M , f ( t ) =   P d ( t ) γ ( t ) η f ( t ) , P M , r ( t ) = P d ( t ) ( 1 γ ( t ) ) η r ( t )
η f ( t ) =   g ( T d , f ( t ) , ω f ( t ) , V d c l i n k ( t ) ) , η r ( t ) =   g ( T d , r ( t ) , ω r ( t ) , V d c l i n k ( t ) )
V d c l i n k ( t ) = h ( S O C ( t ) ,   S O C ˙ )
subject to:
S O C ( t )   { S O C m i n ,   S O C m a x }
γ ( t )   { γ m i n ,   γ m a x }
P M , f   { 0 ,   P m a x } ,   P M , r   { 0 ,   P m a x }
P d c d c ( t ) = C o n s t a n t
Figure 10 illustrates the method of distribution of the driving torque to optimize the real-time energy consumption. When the torque ( T d ) required by a driver is given at a certain speed ( V m ), then the combination of the available driving torques of T d , f and T d , r are created by the array ( γ ) of the driving torque distribution ratio. By exploiting the efficiency map reflecting the voltage of the input terminal, the efficiency vectors of the front and rear wheel corresponding to each created combination of the driving torque can be generated. Consequently, the energy consumption P M at each element in the array of the distribution ratio of the driving torque can be calculated. Additionally, as expressed in Equation (24), the array of the minimum consumption of energy ( E ˙ ) can be extracted to derive the distribution ratio ( γ o p t ) of the distribution driving torque to the front and rear wheels with minimized energy consumption:
γ o p t ( t ) = arg min { E ˙ ( P b a t t ( t ) ,   γ ( t ) , t ) }

4.2. Analysis of Optimal Front/Rear Torque Distribution

In this section, the effectiveness of the algorithm presented in this study will be analyzed by comparing two cases: one in which the input voltage changes are taken into account and one in which they are not. Figure 11 illustrates the results of the optimal distribution ratios of driving torques to the front and rear wheels corresponding to each voltage at the input terminal according to the respective motor speed and driving torque required by the driver.
As illustrated in Figure 5, when a driver requires a driving torque that is below that of peak efficiency at the rotating speed of driving, the optimal distribution ratio ( γ o p t ) of the driving torque to the front and rear wheels becomes zero. In contrast, when the required driving torque exceeds the peak efficiency, the ratio becomes γ o p t = 0.5 . As a result, the driving torque is distributed uniformly to the front and rear wheels. However, since the driving torque required by a driver is limited to four times the maximum torque of the unit driving system, the optimal distribution ratio of the driving torque to the front and rear wheels will be limited to γ o p t = 0.5 when the driving torque required by a driver exceeds 50% of the available maximum torque, due to the limit set for the system. As illustrated in the map showing the efficiency characteristics of the unit driving system (Figure 5), this phenomenon is attributed to the rapid decrease in the efficiency characteristics in the low-torque domain, resulting in minimized driving in that domain.
The effects of the voltage variation at an input terminal on the optimal distribution of the driving torque to the front and rear wheels were verified at a system input terminal voltage of Vdclink = 75 V. The driving situation is assumed that motor speed is 2000 rpm (approx. 23 km/h) and the torque required by the driver is 40% of the entire driving torque. The operating point of the front and rear wheels and the power consumption for the optimal distribution ratio of the driving torque to the front and rear wheels derived at Vdclink = 90 V (Vnorm), with a system input terminal voltage of Vdclink = 75 V, are illustrated in Figure 12.
When applying the optimal driving torque distribution to both the front and rear wheels, derived at the input terminal voltage of Vdclink = 90 V (Vnorm), approximately 76 [W] more power was used, as compared to what was when applying the optimal driving torque distribution derived from the case when the input terminal voltage was Vdclink = 75 V. This result shows that consideration of the input terminal voltage is necessary to optimize system efficiency.

5. Simulation Results

To verify the algorithm presented in this paper, simulation model for a battery-powered electric shuttle bus in the longitudinal direction and driving simulation of the vehicle were carried out according to the Manhattan Bus Cycle as shown in Figure 13. The Manhattan Bus Cycle uses a maximum driving speed of 40.9 km/h, peak acceleration/deceleration of 0.2 g, and driving time of 1089 s with an average driving speed of 11 km/h; these are similar to the operating conditions and specifications of the target vehicle [17]. The simulation model built with Matlab/Simulnk is shown in Figure 14. All parameters used in the simulation are described as Table 1 and Table 2 in Section 2. The battery model based on the internal resistance of the battery, Equation (25), is used to calculate the Vdclink of the driving system. The Vdclink of the driving system can be derived by Kirchhoff’s current law [16]. Here, no voltage drop and losses between the battery output terminal and the input terminal of the driving system is assumed. And the state of charge (SOC) can be calculated by Equation (26) which is the ratio of the charged current over the full charged capacity.
V d c l i n k =   V o c   I b R i , P b a t t =   V d c l i n k I b
S O C k =   S O C k 1 + Δ I b k Q 0
Here, V o c , I b , R i , S O C k , S O C k 1 ,   Δ I b k and Q 0 represent open circuit voltage of the battery, current of the circuit, internal resistance of the battery, state of charge at time interval k, state of charge at time interval k − 1, variation of the current at time interval k − 1 and nominal battery capacity of the battery, respectively.
In total, three simulations corresponding to each case were carried out. All simulation was conducted with time interval of 10 ms. To compare the performance of the presented algorithm for varying input terminal voltages, a low–voltage condition (instead of the nominal voltage of 90 V) and an initial condition where the battery SOC was 20% were used. As described in Section 2, the target vehicle is a battery-powered electric vehicle for last-mile mobility. Once the target vehicle is charged, the mission of the target vehicle is to drive the predefined for root without additional charge of the battery. So, the simulation condition assumes that the battery of the vehicle is depleted to 20% of SOC. Here, the initial value of the input terminal voltage of the driving system was 82 V. The conditions employed for the simulation are as follows: a case with an uniform distribution, a case with an optimal distribution of the driving torque based on a nominal voltage of 90 V, and a case with the optimal distribution of the driving torque reflecting the real-time voltage of the input terminal. The following additional conditions were assumed for the simulation: inverter and decelerator efficiencies of 95% and an average electric component load of 400 W.
Table 6 presents the analysis results. The designed vehicle was considered in the driving simulation carried out based on the Manhattan Bus Cycle. In the case of uniform distribution of the required driving torque by the driver to both the front and rear wheels, the energy efficiency was 4.58 km/kWh, whereas the energy efficiency for the case where the optimal driving torque distribution was applied to both the front and rear wheels without considering the effect of the input terminal voltage was 4.83 km/kWh. This indicates an increase in efficiency of approximately 5.3%, compared to the uniform distribution. Furthermore, for the final case of applying the optimal distribution of the driving torque to both the front and rear wheels while considering the input terminal voltage (as presented in this study), the energy efficiency was found to be 4.86 km/kWh, indicating an improvement of approximately 6.0% compared to the case with uniform distribution. This shows that an additional 0.7% improvement in the energy efficiency was achieved by taking the input terminal voltage into account.
Figure 15 shows the operating points of the front and rear wheels under the conditions of the three simulations listed in Table 6. Due to the uniform distribution of the driving torque to the left and right single-axle torque, the left and right sides thereof represent the operating points of the front-right (FR) and rear-right (RR) wheels. In addition, the operating points were marked on the efficiency map of the 90 V condition to generalize the marking of operating points on the efficiency map, despite the fact that the efficiency map varied with changes in the input terminal voltage. Figure 15a illustrates the uniform distribution of the driving torque, wherein the operating points of FR and RR are identical. The operating point in (b) represents the results of allocating the driving torque to the front and rear wheels according to the driving speed of the vehicle and the driving torque required by the driver by following (b) presented in Figure 11. Meanwhile, (c) represents the results of applying the driving torque derived by applying the method presented in Figure 10, according to varying the input terminal voltage between (a) and (b) in Figure 11, to both the front and rear wheels. Altogether, the operating points of (b) and (c) in Figure 15 appear to be similar to each other. As illustrated in Figure 15c, the operating point varied with the application of the optimal distribution ratio of the driving torque as the input terminal voltage varied. Due to the accumulation of changes in the operating points, an additional 0.7% improvement in efficiency was secured.
Figure 16 represents the results of the simulations corresponding to (a)–(c) in Figure 15. In terms of the distribution ratio, when the input voltage is taken into account, it is operated at a better efficiency point than the nominal voltage of Vdclink = 90 V (Vnorm) by delaying transition to the uniform distribution. As a result, the accumulated consumption of energy decreased, ultimately resulting in an increased final energy efficiency.

6. Conclusions

In this paper, a method for improving the energy efficiency was presented by considering the input terminal voltage of the driving system of a battery-powered electric shuttle bus equipped with a decentralized driving system according to the battery’s SOC. The proposed algorithm was verified by conducting simulations of the vehicle driving efficiency according to the Manhattan Bus Cycle. The conclusions are as follows:
  • After presenting the correlation between the requirements of the power performance and the driving system’s attributes of a battery-powered electric shuttle bus designed for last-mile mobility, the performance requirements of the driving system were specified.
  • Furthermore, the design results of the driving motor with the aim of satisfying the specification of the driving system was presented, and the changes in the efficiency characteristics according to the varying input voltages were examined by analyzing the loss characteristics according to the input terminal voltage for the designed driving motor. The analyses showed that more electricity consumption was needed to generate an identical output power with a reduced input voltage, indicating the simultaneous increase in copper loss and decrease in the efficiency of the driving motor.
  • To improve the energy efficiency of a battery-powered electric shuttle bus equipped with a decentralized driving system, an algorithm an algorithm that can allocate the driving torque in real-time considering the input terminal voltage was proposed. By applying the proposed algorithm, the effect on efficiency was verified by performing a driving simulation of the vehicle along the Manhattan Bus Cycle at low voltage condition (SOC 20%). When the proposed algorithm is applied, the fuel economy is 4.86 km/kWh, and the efficiency of +6.0% is improved compared to the value of 4.58 km/kWh obtained by uniformly distributing the driving torque to the front and rear wheels (Uniform). Furthermore, an additional efficiency gain of +0.7% was shown compared to the value of 4.83 km/h obtained with the algorithm that allocates the driving torque based on the nominal voltage level (Vnorm = 90 V) without taking the input terminal voltage into account. This indicates the opportunity for an additional improvement in efficiency by exploiting the software approach for a battery-powered electric shuttle bus equipped with an identical driving system on each wheel. It makes sense because our approach of extending mileage using software, taking into account the actual voltage conditions of a battery-powered electric shuttle, can be widely implemented. This concept will be implemented to the real target electronic control unit based on the 32-bit micro-processor and verified with vehicle test in the future study.

Author Contributions

Conceptualization, I.-G.J.; methodology, I.-G.J.; software, I.-G.J.; validation, I.-G.J., C.-S.L.; data curation, I.-G.J., C.-S.L.; writing—original draft preparation, I.-G.J.; writing—review and editing, S.-H.H.; visualization, I.-G.J., C.-S.L.; supervision, S.-H.H. All authors have read and agreed to the published version of the manuscript.

Funding

This research received no external funding.

Acknowledgments

This research was supported by the MSIT (Ministry of Science and ICT), Korea, under the ITRC (Information Technology Research Center) support program (IITP-2020-2018-0-01426) supervised by the IITP (Institute for Information & Communications Technology Planning & Evaluation).

Conflicts of Interest

The authors declare no conflict of interest.

References

  1. The End of the Road? An Overview of Combustion-Engine Car Phase-Out Announcements across Europe. Available online: https://theicct.org/sites/default/files/publications/Combustion-engine-phase-out-briefing-may11.2020.pdf (accessed on 14 October 2020).
  2. IEA. Global Electric Car Sales by Key Markets, 2010–2020; IEA: Paris, France; Available online: https://www.iea.org/data-and-statistics/charts/global-electric-car-sales-by-key-markets-2015-2020 (accessed on 8 January 2021).
  3. Electric Vehicle Outlook 2020. Available online: https://bnef.turtl.co/story/evo-2020 (accessed on 19 September 2020).
  4. Jung, C. Power Up with 800-V Systems: The benefits of upgrading voltage power for battery-electric passenger vehicles. IEEE Electrif. Mag. Mar. 2017, 5, 53–58. [Google Scholar] [CrossRef]
  5. Navya. Available online: https://navya.tech/en/solutions/moving-people/self-driving-shuttle-for-passenger-transportation/#autonomous (accessed on 8 January 2021).
  6. EASY Mile. Available online: https://easymile.com/vehicle-solutions/ez10-passenger-shuttle (accessed on 8 January 2021).
  7. Jürgen, J.; Wolfgang, J.; Zeier, G. A solid future for battery development. Nat. Energy 2016, 1, 1–4. [Google Scholar]
  8. Kim, J. Optimal Power Distribution of Front and Rear Motors for Minimizing Energy Consumption of 4-Wheel-Drive Electric Vehicles. Int. J. Automot. Technol. 2016, 17, 319–326. [Google Scholar] [CrossRef]
  9. Yuan, X.; Jiabin, W.; Kalhana, C. Torque distribution strategy for a front and rear wheel driven electric vehicle. IEEE Trans. Veh. Technol. 2012, 61, 3365–3374. [Google Scholar] [CrossRef]
  10. Jinhyun, P.; In Gyu, J.; Sung-Ho, H. Torque Distribution Algorithm for an Independently Driven Electric Vehicle Using a Fuzzy Control Method: Driving Stability and Efficiency. Energies 2018, 11, 3479. [Google Scholar]
  11. Nan, Z.; Nigel, S.; Rong, Y.; Ran, G. Investigation of DC-Link Voltage and Temperature Variations on EV Traction System Design. IEEE Trans. Ind. Appl. 2017, 53, 3707–3718. [Google Scholar]
  12. Rajesh, R. Vehicle Dynamics and Control, 2nd ed.; Springer Science & Business Media: Berlin, Germany, 2012; pp. 87–101. [Google Scholar]
  13. Takeda, Y.; Morimoto, S.; Honda, Y. Design and Control of Internal Permanent Magnet Synchronous Motor; Ohmsha, Ltd.: Tokyo, Japan, 2001; pp. 120–140. [Google Scholar]
  14. Hu, J.; Jia, M.; Xiao, F.; Fu, C.; Zheng, L. Motor Vector Control Based on Speed-Torque-Current Map. Appl. Sci. 2020, 10, 78. [Google Scholar] [CrossRef]
  15. Hendershot, J.R.; John, T.; Miller, J.E. Design of Brushless Permanent-Magnet Machines; Motor Design Books: Venice, FL, USA, 2012; pp. 78–85. [Google Scholar]
  16. Hongwen, H.; Rui, X.; Jinxin, F. Evaluation of Lithium-Ion Battery Equivalent Circuit Models for State of Charge Estimation by an Experimental Approach. Energies 2011, 4, 582–598. [Google Scholar]
  17. Emission Test Cycles: Manhattan Bus Cycle. Available online: https://www.nrel.gov/transportation/drive-cycle-too (accessed on 8 January 2021).
Figure 1. System architecture of the target electric shuttle bus. VCU: Vehicle Control Unit; M1 to M4: In-wheel Motor; I1 to I4: Inverter; PRA: Power Relay Assembly; DCDC: DCDC Converter; HV: High Voltage.
Figure 1. System architecture of the target electric shuttle bus. VCU: Vehicle Control Unit; M1 to M4: In-wheel Motor; I1 to I4: Inverter; PRA: Power Relay Assembly; DCDC: DCDC Converter; HV: High Voltage.
Energies 14 00594 g001
Figure 2. Assignment of vehicle performance requirements to propulsion system requirements.
Figure 2. Assignment of vehicle performance requirements to propulsion system requirements.
Energies 14 00594 g002
Figure 3. Sizing results of (a) power-gradient-speed and (b) torque-speed chart with the requirement point.
Figure 3. Sizing results of (a) power-gradient-speed and (b) torque-speed chart with the requirement point.
Energies 14 00594 g003
Figure 4. In-wheel motor model.
Figure 4. In-wheel motor model.
Energies 14 00594 g004
Figure 5. Efficiency map according to Vdclink: (a) Vdclink = 105 V and (b) Vdclink = 75 V.
Figure 5. Efficiency map according to Vdclink: (a) Vdclink = 105 V and (b) Vdclink = 75 V.
Energies 14 00594 g005
Figure 6. Equivalent circuit: (a) d-axis and (b) q-axis [14].
Figure 6. Equivalent circuit: (a) d-axis and (b) q-axis [14].
Energies 14 00594 g006
Figure 7. Efficiency and power according to Vdclink: (a) efficiency, (b) power, and (c) voltage.
Figure 7. Efficiency and power according to Vdclink: (a) efficiency, (b) power, and (c) voltage.
Energies 14 00594 g007
Figure 8. Current and loss according to Vdclink: (a) current, (b) copper loss, and (c) iron loss.
Figure 8. Current and loss according to Vdclink: (a) current, (b) copper loss, and (c) iron loss.
Energies 14 00594 g008
Figure 9. Energy optimization concept diagram.
Figure 9. Energy optimization concept diagram.
Energies 14 00594 g009
Figure 10. Concept of energy optimization.
Figure 10. Concept of energy optimization.
Energies 14 00594 g010
Figure 11. Optimal front/rear distribution ratios with regard to the speed and desired torque: (a) at Vdclink = 75 V, (b) at Vdclink = 90 V (Vnorm), and (c) at Vdclink = 105 V.
Figure 11. Optimal front/rear distribution ratios with regard to the speed and desired torque: (a) at Vdclink = 75 V, (b) at Vdclink = 90 V (Vnorm), and (c) at Vdclink = 105 V.
Energies 14 00594 g011
Figure 12. The difference of power consumption on optimal distribution with Vdclink; (a) The desired electric power of front and rear traction motor with respect to the distribution ratio, (b) Total electric power with respect to the distribution ratio, (c) Operating points of front and rear traction motor.
Figure 12. The difference of power consumption on optimal distribution with Vdclink; (a) The desired electric power of front and rear traction motor with respect to the distribution ratio, (b) Total electric power with respect to the distribution ratio, (c) Operating points of front and rear traction motor.
Energies 14 00594 g012
Figure 13. Manhattan Bus Cycle [17].
Figure 13. Manhattan Bus Cycle [17].
Energies 14 00594 g013
Figure 14. Simulation model: M1 to M4: In-wheel Motor.
Figure 14. Simulation model: M1 to M4: In-wheel Motor.
Energies 14 00594 g014
Figure 15. Operating points: (a) Uniform distribution, (b) Optimization @ V n o r m   ( 90   V ) , and (c) Optimization @ V d c l i n k .
Figure 15. Operating points: (a) Uniform distribution, (b) Optimization @ V n o r m   ( 90   V ) , and (c) Optimization @ V d c l i n k .
Energies 14 00594 g015
Figure 16. Simulation results.
Figure 16. Simulation results.
Energies 14 00594 g016
Table 1. Specifications of the target vehicle.
Table 1. Specifications of the target vehicle.
AttributeUnitValueAttributeUnitValue
Passengers people 12–15Dimension m L 4.94, W 2.10, H 2.65
Gross/Curve Vehicle Weight kg 3500/2400Frontal Area m 2 4.73
Air Drag Coefficient 0.4Tire 225 50 R18
Battery 15 kWh
(73–108 V)
No. of Motors EA 4
Table 2. Performance requirements of the target vehicle.
Table 2. Performance requirements of the target vehicle.
AttributeUnitValueAttributeUnitValue
Maximum Speed km / h 45GradeabilityTake-off % 28
Operating Speed km / h 255 km/h25
Acceleration m / s 2 325 km/h12
Deceleration m / s 2 3----
Table 3. Propulsion system requirements corresponding to vehicle performance.
Table 3. Propulsion system requirements corresponding to vehicle performance.
Vehicle
Performance
UnitValueAllocationPropulsion RequirementUnitValue
Maximum Speed km / h 45C 1Power kW 7.2
Torque Nm 183
Speed rpm 377
GradeabilityTake-off % 28P 2Torque Nm 3275
5 km/h25CPower kW 12.5
Torque Nm 2971
25 km/h12CPower kW 33.5
Torque Nm 1598
Peak Acceleration m / s 2 3PTorque Nm 2533
Peak Deceleration m / s 2 3PTorque Nm 2533
1 C: Continuous; 2 P: P signifies the ‘Peak’.
Table 4. Unit propulsion system requirements.
Table 4. Unit propulsion system requirements.
Propulsion RequirementUnitValue
PeakTorque Nm 1337
Power kW 15.1
ContinuousTorque Nm 743
Power kW 8.4
SpeedMaximum rpm 377
Base rpm 108
Table 5. Design specifications of the in-wheel motor.
Table 5. Design specifications of the in-wheel motor.
ClassificationUnitValueClassificationUnitValue
Type-IPMSMRotor diametermm200
Phase/Pole/Slot-3/12/18Rotor lengthmm34
Stator outer diametermm260Magnet thicknessmm5
Stator inner diametermm201.6Magnet BrT1.37
Slot opening widthmm3Magnet μr-1.05
Slot opening depthmm2Rated torqueNm125
Table 6. Simulation results.
Table 6. Simulation results.
Test Case S O C s t a r t [ % ] V d c l i n k , s t a r t [ V ] J   [ k J ] Energy Efficiency
[km/kWh]
Benefit [%]
Uniform   distribution 20822609.604.58-
Optimization @ V n o r m 20822477.604.83+5.3
Optimization @ V d c l i n k 20822380.604.86+6.0
Publisher’s Note: MDPI stays neutral with regard to jurisdictional claims in published maps and institutional affiliations.

Share and Cite

MDPI and ACS Style

Jang, I.-G.; Lee, C.-S.; Hwang, S.-H. Energy Optimization of Electric Vehicles by Distributing Driving Power Considering System State Changes. Energies 2021, 14, 594. https://doi.org/10.3390/en14030594

AMA Style

Jang I-G, Lee C-S, Hwang S-H. Energy Optimization of Electric Vehicles by Distributing Driving Power Considering System State Changes. Energies. 2021; 14(3):594. https://doi.org/10.3390/en14030594

Chicago/Turabian Style

Jang, In-Gyu, Chung-Seong Lee, and Sung-Ho Hwang. 2021. "Energy Optimization of Electric Vehicles by Distributing Driving Power Considering System State Changes" Energies 14, no. 3: 594. https://doi.org/10.3390/en14030594

APA Style

Jang, I.-G., Lee, C.-S., & Hwang, S.-H. (2021). Energy Optimization of Electric Vehicles by Distributing Driving Power Considering System State Changes. Energies, 14(3), 594. https://doi.org/10.3390/en14030594

Note that from the first issue of 2016, this journal uses article numbers instead of page numbers. See further details here.

Article Metrics

Back to TopTop