A Preliminary Techno-Economic Comparison between DC Electrification and Trains with On-Board Energy Storage Systems
Abstract
1. Introduction
2. Modeling of the Railway System
2.1. Train
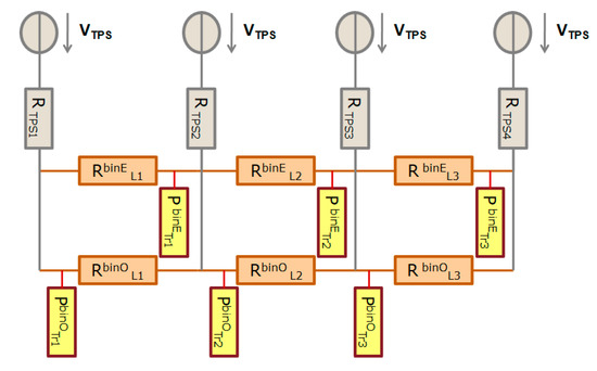
2.2. DC Feeder System
2.3. On-Board ESS
2.4. Economic Model
2.4.1. Costs of an Electrified Railway Line
2.4.2. Costs of Associated with the Use of Trains Equipped with On-Board ESS
3. On-Board ESS Design
3.1. ESS Specification
3.2. ESS Sizing
4. Simulation Procedures
- an electro-mechanical simulator for the evaluation of the rolling stock power consumption for defined traffic scenarios;
- an electrical and thermal simulator to evaluate the energy state of the traction system.
4.1. Train Performance Simulation
- kinematic parameters: travel and braking times, speed and acceleration profiles in time and space;
- dynamic parameters: aerodynamic resistance, resistance associated with curves, slopes and inertia, traction effort at the wheels and power required at the pantograph.
4.2. Electrical Model of the Traction System
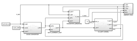
4.3. Electrical Model of the On-Board Energy Storage System
5. Numerical Simulations
5.1. Case Study
5.2. Results and Discussion
5.2.1. Train Performance
5.2.2. Electrification at 3 kV DC
5.2.3. On-Board ESS
5.2.4. Economic Comparison
6. Conclusions
Author Contributions
Funding
Conflicts of Interest
Abbreviations
| ACOE | Annual cost of energy | Energy of battery | |
| Annual cost of energy of electrification | Energy supplied by the traction power substation in a day | ||
| Annual cost of energy of energy storage system | H-ESS | Hybrid energy storage system | |
| Nominal capacity of the cell | Number of cells to be connected in the series | ||
| Capital cost of electrification | Number of branches to be connected in parallel | ||
| Capital cost of on-board ESS | Number of cells to be connected in series for supercapacitors | ||
| Annual operation costs of electrification | Number of branches to be connected in parallel for supercapacitors | ||
| Annual operation costs of on-board ESS | OCV | Open circuit voltage | |
| Operation and maintenance (O&M) costs of electrification | O&M | Operation and maintenance | |
| Operation and maintenance (O&M) costs of on-board ESS | Maximum power that the single electrochemical cell can deliver | ||
| Replacement cost of the on-board ESS | Maximum power that the single cell can absorb in the charging phase | ||
| CRF | Capital recovery factor | Maximum power that the single cell can give in the discharging phase | |
| Annual costs associated with the maintenance of the traction power substation | The discharge C-rate | ||
| Annual costs associated with the maintenance of the catenary | SC | Supercapacitor | |
| The average cost of electricity | SOC | State of charge | |
| ESS | Energy storage system | TPS | Traction power substation |
| Energy of supercapacitor | Supercapacitor rated voltage |
References
- International Energy Agency. Rail. Available online: https://www.iea.org/reports/rail (accessed on 10 September 2020).
- Electric vehicles from life cycle and circular economy perspectives. In TERM 2018: Transport and Environment Reporting Mechanism (TERM) Report; European Environment Agency: Luxembourg, 2018; Available online: https://www.eea.europa.eu/publications/electric-vehicles-from-life-cycle (accessed on 10 September 2020).
- The First and Last Mile—The Key to Sustainable Urban Transport. In Transport and Environment Report 2019; EEA—European Environment Agency: Luxembourg, 2019; Available online: https://www.eea.europa.eu/publications/the-first-and-last-mile. (accessed on 10 September 2020).
- Messagie, M.; Boureima, F.-S.; Coosemans, T.; Macharis, C.; Mierlo, J.V. A Range-Based Vehicle Life Cycle Assessment Incorporating Variability in the Environmental Assessment of Different Vehicle Technologies and Fuels. Energies 2014, 7, 1467–1482. [Google Scholar] [CrossRef]
- UIC—International Union of Railways, «Railway Statistics Synopsis». Available online: https://uic.org/IMG/pdf/uic-statistics-synopsis-2019.pdf (accessed on 8 September 2020).
- Kawamoto, R.; Mochizuki, H.; Moriguchi, Y.; Nakano, T.; Motohashi, M.; Sakai, Y.; Inaba, A. Estimation of CO2 Emissions of Internal Combustion Engine Vehicle and Battery Electric Vehicle Using LCA. Sustainability 2019, 11, 2690. [Google Scholar] [CrossRef]
- Hill, N. Impact Analysis of Mass EV Adoption and Low Carbon Adoption Intensity Fuels Scenarios. In Proceedings of the 13th Concawe Symposium, Antwerp, Belgium, 18–19 March 2019. [Google Scholar]
- Kamargianni, M.; Li, W.; Matyas, M.; Schafer, A. A Critical Review of New Mobility Services for Urban Transport. Transp. Res. Procedia 2016, 14, 3294–3303. [Google Scholar] [CrossRef]
- Cimen, S.G.; Gnilka, M.; Schmuelling, B. Economical, social and political aspects of e-mobility in Germany. In Proceedings of the 2014 Ninth International Conference on Ecological Vehicles and Renewable Energies (EVER), Monte, Torino, Italy, 15–16 June 2014; pp. 1–5. [Google Scholar] [CrossRef]
- Franzò, S.; Chiaroni, D.; Chiesa, V.; Frattini, F. Emerging business models fostering the diffusion of E-mobility: Empirical evidence from Italy. In Proceedings of the 2017 International Conference of Electrical and Electronic Technologies for Automotive, Torino, Italy, 15–16 June 2017; pp. 1–5. [Google Scholar] [CrossRef]
- Siemens. A New Era of Sustainable Road Freight Transport. 2020. Available online: https://new.siemens.com/global/en/products/energy/medium-voltage/solutions/emobility/emobility-latest-technologies.html (accessed on 20 September 2020).
- Felez, J.; García-Sanchez, C.; Lozano, J.A. Control Design for an Articulated Truck with Autonomous Driving in an Electrified Highway. IEEE Access 2018, 6, 60171–60186. [Google Scholar] [CrossRef]
- Xiao, S.; Zhang, C.; Luo, Y.; Wu, J.; Rao, Y.; Sykulski, J.K. A Study on the Detachment Characteristics of the Tramwave Catenary-Free Electrification System for Urban Traffic. IEEE Trans. Plasma Sci. 2020, 48, 3670–3678. [Google Scholar] [CrossRef]
- Bombardier Transportation. Solutions and Technologies. 2020. Available online: https://www.bombardier.com/en/transportation/products-services.html (accessed on 20 September 2020).
- Mayer, L. Impianti Ferroviari; CIFI: Rome, Italy, 2016; Volume 2. [Google Scholar]
- Miyatake, M.; Haga, H.; Suzuki, S. Optimal speed control of a train with On-board energy storage for minimum energy consumption in catenary free operation. In Proceedings of the 2009 13th European Conference on Power Electronics and Applications, Barcelona, Spain, 8–10 September 2009; pp. 1–9. [Google Scholar]
- Al-Ezee, H.; Sarath, T.; Taylor, I.; Daniel, S.; Schweickart, J. An On-board Energy Storage System for Catenary Free Operation of a Tram. Renew. Energy Power Qual. J. 2017, 1, 540–544. [Google Scholar] [CrossRef]
- Steiner, M.; Klohr, M.; Pagiela, S. Energy storage system with ultracaps on board of railway vehicles. In Proceedings of the2007 European Conference on Power Electronics and Applications, Aalborg, Denmark, 2–5 September 2007; pp. 1–10. [Google Scholar] [CrossRef]
- Ghaviha, N.; Campillo, J.; Bohlin, M.; Dahlquist, E. Review of Application of Energy Storage Devices in Railway Transportation. Energy Procedia 2017, 105, 4561–4568. [Google Scholar] [CrossRef]
- Ogura, K. Test Results of a High Capacity Wayside Energy Storage System Using Ni-MH Batteries for DC Electric Railway at New York City Transit. In Proceedings of the 2011 IEEE Green Technologies Conference (IEEE-Green), Baton Rouge, LA, USA, 14–15 April 2011; pp. 1–6. [Google Scholar] [CrossRef]
- Available online: https://www.globalmasstransit.net/archive.php?id=15973 (accessed on 8 September 2020).
- Liu, X.; Li, K. Energy storage devices in electrified railway systems: A review. Transp. Saf. Environ. 2020, 2, 183–201. [Google Scholar] [CrossRef]
- Hayashiya, H.; Masuda, M.; Noda, Y.; Suzuki, K.; Suzuki, T. Reliability analysis of DC traction power supply system for electric railway. In Proceedings of the 2017 19th European Conference on Power Electronics and Applications (EPE’17 ECCE Europe), Warsaw, Poland, 11–14 September 2017; pp. P.1–P.6. [Google Scholar] [CrossRef]
- White, R.D. AC 25kV 50 Hz electrification supply design. In Proceedings of the 6th IET Professional Development Course on Railway Electrification Infrastructure and Systems (REIS 2013), London, UK, 3–6 June 2013; pp. 108–150. [Google Scholar] [CrossRef]
- Fei, Z.; Konefal, T.; Armstrong, R. AC railway electrification systems—An EMC perspective. IEEE Electromagn. Compat. Mag. 2019, 8, 62–69. [Google Scholar] [CrossRef]
- Jafri, N.H.; Gupta, S. An overview of Fuel Cells application in transportation. In Proceedings of the 2016 IEEE Transportation Electrification Conference and Expo, Asia-Pacific (ITEC Asia-Pacific), Busan, Korea, 1–4 June 2016; pp. 129–133. [Google Scholar] [CrossRef]
- Rizzo, R.; Spina, I.; Boscaino, V.; Miceli, R.; Capponi, G. A Novel Fuel Cell-Based Power System Modeling Approach. In Proceedings of the 2013 European Modelling Symposium, Manchester, UK, 20–22 November 2013; pp. 370–374. [Google Scholar] [CrossRef]
- Graber, G.; Galdi, V.; Calderaro, V.; Piccolo, A. Sizing and energy management of on-board hybrid energy storage systems in urban rail transit. In Proceedings of the 2016 International Conference on Electrical Systems for Aircraft, Railway, Ship Propulsion and Road Vehicles & International Transportation Electrification Conference (ESARS-ITEC), Toulouse, France, 2–4 November 2016; pp. 1–6. [Google Scholar] [CrossRef]
- Iwase, T.; Kawamura, J.; Tokai, K.; Kageyama, M. Development of battery system for railway vehicle. In Proceedings of the 2015 International Conference on Electrical Systems for Aircraft, Railway, Ship Propulsion and Road Vehicles (ESARS), Aachen, Germany, 3–5 March 2015; pp. 1–6. [Google Scholar] [CrossRef]
- Unique Energy Hub. Universal Ragone Plot. Available online: https://uenergyhub.com/info/universal-ragone-plot/ (accessed on 6 September 2020).
- Sadoun, R.; Rizoug, N.; Bartholomeüs, P.; Barbedette, B.; Le Moigne, P. Optimal sizing of hybrid supply for electric vehicle using Li-ion battery and supercapacitor. In Proceedings of the 2011 IEEE Vehicle Power and Propulsion Conference, Chicago, IL, USA, 6–9 September 2011; pp. 1–8. [Google Scholar] [CrossRef]
- Mesbahi, T.; Rizoug, N.; Bartholomeüs, P.; Sadoun, R.; Khenfri, F.; Le Moigne, P. Optimal Energy Management for a Li-Ion Battery/Supercapacitor Hybrid Energy Storage System Based on a Particle Swarm Optimization Incorporating Nelder–Mead Simplex Approach. IEEE Trans. Intell. Veh. 2017, 2, 99–110. [Google Scholar] [CrossRef]
- Ostadi, A.; Kazerani, M.; Chen, S. Optimal sizing of the Energy Storage System (ESS) in a Battery-Electric Vehicle. In Proceedings of the 2013 IEEE Transportation Electrification Conference and Expo (ITEC), Detroit, MI, USA, 16–19 June 2013; pp. 1–6. [Google Scholar] [CrossRef]
- Sadoun, R.; Rizoug, N.; Bartholomeüs, P.; Le Moigne, P. Optimal architecture of the hybrid source (battery/supercapacitor) supplying an electric vehicle according to the required autonomy. In Proceedings of the 2013 15th European Conference on Power Electronics and Applications (EPE), Lille, France, 2–6 September 2013; pp. 1–7. [Google Scholar] [CrossRef]
- Cao, J.; Emadi, A. A new battery/ultra-capacitor hybrid energy storage system for electric, hybrid and plug-in hybrid electric vehicles. In Proceedings of the 2009 IEEE Vehicle Power and Propulsion Conference, Dearborn, MI, USA, 7–11 September 2009; pp. 941–946. [Google Scholar] [CrossRef]
- Ostadi, A.; Kazerani, M. A Comparative Analysis of Optimal Sizing of Battery-Only, Ultracapacitor-Only, and Battery–Ultracapacitor Hybrid Energy Storage Systems for a City Bus. IEEE Trans. Veh. Technol. 2015, 64, 4449–4460. [Google Scholar] [CrossRef]
- Tummakuri, V.; Chelliah, T.R.; Ramesh, U.S. Sizing of Energy Storage System for A Battery Operated Short Endurance Marine Vessel. In Proceedings of the 2020 IEEE International Conference on Power Electronics, Smart Grid and Renewable Energy (PESGRE2020), Cochin, India, 2–4 January 2020; pp. 1–6. [Google Scholar] [CrossRef]
- Balsamo, F.; Lauria, D.; Capasso, C.; Veneri, O.; Pede, G. Main issues with the design of batteries to power full electric water busses. In Proceedings of the 2016 AEIT International Annual Conference (AEIT), Capri, Italy, 5–7 October 2016; pp. 1–6. [Google Scholar] [CrossRef]
- Bolonne, S.R.A.; Chandima, D.P. Sizing an Energy System for Hybrid Li-Ion Battery-Supercapacitor RTG Cranes Based on State Machine Energy Controller. IEEE Access 2019, 7, 71209–71220. [Google Scholar] [CrossRef]
- Brenna, M.; Foiadelli, F.; Stocco, J. Battery Based Last–Mile Module for Freight Electric Locomotives. In Proceedings of the 2019 IEEE Vehicle Power and Propulsion Conference (VPPC), Hanoi, Vietnam, 14–17 October 2019; pp. 1–6. [Google Scholar] [CrossRef]
- Weiss, H.; Winkler, T.; Ziegerhofer, H. Large lithium-ion battery-powered electric vehicles—From idea to reality. In Proceedings of the 2018 ELEKTRO, Mikulov, Czech Republic, 21–23 May 2018; pp. 1–5. [Google Scholar] [CrossRef]
- Royston, S.J.; Gladwin, D.T.; Stone, D.A.; Ollerenshaw, R.; Clark, P. Development and Validation of a Battery Model for Battery Electric Multiple Unit Trains. In Proceedings of the IECON 2019—45th Annual Conference of the IEEE Industrial Electronics Society, Lisbon, Portugal, 14–17 October 2019; pp. 4563–4568. [Google Scholar] [CrossRef]
- Construcciones y Auxiliar de Ferrocarriles (CAF) S.A. Greentech, CAF’s Solution to the Catenary-Free Tram. Available online: https://www.caf.net/en/ecocaf/nuevas-soluciones/tranvia-greentech.php (accessed on 6 September 2020).
- Bombardier Transportation. World Premiere: Bombardier Transportation Presents a New Battery-Operated Train and Sets Standards for Sustainable Mobility. 2018. Available online: https://rail.bombardier.com/en/newsroom/press-releases.html/bombardier/news/2018/bt-20180912-world-premiere--bombardier-transportation-presents-a/en (accessed on 6 September 2020).
- Bombardier Transportation. E-Mobility and Battery Technology. 2020. Available online: https://rail.bombardier.com/en/solutions-and-technologies/urban/e-mobility-battery-technology.html (accessed on 6 September 2020).
- Graber, G.; Calderaro, V.; Galdi, V.; Piccolo, A.; Lamedica, R.; Ruvio, A. Techno-economic Sizing of Auxiliary-Battery-Based Substations in DC Railway Systems. IEEE Trans. Transp. Electrif. 2018, 4, 616–625. [Google Scholar] [CrossRef]
- Lamedica, R.; Ruvio, A.; Galdi, V.; Graber, G.; Sforza, P.; GuidiBuffarin, G.; Spalvieri, C. Application of battery auxiliary substations in 3kV railway systems. In Proceedings of the 2015 AEIT International Annual Conference (AEIT), Naples, Italy, 14–16 October 2015; pp. 1–6. [Google Scholar] [CrossRef]
- Ruiz-Cortés, M.; Romero-Cadaval, E.; Roncero-Clemente, C.; Barrero-González, F.; González-Romera, E. Energy management strategy to coordinate batteries and ultracapacitors of a hybrid energy storage system in a residential prosumer installation. In Proceedings of the 2017 International Young Engineers Forum (YEF-ECE), Almada, Portugal, 5 May 2017; pp. 30–35. [Google Scholar] [CrossRef]
- Lee, J.; Ahn, J.; Lee, B.K. A novel li-ion battery pack modeling considering single cell information and capacity variation. In Proceedings of the 2017 IEEE Energy Conversion Congress and Exposition (ECCE), Cincinnati, OH, USA, 1–5 October 2017; pp. 5242–5247. [Google Scholar] [CrossRef]
- Gattuso, D.; Restuccia, A. A Tool for Railway Transport Cost Evaluation. Procedia Soc. Behav. Sci. 2014, 111, 549–558. [Google Scholar] [CrossRef]
- Baumgartner, J.P. Prices and Costs in the Railway Sector. Laboratoire d’Intermodalité des Transports Et de Planification 2001, Lausanne. Available online: http://archiveweb.epfl.ch/litep.epfl.ch/files/content/sites/litep/files/shared/Liens/Downloads/Divers/Baumgartner_Couts_chf_2001_e.pdf (accessed on 6 September 2020).
- Ceraolo, M.; Giglioli, R.; Lutzemberger, G. Prove Sperimentali e Ciclo Semplificato di un Sistema di Accumulo Per Una Tramvia. ENEA—National Agency for New Technologies. 2015. Available online: https://www.enea.it/it/Ricerca_sviluppo/documenti/ricerca-di-sistema-elettrico/accumulo/2014/rds-par2014-175.pdf (accessed on 6 September 2020).
- Marignetti, F. La Trazione Ferroviaria: I Sistemi a Guida Vincolata; Società Editrice Esculapio: Bologna, Italy, 2018. [Google Scholar]
- Ehsani, M.; Yimin, G.; Emadi, A. Modern Electric, Hybrid Electric and Fuel Cell Vehicles Fundamentals, Theory and Design Second Edition; CRC Press: Boca Raton, FL, USA, 2010. [Google Scholar]
- Chu, H.; Wang, X.; Mu, X.; Gao, M.; Liu, H. Research on Optimal Configuration of Hybrid Energy Storage Capacity Based on Improved Particle Swarm Optimization Algorithm. In Proceedings of the 2019 IEEE 4th Advanced Information Technology, Electronic and Automation Control Conference (IAEAC), Chengdu, China, 20–22 December 2019; pp. 2030–2036. [Google Scholar] [CrossRef]
- LeBel, F.; Trovao, J.P.; Boulon, L.; Sari, A.; Pelissier, S.; Venet, P. Lithium–Ion Cell Empirical Efficiency Maps. In Proceedings of the 2018 IEEE Vehicle Power and Propulsion Conference (VPPC), Chicago, IL, USA, 27–30 August 2018; pp. 1–4. [Google Scholar] [CrossRef]
- Calderaro, V.; Galdi, V.; Graber, G.; Lamberti, F.; Piccolo, A. A sizing method for economic assessment of II-life batteries for power system applications. In Proceedings of the 2017 IEEE Power & Energy Society General Meeting, Chicago, IL, USA, 16–20 July2017; pp. 1–5. [Google Scholar] [CrossRef]
- D’Orazio, A.; Elia, S.; Santini, E.; Tobia, M. Succor System and Failure Indication for the Starter Batteries of Emergency Gensets. Period. Polytech. Electr. Eng. Comput. Sci. 2020, 64, 412–421. [Google Scholar] [CrossRef]
- Boccaletti, C.; Elia, S.; Salas, M.E.F.; Pasquali, M. High reliability storage systems for genset cranking. J. Energy Storage 2020, 29, 101336. [Google Scholar] [CrossRef]
- Capasso, A.; Lamedica, R.; Ruvio, A.; Giannini, G. Eco-friendly urban transport systems. Comparison between energy demands of the trolleybus and tram systems. Ing. Ferrov. 2014, 69, 329–347. [Google Scholar]
- Capasso, A.; Ceraolo, M.; Lamedica, R.; Lutzemberger, G.; Ruvio, A. Modelling and simulation of tramway transportation systems. J. Adv. Transp. 2019, 2019, 4076865. [Google Scholar] [CrossRef]
- Lamedica, R.; Gatta, F.M.; Geri, A.; Sangiovanni, S.; Ruvio, A. A software validation for dc electrified transportation system: A tram line of Rome. In Proceedings of the 2018 IEEE International Conference on Environment and Electrical Engineering and 2018 IEEE Industrial and Commercial Power Systems Europe (EEEIC/I&CPS Europe), Palermo, Italy, 12–15 June 2018; pp. 1–6. [Google Scholar] [CrossRef]
- Savard, C.; Nikulina, A.; Mécemmène, C.; Mokhova, E. The Electrification of Ships Using the Northern Sea Route: An Approach. J. Open Innov. Technol. Mark. Complex. 2020, 6, 13. [Google Scholar] [CrossRef]





















| Parameter | LithiumWerks ANR26650M1B | Saft MP 176,065 xlr |
|---|---|---|
| Mass [g] | 76 | 150 |
| Rated capacity [Ah] | 2.5 | 6.8 |
| Nominal voltage [V] | 3.3 | 3.65 |
| Specific energy [Wh/kg] | 109 | 165 |
| Max. discharge current [A] | 50 (20C) | 14 (2C) |
| Max. charge current [A] | 10 (4C) | 6.8 (1C) |
| Technology | Power-oriented | Energy-oriented |
| Parameter | Maxwell K2 UC–2.85V/3400F |
|---|---|
| Mass [g] | 520 |
| Rated capacity [F] | 3400 |
| Nominal voltage [V] | 2.85 |
| Max. voltage [V] | 3 |
| Specific energy [Wh/kg] | 7.6 |
| Specific power [W/kg] | 8500 |
| Parameter | Value | |
|---|---|---|
| Rolling Stock | ||
| Net weight | 184 t | |
| Loaded weight | 256 t | |
| Rotating mass coefficient | 1.05- | |
| Max. train speed | 160 km/h | |
| Nominal deceleration | 0.8 m/s2 | |
| Accessories power | 200 kW | |
| Power train overall efficiency | 0.8- | |
| Track | ||
| Track’s length | 16.5 km | |
| Von Röckl formula coef. A | 0.65 m | |
| Von Röckl formula coef. B | 55 m | |
| DC Feeder System | ||
| Catenary section | 320 mm2 | |
| Rail electric resistance | 0.083 Ω/km | |
| Substation location | 5.29 km | |
| Substation nominal power | 3.6 MVA | |
| AC/DC conversion units | 2- | |
| Substation DC voltage | 3000 V | |
| Substation internal resistance | 0.2 Ω | |
| Maximum line voltage (+20%-CEI EN 50163) | 3600 V | |
| Minimum line voltage (−33%-CEI EN 50163) | 2000 V | |
| On-board ESS | ||
| DC link nominal voltage | 3000 V | |
| Max. (Min.) battery SOC value | 90 (30)% | |
| Battery pack nominal voltage | 1500 V | |
| Supercapacitor pack nominal voltage | 1000 V | |
| DC/DC efficiency | 95% | |
| High Autonomy ESS | ESS with Recharge Station | |
|---|---|---|
| Rated capacity [Ah] | 650 | 427.5 |
| Rated capacity [kWh] | 976 | 642 |
| Available capacity [kWh] | 586 | 385 |
| ESS weight [t] | 9 | 6 |
| Train Performance energy impact [%] | 3 | 2 |
| Recharge power @2C (C-rate) [MW] | 2.2 | 1.4 |
Publisher’s Note: MDPI stays neutral with regard to jurisdictional claims in published maps and institutional affiliations. |
© 2020 by the authors. Licensee MDPI, Basel, Switzerland. This article is an open access article distributed under the terms and conditions of the Creative Commons Attribution (CC BY) license (http://creativecommons.org/licenses/by/4.0/).
Share and Cite
Lamedica, R.; Ruvio, A.; Tobia, M.; Buffarini, G.G.; Carones, N. A Preliminary Techno-Economic Comparison between DC Electrification and Trains with On-Board Energy Storage Systems. Energies 2020, 13, 6702. https://doi.org/10.3390/en13246702
Lamedica R, Ruvio A, Tobia M, Buffarini GG, Carones N. A Preliminary Techno-Economic Comparison between DC Electrification and Trains with On-Board Energy Storage Systems. Energies. 2020; 13(24):6702. https://doi.org/10.3390/en13246702
Chicago/Turabian StyleLamedica, Regina, Alessandro Ruvio, Manuel Tobia, Guido Guidi Buffarini, and Nicola Carones. 2020. "A Preliminary Techno-Economic Comparison between DC Electrification and Trains with On-Board Energy Storage Systems" Energies 13, no. 24: 6702. https://doi.org/10.3390/en13246702
APA StyleLamedica, R., Ruvio, A., Tobia, M., Buffarini, G. G., & Carones, N. (2020). A Preliminary Techno-Economic Comparison between DC Electrification and Trains with On-Board Energy Storage Systems. Energies, 13(24), 6702. https://doi.org/10.3390/en13246702
