Liquefied Natural Gas in Mobile Applications—Opportunities and Challenges
Abstract
1. Introduction
- Key Issues and Challenges on the Liquefied Natural Gas Value Chain: A Review from the Process Systems Engineering Point of View [14]
- Cold utilization systems of LNG: A review [15]
- Economic Process Selection of Liquefied Natural Gas Regasification: Power Generation and Energy Storage Applications [16]
2. LNG in Waterborne Transport
- determination of the thermal and mechanical (especially fatigue) loads with the use of sophisticated numerical calculation methods and tools;
- selection of materials that can withstand such loads;
- thermo-mechanical optimization of selected system components, especially mechanical internal supports for the process (cryogenic) tank;
- selection of the appropriate materials for LNG tank thermal insulation and expert “know-how” related to proper installation during the tank fabrication process.
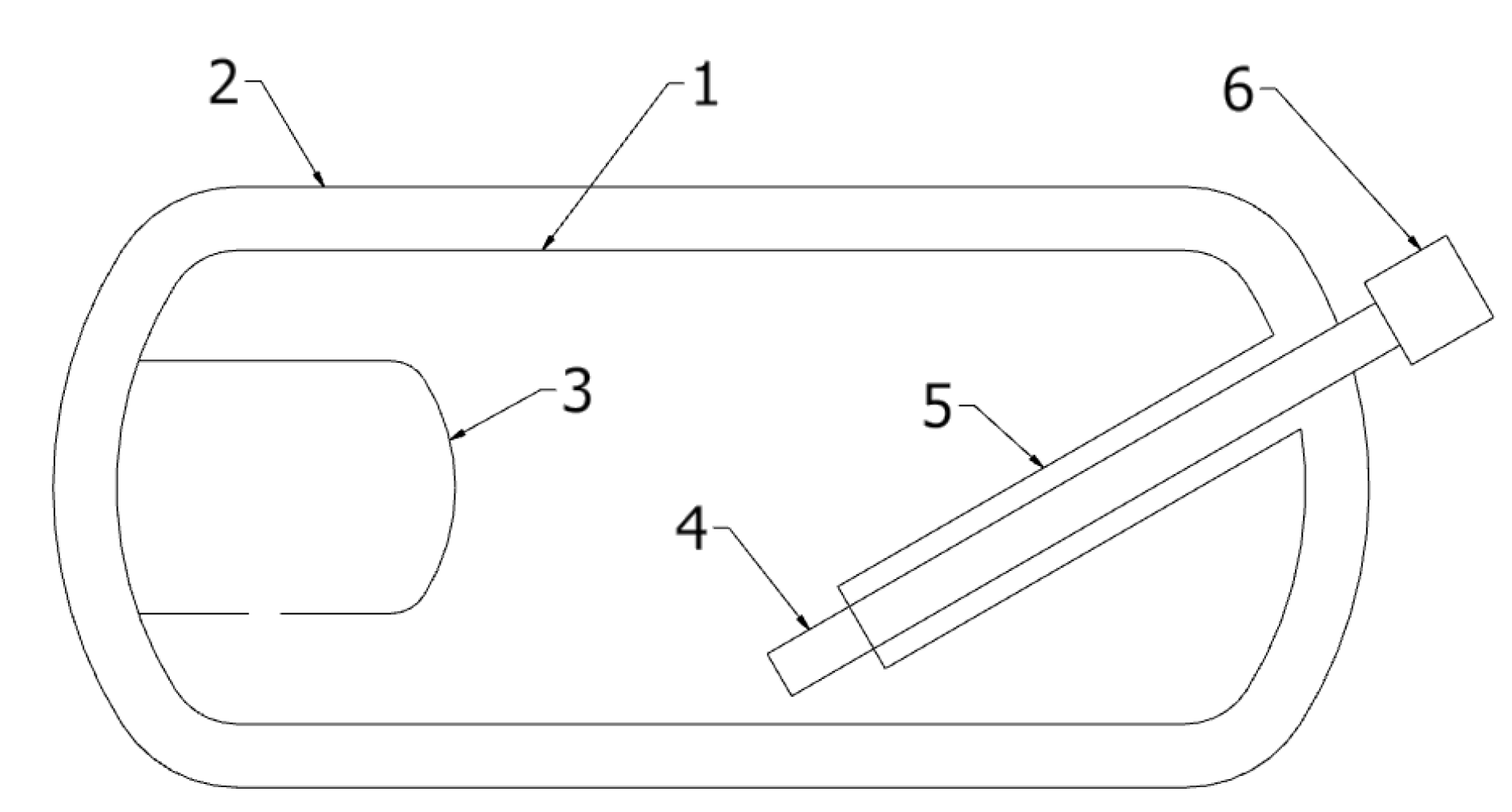
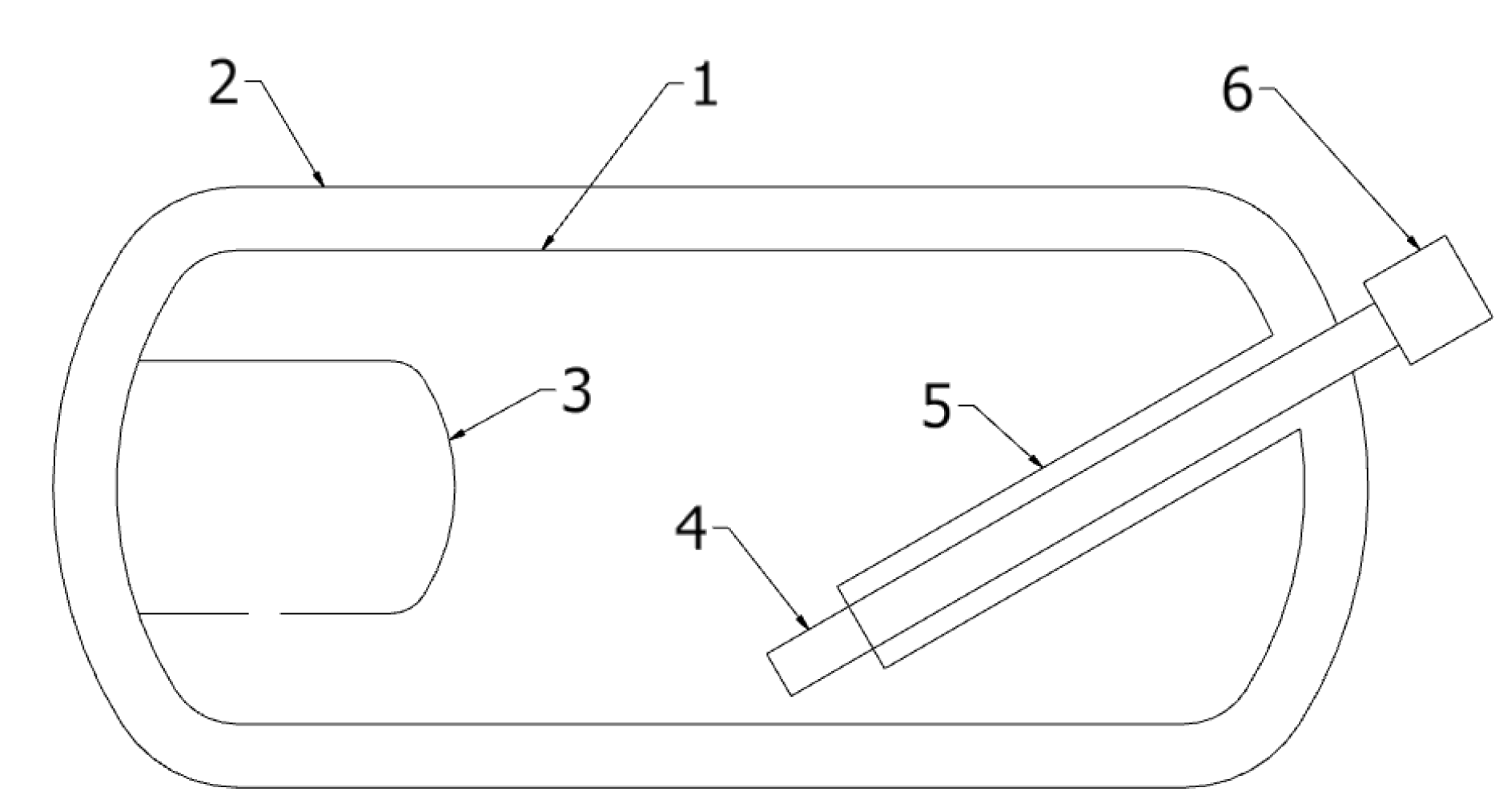
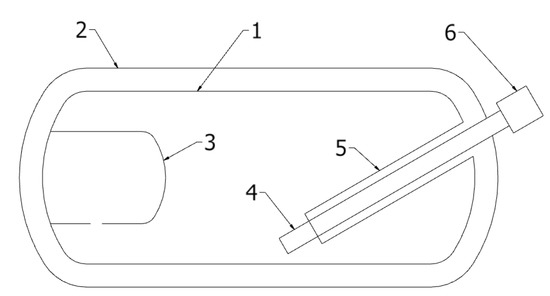
3. LNG in Land Transport
4. Exergy Recovery in Mobile Applications
4.1. LNG Cold Exergy Recovery Methods for Mobile Systems—Overview
4.2. Exergy Recovery Using Thermoelectric Generators
4.3. ANG Technology in Marine Transportation
5. Re-Condensation System
5.1. Introduction
5.2. System Configuration
5.3. Energy Analysis of the Re-Condensation System Configurations
5.3.1. Gravity BOG Cycle
5.3.2. Forced BOG Cycle
- caloric value of the LNG fuel: 35.36 MJ/m;
- efficiency of the fuel chemical energy conversion to the mechanical energy: 50% for the car/truck and 40% for the train and ship engines;
- efficiency of the actual cryocoolers: 10% of Carnot efficiency for car/truck, 15% for train and 30% for marine systems.
5.4. Overview of Cryocooler Technologies
6. LNG Regasification and Chosen Challenges of LNG Two-Phase Heat Exchangers
Challenges of LNG Regasification
- control of LNG boiling heat transfer [64].
7. Challenges Related to Control Systems in LNG Applications
7.1. General Remarks
- LNG systems for marine applications should be approved by the DNV or an equivalent classification society.
- LNG systems for railroad vehicles or trucks are usually subject to national regulations or international standards (like the Harmonized Technical United Nations Regulations for Wheeled Vehicles described in ECE/TRANS/WP.29/343 [113], which have also been adopted by EU countries as Regulation No 110 Directive [27])
7.2. Common Requirements for Control Systems for LNG Applications
- all the components inside the hazardous zone should be ATEX-certified (and DNV-certified, or its equivalent, in the case of on-board ship LNG systems);
- other components outside the hazardous zone should be separated by gas-tight walls or equivalent barriers from the explosive zone;
- all the control signals going into or from the ATEX zone should be intrinsically safe. This means that all the electrical signals should use Zener barriers preventing the transfer of unacceptably high energy from the safe area into the hazardous area (see Figure 26);
- all the control devices, measuring instruments and actuators located in the ATEX zone should be properly certified and intrinsically safe;
- all the control system components should be compatible with the ESD (Electrostatic Discharge) safety rules. The proper grounding of all metal parts is essential. The users should adhere to system-specific ESD-safety procedures in order to maintain a safe working environment.
- Selecting a control device that is intrinsically safe on its own (for instance, by having a gas-tight case) and does not require the use of an external Zener barrier.
- Replacement of a high-energy electrical control signal with a pneumatic or hydraulic signal that does not introduce the risk of explosion.
7.3. LNG—Specific Control Problem
7.4. Case Study: Fueling Station for Trucks (BISEK-Kostomłoty/CHARTS-Ferox)
7.5. Final Remarks
8. Conclusions
Author Contributions
Funding
Acknowledgments
Conflicts of Interest
References
- Wróblewski, Z.C.O. Ueber dieVerflüssigung des Sauerstoffs, Stickstoffs und Kohlenoxyds. Wiedemann’s Ann. Phys. 1883, 20, 243. [Google Scholar] [CrossRef][Green Version]
- Olszewski, C.; XIX. On the liquefaction of gases. Lond. Edinb. Dublin Philos. Mag. J. Sci. 2009, 39, 188–212. [Google Scholar] [CrossRef][Green Version]
- Rogers, G.S. Helium-Bearing Natural Gas; Professional Paper 121; Department of the Interior, Governement Printing Office: Washington, DC, USA, 1921; pp. 6–8.
- David, D.; Van Tassel, J.J.; Grabowski, C.B.C. East Ohio Gas Co. Explosion and Fire. In The Encyclopedia of Cleveland History; Indiana University Press: Bloomington, IN, USA, 1996. [Google Scholar]
- Silvermann, A. Gas Fire’s Tidal Wave Leaves $5.000.000 Ruin in 55th-St. Clair Area. In Cleveland Plain Dealer; Advance Publications, Inc.: Cleveland, OH, USA, 1944. [Google Scholar]
- Elliott, M.A. Report on the Investigation of the Fire at the Liquefaction Storage, and the Regasification Plant of the East Ohio Co., Cleveland Ohio, 20 October 1944; Bureau of Mines: Washington, DC, USA, 1946. [Google Scholar]
- DNV-GL (Ed.) Status and Trends for Uptake of Alternative Fuels. In Proceedings of the DNV-GL Alternative Fuels Online Conference, Oslo, Norway, 25 September 2019. [Google Scholar]
- Paltsev, S. Scenarios for Russia’s Natural Gas Exports to 2050. Energy Econ. 2014, 42, 262–270. [Google Scholar] [CrossRef]
- US Energy Information Administration. 2020. Available online: https://www.eia.gov/ (accessed on 10 July 2020).
- Shell. LNG Outlook 2020. Available online: https://www.shell.com/energy-and-innovation/natural-gas/liquefied-natural-gas-lng/lng-outlook-2020.html/ (accessed on 10 July 2020).
- Hao, H.; Liu, Z.; Zhao, F.; Li, W. Natural gas as vehicle fuel in China: A review. Renew. Sustain. Energy Rev. 2016, 62, 521–533. [Google Scholar] [CrossRef]
- NGVA. 2020. Available online: https://www.ngva.eu/ (accessed on 10 July 2020).
- The Oxford Institute for Energy Studies. A Review of Prospects for Natural Gas as a Fuel in Road Transport. Available online: https://www.oxfordenergy.org/publications/review-prospects-natural-gas-fuel-road-transport// (accessed on 10 July 2020).
- Lee, I.; Park, J.; Moon, I. Key Issues and Challenges on the Liquefied Natural Gas Value Chain: A Review from the Process Systems Engineering Point of View. Ind. Eng. Chem. Res. 2018, 57, 5805–5818. [Google Scholar] [CrossRef]
- Kanbur, B.; Xiang, L.; Choo, F.; Duan, F. Cold utilization systems of LNG: A review. Renew. Sustain. Energy Rev. 2017, 79, 1171–1188. [Google Scholar] [CrossRef]
- Park, J.; Lee, I.; You, F.; Moon, I. Economic Process Selection of Liquefied Natural Gas Regasification: Power Generation and Energy Storage Applications. Ind. Eng. Chem. Res. 2019, 58, 4946–4956. [Google Scholar] [CrossRef]
- DNV GL Maritime Communications. In Focus – LNG as ship fuel. 2015.
- Chorowski, M.; Duda, P.; Polinski, J.; Skrzypacz, J. LNG systems for natural gas propelled ships. IOP Conf. Ser. Mater. Sci. Eng. 2015, 101, 012089. [Google Scholar] [CrossRef]
- IGC Code. International Code for the Construction and Equipment of Ships Carrying Liquefied Gases in Bulk; IMO Publishing: London, UK, 2016. [Google Scholar]
- IGF Code. International Code of Safety for Ships Using Gases or Other Low-Flashpoint Fuels; IMO Publishing: London, UK, 2016. [Google Scholar]
- DNV Classification Notes, No. 31.13. Strength Analysis of Independent Type C Tanks; DNVGL: Oslo, Norway, 2013. [Google Scholar]
- DNV GL. Rules for Classification. Ships. Part 5–Ships Types; Chapter 7–Liquefied gas tankers; DNVGL: Oslo, Norway, 2017. [Google Scholar]
- Skrzypacz, J.; Jaszak, P. Selected Aspects of Cryogenic Tank Fatigue Calculations for Offshore Application. Int. J. Appl. Mech. Eng. 2018, 23, 251–259. [Google Scholar] [CrossRef]
- Fesmire, J.E.; Augustynowicz, A.D.; Rouanet, S. Aerogel beads as cryogenic thermal insulation system. In AIP Conference Proceedings; AIP: College Park, MD, USA, 2002; Volume 613. [Google Scholar] [CrossRef]
- Wartisla. Creating Optimal LNG Storage Solutions. 2015. Available online: www.wartsila.com (accessed on 10 July 2020).
- Lisowski, E.; Czyżycki, W.; Łazarczyk, K. Using of polyamide in construction of supporting blocks of cryogenic tanks on example of LNG container. Arch. Foundry Eng. 2010, 10, 81–86. [Google Scholar]
- Commission, E. Regulation No 110 of the Economic Commission for Europe of the United Nations (UNECE)—Uniform Provisions Concerning the Approval of Vehicles with Regard to the Installation of Specific Components of an Approved Type for the Use of Compressed Natural Gas (CNG) and/or Liquefied Natural Gas (LNG) in Their Propulsion System [2015/999]. 2015. Available online: https://eur-lex.europa.eu/legal-content/EN/TXT/?uri=CELE (accessed on 10 July 2020).
- SAG. 2020. Available online: https://www.sag.at/en/ (accessed on 10 July 2020).
- Fire, I.A.; Services, R. 2018. Available online: https://www.ctif.org (accessed on 10 July 2020).
- Harper, G.; Powars, C. Advanced LNG Onboard Storage System; Technical report; Cummins Westport Inc.: Vancouver, BC, USA, 2003. [Google Scholar]
- Cleveland, C.J. Energy Dictionary; Expanded ed., Morris, C., Eds.; Elsevier: Amsterdam, The Netherlands, 2009. [Google Scholar]
- Roszak, E.A.; Chorowski, M. Exergy of LNG regasification—Possible utilization method. Case study of LNG-ANG coupling. In AIP Conference Proceedings; AIP: College Park, MD, USA, 2014; Volume 1573. [Google Scholar] [CrossRef]
- Liu, H.; You, L. Characteristics and applications of the cold heat exergy of liquefied natural gas. Energy Convers. Manag. 1999, 40, 1515–1525. [Google Scholar] [CrossRef]
- Dorosz, P.; Wojcieszak, P.; Malecha, Z. Exergetic Analysis, Optimization and Comparison of LNG Cold Exergy Recovery Systems for Transportation. Entropy 2018, 20, 59. [Google Scholar] [CrossRef]
- Liquefied Natural Gas for Trucks and Buses; SAE Technical Papers: Warrendale, PA, USA, 2000. [CrossRef]
- Powars, C.A.; Derbidge, T.C. Liquefaction Energy Recovery in LNG and LH2 Fueled Vehicles; Technical Report 724; SAE Technical Papers: Warrendale, PA, USA, 2000. [Google Scholar] [CrossRef]
- Boulougouris, E.K.; Chrysinas, L.E. LNG Fueled Vessels Design Training. 2015. Available online: https://www.onthemosway.eu/wp-content/uploads/2015/06/Lecture-Notes.pdf (accessed on 10 July 2020).
- Rocca, V.L. Cold recovery during regasification of LNG part one: Cold utilization far from the regasification facility. Energy 2010, 35, 2049–2058. [Google Scholar] [CrossRef]
- Sung, T.; Kim, K.C. LNG Cold Energy Utilization Technology. In Energy Solutions to Combat Global Warming; Springer International Publishing: Berlin/Heidelberg, Germany, 2017; pp. 47–66. [Google Scholar] [CrossRef]
- Chang, J.; Zuo, J.; Lu, K.J.; Chung, T.S. Freeze desalination of seawater using LNG cold energy. Water Res. 2016, 102, 282–293. [Google Scholar] [CrossRef]
- Tsatsaronis, G.; Morosuk, T. Advanced exergetic analysis of a novel system for generating electricity and vaporizing liquefied natural gas. Energy 2010, 35, 820–829. [Google Scholar] [CrossRef]
- Gizicki, W.; Banaszkiewicz, T.; Wojcieszak, P.; Rogala, Z. Performance analysis of small-scale power cycles for LNG physical exergy recovery. IOP Conf. Ser. Mater. Sci. Eng. 2019, 502, 012146. [Google Scholar] [CrossRef]
- Gómez, M.R.; Garcia, R.F.; Gómez, J.R.; Carril, J.C. Review of thermal cycles exploiting the exergy of liquefied natural gas in the regasification process. Renew. Sustain. Energy Rev. 2014, 38, 781–795. [Google Scholar] [CrossRef]
- Szargut, J.; Szczygiel, I. Utilization of the cryogenic exergy of liquid natural gas (LNG) for the production of electricity. Energy 2009, 34, 827–837. [Google Scholar] [CrossRef]
- Choi, I.H.; Lee, S.; Seo, Y.; Chang, D. Analysis and optimization of cascade Rankine cycle for liquefied natural gas cold energy recovery. Energy 2013, 61, 179–195. [Google Scholar] [CrossRef]
- Bisio, G.; Tagliafico, L. On the recovery of LNG physical exergy by means of a simple cycle or a complex system. Exergy Int. J. 2002, 2, 34–50. [Google Scholar] [CrossRef]
- Riffat, S.; Ma, X. Thermoelectrics: A review of present and potential applications. Appl. Therm. Eng. 2003, 23, 913–935. [Google Scholar] [CrossRef]
- Sun, W.; Hu, P.; Chen, Z.; Jia, L. Performance of cryogenic thermoelectric generators in LNG cold energy utilization. Energy Convers. Manag. 2005, 46, 789–796. [Google Scholar] [CrossRef]
- Champier, D. Thermoelectric generators: A review of applications. Energy Convers. Manag. 2017, 140, 167–181. [Google Scholar] [CrossRef]
- ISO 12991:2012(en). Liquefied natural gas (LNG)—Tanks for on-board storage as a fuel for automotive vehicles. In Standard, International Organization for Standardization; British Standards Institution: London, UK, 2012. [Google Scholar]
- Karabetoglu, S.; Sisman, A.; Ozturk, Z.F.; Sahin, T. Characterization of a thermoelectric generator at low temperatures. Energy Convers. Manag. 2012, 62, 47–50. [Google Scholar] [CrossRef]
- Roszak, E.; Chorowski, M. Exergy analysis of combined simultaneous Liquid Natural Gas vaporization and Adsorbed Natural Gas cooling. Fuel 2013, 111, 755–762. [Google Scholar] [CrossRef]
- Strobridge, T. Cryogenic Refrigerators—An Updated Survey; National Bureau of Standards: Washington, DC, USA, 1974.
- Gomez, J.R.; Gomez, M.R.; Garcia, R.F.; Catoira, A.D.M. On board LNG reliquefaction technology: A comparative study. Pol. Marit. Res. 2014, 21, 77–88. [Google Scholar] [CrossRef]
- BOG Handling Method for Energy Saving in LNG Receiving Terminal. In 21st European Symposium on Computer Aided Process Engineering; Pistikopoulos, E., Georgiadis, M., Kokossis, A., Eds.; Computer Aided Chemical Engineering; Elsevier: Amsterdam, The Netherlands, 2011; Volume 29, pp. 1829–1833. [Google Scholar] [CrossRef]
- Kochunni, S.K.; Chowdhury, K. LNG boil-off gas reliquefaction by Brayton refrigeration system—Part 1: Exergy analysis and design of the basic configuration. Energy 2019, 176, 753–764. [Google Scholar] [CrossRef]
- Xu, Y.; Sun, D.; Qiao, X.; Yu, Y.S.; Zhang, N.; Zhang, J.; Cai, Y. Operating characteristics of a single-stage Stirling cryocooler capable of providing 700 W cooling power at 77 K. Cryogenics 2017, 83, 78–84. [Google Scholar] [CrossRef]
- Hu, J.; Zhu, J.; Chen, S.; Luo, E.; Dai, W.; Li, H. An Efficient Pulse Tube Cryocooler for BOG Recondensation in LNG Tanks. Energy Procedia 2014, 61, 2678–2681. [Google Scholar] [CrossRef][Green Version]
- Dang, H.; Li, J.; Zha, R.; Tan, J.; Zhang, T.; Zhao, B.; Zhao, Y.; Li, N.; Tan, H.; Xue, R. A single-stage Stirling-type pulse tube cryocooler achieving 1080 W at 77 K with four cold fingers driven by one linear compressor. Cryogenics 2020, 106, 103045. [Google Scholar] [CrossRef]
- Dorosz, P.; Chorowski, M.; Piotrowska, A. Performance of the one-stage Joule–Thomson cryocooler fed with a nitrogen–hydrocarbon mixture and built from mass-produced components made for the refrigeration industry. Int. J. Refrig. 2017, 82, 252–261. [Google Scholar] [CrossRef]
- Gómez, J.R.; Gómez, M.R.; Bernal, J.L.; Insua, A.B. Analysis and efficiency enhancement of a boil-off gas reliquefaction system with cascade cycle on board LNG carriers. Energy Convers. Manag. 2015, 94, 261–274. [Google Scholar] [CrossRef]
- Chart LNG. Vehicle Fuel Tank System. Available online: http://files.chartindustries.com/3835849-LNG-Operations-Manual-Final-Draft-010515-web.pdf (accessed on 10 July 2020).
- Wang, Z.; Cai, W.; Han, F.; Ji, Y.; Li, W.; Sundén, B. Feasibility study on a novel heat exchanger network for cryogenic liquid regasification with cooling capacity recovery: Theoretical and experimental assessments. Energy 2019, 181, 771–781. [Google Scholar] [CrossRef]
- Rogala, Z.; Brenk, A.; Malecha, Z. Theoretical and Numerical Analysis of Freezing Risk During LNG Evaporation Process. Energies 2019, 12, 1426. [Google Scholar] [CrossRef]
- Hisada, N.; Sekiguchi, M. Design and Analysis of Open Rack LNG Vaporizer; ASME: New York, NY, USA, 2004. [Google Scholar] [CrossRef]
- Qi, C.; Wang, W.; Wang, B.; Kuang, Y.; Xu, J. Performance analysis of submerged combustion vaporizer. J. Nat. Gas Sci. Eng. 2016, 31, 313–319. [Google Scholar] [CrossRef]
- Jin, T.; Wang, M.; Tang, K. Simulation and performance analysis of a heat transfer tube in SuperORV. Cryogenics 2014, 61, 127–132. [Google Scholar] [CrossRef]
- Bai, J.; Pan, J.; Wang, W.; Wang, K.; Wu, G. Ice formation prediction and heat transfer analysis of LNG in serpentine tube under supercritical pressure. Int. J. Therm. Sci. 2020, 149, 106137. [Google Scholar] [CrossRef]
- Han, C.l.; Ren, J.J.; Wang, Y.Q.; Dong, W.P.; Bi, M.S. Experimental investigation on fluid flow and heat transfer characteristics of a submerged combustion vaporizer. Appl. Therm. Eng. 2017, 113, 529–536. [Google Scholar] [CrossRef]
- Xu, S.; Chen, X.; Fan, Z. Thermal design of intermediate fluid vaporizer for subcritical liquefied natural gas. J. Nat. Gas Sci. Eng. 2016, 32, 10–19. [Google Scholar] [CrossRef]
- Zhao, Z.; Zhou, Y.; Ma, X.; Chen, X.; Li, S.; Yang, S. Numerical Study on Thermal Hydraulic Performance. Energies 2019, 12, 548. [Google Scholar] [CrossRef]
- Gis, W.; Żółtawski, A.; Taubert, S.; Grzelak, P. Engine Testing of Bus Fuelled With LNG. J. KONES 2015, 20, 93–98. [Google Scholar] [CrossRef]
- Barta, D.; Brezani, M.; Kalina, T. LNG as Alternative Fuel For Railway Transport. Bezpieczestwo i Ekologia 2017, 6, 47–49. [Google Scholar]
- Wärtsilä. Wärtsilä LNGPac. Technical report. 2017. Available online: http://wpci.nl/lng/sites/default/files/2010%20Wartsila%20safe-storage-gas-lngpac.pdf (accessed on 10 July 2020).
- MAN Cryo. Marine LNG Fuel Gas Systems. Available online: https://sweden.mandieselturbo.com/docs/librariesprovider16/cryo-files/man-cryo-marine-lng-fuel-gas-systems.pdf?sfvrsn=0 (accessed on 10 July 2020).
- Karlsson, S.; Sonzio, L. Enabling the safe storage of gas onboard ships with the Wärtsilä LNGPac. WÄRTSILÄ Tech. J. 2010, 52–56. Available online: http://wpci.nl/lng/sites/default/files/2010%20Wartsila%20safe-storage-gas-lngpac.pdf (accessed on 10 July 2020).
- Buades, L.S. Implementation of LNG as Marine Fuel in Current Vessels. Perspectives and Improvements on Their Environmental Efficiency. Llorenç Sastre Buades. Ph.D. Thesis, Univesitat Politecnica de Catalunya, Barcelona, Spain, 2017. [Google Scholar]
- Brenk, A.; Kielar, J.; Malecha, Z.; Rogala, Z. The effect of geometrical modifications to a shell and tube heat exchanger on performance and freezing risk during LNG regasification. Int. J. Heat Mass Transf. 2020, 161, 120247. [Google Scholar] [CrossRef]
- United States Department of Energy (DOE); Cummins Westport Inc. Advanced LNG Onboard Storage System (ALOSS); Technical report; Cummins Westport Inc.: Vancouver, BC, Canada, 2003.
- LNG vehicle fuel pressure strategy alternatives. SAE Tech. Pap. 2001, 110, 1098–1112. [CrossRef]
- LNG-Fuelled Engines and Fuel Systems for Medium-Speed Engines in Maritime Applications; SAE Technical Papers: Warrendale, PA, USA, 2011. [CrossRef]
- International Maritime Organisation. Safe, secure and efficient shipping. In Air Pollution and Energy Efficiency Studies 3; IMO: London, UK, 2016. [Google Scholar]
- Cox, G.; DelVecchio, K.; Hays, W.; Hiltner, J.; Nagaraj, R.; Emmer, C. Development of a Direct-Injected Natural Gas Engine System for Heavy-Duty Vehicles: Final Report Phase 2; Technical Report February; National Renewable Energy Lab.: Golden, CO, USA, 2000. [CrossRef]
- Souto, J.L.P.; Ferrera, M.; Leclerq, N.; Matchett, M.; Ingemar, M. LNG Trucks Euro V Technical Solutions. Available online: https://lngbc.eu/system/files/deliverable_attachments/LNG%20BC%20D%202.1%20Euro%20V%20final%20technical%20solutions.pdf (accessed on 10 July 2020).
- DongHwa Entec. Available online: http://www.dh.co.kr/fuel-gas-supply-system/ (accessed on 10 July 2020).
- Prasad, G.; Das, A. Design approach of shell and Tube Vaporizer for LNG regasification. Jordan J. Mech. Ind. Eng. 2018, 12, 109–116. [Google Scholar]
- Agility Fuel Solutions. In Dual Tank LNG System Operation Manual; Technical Report July: Costa Mesa, CA, USA, 2017.
- Lemmon, E.W.; Bell, I.H.; Huber, M.L.; McLinden, M.O. NIST Standard Reference Database 23: Reference Fluid Thermodynamic and Transport Properties-REFPROP, Version 10.0, National Institute of Standards and Technology; NIST: Gaithersburg, MD, SUA, 2018. [CrossRef]
- Bier, K.; Lambert, M. Heat transfer in nucleate boiling of different low boiling substances. Int. J. Refrig. 1990, 13, 293–300. [Google Scholar] [CrossRef]
- Ackermann, H.; Bewilogua, L.; Jahn, A.; Kn, R.; Vinzelberg, H. Heat transfer in nitrogen-methane mixtures under pressure with film boiling. Cryogenics 1976, 16, 497–499. [Google Scholar] [CrossRef]
- Sciance, C.T.; Colver, C.P.; Sliepcevich, C.M. Pool Boiling of Methane between Atmospheric Pressure and the Critical Pressure. In Advances in Cryogenic Engineering; Springer: Boston, MA, USA, 1967; pp. 395–408. [Google Scholar] [CrossRef]
- Xu, S.; Chen, X.; Fan, Z.; Chen, Y.; Nie, D.; Wu, Q. The influence of chemical composition of LNG on the supercritical heat transfer in an intermediate fluid vaporizer. Cryogenics 2018, 91, 47–57. [Google Scholar] [CrossRef]
- Malecha, Z.; Płuszka, P.; Brenk, A. Numerical investigation of cryogen re-gasification in a plate heat exchanger. In IOP Conference Series: Materials Science and Engineering; IOP Publishing: Bristol, UK, 2017; Volume 278, p. 012063. [Google Scholar]
- Brenk, A.; Pluszka, P.; Malecha, Z. Numerical study of flow maldistribution in multi-plate heat exchangers based on robust 2D model. Energies 2018, 11, 3121. [Google Scholar] [CrossRef]
- Liao, W.K.; Malecha, Z.; Płuszka, P.; Brenk, A.; Lin, F.C.; Yang, C.Y. An experimental and numerical analysis of air-water flow distribution in multichannels with parallel dividing plates in the inlet header. In Proceedings of the 29th International Symposium on Transport Phenomena (ISTP29), Honolulu, HI, USA, 30 October–2 November 2018. [Google Scholar]
- Pluszka, P.; Brenk, A.P.; Malecha, Z. Numerical study of flow maldistribution in plate heat exchangers used for evaporation process. Arch. Thermodyn. 2019, 40, 57–82. [Google Scholar] [CrossRef]
- Aiba, S.; Ota, T.; Tsuchida, H. Heat Transfer and Flow Around a Circular Cylinder with Tripping-Wires. Thermo- Fluid Dyn. 1979, 12, 221–231. [Google Scholar] [CrossRef]
- Cengel, Y.a.; Klein, S.; Beckman, W. Heat Transfer: A Practical Approach; Mcgraw-Hill: New York, NY, USA, 2002; p. 896. [Google Scholar]
- Gugulothu, R.; Sanke, N.; Gupta, A.V. Numerical Study of Heat Transfer Characteristics in Shell-and-Tube Heat Exchanger; Number March; Springer: Singapore, 2019; pp. 375–383. [Google Scholar] [CrossRef]
- Zhang, Z.; Mehendale, S.; Tian, J.; Li, Y. Fluid Flow Distribution and Heat Transfer in Plate-Fin Heat Exchangers. Heat Transf. Eng. 2015, 36, 806–819. [Google Scholar] [CrossRef]
- Cao, X.; Liu, H.L.; Shao, X.D. Heat Transfer Performance of a Novel Multi-Baffle-Type Heat Sink. Entropy 2018, 20, 979. [Google Scholar] [CrossRef]
- Mueller, A.C.; Chiou, J.P. Review of various Types of Flow Maldistribution in Heat Exchangers. Heat Transf. Eng. 1988, 9, 36–50. [Google Scholar] [CrossRef]
- Pacio, J.C.; Dorao, C.A. A study of the effect of flow maldistribution on heat transfer performance in evaporators. Nucl. Eng. Des. 2010, 240, 3868–3877. [Google Scholar] [CrossRef]
- Yan, Y.Y.; Lin, T.F. Evaporation Heat Transfer and Pressure Drop of Refrigerant R-134a in a Plate Heat Exchanger. J. Heat Transf. 1999, 121, 118–127. [Google Scholar] [CrossRef]
- Vist, S.; Pettersen, J. Two-phase flow distribution in compact heat exchanger manifolds. Exp. Therm. Fluid Sci. 2004, 28, 209–215. [Google Scholar] [CrossRef]
- Sterner, D.; Sunden, B. Performance of Plate Heat Exchangers for Evaporation of Ammonia. Heat Transf. Eng. 2006, 27, 45–55. [Google Scholar] [CrossRef]
- Jensen, J.K.; Kaernl, M.R.; Ommen, T.S.; Brix, W.; Reinholdt, L.; Elmeegard, B. Effect of liquid/vapour maldistribution on the performance of plate heat exchanger evaporators. In Proceedings of the 24th IIR International Congress of Refrigeration, Yokohama, Japan, 16–22 August 2015. [Google Scholar]
- Yang, C.Y.; Lin, Y.H.; Lin, F.C. Effect of Flow Direction for the Heat Transfer Performance of Refrigerant R-410A Evaporation in a Plate Heat Exchanger. Heat Transf. Eng. 2013, 34, 1133–1139. [Google Scholar] [CrossRef]
- Lin, Y.H.; Li, G.C.; Yang, C.Y. An experimental observation of the effect of flow direction for evaporation heat transfer in plate heat exchanger. Appl. Therm. Eng. 2015, 88, 425–432. [Google Scholar] [CrossRef]
- Gong, M.; Ma, J.; Wu, J.; Zhang, Y.; Sun, Z.; Zhou, Y. Nucleate pool boiling of liquid methane and its natural gas mixtures. Int. J. Heat Mass Transf. 2009, 52, 2733–2739. [Google Scholar] [CrossRef]
- Jones, B.J.; McHale, J.P.; Garimella, S. The Influence of Surface Roughness on Nucleate Pool Boiling Heat Transfer. J. Heat Transf. 2009, 131, 12009. [Google Scholar] [CrossRef]
- Beggs, H.D.; Brill, J.P. A Study of Two-Phase Flow in Inclined Pipes. J. Pet. Tehchnol. 1973, 25, 607–617. [Google Scholar] [CrossRef]
- Nations, U. United Nations Economic and Social Council-Agreement Concerning the Adoption of Harmonized Technical United Nations Regulations for Wheeled Vehicles, Equipment and Parts which Can Be Fitted and/or be Used on Wheeled Vehicles and the Conditions for Reciprocal Recognition of Approvals Granted on the Basis of these United Nations Regulations. 2020. Available online: http://www.unece.org/trans/main/wp29/wp29wgs/wp29gen/wp29fdocstts.html (accessed on 10 July 2020).
- EU CommissionDirective 1999/92/EC of the European Parliament and of the Council of 16 December 1999 on Minimum Requirements for Improving the Safety and Health Protection of Workers Potentially at Risk from Explosive Atmospheres (15th Individual Directive within the Meaning of Article 16(1) of Directive 89/391/EEC). 1999. Available online: https://eur-lex.europa.eu/legal-content/EN/TXT/?uri=CELEX%3A31999L0092 (accessed on 10 July 2020).
- Commission Regulation (EU) No 582/2011 of 25 May 2011 implementing and amending Regulation (EC) No 595/2009 of the European Parliament and of the Council with Respect to Emissions from Heavy Duty Vehicles (Euro VI) and Amending ANNEXES I and III to Directive 2007/46/EC of the European Parliament and of the Council Text with EEA Relevance. 2011. Available online: https://eur-lex.europa.eu/legal-content/EN/TXT/?uri=CELEX:32011R0582 (accessed on 10 July 2020).
- Kupecki, J.; Jewulski, J.; Motylinski, K. Parametric evaluation of a micro-CHP unit with solid oxide fuel cells integrated with oxygen transport membranes. Int. J. Hydrog. Energy 2015, 40, 11633–11640. [Google Scholar] [CrossRef]
- Kupecki, J.; Papurello, D.; Lanzini, A.; Naumovich, Y.; Motylinski, K.; Blesznowski, M.; Santarelli, M. Numerical model of planar anode supported solid oxide fuel cell fed with fuel containing H2S operated in direct internal reforming mode (DIR-SOFC). Appl. Energy 2018, 230, 1573–1584. [Google Scholar] [CrossRef]
- Kupecki, J.; Motylinski, K.; Jagielski, S.; Wierzbicki, M.; Brouwer, J.; Naumovich, Y.; Skrzypkiewicz, M. Energy analysis of a 10 kW-class power-to-gas system based on a solid oxide electrolyzer (SOE). Energy Convers. Manag. 2019, 199, 111934. [Google Scholar] [CrossRef]































| Application | LNG Consumption, | Exergy Flux, |
|---|---|---|
| road | 10 | 2.9 |
| rail | 300 | 86.7 |
| marine | 2000 | 577.8 |
| Recovery Method | Applicable for Mobile Applications | Notes |
|---|---|---|
| Direct cooling | Yes | low efficiency, simplicity, component availability |
| Direct expansion | No | low efficiency, supervision required |
| Organic Rankine Cycle | No | high efficiency, complexity, supervision required |
| Brayton Cycle | No | high efficiency, complexity, supervision required |
| Thermoelectric Generator | Yes | low efficiency, simplicity, low maintenance, scalability |
| ANG Method | Marine: Yes Rail & Road: No | simplicity, low maintenance |
| Cryooler | Capacity Range | |
|---|---|---|
| Turbo–Brayton | 18–250 kW at 120 K | [56] |
| Stirling | 2–8 kW at 120 K | [57] |
| Gifford–McMahon | 14–600 W at 80 K | |
| 2-stage Pulse Tube | up to 1.2 kW at 120 K | [58,59] |
| Single-stage Pulse Tube | 12–90 W at 80 K | |
| Miniature Pulse Tube | 3–10 W at 80 K | |
| Joule–Thomson | 100 W at 120 K | [60] |
| Cryogenic cascade | up to few kW at 120 K | [61] |
Publisher’s Note: MDPI stays neutral with regard to jurisdictional claims in published maps and institutional affiliations. |
© 2020 by the authors. Licensee MDPI, Basel, Switzerland. This article is an open access article distributed under the terms and conditions of the Creative Commons Attribution (CC BY) license (http://creativecommons.org/licenses/by/4.0/).
Share and Cite
Banaszkiewicz, T.; Chorowski, M.; Gizicki, W.; Jedrusyna, A.; Kielar, J.; Malecha, Z.; Piotrowska, A.; Polinski, J.; Rogala, Z.; Sierpowski, K.; et al. Liquefied Natural Gas in Mobile Applications—Opportunities and Challenges. Energies 2020, 13, 5673. https://doi.org/10.3390/en13215673
Banaszkiewicz T, Chorowski M, Gizicki W, Jedrusyna A, Kielar J, Malecha Z, Piotrowska A, Polinski J, Rogala Z, Sierpowski K, et al. Liquefied Natural Gas in Mobile Applications—Opportunities and Challenges. Energies. 2020; 13(21):5673. https://doi.org/10.3390/en13215673
Chicago/Turabian StyleBanaszkiewicz, Tomasz, Maciej Chorowski, Wojciech Gizicki, Artur Jedrusyna, Jakub Kielar, Ziemowit Malecha, Agnieszka Piotrowska, Jaroslaw Polinski, Zbigniew Rogala, Korneliusz Sierpowski, and et al. 2020. "Liquefied Natural Gas in Mobile Applications—Opportunities and Challenges" Energies 13, no. 21: 5673. https://doi.org/10.3390/en13215673
APA StyleBanaszkiewicz, T., Chorowski, M., Gizicki, W., Jedrusyna, A., Kielar, J., Malecha, Z., Piotrowska, A., Polinski, J., Rogala, Z., Sierpowski, K., Skrzypacz, J., Stanclik, M., Tomczuk, K., & Dowżenko, P. (2020). Liquefied Natural Gas in Mobile Applications—Opportunities and Challenges. Energies, 13(21), 5673. https://doi.org/10.3390/en13215673

