Numerical Simulation Study on Structure Optimization and Performance Improvement of Hot Water Storage Tank in CHP System
Abstract
1. Introduction
2. Mathematical Model
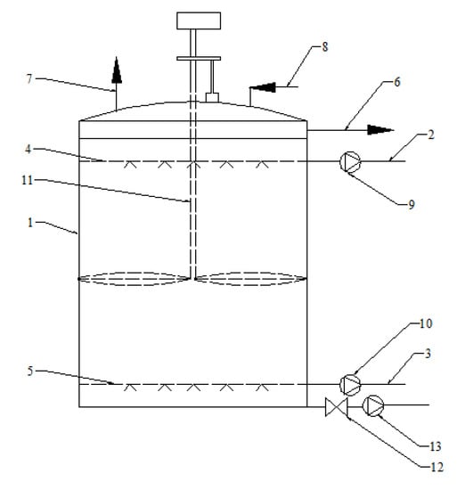
2.1. Physical Model
2.2. Geometric and Mathematical Model
- (1)
- The HWST is regarded as a closed cylinder with the arc design of the top of the HWST ignored.
- (2)
- The wall is supposed insulate as the surface heat loss caused by the convection heat transfer between the tank wall and the outside air can be ignored with the multi-layer insulation chamber equipped.
- (3)
- The volume of thermal insulation chamber is ignored.
- (4)
- The flow in the distributor has little effect on the flow in the HWST since its diameter is very small compared with the HWST, so the distributor is simplified as a circular opening.
- (5)
- The external force and internal heat source inside the tank are ignored.
- (6)
- The scale removal device in the tank is ignored since it stops running when the heat storage tank is in normal operation.
- (7)
- Assuming that the thermophysical parameters of the fluid in the tank do not change with temperature except density.
2.3. Validation
2.4. Variable Condition
3. Results and Discussion
3.1. Heat Storage Efficiency
3.2. Velocity Field Variation and Flow Uniformity
3.3. The Distribution of Temperature Field
3.4. Exergy Analysis
4. Conclusions
- (1)
- Although increasing the length diameter ratio properly can improve the flow uniformity in the HWST, it will lead to the prolongation of the heat storage time and reduce the heat storage efficiency.
- (2)
- Although the water supply temperature has no obvious effect on the fluid flow uniformity in the HWST, it will affect the stratification speed of hot and cold water with heat storage time increasing. In addition, the heat storage capacity and heat storage efficiency of the HWST will be improved by properly increasing the water supply temperature.
- (3)
- Increasing the water supply flow and the orifice diameter and number of water distributor will increase the flow uniformity and the heat storage efficiency of the HWST.
- (4)
- Through comprehensive observation of the non-dimensional exergy loss calculation results, velocity field and temperature field, the water supply flow and the orifice diameter, and number of water distributor have great influence on the disturbance between hot and cold water in the initial stage of heat storage and release. With the increase of water supply flow and the orifice diameter and number of water distributor, the mixing speed of cold and hot water is accelerated, and then the non-dimensional exergy loss increases. Besides, there is a certain coupling relationship between the non-dimensional exergy loss and flow uniformity at the initial stage of heat storage and release. In the initial stage of heat storage and release, the larger the non-dimensional exergy loss, the more serious the mixing of hot and cold water is, the better the flow uniformity is, and the faster the stratification of hot and cold water is.
Author Contributions
Funding
Conflicts of Interest
Nomenclature
| t | Operation time of heat storage tank, h; |
| x | Transverse distance of the HWST at a certain time, m; |
| y | Longitudinal distance of the HWST at a certain time, m; |
| z | Vertical distance of the HWST at a certain time, m; |
| u | Transverse velocity of the HWST at a certain time, m/s; |
| v | Longitudinal velocity of the HWST at a certain time, m/s; |
| w | Flow velocity in the vertical direction of the HWST at a certain time, m/s; |
| w0 | Rated vertical flow rate of HWST operation, m/s; |
| τ | One cycle time of the heat storage tank, s; |
| p | Pressure, Pa; |
| R | Bottom radius of heat storage tank, m; |
| T | Temperature of the HWST at a certain time of operation, °C; |
| Th | Hot water temperature of the HWST at a certain time, °C; |
| Tc | Cold water temperature of the HWST at a certain time, °C; |
| cp | Specific heat capacity of water at constant pressure, kJ/(kg · K) |
| V0 | The volume of heat storage tank, m3; |
| η | The heat storage efficiency |
| Ti | The outlet temperature, K; |
| H | Height of heat storage tank, m; |
| Th | Hot water temperature of the HWST at a certain time, °C; |
| Q | Heat storage capacity of the heat storage tank, mWh; |
| V | The effective volume of heat storage tank, m3; |
| α | The heat loss coefficient, kJ/ (m3 s °C); |
| Ta | The ambient temperature, °C; |
| Tb | The surface temperature of the heat storage tank, °C; |
| q | The mass flow of the fluid entering the heat storage tank, t/h; |
| n | The orifice number of water distributor; |
| ζ | The non-dimensional exergy; |
References
- Zhang, L.; Han, M.; LU, X.Q. Analysis on Coal Consumption and Potential Energy-saving of Central Heating in Northern Provinces of China Under Urbanization Background. China Popul. Resour. Environ. 2015, 25, 58–68. [Google Scholar]
- Qin, B.; Fu, L.; Jiang, Y. Electric Peak Shaving for CHP Plant by U sing Thermal Inertia of Heat-supply System. Gas Heat 2005, 25, 6–8. [Google Scholar]
- Nuytten, T.; Claessens, B.; Paredis, K.; Van Bael, J.; Six, D. Flexibility of a combined heat and power system with thermal energy storage for district heating. Appl. Energy 2013, 104, 583–591. [Google Scholar] [CrossRef]
- Li, C.; Li, Q.; Zhao, Y.; Cong, L.; Jiang, Z.; Li, Y.; Ding, Y. Composite phase change materials for thermal energy storage: From molecular modelling based formulation to innovative manufacture. Energy Procedia 2019, 158, 4510–4516. [Google Scholar] [CrossRef]
- Liu, C.; Rao, Z. Challenges in various thermal energy storage technologies. Sci. Bull. 2017, 62, 231–233. [Google Scholar] [CrossRef]
- Erdemir, D.; Altuntop, N. Improved thermal stratification with obstacles placed inside the vertical mantled hot water tanks. Appl. Therm. Eng. 2016, 100, 20–29. [Google Scholar] [CrossRef]
- Lyu, Q.; Chen, T. Analysis on peak-load regulation ability of cogeneration unit with heat accumulator. Autom. Electr. Power Syst. 2014, 38, 34–41. [Google Scholar]
- Lund, H.; Andersen, A.N. Optimal designs of small CHP plants in a market with fluctuating electricity prices. Energy Convers. Manag. 2005, 46, 893–904. [Google Scholar] [CrossRef]
- Wang, K.; Tian, H.M.; Jia, J. Expanding the Peak Regulation Margin of Heating Unitsby Using Heat Storage Technology. Energy Conserv. Technol. 2012, 30, 339–341. [Google Scholar]
- Pillai, J.R.; Bak-Jensen, B. Integration of Vehicle-to-Grid in the Western Danish Power System. IEEE Trans. Sustain. Energy 2010, 2, 12–19. [Google Scholar] [CrossRef]
- Lund, H.; Mathiesen, B.V. Energy system analysis of 100% renewable energy systems—The case of Denmark in years 2030 and 2050. Energy 2009, 34, 524–531. [Google Scholar] [CrossRef]
- d’Entremont, A.; Corgnale, C.; Sulic, M.; Hardy, B.; Zidan, R.; Motyka, T. Modeling of a thermal energy storage system based on coupled metal hydrides (magnesium iron-sodium alanate) for concentrating solar power plants. Appl. Therm. Eng. 2010, 30, 1255–1261. [Google Scholar] [CrossRef]
- Andersen, A.N.; Lund, H. CHP-Plants with Big Thermal Stores Balancing Fluctuating Productions from Wind Turbines. Available online: http://desire.iwes.fraunhofer.de/files/deliverables/del_4.1-4.4.pdf (accessed on 2 June 2013).
- Alanne, K. Sustainable small-scale CHP technologies for buildings: The basis for multi-perspective decision-making. Renew. Sustain. Energy Rev. 2004, 8, 401–431. [Google Scholar] [CrossRef]
- Wang, X.; He, Z. Dynamic Simulations on Simultaneous Charging/Discharging Process of Water Thermocline Storage Tank. Proc. CSEE 2019, 39, 5989–5998. [Google Scholar]
- Musser, A.; Bahnfleth, W.P. Parametric study of charging inlet diffuser performance in stratified chilled water storage tanks with radial diffusers: Part1-model development and validation. HVAC R Res. 2001, 7, 31–49. [Google Scholar] [CrossRef]
- Bahnfleth, W.P.; Song, J. Constant flow rate charging characteristics of a full-scale stratified chilled water storage tank with double-ring slotted pipe diffusers. Appl. Therm. Eng. 2005, 25, 3067–3082. [Google Scholar] [CrossRef]
- Abdelhak, O.; Mhiri, H.; Bournot, P. CFD analysis of thermal stratification in domestic hot water storage tank during dynamic mode. Build. Simul. 2015, 8, 421–429. [Google Scholar] [CrossRef]
- Savicki, D.L.; Vielmo, H.A.; Krenzinger, A. Three-dimensional analysis and investigation of the thermal and hydrodynamic behaviors of cylindrical storage tanks. Renew. Energy 2011, 36, 1364–1373. [Google Scholar] [CrossRef]
- Fernández-Seara, J.; Uhı, F.J.; Sieres, J. Experimental analysis of a domestic electric hot water storage tank. Part II: Dynamic mode of operation. Appl. Therm. Eng. 2007, 27, 137–144. [Google Scholar] [CrossRef]
- Chung, J.D.; Cho, S.H.; Tae, C.S.; Yoo, H. The effect of diffuser configuration on thermal stratification in a rectangular storage tank. Renew. Energy 2008, 33, 2236–2245. [Google Scholar] [CrossRef]
- Ge, Z.; Zhang, F.; Zhang, Y. Simulation on Performance Improvement of Single Thermocline Energy Storage Tank. Proc. CSEE 2019, 39, 773–781. [Google Scholar]
- Consul, R.; Rodrıguez, I.; Perez-Segarra, C.D.; Soria, M. Virtual prototyping of storage tanks by means of three-dimensional CFD and heat transfer numerical simulations. Sol. Energy 2007, 77, 179–191. [Google Scholar] [CrossRef]









| Detail | Value |
|---|---|
| Diameter D/m | 22 |
| Height H/m | 25 |
| Density of water ρ/(kg/m3) | Boussinesq’s hypothesis |
| Heat capacity cp/(kJ/(kg⋅K)) | 4.182 |
| Viscosity μ/kg/(m·s) | 1.003 × 10−3 |
| Thermal conductivity λ/W/(m·K) | 0.6 |
| Orifice number n | 30 |
| Water supply flow q/t/h | 2500 |
| Orifice diameter d/mm | 528 |
| Initial cold water temperature t0/°C | 60 |
| Inlet hot water temperature t1/°C | 98 |
| Serial Number | Parameters | ||||
|---|---|---|---|---|---|
| Length Diameter Ratio(L/D) | Water Supply Temperature/°C | Water Supply Flow/t/h | Orifice Diameter/mm | Orifice Number | |
| 1 | 1.14 | 98 | 2500 | 528 | 30 |
| 2 | 1.51 | 98 | 2500 | 528 | 30 |
| 3 | 2.08 | 98 | 2500 | 528 | 30 |
| 4 | 1.14 | 85 | 2500 | 528 | 30 |
| 5 | 1.14 | 90 | 2500 | 528 | 30 |
| 6 | 1.14 | 98 | 2000 | 528 | 30 |
| 7 | 1.14 | 98 | 3000 | 528 | 30 |
| 8 | 1.14 | 98 | 2500 | 700 | 30 |
| 9 | 1.14 | 98 | 2500 | 900 | 30 |
| 10 | 1.14 | 98 | 2500 | 528 | 42 |
| 11 | 1.14 | 98 | 2500 | 528 | 54 |
| Serial Number | 1 | 2 | 3 | 4 | 5 | 6 | 7 | 8 | 9 | 10 | 11 |
|---|---|---|---|---|---|---|---|---|---|---|---|
| The heat storage efficiency/% | 99.73 | 99.68 | 99.61 | 99.67 | 99.70 | 99.66 | 99.79 | 99.74 | 99.77 | 99.75 | 99.78 |
| Serial Number | 1 | 2 | 3 | 4 | 5 | 6 | 7 | 8 | 9 | 10 | 11 |
|---|---|---|---|---|---|---|---|---|---|---|---|
| The flow uniformity percentage/% | 19.04 | 21.08 | 27.91 | 18.85 | 18.85 | 39.73 | 17.48 | 24.34 | 28.55 | 27.42 | 27.82 |
© 2020 by the authors. Licensee MDPI, Basel, Switzerland. This article is an open access article distributed under the terms and conditions of the Creative Commons Attribution (CC BY) license (http://creativecommons.org/licenses/by/4.0/).
Share and Cite
Li, Y.; Sun, F.; Zhang, Q.; Chen, X.; Yuan, W. Numerical Simulation Study on Structure Optimization and Performance Improvement of Hot Water Storage Tank in CHP System. Energies 2020, 13, 4734. https://doi.org/10.3390/en13184734
Li Y, Sun F, Zhang Q, Chen X, Yuan W. Numerical Simulation Study on Structure Optimization and Performance Improvement of Hot Water Storage Tank in CHP System. Energies. 2020; 13(18):4734. https://doi.org/10.3390/en13184734
Chicago/Turabian StyleLi, Ying, Fengzhong Sun, Qiannan Zhang, Xuehong Chen, and Wei Yuan. 2020. "Numerical Simulation Study on Structure Optimization and Performance Improvement of Hot Water Storage Tank in CHP System" Energies 13, no. 18: 4734. https://doi.org/10.3390/en13184734
APA StyleLi, Y., Sun, F., Zhang, Q., Chen, X., & Yuan, W. (2020). Numerical Simulation Study on Structure Optimization and Performance Improvement of Hot Water Storage Tank in CHP System. Energies, 13(18), 4734. https://doi.org/10.3390/en13184734
