Streaming Electrification Phenomenon of Electrical Insulating Oils for Power Transformers
Abstract
:1. Introduction
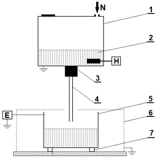
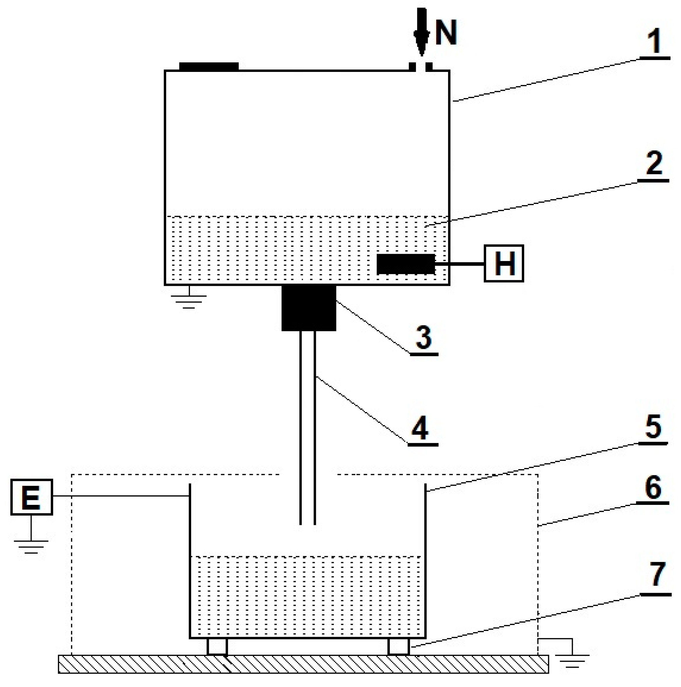
2. Materials and Methods
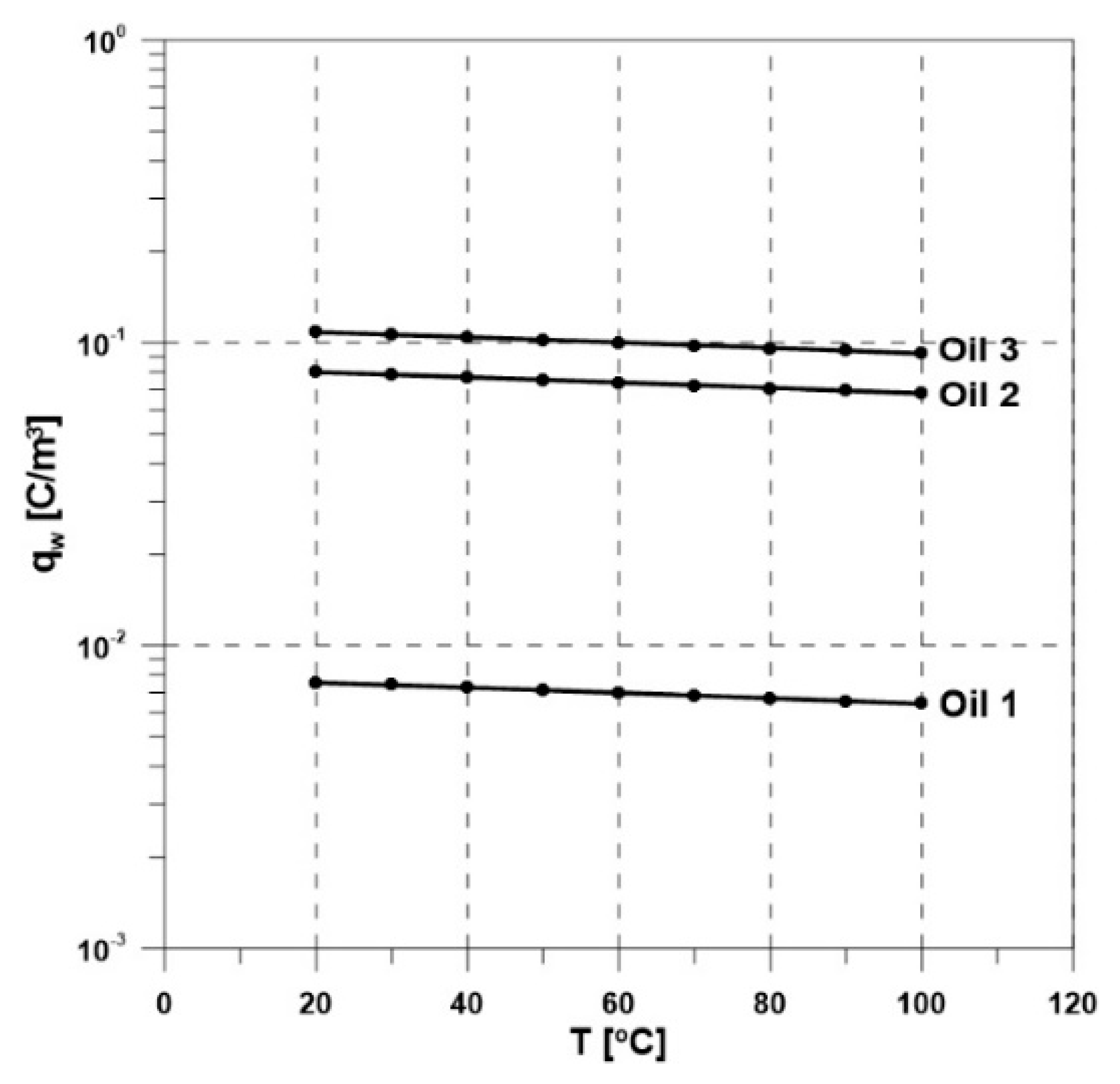
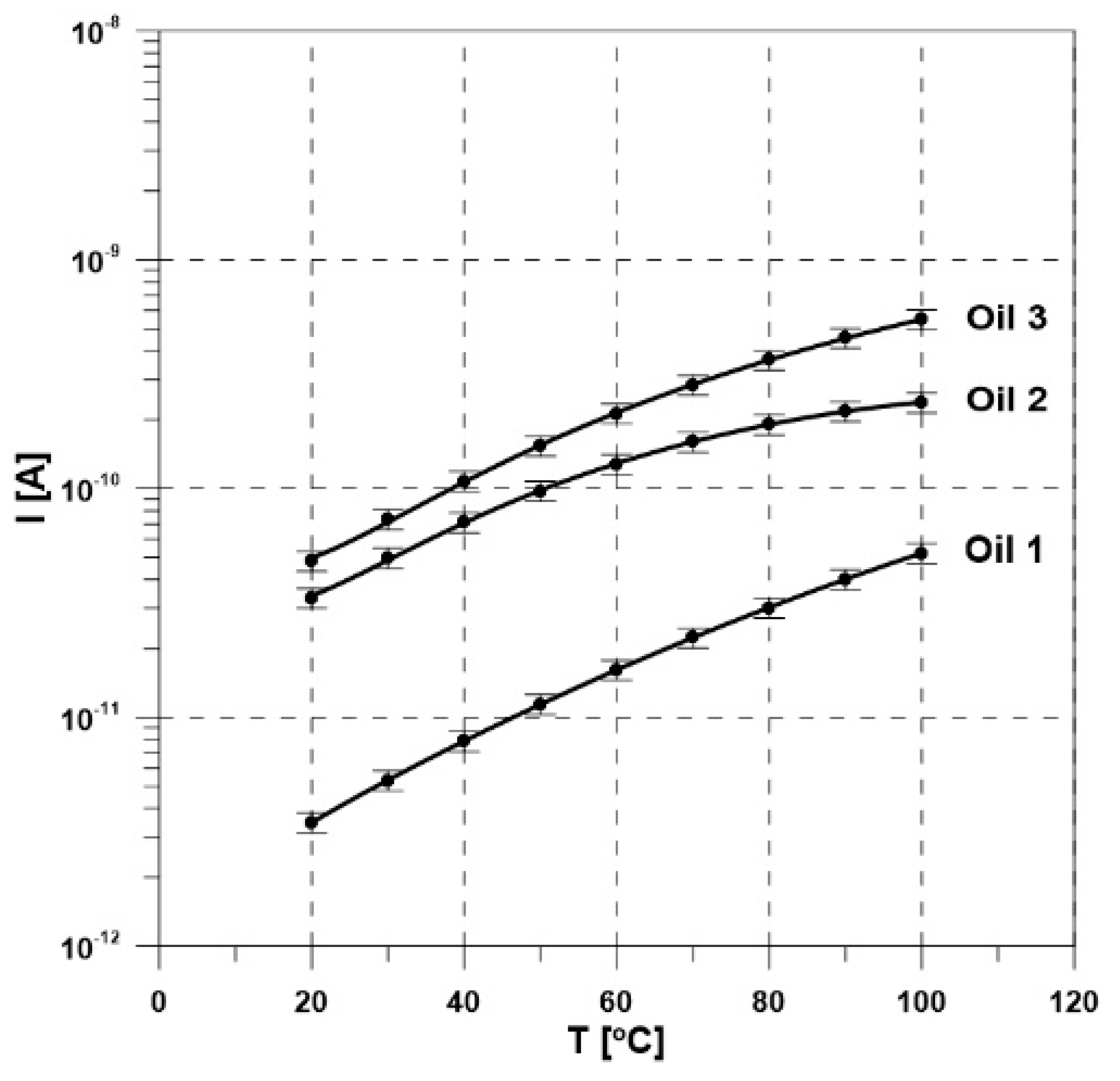
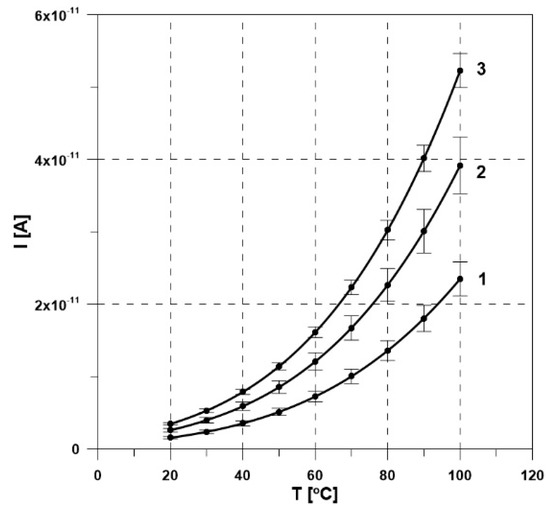
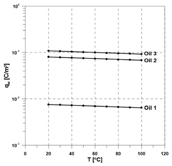
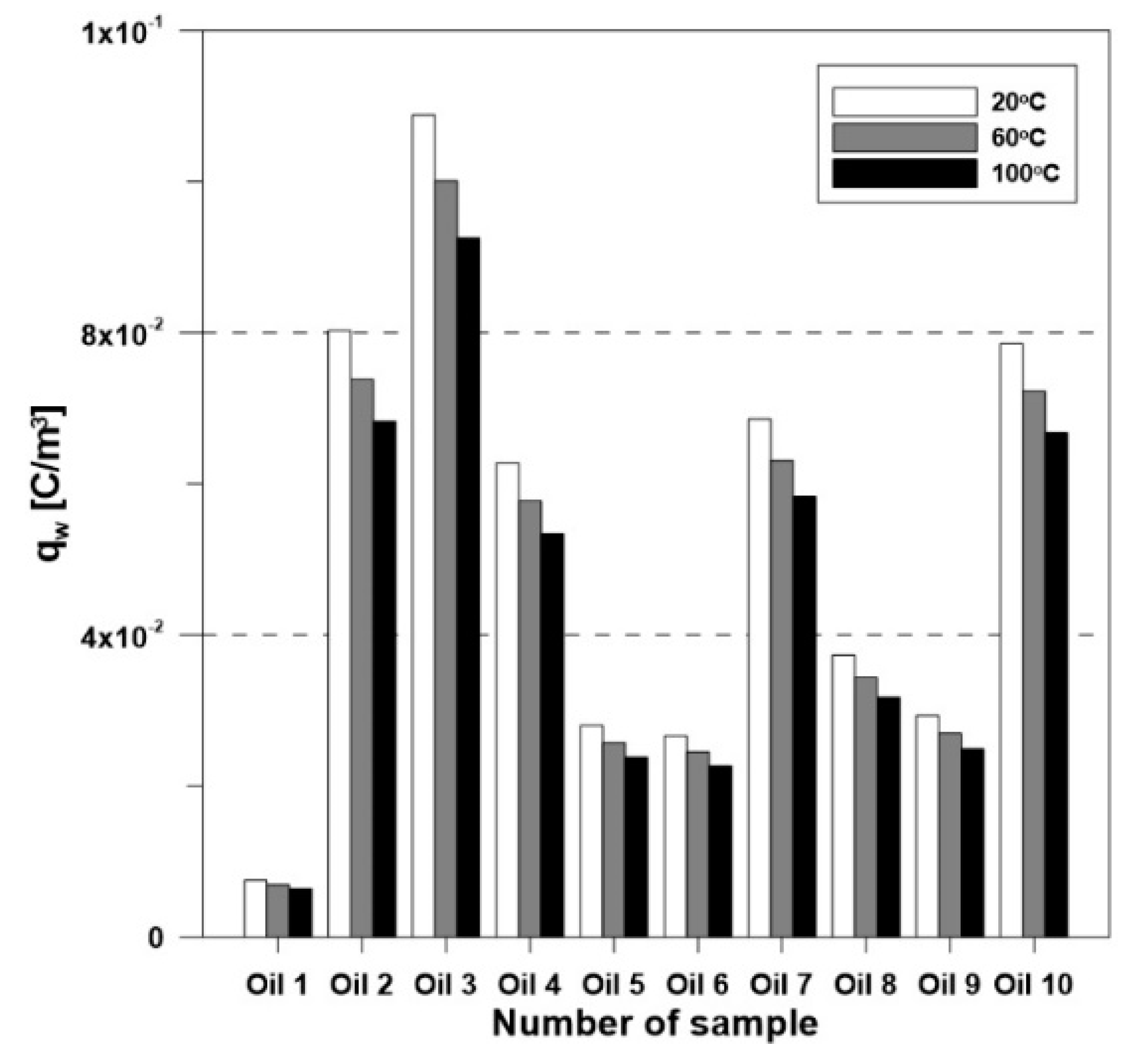
3. Results
4. Conclusions
Funding
Conflicts of Interest
References
- Tagaki, T.; Ishi, T.; Okada, T.; Kurita, K.; Tamura, R.; Murata, H. Reliability Improvement of 500 kV Large Capacity Power Transformer; Paper 12-02; CIGRE S12: Paris, France, 1978; Volume 12. [Google Scholar]
- Lindgren, S.R.; Washabaugh, A.P.; Zahn, M.; von Guggenberg, P.; Brubaker, M.; Nelson, J.K. Temperature and Moisture Transient Effects on Flow Electrification in Power Transformers; Paper 15/12-02; CIGRE, General Session: Paris, France, 1992; Volume 1. [Google Scholar]
- Sierota, A.; Rungis, J. Electrostatic Charging in Transformers Oils. Testing and Assessment. IEEE Trans. Dielectr. Electr. Insul. 1994, 1, 804–870. [Google Scholar] [CrossRef]
- Higaki, M.; Kako, Y.; Moriyama, M.; Hirano, M.; Hiraishi, K.; Kurita, K. Static Electrification and Partial Discharges Caused by Oil Flow in Forced Oil Cooled Core Type Transformers. IEEE Trans. Power Appar. Syst. 1979, 98, 1259–1267. [Google Scholar] [CrossRef]
- Krause, C.; Knoll, E.; Alff, J.; Stonitsch, R. Impact of AC-Fields on Dielectric Charging in a Full-Scale Power Transformer. In Proceedings of the 9th International Symposium High Voltage Engineering, Graz, Austria, 28 August–1 September 1995; pp. 1080/1–1080/4. [Google Scholar]
- Zmarzły, D.; Kędzia, J. A Noise Analyzer for Monitoring Static Electrification Current. J. Electrost. 2005, 63, 409–422. [Google Scholar] [CrossRef]
- Zdanowski, M.; Wolny, S.; Zmarzły, D.; Kędzia, J. The Analysis and Selection of the Spinning Disk System Parameters for The Measurement of Static Electrification of Insulation Oils. IEEE Trans. Dielectr. Electr. Insul. 2007, 14, 480–486. [Google Scholar] [CrossRef]
- Zmarzły, D.; Boczar, T. Measurements of Distribution of Streaming Electrification Current Inside a Pipe. IEEE Trans. Dielectr. Electr. Insul. 2009, 16, 1681–1685. [Google Scholar] [CrossRef]
- Zmarzły, D. Streaming Electrification Current Model in a Round Pipe in Turbulent Regime. IEEE Trans. Dielectr. Electr. Insul. 2013, 20, 1497–1509. [Google Scholar] [CrossRef]
- Zmarzły, D.; Frącz, P. Streaming Electrification in the Swinging Plate System. IEEE Trans. Dielectr. Electr. Insul. 2017, 24, 3217–3225. [Google Scholar] [CrossRef]
- Zmarzły, D.; Frącz, P. Dynamics of Impulse Response of Streaming Electrification Current in Swinging Cylinder System Insulation. IEEE Trans. Dielectr. Electr. Insul. 2018, 25, 713–720. [Google Scholar] [CrossRef]
- De Tinguy, M.; Paillat, T.; Leblanc, P.; Touchard, G. Critical analysis of the flow electrification measurement for a conductive solid/liquid couple. Int. J. Plasma Environ. Sci. Technol. 2020, 14, e01001. [Google Scholar]
- Zdanowski, M.; Wolny, S.; Zmarzły, D.; Boczar, T. ECT of Ethanol and Hexane Mixtures in The Spinning Disc System. J. Electrost. 2007, 65, 239–243. [Google Scholar] [CrossRef]
- Zdanowski, M.; Kędzia, J. Research on the Electrostatic Properties of Liquid Dielectric Mixtures. J. Electrost. 2007, 65, 506–510. [Google Scholar] [CrossRef]
- Zdanowski, M. Influence of Composition of Dielectric Liquid Mixtures on Electrostatic Charge Tendency and Physicochemical Parameters. IEEE Trans. Dielectr. Electr. Insul. 2008, 15, 527–532. [Google Scholar]
- Ren, S.; Li, H.; Zhong, L.; Yu, Q.; Tang, C.; Zhu, H.; Cao, X.; Hanai, M.; Yamada, S.; Imamura, T.; et al. Research on Streaming Electrification of Insulation Mineral Oil. In Proceedings of the 2009 IEEE 9th International Conference on the Properties and Applications of Dielectric Materials, Harbin, China, 19–23 July 2009; pp. 988–991. [Google Scholar]
- L-Adawy, M.; Paillat, T.; Touchard, G.; Cabaleiro, J.M. Numerical Simulation of the Electrical Double Layer Development: Pysicochemical Model at the Solid and Dielectric Liquid Interface for Laminar Flow Electrification Phenomenon. IEEE Trans. Dielectr. Electr. Insul. 2011, 18, 1463–1475. [Google Scholar] [CrossRef]
- Vihacencu, M.S.; Notingher, P.V.; Paillat, T.; Jarny, S. Flow Electrification Phenomenon for Newtonian and Non-Newtonian Liquids: Influence of Liquid Conductivity, Viscosity and Shear Stress. IEEE Trans. Dielectr. Electr. Insul. 2014, 21, 693–703. [Google Scholar] [CrossRef]
- Fofana, I.; Bouslimi, Y.; Hemmatjou, H.; Volant, C.; Tahiri, K. Relationship between Static Electrification of Transformer Oils with Turbidity and Spectrophotometry Measurements. Int. J. Electr. Power Energy Syst. 2014, 54, 38–44. [Google Scholar] [CrossRef]
- Chen, Q.; Lin, L.; Gao, Y.; Li, J. Flow Electrification Characteristics of Oilpressboard Insulation under AC Superimposed on DC Electric Field. IEEE Trans. Dielectr. Electr. Insul. 2015, 22, 2915–2922. [Google Scholar] [CrossRef]
- Dai, J.; Wu, K.; Jiang, Y.; Cheng, C.; Zhou, J. A Numerical Simulation Model for Oil Flow Electrification under DC Voltage. In Proceedings of the 2017 International Symposium on Electrical Insulating Materials (ISEIM), Toyohashi, Japan, 11–15 September 2017; pp. 687–690. [Google Scholar]
- Gao, Y.; Li, F.; Lu, W.; Zhao, W. Effect of Temperature on Flow Electrification under DC Electrical Field. J. Eng. 2019, 2019, 2893–2896. [Google Scholar] [CrossRef]
- Ishikawa, T.; Yasuda, K.T.; Igarashi, T.; Yanabu, S.; Ueta, G.; Okabe, S. Effect of Temperature on the Streaming Electrification Characteristics of Silicone Oil. IEEE Trans. Dielectr. Electr. Insul. 2009, 16, 273–280. [Google Scholar] [CrossRef]
- Nakajima, A.; Miyahara, H.; Ishikawa, T.; Wada, J.; Yanabu, S. Streaming Electrification Characteristics of Silicone Oil. IEEE Trans. Dielectr. Electr. Insul. 2008, 15, 519–526. [Google Scholar] [CrossRef]
- Yoshida, M.; Moriguchi, S.; Sato, G.; Konishi, Y.; Hasegawa, M. Development of Testing Method for Static Electrification Within Power Transformer Using Suspended Cellulose Fibers in Insulating Oil. In Proceedings of the 21st International Symposium on High Voltage Engineering, Budapest, Hungary, 28 November 2019; pp. 908–916. [Google Scholar]
- Ren, S.; Liu, Q.; Zhong, L.; Yu, Q.; Xu, Y.; Cao, X.; Hanai, M.; Yamada, S.; Mori, S. Electrostatic Charging Tendency and Correlation Analysis of Mineral Insulation Oils under Thermal Aging. IEEE Trans. Dielectr. Electr. Insul. 2011, 18, 499–505. [Google Scholar]
- Leblanc, P.; Paillat, T.; Cabaleiro, J.M.; Touchard, G. Flow electrification investigation under the effect of the flow parameters. Int. J. Plasma Env. Sci. Technol. 2018, 11, 156–160. [Google Scholar]
- Zelu, Y.; Paillat, T.; Morin, G.; Perrier, C.; Saravolac, M. Study on Flow Electrification Hazards with Ester Oils. In Proceedings of the 2011 IEEE International Conference on Dielectric Liquids (ICDL), Trondheim, Norway, 26–30 June 2011. [Google Scholar]
- Talhi, M.; Fofana, I.; Flazi, S. Comparative Study of the Electrostatic Charging Tendency between Synthetic Ester and Mineral Oil. IEEE Trans. Dielectr. Electr. Insul. 2013, 20, 1598–1606. [Google Scholar] [CrossRef]
- Zdanowski, M. Streaming Electrification of Mineral Insulating Oil and Synthetic Ester MIDEL 7131®. IEEE Trans. Dielectr. Electr. Insul. 2014, 21, 1127–1132. [Google Scholar] [CrossRef]
- Zdanowski, M.; Maleska, M. Streaming Electrification of Insulating Liquid Mixtures. Arch. Electr. Eng. 2019, 68, 387–397. [Google Scholar]
- Rajab, A.; Gumilang, H. Study on static electrification of the PFAE-mineral oil mixture. In Proceedings of the Conference on Innovation in Technology and Engineering Science, Padang, Indonesia, 8–9 November 2018; Volume 602. [Google Scholar]
- Zdanowski, M.; Ozon, T. Measuring system for a streaming electrification tests of insulating liquids. Poznan University of Technology Academic Journals. Elect. Eng. 2016, 86, 393–403. (In Polish) [Google Scholar]
- Abedian, B.; Sonin, A.A. Theory for Electric Charging in Turbulent Pipe Flow. J. Fluid Mech. 1981, 120, 199–217. [Google Scholar] [CrossRef]













| Sample Number | Density (kg/m3) | Viscosity (m2/s) | Conductivity (S/m) | Relative Permittivity (–) |
|---|---|---|---|---|
| Oil 1 | 871 | 2.20 × 10−5 | 1.22 × 10−13 | 2.20 |
| Oil 2 | 866 | 1.66 × 10−5 | 6.58 × 10−12 | 2.21 |
| Oil 3 | 877 | 1.46 × 10−5 | 2.63 × 10−12 | 2.22 |
| Oil 4 | 882 | 1.31 × 10−5 | 2.14 × 10−11 | 2.24 |
| Oil 5 | 883 | 1.29 × 10−5 | 3.17 × 10−11 | 2.23 |
| Oil 6 | 878 | 1.48 × 10−5 | 1.29 × 10−11 | 2.21 |
| Oil 7 | 881 | 1.70 × 10−5 | 1.17 × 10−11 | 2.22 |
| Oil 8 | 883 | 1.59 × 10−5 | 2.95 × 10−11 | 2.23 |
| Oil 9 | 887 | 1.29 × 10−5 | 1.43 × 10−11 | 2.21 |
| Oil 10 | 885 | 1.33 × 10−5 | 2.92 × 10−11 | 2.23 |
© 2020 by the author. Licensee MDPI, Basel, Switzerland. This article is an open access article distributed under the terms and conditions of the Creative Commons Attribution (CC BY) license (http://creativecommons.org/licenses/by/4.0/).
Share and Cite
Zdanowski, M. Streaming Electrification Phenomenon of Electrical Insulating Oils for Power Transformers. Energies 2020, 13, 3225. https://doi.org/10.3390/en13123225
Zdanowski M. Streaming Electrification Phenomenon of Electrical Insulating Oils for Power Transformers. Energies. 2020; 13(12):3225. https://doi.org/10.3390/en13123225
Chicago/Turabian StyleZdanowski, Maciej. 2020. "Streaming Electrification Phenomenon of Electrical Insulating Oils for Power Transformers" Energies 13, no. 12: 3225. https://doi.org/10.3390/en13123225
APA StyleZdanowski, M. (2020). Streaming Electrification Phenomenon of Electrical Insulating Oils for Power Transformers. Energies, 13(12), 3225. https://doi.org/10.3390/en13123225
