Effects of an Inlet Vortex on the Performance of an Axial-Flow Pump
Abstract
1. Introduction
2. Research Object and Numerical Method
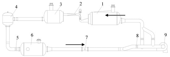
2.1. Research Object
2.2. Numerical Simulation Method
2.2.1. Governing Equation and Turbulence Model
2.2.2. Grid Division and Irrelevance Verification
2.2.3. Boundary Conditions and Monitoring Points
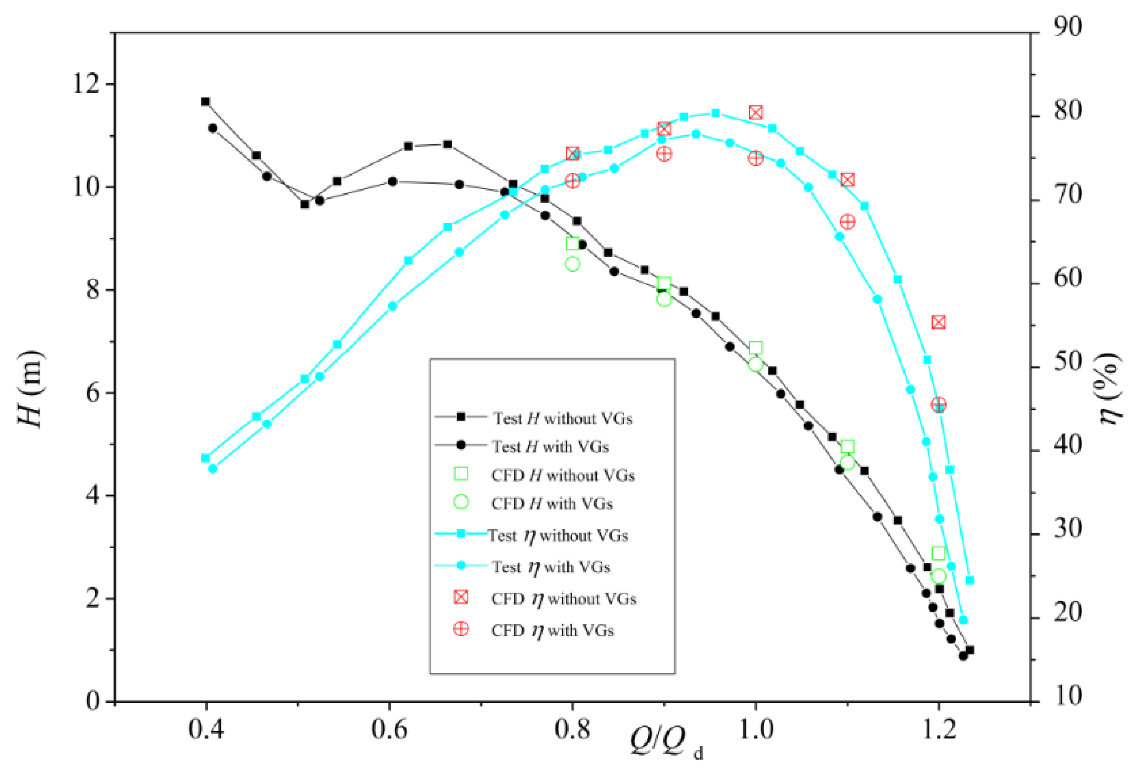
3. Validation of the Numerical Simulation
4. Results and Discussions
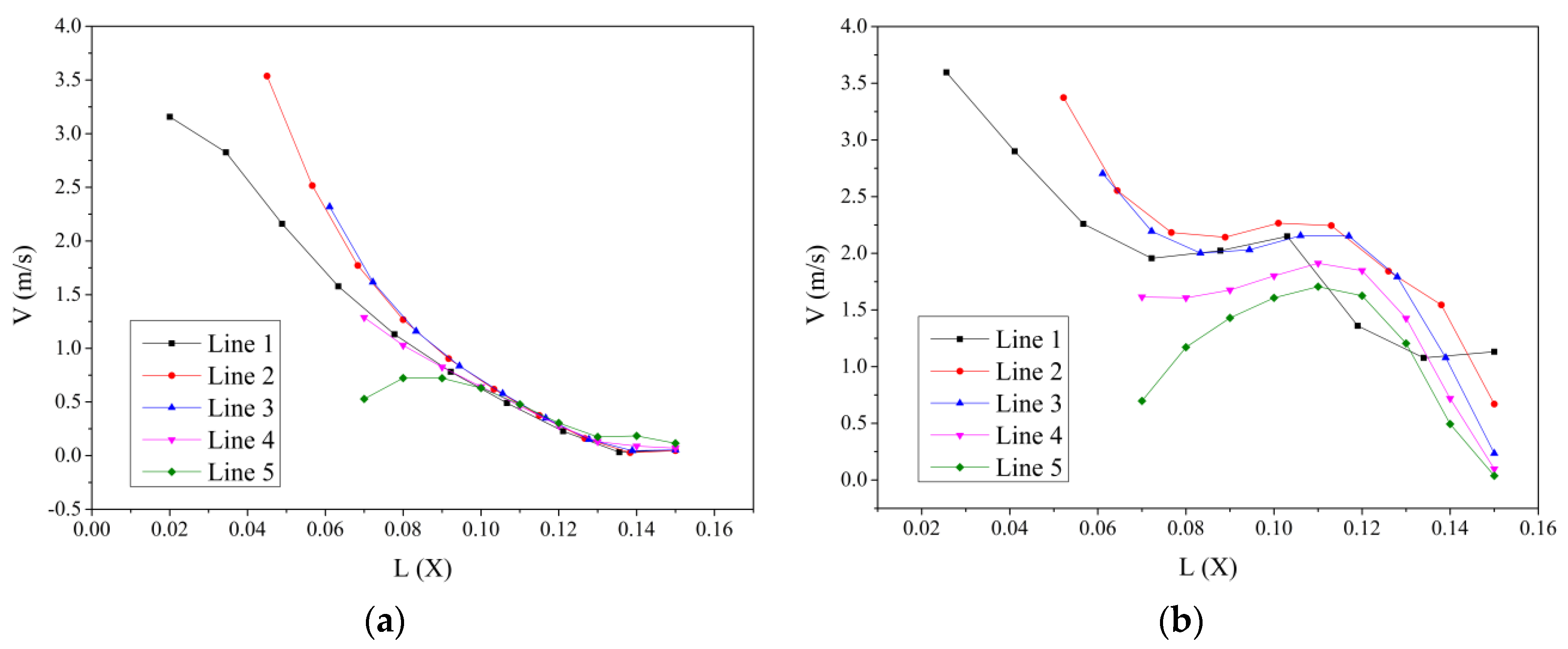
4.1. The Influence of the Vortex on the Inlet Flow Field of the Impeller
4.2. Effect of the Vortex on the Pump Device Performance
4.3. Shape Changes of the Vortex
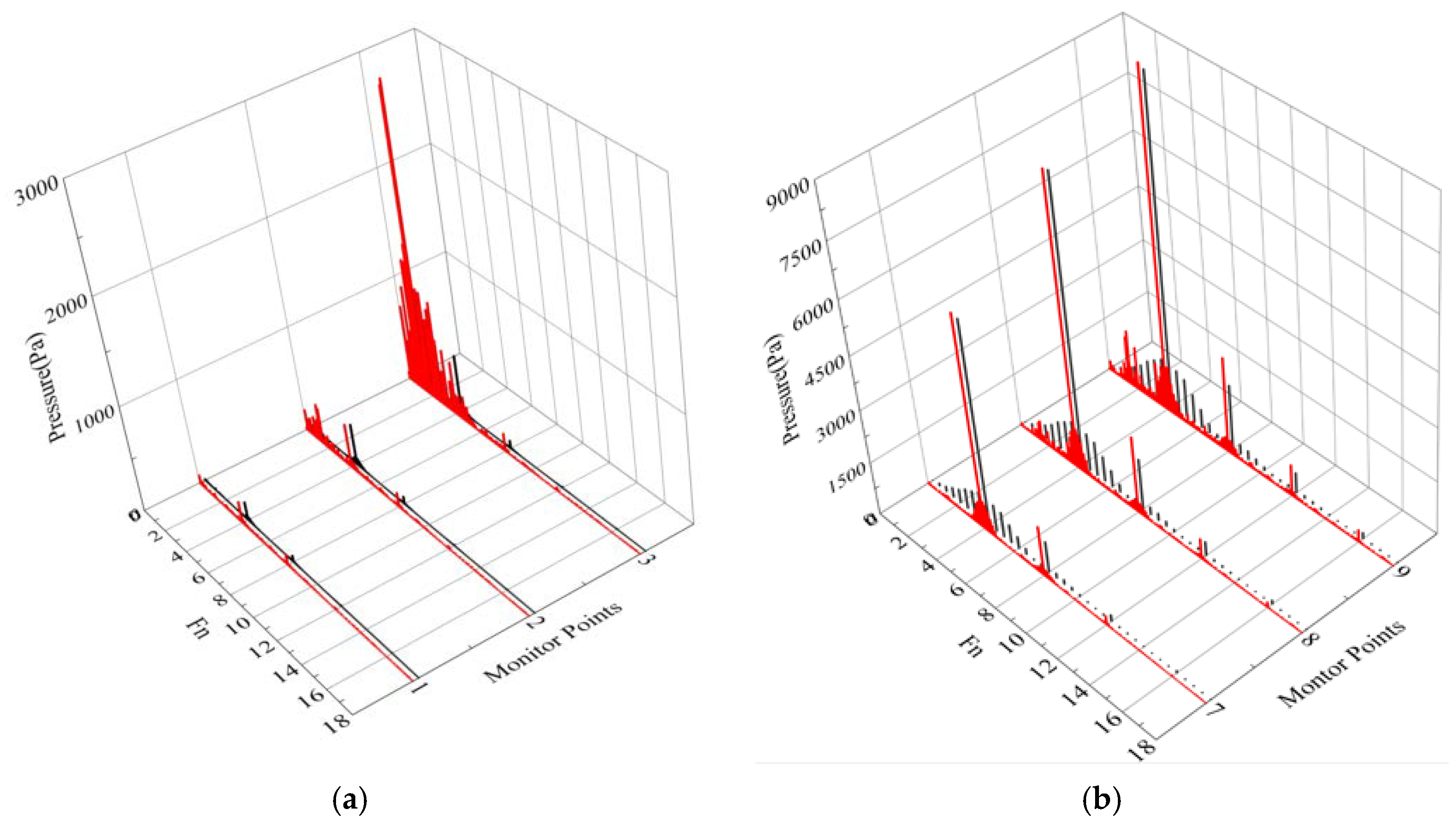
4.4. Vortex-Induced Pressure Fluctuation
5. Conclusions
Author Contributions
Funding
Acknowledgments
Conflicts of Interest
Nomenclature
| area of the calculated section (m2) | |
| hydraulic loss caused by the water-blocking function of the vortex generators (m) | |
| friction loss between the water flow and passage wall (m) | |
| hydraulic loss caused by vortex turbulence (m) | |
| Fz | impeller rotation frequency (Hz) |
| f | frequency obtained by FFT (Hz) |
| local acceleration of gravity (m/s2) | |
| head of model pump device (m) | |
| k | turbulence kinetic energy (m2/s) |
| input torque (N·m) | |
| mechanical loss torque (N·m) | |
| input power (W) | |
| rotation speed of test (r/min) | |
| P | flow field pressure (Pa) |
| P1 | static pressure of the inlet sections (Pa) |
| P2 | static pressure of the outlet sections (Pa) |
| Pk | production term |
| Q | flow rate of the model pump device (L/s) |
| q | criterion for strength determination of the vortex (s−2) |
| S | invariant measure of the strain rate |
| u1 | velocity of the inlet sections (m/s) |
| u2 | velocity of the outlet sections (m/s) |
| distribution uniformity of the axial velocity (%) | |
| v | inflow velocity (m/s) |
| average axial velocity (m/s) | |
| axial velocity of the calculated cell grid (m/s) | |
| Z1 | water level in the inlet sections (m) |
| Z2 | water level in the outlet sections (m) |
| calculated cell grid area (m2) | |
| hydraulic loss of flow parts (m) | |
| μ | fluid dynamic viscosity (m2/s) |
| µt | turbulent eddy viscosity (m2/s) |
| efficiency of the model pump device (%) | |
| water density at test (kg/m3) | |
| axial velocity weighted average angle (°) |
References
- Xie, C.; Tang, F.; Zhang, R.; Zhou, W.; Zhang, W.; Yang, F. Numerical calculation of axial-flow pump’s pressure fluctuation and experiment analysis. Adv. Mech. Eng. 2018, 10, 1–13. [Google Scholar] [CrossRef]
- Feng, J.; Luo, X.; Guo, P.; Wu, G. Influence of tip clearance on pressure fluctuations in an axial flow pump. J. Mech. Sci. Technol. 2016, 4, 1603–1610. [Google Scholar] [CrossRef]
- Laborde, R.; Chantrel, P.; Mory, M. Tip clearance and tip vortex cavitation in an axial flow pump. J. Fluids Eng. 1997, 119, 680–685. [Google Scholar] [CrossRef]
- Shi, L.; Zhang, D.; Jin, Y.; Shi, W.; van Esch, B.P.M. A study on tip leakage vortex dynamics and cavitation in axial-flow pump. Fluid Dyn. Res. 2017, 3, 1–19. [Google Scholar] [CrossRef]
- Tang, X.; Wang, F.; Li, Y.; Cong, G.; Shi, X.; Wu, Y.; Qi, L. Numerical investigations of vortex flows and vortex suppression schemes in a large pumping-station sump. Proc. Inst. Mech. Eng. C J. Mech. Eng. Sci. 2011, 225, 1459–1480. [Google Scholar] [CrossRef]
- Zhan, J.; Wang, B.; Yu, L.; Li, Y.; Tang, L. Numerical investigation of flow patterns in different pump intake systems. J. Hydrodyn. 2012, 6, 873–882. [Google Scholar] [CrossRef]
- Song, X.; Liu, C. Experimental investigation of floor-attached vortex effects on the pressure pulsation at the bottom of the axial flow pump sump. Renew. Energy 2020, 145, 2327–2336. [Google Scholar] [CrossRef]
- Constantinescu, G.S.; Patel, V.C. Numerical Model for Simulation of Pump-Intake Flow and Vortices. J. Hydraul. Eng. 1998, 2, 123–134. [Google Scholar] [CrossRef]
- Shinichiro, Y.; Ryo, Y.; Toshinori, K.; Shunsuke, H.; Yasunori, N.; Shunji, H.; Toshihiko, K.; Toshihiro, T. Numerical study of air-entraining and submerged vortices in a pump sump. In Proceedings of the 29th IAHR Symposium on Hydraulic Machinery and Systems, Kyoto, Japan, 16–21 September 2018. [Google Scholar]
- Shin, B. Effect of submergence and flow rate on free surface vortices in pump sump. Int. J. Fluid Mech. Res. 2018, 3, 225–236. [Google Scholar] [CrossRef]
- Won, T.; Byeong, R.; Doeg, H. An effective shape of floor splitter for reducing sub-surface vortices in pump sump. J. Mech. Sci. Technol. 2014, 1, 175–182. [Google Scholar] [CrossRef]
- Hyung, J.; Sung, W.; Dong, S. Numerical Analysis of the Effects of Anti-Vortex Device Height on Hydraulic Performance of Pump Sump. KSCE J. Civ. Eng. 2017, 4, 1484–1492. [Google Scholar] [CrossRef]
- Hansen, M.O.L.; Charalampous, A.; Foucaut, J.-M.; Cuvier, C.; Velte, C.M. Validation of a Model for Estimating the Strength of a Vortex Created from the Bound Circulation of a Vortex Generator. Energies 2019, 14, 2781. [Google Scholar] [CrossRef]
- Zeng, Z.; Du, P.; Wang, Z.; Li, K. Combustion flow in different advanced vortex combustors with/without vortex generator. Aerosp. Sci. Technol. 2019, 86, 640–649. [Google Scholar] [CrossRef]
- Xiaoqing, T.; Yuan, Z.; Huachen, P.; Bin, S. Numerical and Experimental Study on a Model Draft Tube with Vortex Generators. Adv. Mech. Eng. 2013, 5, 509314. [Google Scholar] [CrossRef]
- Tian, X.; Pan, H.; Hong, S.; Zheng, Y. Improvement of hydro-turbine draft tube efficiency using vortex generator. Adv. Mech. Eng. 2015, 7, 168781401559533. [Google Scholar] [CrossRef]
- Yuan, B.; Wei, M.; Mei, Q.; Qiu, W. Analysis and Optimization of Flow Pattern in Inlet Passage of Pumping Station. Appl. Mech. Mater. 2011, 130–134, 2485–2488. [Google Scholar] [CrossRef]
- Si, Q.; Bois, G.; Liao, M.; Zhang, H.; Cui, Q.; Yuan, S. A Comparative Study on Centrifugal Pump Designs and Two-Phase Flow Characteristic under Inlet Gas Entrainment Conditions. Energies 2019, 1, 65. [Google Scholar] [CrossRef]
- Shi, L.; Zhu, J.; Tang, F.; Wang, C. Multi-Disciplinary Optimization Design of Axial-Flow Pump Impellers Based on the Approximation Model. Energies 2020, 4, 779. [Google Scholar] [CrossRef]
- Gattoronchieri, A.; Cravero, C.; De, L. The application of CFD to vortical flow structures detection in sea water pumping stations. In Proceedings of the VI International Conference on Computational Methods in Marine Engineering (MARINE 2015), Rome, Italy, 15–17 June 2015; pp. 919–930. [Google Scholar] [CrossRef]
- Menter, F.R. Two-equation eddy-viscosity turbulence models for engineering applications. AIAA J. 1994, 32, 1598–1605. [Google Scholar] [CrossRef]
- Kim, C.; Kim, B.; Bang, B.; Lee, Y. Experimental and CFD analysis for prediction of vortex and swirl angle in the pump sump station model. In IOP Conference Series Materials Science and Engineering, the Proceedings of International Symposium of Cavitation and Multiphase Flow (ISCM 2014), Beijing, China, 18–21 October 2014; IOP Publishing Ltd.: Bristol, UK, 2015; pp. 1–6. [Google Scholar] [CrossRef]
- Luo, X.; Ye, W.; Huang, R.; Wang, Y.; Du, T.; Huang, C. Numerical investigations of the energy performance and pressure fluctuations for a waterjet pump in a non-uniform inflow. Renew. Energy 2020, 153, 1042–1052. [Google Scholar] [CrossRef]
- Zierke, W.C.; Straka, W.A. Flow visualization and the three-dimensional flow in an axial-flow pump. J. Propuls. Power 1996, 2, 250–259. [Google Scholar] [CrossRef]
- Salim, M.; Cheah, S. Wall y+ Strategy for Dealing with Wall-bounded Turbulent Flows. Lect. Notes Eng. Comput. Sci. 2009, 1, 2165–2170. [Google Scholar]
- Zhang, D.; Shi, L.; Chen, J.; Pan, Q.; Shi, W. Experimental analysis on characteristic of cavitation in tip region of axial flow pump impeller. J. Zhejiang Univ. (Eng. Sci.) 2016, 8, 1585–1592. [Google Scholar] [CrossRef]
- Shi, L.; Zhang, W.; Jiao, H.; Tang, F.; Wang, L.; Sun, D.; Shi, W. Numerical simulation and experimental study on the comparison of the hydraulic characteristics of an axial-flow pump and a full tubular pump. Renew. Energy 2020, 153, 1455–1464. [Google Scholar] [CrossRef]
- Pei, J.; Meng, F.; Li, Y.; Yuan, S.; Chen, J. Effects of distance between impeller and guide vane on losses in a low head pump by entropy production analysis. Adv. Mech. Eng. 2016, 11, 1–11. [Google Scholar] [CrossRef]
- Guo, J.; Chen, H.; Lu, J. Numerical method for simulation of three dimensional flow in outlet passage of pump station. Prog. Exp. Comput. Mech. Eng. 2003, 243, 237–242. [Google Scholar] [CrossRef]
- Zhang, Z.; Che, X.; Nie, W.; Li, J.; Zheng, T.; Li, L.; Chen, Q.; Zheng, Z. Study of vortex in flow fields induced by surface dielectric barrier discharge actuator at low pressure based on Q criterion. Plasma Sci. Technol. 2018, 1, 1–6. [Google Scholar] [CrossRef]
- Zhang, Y.; Wang, X.; Zhang, Y.; Liu, C. Comparisons and analyses of vortex identification between Omega method and Q criterion. J. Hydrodyn. 2019, 2, 224–230. [Google Scholar] [CrossRef]





























| Parameter | l (cm) | α (°) | s (cm) | w (mm) | d (cm) | β (°) |
|---|---|---|---|---|---|---|
| value | 4 | 15 | 5 | 4 | 4 | 60 |
© 2020 by the authors. Licensee MDPI, Basel, Switzerland. This article is an open access article distributed under the terms and conditions of the Creative Commons Attribution (CC BY) license (http://creativecommons.org/licenses/by/4.0/).
Share and Cite
Zhang, W.; Tang, F.; Shi, L.; Hu, Q.; Zhou, Y. Effects of an Inlet Vortex on the Performance of an Axial-Flow Pump. Energies 2020, 13, 2854. https://doi.org/10.3390/en13112854
Zhang W, Tang F, Shi L, Hu Q, Zhou Y. Effects of an Inlet Vortex on the Performance of an Axial-Flow Pump. Energies. 2020; 13(11):2854. https://doi.org/10.3390/en13112854
Chicago/Turabian StyleZhang, Wenpeng, Fangping Tang, Lijian Shi, Qiujin Hu, and Ying Zhou. 2020. "Effects of an Inlet Vortex on the Performance of an Axial-Flow Pump" Energies 13, no. 11: 2854. https://doi.org/10.3390/en13112854
APA StyleZhang, W., Tang, F., Shi, L., Hu, Q., & Zhou, Y. (2020). Effects of an Inlet Vortex on the Performance of an Axial-Flow Pump. Energies, 13(11), 2854. https://doi.org/10.3390/en13112854
