Resilience Assessment and Its Enhancement in Tackling Adverse Impact of Ice Disasters for Power Transmission Systems
Abstract
1. Introduction
2. Resilience Concept Model and Quantitative Resilience Metrics
2.1. Conceptual Resilience Trapezoid
- Pre-disaster Phase: , illustrating that the system is in a normal working condition before the occurrence of a disruption. During the pre-disaster phase, advanced weather forecasts and disaster emergency decisions can be employed to anticipate and prepare for disruptive events.
- Disturbance phase: , representing that the system suffers from a disruption and the state degrades from to . In the disturbance phase, the system resists disruptive events, while the intensity of such disasters as typhoons and ice storms gradually increases. In other words, the system remains intact due to the small impact of disasters during . If a disaster has a huge initial impact, then moves to .
- Degraded phase: , showing that the system is degraded and stays in a decision-making period for resilience enhancement measures. In the degraded phase, the power system responds and adapts to allow the restoration phase to commence quickly.
- Restoration phase: , illustrating that the recovery process of the system, which recovers to the original normal state at T. In the restoration phase, the recovery capabilities of power system are limited by the manpower and restoration resources based on the actual situation. Therefore, the recover rate and time point of performance curve would be different (which are determined by the weather intensity, the location of damaged components, the size of the repair crew, and the contingency strategies) and discussed in Section 3.3.
- Post-disaster phase: , illustrating the system following the end of a extreme event. The post-disaster phase appears to contain a portion of restoration phase, as well as the terminal moment of restoration phase (T).
2.2. Resilience Indices
3. Resilience Assessment of Transmission Network to Ice Disasters
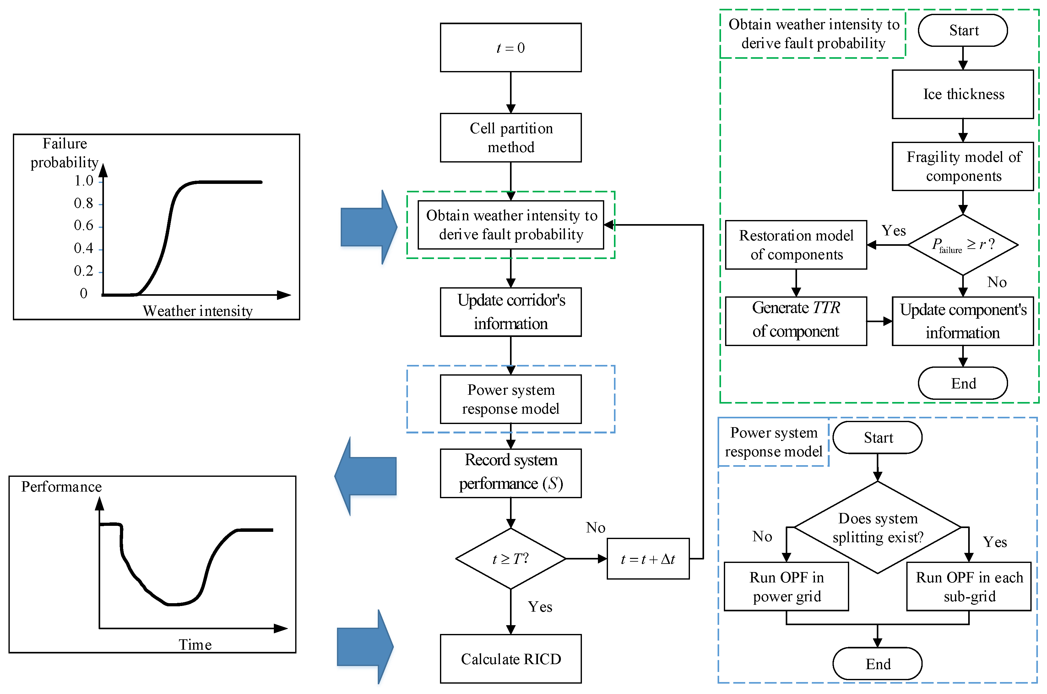
3.1. Cell Partition Method
3.2. Fragility Model of Components
3.3. Restoration Model of Components
- Considering the weather intensity: Under various weather situations, the durations for performing repairs are different. A time to repair (TTR) varible that increases with weather intensity is used, as shown in (4), which expresses the difficulty in restoring the fault components and the increasing degree of damage to the components caused by non-normal weather.where and are the repair time of components under normal weather and non-normal weather, respectively, is a multiplication factor as discussed in Section 4.In addition, TTR includes the following two aspects: (1) the time that the repair crew is dispatched from the department to a repair site (); (2) the repair time of damaged components (), it can be depict as.
- Regarding the location of the fault: is proportional to the distance between the damaged component and the departure location of the repair crew (s), and is inversely proportional to the moving speed of the repair crew (), as.
- Considering the size of the repair crew and the contingency strategies: In practice, the size of the repair crew is limited. It is possible that a large number of component outages occur in a catastrophic event, and there is not enough manpower for repairs. Based on the emergency response plan, components are repaired in order of priority. Hence, the time of a damaged component waiting to be repaired () should be take into consideration as in (7).
3.4. Power Systems Response Model
- In each sub-grid, if there is no power supply, then all load buses are considered to be failed;
- In the cases where the power supply in each sub-grid overrides the load demand, then the outputs of power plants are tailored to balance the generation and load demand. In the cases where there is a violation of the line flow constraints, load shedding is performed until the line power flow constraints are met and make sure the smallest number of consumer are affected. The dispatch commands are guided by the outcome of DC optimal power flow (OPF) calculation;
- In the cases where the load demand overrides power generation in each sub-grid, then the smallest amount of load is shed to achieve the generation and load demand balance. Meanwhile, the dispatch method is the same as that of Step 2.
3.5. Methodology for Resilience Analysis
4. Numerical Examples, Results and Discussions
4.1. Test System and Simulation Data
4.2. Simulation and Results
4.2.1. Base Case: System Resilience Assessment
4.2.2. Improvement Case: Comparing Different Improvement Measures
- Enhancing the design standard of the systemIn practical applications, the ice load exerted on the power transmission corridors may exceed the design strength of the material and cause component breakdown [33]. Enhancing the design standard for icing load can improve the resistance to icing load for components, for example the fragility curve is shifted to the right by improving design standards, as depicted in Figure 4 with dotted lines.Figure 11 demonstrates the resilience index at different designed icings of components. generally rises with the increase of M, except for when mm and mm. The reason for that is the output of is not only determined by the design standard of the system. The time of the failure and the order of the repair should also be considered. If , equals 1 when the designed icing of a component is larger than the ice storm intensity and no fault occurs.
- Improving the repair efficiencyVarious measures can be taken to raise the repair efficiency, e.g., increase diagnosis accuracy and shorten the time in determination of failure types and positions, improve the repair crew quality and skills, and reduce travel time. To reflect the change of under the different efficiency of the repair crew, the parameter e is introduced to represent the new () when the improvement measures are applied, i.e., . Figure 12 illustrates the system resilience under the different efficiency of the repair crew, which are represented by the relationship between and e. The curve on Figure 12 shows growing exponentially. equals 1 when , i.e., the damaged component is repaired instantaneously in an ideal situation.
- Increasing the number of repair crewFigure 13 demonstrates the relationship between and the number of repair crew, where the step of the X-axis variable is 10. The results show that increases with the increase of the number of repair crew and converges at 0.38 when its number exceeds 100. There is a limit for the improvement of the resilience, when the number of repair crew is increasing. The system performance is saturated if the repair crew can completely satisfy the demand for the damaged power transmission system.
5. Conclusions
Author Contributions
Funding
Conflicts of Interest
References
- Mimura, N.; Yasuhara, K.; Kawagoe, S.; Yokoki, H.; Kazama, S. Damage from the Great East Japan Earthquake and Tsunami—A quick report. Mitig. Adapt. Strateg. Glob. Chang. 2011, 16, 803–818. [Google Scholar] [CrossRef]
- Lu, J.Z.; Zeng, M.; Zeng, X.J.; Fang, Z.; Yuan, J. Analysis of Ice-Covering Characteristics of China Hunan Power Grid. IEEE Trans. Ind. Appl. 2015, 51, 1997–2002. [Google Scholar] [CrossRef]
- Mendonça, D.; Wallace, W.A. Impacts of the 2001 World Trade Center Attack on New York City Critical Infrastructures. J. Infrastruct. Syst. 2006, 12, 260–270. [Google Scholar] [CrossRef]
- Lecomte, E.L.; Pang, A.W.; Russell, J.W. Ice Storm’98; Institute for Catastrophic Loss Reduction: Toronto, ON, Canada, 1998. [Google Scholar]
- Venkata, S.; Hatziargyriou, N. Grid Resilience: Elasticity Is Needed When Facing Catastrophes [Guest Editorial]. Power Energy Mag. IEEE 2015, 13, 16–23. [Google Scholar] [CrossRef]
- Singh, C.; Billinton, R. System Reliability, Modelling and Evaluation; Hutchinson: London, UK, 1977. [Google Scholar]
- Billinton, R.; Singh, G. Application of adverse and extreme adverse weather: Modelling in transmission and distribution system reliability evaluation. IEE Proc. Gener. Transm. Distrib. 2006, 153, 115–120. [Google Scholar] [CrossRef]
- Billinton, R.; Singh, G.D. Reliability assessment of transmission and distribution systems considering repair in adverse weather conditions. In Proceedings of the IEEE CCECE 2002 Canadian Conference on Electrical and Computer Engineering, Winnipeg, MB, Canada, 12–15 May 2002; Volume 1, pp. 88–93. [Google Scholar]
- Bhuiyan, M.R.; Allan, R.N. Inclusion of weather effects in composite system reliability evaluation using sequential simulation. IEE Proc. Gener. Transm. Distrib. 2002, 141, 575–584. [Google Scholar] [CrossRef]
- Li, G.F.; Zhang, P.; Luh, P.B.; Li, W.Y.; Bie, Z.H.; Serna, C.; Zhao, Z.B. Risk Analysis for Distribution Systems in the Northeast U.S. Under Wind Storms. IEEE Trans. Power Syst. 2014, 29, 889–898. [Google Scholar] [CrossRef]
- Yang, Y.H.; Xin, Y.L.; Zhou, J.J.; Tang, W.H.; Li, B. Failure probability estimation of transmission lines during typhoon based on tropical cyclone wind model and component vulnerability model. In Proceedings of the 2017 IEEE PES Asia-Pacific Power and Energy Engineering Conference (APPEEC), Bangalore, India, 8–10 November 2017; pp. 1–6. [Google Scholar]
- Jiang, X.; Han, X.; Hu, Y.; Yang, Z. Model for ice wet growth on composite insulator and its experimental validation. IET Gener. Transm. Distrib. 2018, 12, 556–563. [Google Scholar] [CrossRef]
- Jones, K.F. A simple model for freezing rain ice loads. Atmos. Res. 1998, 46, 87–97. [Google Scholar] [CrossRef]
- Lenhard, R. An indirect method for estimating the weight of glaze on wires. Bull. Am. Meteorol. Soc. 1955, 36, 1–5. [Google Scholar] [CrossRef]
- Xu, X.; Niu, D.; Zhang, L.; Wang, Y.; Wang, K. Ice Cover Prediction of a Power Grid Transmission Line Based on Two-Stage Data Processing and Adaptive Support Vector Machine Optimized by Genetic Tabu Search. Energies 2017, 10, 1862. [Google Scholar] [CrossRef]
- Liu, G.; Guo, D.; Wang, P.; Deng, H.; Hong, X.; Tang, W. Calculation of Equivalent Resistance for Ground Wires Twined with Armor Rods in Contact Terminals. Energies 2018, 11, 737. [Google Scholar] [CrossRef]
- Brostrom, E.; Ahlberg, J.; Soder, L. Modelling of Ice Storms and their Impact Applied to a Part of the Swedish Transmission Network. In Proceedings of the Power Tech, 2007 IEEE Lausanne, Lausanne, Switzerland, 1–5 July 2007; pp. 1593–1598. [Google Scholar]
- Guo, L.; Guo, C.X.; Tang, W.H.; Wu, Q.H. Evidence-based approach to power transmission risk assessment with component failure risk analysis. Gener. Transm. Distrib. IET 2012, 6, 665–672. [Google Scholar] [CrossRef]
- Xie, K.G.; Cao, K.; Yu, D.C. Reliability Evaluation of Electrical Distribution Networks Containing Multiple Overhead Feeders on a Same Tower. IEEE Trans. Power Syst. 2011, 26, 2518–2525. [Google Scholar] [CrossRef]
- Li, W.Y. Risk Assessment of Power Systems: Models, Methods, and Applications; Wiley-IEEE Press: New York, NY, USA, 2005. [Google Scholar]
- Gholami, A.; Aminifar, F.; Shahidehpour, M. Front Lines Against the Darkness: Enhancing the Resilience of the Electricity Grid Through Microgrid Facilities. IEEE Electrif. Mag. 2016, 4, 18–24. [Google Scholar] [CrossRef]
- Bie, Z.H.; Lin, Y.L.; Li, G.F.; Li, F.R. Battling the Extreme: A Study on the Power System Resilience. Proc. IEEE 2017, 105, 1253–1266. [Google Scholar] [CrossRef]
- Holling, C.S. Resilience and Stability of Ecological Systems. Annu. Rev. Ecol. Syst. 1973, 4, 1–23. [Google Scholar] [CrossRef]
- Cutter, S.L.; Barnes, L.; Berry, M.; Burton, C.; Evans, E.; Tate, E.; Webb, J. A place-based model for understanding community resilience to natural disasters. Glob. Environ. Chang. 2008, 18, 598–606. [Google Scholar] [CrossRef]
- Li, Y.; Lence, B.J. Estimating resilience for water resources systems. Water Resour. Res. 2007, 43, 256–260. [Google Scholar] [CrossRef]
- Zobel, C.W.; Khansa, L. Quantifying Cyberinfrastructure Resilience against Multi-Event Attacks. Decis. Sci. 2012, 43, 687–710. [Google Scholar] [CrossRef]
- Zhong, S.; Clark, M.; Hou, X.Y.; Zang, Y.L.; Fitzgerald, G. Development of hospital disaster resilience: Conceptual framework and potential measurement. Emerg. Med. J. 2013, 31. [Google Scholar] [CrossRef] [PubMed]
- AdamRose. Economic resilience to natural and man-made disasters: Multidisciplinary origins and contextual dimensions. Glob. Environ. Chang. Part B 2007, 7, 383–398. [Google Scholar]
- Obama, B. Presidential Policy Directive 21: Critical Infrastructure Security and Resilience; The White House: Washington, DC, USA, 2013. [Google Scholar]
- Cabinet Office. Keeping the Country Running: Natural Hazards and Infrastructure; Cabinet Office: London, UK, 2011. [Google Scholar]
- Aitsi-Selmi, A.; Egawa, S.; Sasaki, H.; Wannous, C.; Murray, V. The Sendai Framework for Disaster Risk Reduction: Renewing the Global Commitment to People’s Resilience, Health, and Well-being. Int. J. Disaster Risk Sci. 2015, 6, 164–176. [Google Scholar] [CrossRef]
- Panteli, M.; Trakas, D.N.; Mancarella, P.; Hatziargyriou, N.D. Power Systems Resilience Assessment: Hardening and Smart Operational Enhancement Strategies. Proc. IEEE 2017, 105, 1–12. [Google Scholar] [CrossRef]
- Panteli, M.; Pickering, C.; Wilkinson, S.; Dawson, R.; Mancarella, P. Power System Resilience to Extreme Weather: Fragility Modeling, Probabilistic Impact Assessment, and Adaptation Measures. IEEE Trans. Power Syst. 2017, 32, 3747–3757. [Google Scholar] [CrossRef]
- Li, Z.; Shahidehpour, M.; Aminifar, F.; Alabdulwahab, A.; Al-Turki, Y. Networked Microgrids for Enhancing the Power System Resilience. Proc. IEEE 2017, 105, 1–22. [Google Scholar] [CrossRef]
- Liu, X.; Shahidehpour, M.; Li, Z.; Liu, X.; Cao, Y.; Bie, Z. Microgrids for Enhancing the Power Grid Resilience in Extreme Conditions. IEEE Trans. Smart Grid 2017, 8, 589–597. [Google Scholar]
- Liu, Y.; Wu, Q.; Zhou, X. Co-ordinated multiloop switching control of DFIG for resilience enhancement of wind power penetrated power systems. IEEE Trans. Sustain. Energy 2016, 7, 1089–1099. [Google Scholar] [CrossRef]
- Liu, Y.; Xiahou, K.; Lin, X.; Wu, Q. Switching Fault Ride-Through of GSCs Via Observer-Based Bang-Bang Funnel Control. IEEE Trans. Ind. Electron. 2018, 1. [Google Scholar] [CrossRef]
- Kwasinski, A. Quantitative Model and Metrics of Electrical Grids’ Resilience Evaluated at a Power Distribution Level. Energies 2016, 9, 93. [Google Scholar] [CrossRef]
- Erdene-Ochir, O.; Kountouris, A.; Minier, M.; Valois, F. A New Metric to Quantify Resiliency in Networking. IEEE Commun. Lett. 2012, 16, 1699–1702. [Google Scholar] [CrossRef]
- Bruneau, M.; Reinhorn, A. Exploring the Concept of Seismic Resilience for Acute Care Facilities. Earthq. Spectra 2007, 23, 41–62. [Google Scholar] [CrossRef]
- Tierney, K.; Bruneau, M. Conceptualizing and measuring resilience: A key to disaster loss reduction. Tr News 2009, 250, 14–17. [Google Scholar]
- Cimellaro, G.P.; Reinhorn, A.M.; Bruneau, M. Framework for analytical quantification of disaster resilience. Eng. Struct. 2010, 32, 3639–3649. [Google Scholar] [CrossRef]
- Ouyang, M.; Dueñas-Osorio, L.; Min, X. A three-stage resilience analysis framework for urban infrastructure systems. Struct. Saf. 2012, 36–37, 23–31. [Google Scholar] [CrossRef]
- Ouyang, M.; Dueñas-Osorio, L. Multi-dimensional hurricane resilience assessment of electric power systems. Struct. Saf. 2014, 48, 15–24. [Google Scholar] [CrossRef]
- Panteli, M.; Mancarella, P.; Trakas, D.N.; Kyriakides, E.; Hatziargyriou, N.D. Metrics and Quantification of Operational and Infrastructure Resilience in Power Systems. IEEE Trans. Power Syst. 2017, 32, 4732–4742. [Google Scholar] [CrossRef]
- Yang, Y.H.; Tang, W.H.; Liu, Y.; Xin, Y.L.; Wu, Q.H. Quantitative Resilience Assessment for Power Transmission Systems Under Typhoon Weather. IEEE Access 2018, 6, 40747–40756. [Google Scholar] [CrossRef]
- Jufri, F.H.; Kim, J.S.; Jung, J. Analysis of Determinants of the Impact and the Grid Capability to Evaluate and Improve Grid Resilience from Extreme Weather Event. Energies 2017, 10, 1779. [Google Scholar] [CrossRef]
- Subcommittee, P.M. IEEE Reliability Test System. IEEE Trans. Power Appar. Syst. 1979, PAS-98, 2047–2054. [Google Scholar] [CrossRef]
- Mei, S.W.; Xue, A.C.; Zhang, X.M. Self-Organized Critical Characteristics of Power Systems and Security of Power Grids; Tsinghua University Press: Beijing, China, 2009. [Google Scholar]













| Bus | 1 | 2 | 3 | 4 | 5 | 6 | 7 | 8 | 9 | 10 | 11 | 12 |
|---|---|---|---|---|---|---|---|---|---|---|---|---|
| x | 430 | 860 | 450 | 550 | 890 | 1300 | 1150 | 1230 | 800 | 1070 | 800 | 1075 |
| y | 180 | 110 | 700 | 410 | 350 | 420 | 190 | 310 | 700 | 650 | 870 | 850 |
© 2018 by the authors. Licensee MDPI, Basel, Switzerland. This article is an open access article distributed under the terms and conditions of the Creative Commons Attribution (CC BY) license (http://creativecommons.org/licenses/by/4.0/).
Share and Cite
Lu, J.; Guo, J.; Jian, Z.; Yang, Y.; Tang, W. Resilience Assessment and Its Enhancement in Tackling Adverse Impact of Ice Disasters for Power Transmission Systems. Energies 2018, 11, 2272. https://doi.org/10.3390/en11092272
Lu J, Guo J, Jian Z, Yang Y, Tang W. Resilience Assessment and Its Enhancement in Tackling Adverse Impact of Ice Disasters for Power Transmission Systems. Energies. 2018; 11(9):2272. https://doi.org/10.3390/en11092272
Chicago/Turabian StyleLu, Jiazheng, Jun Guo, Zhou Jian, Yihao Yang, and Wenhu Tang. 2018. "Resilience Assessment and Its Enhancement in Tackling Adverse Impact of Ice Disasters for Power Transmission Systems" Energies 11, no. 9: 2272. https://doi.org/10.3390/en11092272
APA StyleLu, J., Guo, J., Jian, Z., Yang, Y., & Tang, W. (2018). Resilience Assessment and Its Enhancement in Tackling Adverse Impact of Ice Disasters for Power Transmission Systems. Energies, 11(9), 2272. https://doi.org/10.3390/en11092272

