Study the Flow behind a Semi-Circular Step Cylinder (Laser Doppler Velocimetry (LDV) and Computational Fluid Dynamics (CFD))
Abstract
:1. Introduction
2. Experimental Arrangement
3. Numerical Setup
4. Results and Discussion
4.1. Wake
4.2. Vortex Shedding
5. Concluding Remarks
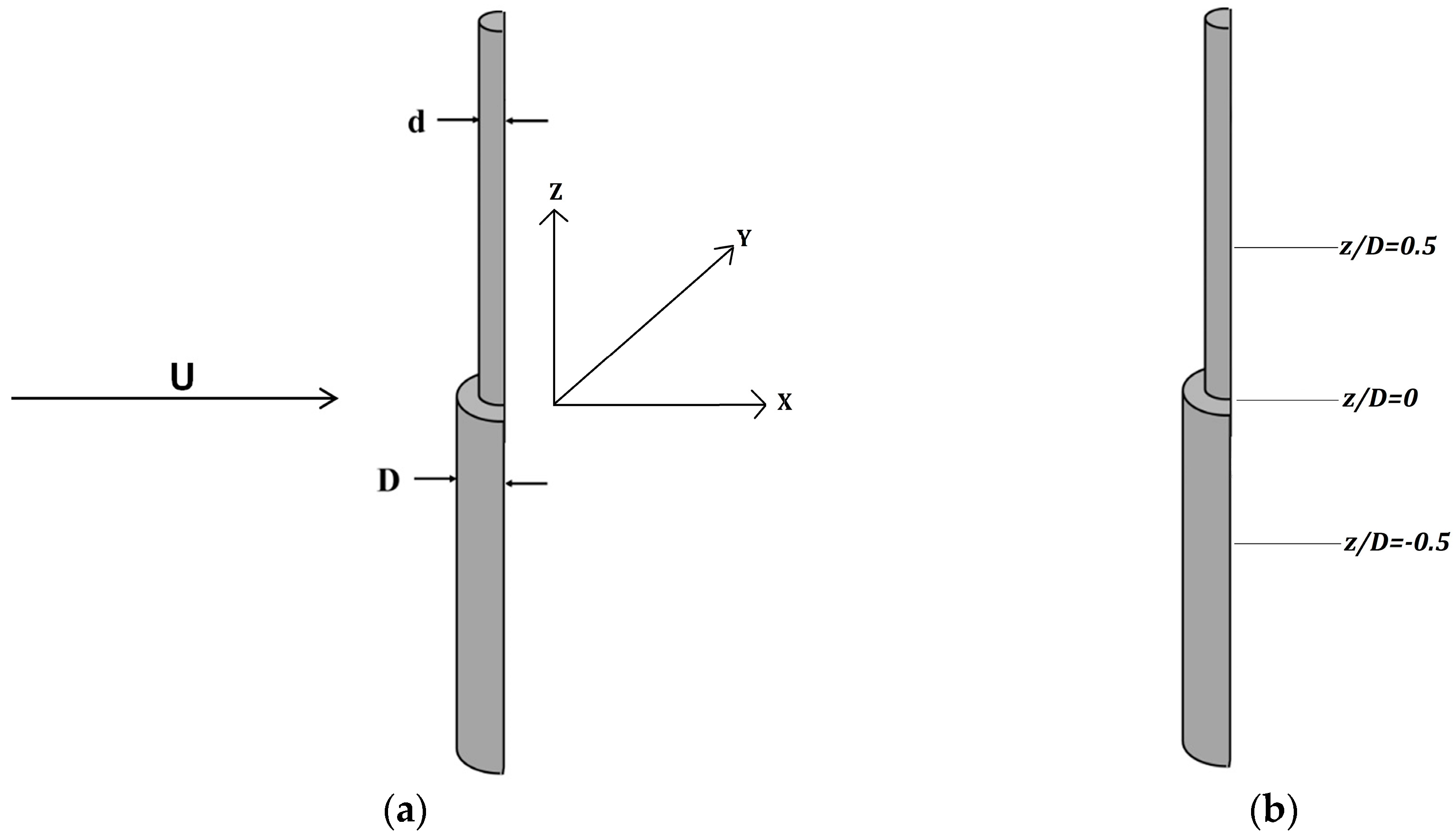
- The main result is that the measured vortex shedding frequency is, f = 0.34 Hz behind the large cylinder and f = 0.6 Hz behind the small cylinder, while it has two dominating frequencies across the step, f = 0.36 Hz and f = 0.6 Hz. This implies that a step cylinder can be used to attract fish of different sizes and facilitate their motion up-stream the fishway.
- Experiments yield that the wake length is longer along the step (z/D = 0.0) and it reduces for the large cylinder (z/D = −0.5), as well as the small cylinder (z/D = 0.5). The simulation over-predicts all of these wake lengths.
- Flow visualization finds the development of three-dimensional (3D) flow structures along with well-known Von Karman vortex street.
- Simulation results show acceptable agreement with the experimental measurements behind the large cylinder, but fail to capture the dynamics of the small cylinder diameter.
Acknowledgments
Author Contributions
Conflicts of Interest
References
- Swedenergy. Svensk Energi—Swedenergy—AB. Available online: http://www.svenskenergi.se/ (accessed on 12 October 2016).
- Kaveh, A. Experimental Investigation of a Kaplan Runner under Steady-State and Transient Operations. Ph.D. Thesis, Luleå University of Technology, Luleå, Sweden, 2016. [Google Scholar]
- Liao, J.C.; Beal, D.N.; Lauder, G.V.; Triantafyllou, M.S. Fish exploiting vortices decrease muscle activity. Science 2003, 302, 1566–1569. [Google Scholar] [CrossRef] [PubMed]
- Liao, J.C. A review of fish swimming mechanics and behaviour in altered flows. Philos. Trans. R. Soc. B Biol. Sci. 2007, 362, 1973–1993. [Google Scholar] [CrossRef] [PubMed]
- Stewart, W.J.; Tian, F.B.; Akanyeti, O.; Walker, C.J.; Liao, J.C. Refuging rainbow trout selectively exploit flows behind tandem cylinders. J. Exp. Biol. 2016, 219, 2182–2191. [Google Scholar] [CrossRef] [PubMed]
- Akanyeti, O.; Thornycroft, P.J.M.; Lauder, G.V.; Yanagitsuru, Y.R.; Peterson, A.N.; Liao, J.C. Fish optimize sensing and respiration during undulatory swimming. Nat. Commun. 2016, 7, 11044. [Google Scholar] [CrossRef] [PubMed]
- Sayeed-Bin-Asad, S. Velocity Distribution Measurements in A Fishway Like Open Channel by Laser Doppler Anemometry (LDA). EPJ Web. Conf. 2016. [Google Scholar] [CrossRef]
- Liao, J.C.; Beal, D.N.; Lauder, G.V.; Triantafyllou, M.S. The Kármán gait: Novel body kinematics of rainbow trout swimming in a vortex street. J. Exp. Biol. 2003, 206, 1059–1073. [Google Scholar] [CrossRef] [PubMed]
- Dunn, W.; Tavoularis, S. Vortex shedding from a step-cylinder in spanwise sheared flow. Phys. Fluids 2011, 23, 035109. [Google Scholar] [CrossRef]
- Dunn, W.; Tavoularis, S. Experimental studies of vortices shed from cylinders with a step-change in diameter. J. Fluid Mech. 2006, 555, 409–437. [Google Scholar] [CrossRef]
- Morton, C.; Yarusevych, S. Vortex shedding in the wake of a step cylinder. Phys. Fluids 2010, 22, 083602. [Google Scholar] [CrossRef]
- Morton, C.; Yarusevych, S. Three-dimensional flow and surface visualization using hydrogen bubble technique. J. Vis. 2015, 18, 47–58. [Google Scholar]
- Morton, C.; Yarusevych, S. On vortex shedding from low aspect ratio dual step cylinders. J. Fluids Struct. 2014, 44, 251–269. [Google Scholar] [CrossRef]
- Morton, C.; Yarusevych, S. Vortex dynamics in the turbulent wake of a single step cylinder. J. Fluids Eng. 2014, 136, 031204. [Google Scholar] [CrossRef]
- McClure, J.; Morton, C.; Yarusevych, S. Flow development and structural loading on dual step cylinders in laminar shedding regime. Phys. Fluids 2015, 27, 063602. [Google Scholar] [CrossRef]
- Morton, C.R.; Yarusevych, S. A combined experimental and numerical study of flow past a single step cylinder. In Proceedings of the ASME 2010 3rd Joint US-European Fluids Engineering Summer Meeting Collocated with 8th International Conference on Nanochannels, Microchannels, and Minichannels, Montreal, QC, Canada, 1–5 August 2010; American Society of Mechanical Engineers: New York, NY, USA, 2010. [Google Scholar]
- Morton, C.; Yarusevych, S.; Scarano, F. A tomographic particle image velocimetry investigation of the flow development over dual step cylinders. Phys. Fluids 2016, 28, 025104. [Google Scholar] [CrossRef]
- Rafati, S. Investigating Step Cylinder Wake Topology with Tomographic PIV; Delft University of Technology: Delft, The Netherlands, 2014. [Google Scholar]
- Ko, N.; Leung, W.; Au, H. Flow behind two coaxial circular cylinders. J. Fluids Eng. 1982, 104, 223–227. [Google Scholar] [CrossRef]
- Yagita, M.; Kojima, Y.; Matsuzaki, K. On vortex shedding from circular cylinder with step. Bull. JSME 1984, 27, 426–431. [Google Scholar] [CrossRef]
- Lewis, C.; Gharib, M. An exploration of the wake three dimensionalities caused by a local discontinuity in cylinder diameter. Phys. Fluids A Fluid Dyn. 1992, 4, 104–117. [Google Scholar] [CrossRef]
- Norberg, C. An experimental study of the flow around cylinders joined with a step in diameter. In Proceedings of the 11th Australasian Fluid Mechanics Conference, Hobart, Australia, 14–18 December 1992.
- Ko, W.-M.; Chan, S.-K. Pressure Distributions on Circular Cylinders with Stepwise Change of the Diameter; American Society of Mechanical Engineers: New York, NY, USA, 1984. [Google Scholar]
- Ko, N.; Chan, A. In the intermixing region behind circular cylinders with stepwise change of the diameter. Exp. Fluids 1990, 9, 213–221. [Google Scholar] [CrossRef]
- Ko, N.; Chan, A. Wakes behind circular cylinders with stepwise change of diameter. Exp. Therm. Fluid Sci. 1992, 5, 182–187. [Google Scholar] [CrossRef]
- Chua, L.; Liu, C.; Chan, W. Measurements of a step cylinder. Int. Commun. Heat Mass Transf. 1998, 25, 205–215. [Google Scholar] [CrossRef]
- Morton, C.; Yarusevych, S. Modeling Flow over a Circular Cylinder with a Stepwise Discontinuity. In Proceedings of the 39th AIAA Fluid Dynamics Conference, San Antonio, TX, USA, 22–25 June 2009.
- Morton, C.; Yarusevych, S. Cross flow over cylinders with two stepwise discontinuities in diameter. In Proceedings of the Turbulence and Shear Flow Phenomena Conference, Ottawa, ON, Canada, 28–30 July 2011.
- Nobach, H. Present Methods to Estimate the Cross-Correlation and Cross-Spectral Density for Two-Channel Laser Doppler Anemometry. In Proceedings of the 18th International Symposium on the Application of Laser and Imaging Techniques to Fluid Mechanics, Lisbon, Portugal, 4–7 July 2016.
- Norberg, C. LDV-Measurements in the Near Wake of a Circular Cylinder. Available online: http://www.ht.energy.lth.se/fileadmin/ht/Norberg-FEDSM98-5202.pdf (accessed on 12 October 2016).
- Hirt, C.W.; Nichols, B.D. Volume of fluid (VOF) method for the dynamics of free boundaries. J. Comput. Phys. 1981, 39, 201–225. [Google Scholar] [CrossRef]
- Menter, F.R. Review of the shear-stress transport turbulence model experience from an industrial perspective. Int. J. Comput. Fluid Dyn. 2009, 23, 305–316. [Google Scholar] [CrossRef]
- Morton, C.; Yarusevych, S. An experimental investigation of flow past a dual step cylinder. Exp. Fluids 2012, 52, 69–83. [Google Scholar] [CrossRef]
- Velte, C.M.; George, W.K.; Buchhave, P. Estimation of burst-mode LDA power spectra. Exp. Fluids 2014, 55, 1–20. [Google Scholar] [CrossRef]
- Müller, E.; Nobach, H.; Tropea, C. A refined reconstruction-based correlation estimator for two-channel, non-coincidence laser Doppler anemometry. Meas. Sci. Technol. 1998, 9, 442. [Google Scholar] [CrossRef]
- Nobach, H. Laser Doppler Data Processing. Available online: http://ldvproc.nambis.de/programs/pyLDV.html (accessed on 10 October 2016).
- Turki, S.; Abbassi, H.; Nasrallah, S.B. Effect of the blockage ratio on the flow in a channel with a built-in square cylinder. Comput. Mech. 2003, 33, 22–29. [Google Scholar] [CrossRef]
- Zong, L.; Nepf, H. Vortex development behind a finite porous obstruction in a channel. J. Fluid Mech. 2012, 691, 368–391. [Google Scholar] [CrossRef]
- Morton, C.R. Experimental and Numerical Investigations of the Flow Development over Circular Cylinders with Stepwise Discontinuities in Diameter. Master’s Thesis, University of Waterloo, Waterloo, ON, Canada, 2010. [Google Scholar]
- Sahin, M.; Owens, R.G. A numerical investigation of wall effects up to high blockage ratios on two-dimensional flow past a confined circular cylinder. Phys. Fluids (1994–Present) 2004, 16, 1305–1320. [Google Scholar] [CrossRef]
- Mettu, S.; Verma, N.; Chhabra, R. Momentum and heat transfer from an asymmetrically confined circular cylinder in a plane channel. Heat Mass Transf. 2006, 42, 1037–1048. [Google Scholar] [CrossRef]
- Okajima, A.; Yi, D.; Sakuda, A.; Nakano, T. Numerical study of blockage effects on aerodynamic characteristics of an oscillating rectangular cylinder. J. Wind Eng. Ind. Aerodyn. 1997, 67, 91–102. [Google Scholar] [CrossRef]
- Park, C.-W.; Lee, S.-J. Free end effects on the near wake flow structure behind a finite circular cylinder. J. Wind Eng. Ind. Aerodyn. 2000, 88, 231–246. [Google Scholar] [CrossRef]












| Study | ReD | D/d |
|---|---|---|
| N.Ko et al. [19] | 8 × 104 | 2 |
| Yagita et al. [20] | 8 × 102–104 | 1.25–5 |
| Lewis et al. [21] | 67–200 | 1.14–1.76 |
| Dunn et al. [10] | 62–1230 | 2 |
| Norberg [22] | 3 × 103–13 × 103 | 1.25–2 |
| N.Ko et al. (1984, 1990, 1992) [23,24,25] | 8 × 104 | 1.33–2.78 |
| Chua et al. [26] | 4.72 × 103 | 3 |
| Morton et al. [11,27,28] | 150–2100 | 2 |
| Dunn et al. [9] (span-wise sheared flow) | 152–764 | 1.92 |
| Description | Position (z/D) | Case | Position (x/D) | Wake Length (mm) |
|---|---|---|---|---|
| Downward 50 mm | −0.5 | CFD | 1.4 | 139 |
| LDV | 1.25 | 125 | ||
| Along step | 0 | CFD | 1.7 | 169 |
| LDV | 1.5 | 150 | ||
| Upward 50 mm | 0.5 | CFD | 1.76 | 176 |
| LDV | 1.25 | 125 |
© 2017 by the authors. Licensee MDPI, Basel, Switzerland. This article is an open access article distributed under the terms and conditions of the Creative Commons Attribution (CC BY) license ( http://creativecommons.org/licenses/by/4.0/).
Share and Cite
Sayeed-Bin-Asad, S.M.; Lundström, T.S.; Andersson, A.G. Study the Flow behind a Semi-Circular Step Cylinder (Laser Doppler Velocimetry (LDV) and Computational Fluid Dynamics (CFD)). Energies 2017, 10, 332. https://doi.org/10.3390/en10030332
Sayeed-Bin-Asad SM, Lundström TS, Andersson AG. Study the Flow behind a Semi-Circular Step Cylinder (Laser Doppler Velocimetry (LDV) and Computational Fluid Dynamics (CFD)). Energies. 2017; 10(3):332. https://doi.org/10.3390/en10030332
Chicago/Turabian StyleSayeed-Bin-Asad, S. M., Tord Staffan Lundström, and Anders Gustav Andersson. 2017. "Study the Flow behind a Semi-Circular Step Cylinder (Laser Doppler Velocimetry (LDV) and Computational Fluid Dynamics (CFD))" Energies 10, no. 3: 332. https://doi.org/10.3390/en10030332
APA StyleSayeed-Bin-Asad, S. M., Lundström, T. S., & Andersson, A. G. (2017). Study the Flow behind a Semi-Circular Step Cylinder (Laser Doppler Velocimetry (LDV) and Computational Fluid Dynamics (CFD)). Energies, 10(3), 332. https://doi.org/10.3390/en10030332

