A Harmonic Resonance Suppression Strategy for a High-Speed Railway Traction Power Supply System with a SHE-PWM Four-Quadrant Converter Based on Active-Set Secondary Optimization
Abstract
:1. Introduction
2. Grid–Train Coupling Resonance Mechanism and Suppression Method
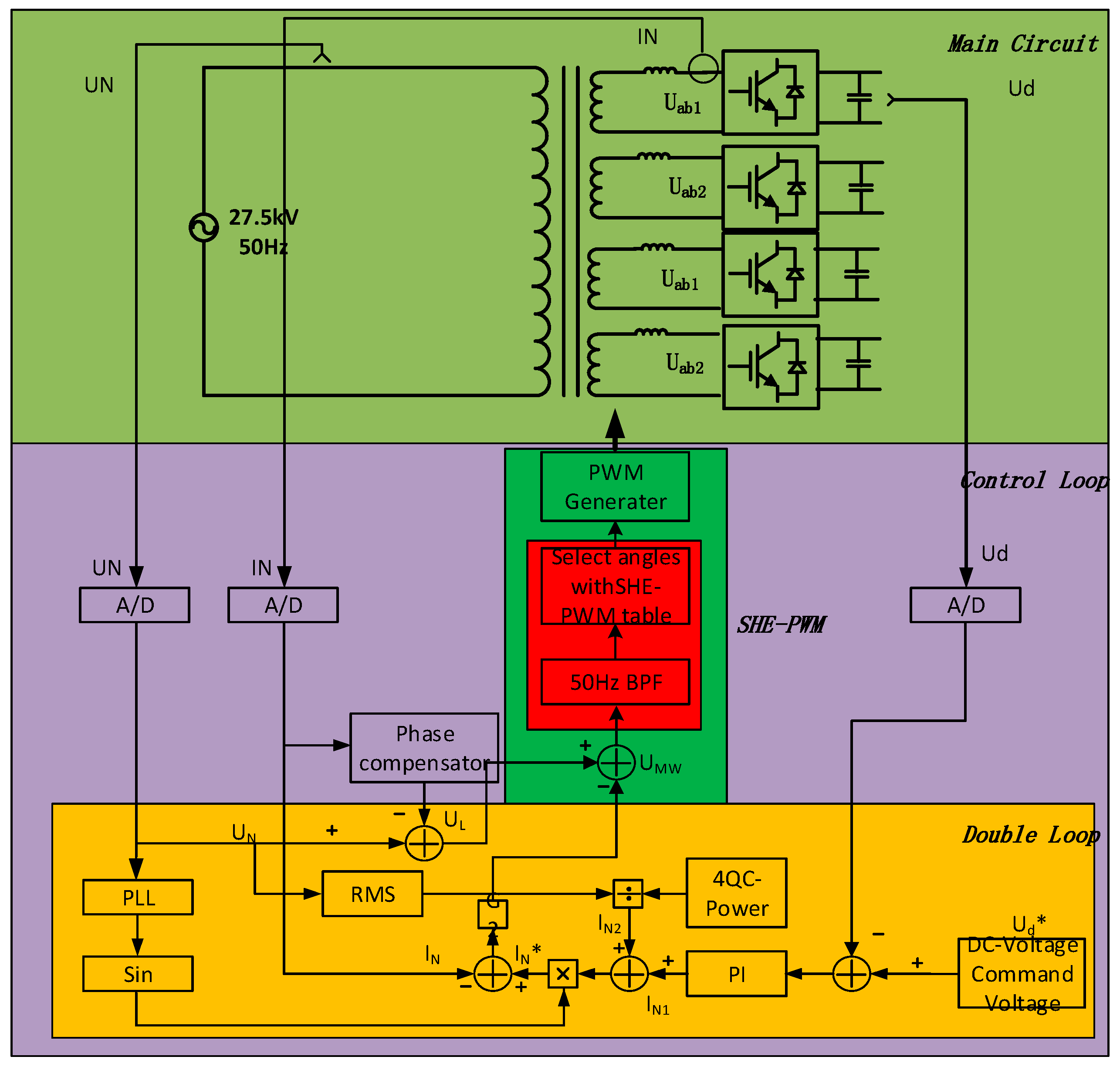
2.1. Introduction of Transient Direct Current Control Strategy for Four-Quadrant Converter
2.2. Harmonic Distribution of Four Quadrant Converter
- (1)
- The high-frequency harmonic component in the input current is concentrated in an even number of times near the switching frequency;
- (2)
- is odd, which signifies that the harmonics do not contain even harmonics;
- (3)
- The larger the m value in the equation, the smaller the harmonic content and amplitude will be, which means that the content and amplitude of the harmonics decay rapidly with the increase in harmonic order;
- (4)
- The harmonic content is affected by the modulation index, magnitude of the DC voltage, root mean square voltage of the grid side, grid voltage frequency and PWM modulation carrier frequency, and the amplitude of each harmonic is also related to the inductance of the AC side of the 4QC.
2.3. Grid–Train Coupling Resonance Mechanism
3. Resonance Suppression Strategy and Equation Solution Based on Specific Harmonic Elimination–Pulse Width Modulation
3.1. Fundamental of Specific Harmonic Elimination–Pulse Width Modulation
3.2. Specific Harmonic Elimination Strategy of Multi—Four-Quadrant Converter
- (1)
- Select four switching angles by which to control the four fundamental components of the quadruple 4QC;
- (2)
- Abandon two harmonic order controls, in order to obtain a higher tolerance so as to solve the transcendental equation;
- (3)
- Among the remaining 22 switching angles, select 17 angles to eliminate the third to 35th harmonics; the remaining five angles are assigned to BF 2.x to eliminate high-frequency harmonics.
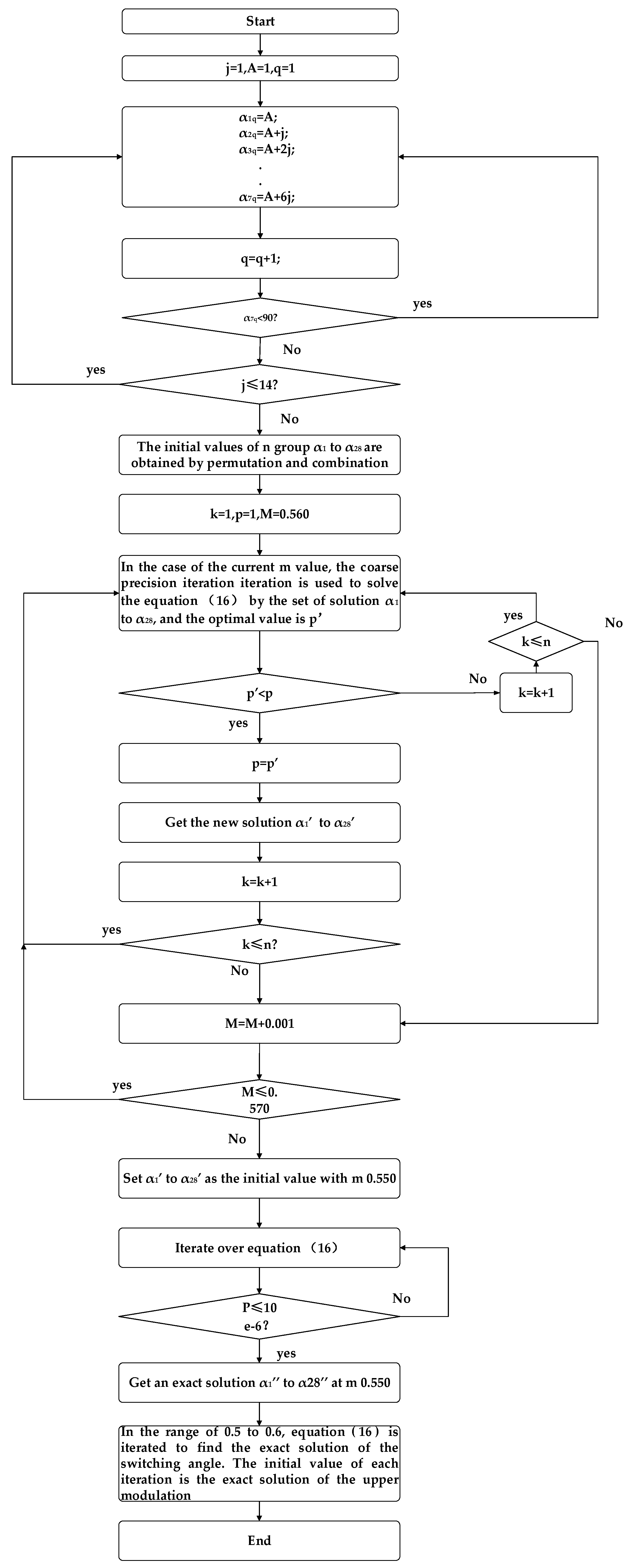
3.3. Specific Harmonic Elimination–Pulse Width Modulation Transcendental Equation Solving Process
3.4. Specific Harmonic Elimination–Pulse Width Modulation Resonant Suppression Combined with Transient Current Control Strategy
4. Simulation Results
4.1. Simulation of Quadruple 4QC
4.2. Verification of Specific Harmonic Elimination–Pulse Width Modulation Resonance Suppression Strategy
4.3. Simulation Verification of Grid–Train Coupling Resonance Suppression
5. Conclusions
Acknowledgments
Author Contributions
Conflicts of Interest
References
- He, Z.; Hu, H.; Zhang, Y.; Gao, S. Harmonic Resonance Assessment to Traction Power-Supply System Considering Train Model in China High-Speed Railway. IEEE Trans. Power Deliv. 2014, 29, 1735–1743. [Google Scholar] [CrossRef]
- Chang, G.W.; Lin, H.W.; Chen, S.K. Modeling characteristics of harmonic currents generated by high-speed railway traction drive converters. IEEE Trans Power Deliv. 2004, 19, 766–773. [Google Scholar] [CrossRef]
- Cui, H.; Song, W.; Fang, H.; Ge, X.; Feng, X. Resonant harmonic elimination pulse width modulation-based high-frequency resonance suppression of high-speed railways. IET Power Electron. 2015, 8, 735–742. [Google Scholar] [CrossRef]
- Song, W.; Jiao, S.; Li, Y.W.; Wang, J.; Huang, J. High-Frequency Harmonic Resonance Suppression in High-Speed Railway Through Single-Phase Traction Converter With LCL Filter. IEEE Trans. Transp. Electr. 2016, 2, 347–356. [Google Scholar] [CrossRef]
- Hu, H.; Gao, S.; Shao, Y.; Wang, K.; He, Z.; Chen, L. Harmonic Resonance Evaluation for Hub Traction Substation Consisting of Multiple High-speed Railways. IEEE Trans. Power Deliv. 2017, PP, 1. [Google Scholar] [CrossRef]
- Zynovchenko, A.; Xie, J.; Jank, S.; Klier, F. Resonance phenomena and propagation of frequency converter harmonics the catenary of railways with single-phase A.C. In Proceedings of the 2005 European Conference on Power Electronics and Applications, Dresden, Germany, 11–14 September 2005. [Google Scholar]
- Liu, M.; Wu, M.; Yang, S.; Chu, Z.; Huang, Z. Traction Harmonic and Transient Overvoltage Suppression Device. Patent CN 101145692 A, 19 March 2008. (In Chinese). [Google Scholar]
- Hu, H.; He, Z.; Gao, S. Passive Filter Design for China High-Speed Railway With Considering Harmonic Resonance and Characteristic Harmonics. IEEE Trans. Power Deliv. 2015, 30, 505–514. [Google Scholar] [CrossRef]
- Krah, J.O.; Holtz, J. Total compensation of line-side switching harmonics in converter-fed AC locomotives. IEEE Trans. Ind. Appl. 1995, 31, 1264–1273. [Google Scholar] [CrossRef]
- Maeda, T.; Watanabe, T.; Mechi, A.; Shiota, T.; Iida, K. A hybrid single-phase power active filter for high order harmonics compensation in converter-fed high speed trains. In Proceedings of the Power Conversion Conference—Nagaoka 1997, Nagaoka, Japan, 6 August 1997; Volume 2, pp. 711–717. [Google Scholar]
- Kwon, K.M.; Song, Y.S.; Choi, J. 6MVA single-phase APF for high speed train line in Korea. In Proceedings of the International Conference on Power Engineering and Renewable Energy, Bali, Indonesia, 9–11 December 2014; pp. 31–36. [Google Scholar]
- Bueno, A.; Aller, J.M.; Restrepo, J.A.; Harley, R.; Habetler, T.G. Harmonic and Unbalance Compensation Based on Direct Power Control for Electric Railway Systems. IEEE Trans. Power Electron. 2013, 28, 5823–5831. [Google Scholar] [CrossRef]
- Holtz, J.; Krah, J.O. Suppression of time-varying resonances in the power supply line of AC locomotives by inverter control. IEEE Trans. Ind. Electron. 1992, 39, 223–229. [Google Scholar] [CrossRef]
- Song, K.; Konstantinou, G.; Wu, M.; Acuna, P.; Aguilera, R.P.; Agelidis, V.G. Windowed SHE-PWM of Interleaved Four-Quadrant Converters for Resonance Suppression in Traction Power Supply Systems. IEEE Trans. Power Electron. 2017, PP, 1. [Google Scholar] [CrossRef]
- Patel, H.S.; Hoft, R.G. Generalized Techniques of Harmonic Elimination and Voltage Control in Thyristor Inverters: Part I—Harmonic Elimination. IEEE Trans. Ind. Appl. 1973, IA-9, 310–317. [Google Scholar] [CrossRef]
- Routray, A.; Patel, V.; Mahanty, R.; Singh, R.K. A novel GA optimized SHE PWM hybrid cascaded H-bridge multilevel inverter with Capacitor Voltage Averaging for motor drive applications. In Proceedings of the IEEE International Conference on Power Electronics, Drives and Energy Systems, Trivandrum, India, 14–17 December 2016. [Google Scholar]
- Aguilera, R.P.; Lezana, P.; Konstantinou, G. Closed-loop SHE-PWM technique for power converters through Model Predictive Control. In Proceedings of the 41st Annual Conference of the IEEE Industrial Electronics Society (IECON 2015), Yokohama, Japan, 9–12 November 2016; pp. 5261–5266. [Google Scholar]
- Pulikanti, S.R.; Konstantinou, G.; Agelidis, V.G. Hybrid Seven-Level Cascaded Active Neutral-Point-Clamped-Based Multilevel Converter Under SHE-PWM. IEEE Trans. Ind. Electron. 2013, 60, 4794–4804. [Google Scholar] [CrossRef]
- Dahidah, M.S.A.; Konstantinou, G.; Agelidis, V.G. A Review of Multilevel Selective Harmonic Elimination PWM: Formulations, Solving Algorithms, Implementation and Applications. IEEE Trans. Power Electron. 2015, 30, 4091–4106. [Google Scholar] [CrossRef]
- Saponara, S.; Ciarpi, G.; Groza, V.Z. Design and Experimental Measurement of EMI Reduction Techniques for Integrated Switching DC/DC Converters. Can. J. Electr. Comput. Eng. 2017, 40, 116–127. [Google Scholar]
- Konstantinou, G.; Agelidis, V.G.; Pou, J. Theoretical Considerations for Single-Phase Interleaved Converters Operated With SHE-PWM. IEEE Trans. Power Electron. 2014, 29, 5124–5128. [Google Scholar] [CrossRef]
- Ni, Q.; Yuan, Y. A Subspace Limited Memory Quasi-Newton Algorithm for Large-Scale Nonlinear Bound Constrained Optimization. Math. Comput. Am. Math. Soc. 1997, 66, 1509–1520. [Google Scholar] [CrossRef]
- Facchinei, F.; Júdice, J.; Soares, J. An active set Newton algorithm for large-scale nonlinear programs with box constraints. SIAM J. Optim. 1995, 8, 158–186. [Google Scholar] [CrossRef]
- Facchinei, F.; Lucidi, S.; Palagi, L. A Truncated Newton Algorithm for Large Scale Box Constrained Optimization. SIAM J. Optim. 2002, 12, 1100–1125. [Google Scholar] [CrossRef]
- Sun, L.; He, G.; Wang, Y.; Fang, L. An active set quasi-Newton method with projected search for bound constrained minimization. Comput. Math. Appl. 2009, 58, 161–170. [Google Scholar] [CrossRef]
- Hintermüller, M.; Ito, K.; Kunisch, K. The Primal-Dual Active Set Strategy as a Semismooth Newton Method. SIAM J. Optim. 2002, 13, 865–888. [Google Scholar] [CrossRef]
- Krongold, B.S.; Jones, D.L. An active-set approach for OFDM PAR reduction via tone reservation. IEEE Trans. Signal Process. 2004, 52, 495–509. [Google Scholar] [CrossRef]
- Birgin, E.G.; Martínez, J.M. Large-Scale Active-Set Box-Constrained Optimization Method with Spectral Projected Gradients. Comput. Optim. Appl. 2002, 23, 101–125. [Google Scholar] [CrossRef]
- Ito, K.; Kunisch, K. The Primal-Dual Active Set Method for Nonlinear Optimal Control Problems with Bilateral Constraints. SIAM J. Control Optim. 2004, 43, 357–376. [Google Scholar] [CrossRef]
- Virtanen, T.; Gemmeke, J.F.; Raj, B. Active-Set Newton Algorithm for Overcomplete Non-Negative Representations of Audio. IEEE Trans. Audio Speech Lang. Process. 2013, 21, 2277–2289. [Google Scholar] [CrossRef]





























| Parameter | Value/Unit |
|---|---|
| Transformer primary voltage | 25 kV |
| Transformer secondary voltage | 1658 V |
| Number of multiplex | 4 |
| DC side support capacitor | 8 pF |
| Switch Frequency | 350 Hz |
| AC side inductance | 1.195 mH |
| DC side voltage | 2950 V |
| Power | 1908.4 kW × 4 |
© 2017 by the authors. Licensee MDPI, Basel, Switzerland. This article is an open access article distributed under the terms and conditions of the Creative Commons Attribution (CC BY) license (http://creativecommons.org/licenses/by/4.0/).
Share and Cite
Zhang, R.; Lin, F.; Yang, Z.; Cao, H.; Liu, Y. A Harmonic Resonance Suppression Strategy for a High-Speed Railway Traction Power Supply System with a SHE-PWM Four-Quadrant Converter Based on Active-Set Secondary Optimization. Energies 2017, 10, 1567. https://doi.org/10.3390/en10101567
Zhang R, Lin F, Yang Z, Cao H, Liu Y. A Harmonic Resonance Suppression Strategy for a High-Speed Railway Traction Power Supply System with a SHE-PWM Four-Quadrant Converter Based on Active-Set Secondary Optimization. Energies. 2017; 10(10):1567. https://doi.org/10.3390/en10101567
Chicago/Turabian StyleZhang, Runze, Fei Lin, Zhongping Yang, Hu Cao, and Yuping Liu. 2017. "A Harmonic Resonance Suppression Strategy for a High-Speed Railway Traction Power Supply System with a SHE-PWM Four-Quadrant Converter Based on Active-Set Secondary Optimization" Energies 10, no. 10: 1567. https://doi.org/10.3390/en10101567
APA StyleZhang, R., Lin, F., Yang, Z., Cao, H., & Liu, Y. (2017). A Harmonic Resonance Suppression Strategy for a High-Speed Railway Traction Power Supply System with a SHE-PWM Four-Quadrant Converter Based on Active-Set Secondary Optimization. Energies, 10(10), 1567. https://doi.org/10.3390/en10101567
