Abstract
Domestic cradles are beds that are movable but non-mobile for babies up to five months of age. The “anthropo-mechanical” cradle simulates the physiological movement of the human body. The article reviews scientific literature discussing the impacts of swinging on infants, provides classifications of all currently used cradles due to how the child moves, and briefly describes modern technologies within cradle automation. This made it possible to calculate and propose safe motion parameters within mechatronic cradles. The main conclusions of the article are as follows: (1) the scientific literature reports the beneficial effects of harmonic movement on a child, (2) motion analyses substantiating the classifications of all cradles into six types (tilting, yawing, hammock, Sarong, swing, and surging cradle; the classification criterion included the nature of the cradle movement in relation to the planes and anatomical axes of the child’s body), (3) modern technologies allowing for the use of movement with thoughtful parameters, thus, safer for a child, (4) movement within the parameters similar to the motion and speed passively performed by the child in the womb while a mother is walking was considered beneficial and safe, and (5) the use of advanced technology allows for the possibility to devise and create an automatic mechatronic cradle with a child-safe motion. Future innovative anthropo-mechanical cradles that follow physiological human motion parameters can be used safely, with a vertical amplitude ranging from −13 to + 15 mm and a frequency of up to 2 Hz.
Keywords:
cradle; human health; energy; monitoring of physical parameters; sway; cradleboard; swing; bassinet; baby; infant; furniture; furniture design 1. Introduction
A well-designed domestic cradle for babies should be technically feasible, meet aesthetic requirements, offer adequate functionality, and be safe to use. The technical feasibility of a cradle, like any other piece of furniture, is achieved by a properly prepared technical design [1,2,3,4,5,6]. Furniture aesthetic design quality, including cradles, depends on many subjective factors, such as culture, fashion, and personal sense of aesthetics [7,8]. A significant problem in the design of the cradle is effectively “incorporating” all human factors into the product. The application of psychological and physiological determinants to the products include human error resistance, proper functionality, enhanced safety of use, and comfort [6].
Cradles can pose a threat to children and their safety. Falling out of the cradle has the highest injury risk rate for children ages 6 to 8 months [9]. The materials used for cradle construction, wood, wood-derived materials, metals, plastic, adhesives, varnishes, and their emissions could pose a danger when used, such as improper cradle operation due to missing elements, overuse, or improper assembly. Although different furniture materials could be used in cradles, the significance of using safe materials is high since infants or babies are involved. The design requirements for cradles are listed in the EN 1130: 2019, ASTM F 2194–16e1: 2016, and ISO 2631-1: 1997 standards. These standards hold the minimum requirements for rigid element spacing, static loads, stability, foam pad thickness and dimensions, side height, mattress flatness, rocking angles, prohibit the use of accessible small parts, sharp edges, or self-assembly components, and include appropriate usage information.
The primary function of a cradle is to soothe a baby with harmonic movements. Classic cradles are propelled by human muscle strength with a rocking motion where the amplitudes and frequencies are intuitively selected by the child’s caregiver, whereas mechatronic cradles perform movements automatically without regard to the parameters of human motion. The term “anthropo-mechanical” can be defined as a combination of the terms “anthropometric” and “biomechanics”, where we utilize the principles of physiological characteristics for measurement and the mechanical properties of motion produced within the human body. It is not a very common word, but it nicely conveys the desired meaning and is used in the scientific literature [10].
This article assumes that it would be best to reproduce the baby’s movement in the womb and use these parameters within cradle movement. Therefore, it is justified to conduct an interdisciplinary review of the literature and techniques on the impact of rocking a child and the types of modern cradles (with a particular emphasis on automatic cradles). A compact review of the literature on the kinematics of a pregnant woman’s gait, conducting primary kinematic analyses based on literary information, and proposing innovative construction of cradles may be implemented within anthropo-mechanical motions following designated parameters.
2. The Influence of Rocking on the Baby, a Brief Review of the Literature
Rhythmic movement improves sleep quality [11]. This is due to stimulation of the vestibular apparatus [12]. The vestibular apparatus begins to form on day 30 of embryonic life, and by day 49, its morphogenesis is complete [13]. At this time, the fetal vestibular system is stimulated when the mother moves, and this positive effect also takes place after birth. Clark et al. noticed accelerated reflex maturation after vestibular stimulation of term infants [14]. Vestibular stimulation by horizontal rocking is used therapeutically in human preterm infants [15]. Clinical trials showed that rocking cradles or oscillating waterbeds reduced the frequency of pauses in breathing, known as apneic spells [16]. The benefits of rocking on the youngest children are summarized in Table 1.
Table 1.
Positive Impact of Rocking.
Chisholm and Swaddling (1978) presented the results of an ethnological study of the use of cradles by Navajo Indians. According to the results, cradle use decreases from about 16 h a day in the first three months of a child’s life to less than 9 h before his first birthday. Compared to European babies, Navajo babies spend significantly more time in actual or potential social contact with adults. The author suggests that the cradle can be used in Western cultures to reduce the suffering of infants deprived of social contact [17]. Rhythmic rocking of babies is essential for developing the neuromuscular system, as it affects motor development. Thelen (1980) suggests that vestibular stimulation deficiency may be one of the causes of persistent motor stereotypes in infants (persistent stereotypes, code F.98.4 in ICD-10) [18].
Bayer et al. (2011), investigated the relationship between rocking and sleeping [20]. The conclusions of their study indicated that lying on a slowly swaying bed (0.25 Hz) eases falling asleep and preferably extends the duration of the N2 sleep stage (one of three non-rapid eye movement (NREM) sleep phases before entering the REM period). During this stage, the child will be at the beginning of a deep sleep. The results of the research from these authors can lead to confirmation of the belief that rocking a child supports healthy sleep.
Rocking can also be therapeutic for premature babies. Tuck et al., in 1982, stated that rocking prevents bouts of sleep apnea in premature babies and developed an incubator that is moved by pneumatic actuators and sways in different planes [16]. In 1982, Pierpont and Kramer conducted studies based on the simulation of selected features of the intrauterine environment. Premature babies were placed on waterbeds, gently rocked, and exposed to auditory stimuli. As a result of the research, it was confirmed that the premature babies rocked on a waterbed were more likely to eat and had increased body weight faster, compared to the non-rocking control group [23].
Some authors present research results on the harmful effects of rocking on infants in the cradle. These threats are summarized in Table 2.
Table 2.
Threats of rocking.
The use of the cradles can also be life-threatening due to sudden infant death syndrome (SIDS) occurring in infants and young children left to sleep unattended. Byard, Beal, and Bourne (1994) analyzed 30 cases of accidental asphyxia and described two deaths resulting from constant tilting of the cradles [24]. Beal et al. (1995) experimentally confirmed, by analyzing video documentation, that it is unacceptable to leave a child unattended in a cradle with the possibility of a constant tilt by more than 10°. Infants in a tilted cradle, especially with their hands trapped between the torso and rungs, or with their hands extended beyond the rungs, could not obtain a fully open airway, resulting in death [25]. These observations are also confirmed by Moore et al. (1995), as they analyzed two cases of infant deaths that were several weeks old due to the lack of protection against excessive swinging cradles. In control studies that involved observation of other children, a substantial risk of suffocation due to positional asphyxia was confirmed. Automatic asphyxiation was the most probable cause of death in the two analyzed cases [26]. Another case of a slightly older 11-month-old infant, resulted in death from suffocation due to body affixation, as described by Saha, Batra, and Bansal [28]. Ackerman and Gilbert-Barness (1997) described 15 cases of cradle-infant affixation, 10 of which were fatal. In all cases, the cradle was tilted permanently by an angle greater than 5 degrees [27].
The use of bassinets can also pose a risk of children falling out. Falls from the changing table, the arms of the caregivers, and out of bed cause the most infant injuries [32]. Warrington, Wright, and Team have reported the results of an extensive study of accidents in children up to 6 months of age (2001). Parents of 11,644 babies were surveyed. There were 3357 accidental falls out of 2554 children, 53% fell off the bed or couch. Only 14% reported visible injuries; 97% of visible injuries concerned the head. Only 21 (<1%) falls resulted in concussions or bone fractures [36]. Lyons and Oates (1993) reported 124 falls out of bed (including cradles) and 84 from the bed. They found superficial injuries in 29 cases, and a skull fracture in one case [30]. Sarong Cradles, typical in the Asian region, are acknowledged by the risk of a child falling out. Ng et al. (1997) analyzed 19 injuries caused by a child falling out of the cradle. Data were collected for 9 months based on interviews with the children’s caregivers. The ages of the 19 children ranged from 13 days to 29 months. Accidents occurred while the children were sleeping (14), playing (4), or feeding (1). Although most of the head injuries sustained from falls have been minor, there is a risk that such accidents may lead to more severe injuries [34].
Table 1 summarizes the beneficial effects of rocking on an infant’s development. The rhythmic rocking in the cradle positively affects the development of the infant’s brain. This movement stimulates the vestibular nervous system inside the brain stem and interacts with the cerebellum and the inner ear mechanism. Babies stimulated via systematic swinging have a better appetite and faster development, e.g., they gain a regular sleep cycle earlier, and sleep is calmer compared to children not stimulated by harmonic movement. However, using a cradle ith a motion mechanism can potentially harm the infant (Table 2). Thus, the literature, do not only points exclusively beneficial of using a cradle with a drive but also suggests some dangers detrimental to the infant’s health. The design of an automated, safe-to-use cradle is paramount to receive all the possible benefits and pose absolutely no danger.
3. The Proposed Categorization of Cradle Types Based on State of the Art and Types of Cradles
Understanding how cradles are typically designed is crucial to understanding how to improve existing designs and potential automation. Veselovský and Baďura analyzed the history of the development of cradle forms and distinguished three main categories: hanging cradles, pedestal cradles, and base cradles. The hanging cradles were hung inside or outside of the rooms. The pedestal cradles consisted of two subassemblies, a fixed pedestal, and a movable bed, while the base cradles had a “single-body” structure [37]. The typology of cradles used in the 19th and the first half of the 20th century, according to Veselovský and Baďura, is presented in Figure 1.
Figure 1.
Types of the most common cradles in the 19th century and the first half of the 20th century (inspired by [37]).
Contemporary cradles are furniture of various structures. There have been 967 patent documents filed within patent office databases relating to cradles for babies (TAC “cradle” and CPC classification code A47D9/02, searched by The Lens (Query: “class_cpc.symbol:A47D9\/* AND (title:(cradle) OR abstract:(cradle) OR claim:(cradle))”, range 1950–2021)). They represent 722 patent families. Figure 2 shows the annual increase in the number of patent documents related to cradles for babies.
Figure 2.
The number of patents documents published between 1950 and 2021 with CPC classification code A47D9/02 (cradles for babies).
However, inventions do not always become genuine products. Therefore, the review and analysis of the furniture market would provide a strong basis for the constructional classification of cradles for children. The most useful from the point of view of mechanics is the classification of cradles related to the anatomical axes and planes of the human body. Anatomical planes introduced and named by Anderson (1892) [38], and anatomical axes are shown in Figure 3.
Figure 3.
Anatomical planes and axes with the child’s Center of Mass (CoM) location.
The cardinal planes divide the body into equal portions. The cardinal sagittal plane (frontal axis) divides the body into the right and left parts. The cardinal coronal/frontal plane divides the body into anterior and posterior parts (sagittal axis). The cardinal transverse (horizontal) plane divides the body into superior and inferior parts (longitudinal axis). The axes of the body are related to the cardinal planes.
A review of state of the art in the field of cradles combined with the anatomical planes and reference axes allows for proposing a new classification of cradles. The classification of cradles, with photographs and characteristics of physical movement, is presented in Table 3.
Table 3.
Types of cradles and directions of the infant’s body movement resulting from their construction.
In Table 3, a typical notation of the anatomical planes and directions of the human body is used, as shown in Figure 3. Table 3 shows that there are six types of cradles: (a) tilting—tilts forward and backward because it has two transverse rockers, (b) yawing—swivels left and right because it has two longitudinal rockers, (c) hammock cradle, (d) sarong cradle (or one pendulum cradle), (e) swing cradle (or two pendulum cradle) and (f) surging or four-pendulum cradle. According to the classification proposed in Table 3, cradles supply different possibilities for setting the human body in motion. They allow movement in selected planes and rotate along chosen body axes. This is summarized in Table 4.
Table 4.
The type and number of degrees of freedom for each type of cradle.
As shown in Table 4, the most common cradles (a–c) offer two independent movements (having two degrees of freedom). The Sarong cradle (d) is deemed the most dangerous [34], with up to five degrees of freedom. The e-type cradle, suspended on two handles, has three degrees of freedom, plus one degree highly restricted. On the other hand, the least mobile is the four-pendulum cradle (f), which can move only in one plane and one direction.
The presented analysis shows that more degrees of freedom of the cradle’s corpus cause the highest risk of accidents (based on the Sarong cradle) and lead to an increased risk of a childs overstimulation.
4. Mechatronic Cradle Designs in the Scientific Literature
Many hours of rocking the cradle are arduous, and attempts have been made to mechanize this activity; an early example may be the invention of Marie R. Harper, La Mirada, and Maxine R. Blea, “Automatically rocking baby cradle”, US 3769641, 1973, or the invention of Gim Wong, “Automatic baby crib rocker” US 3952343, 1976. These hnological developments made it possible to construct mechatronic cradles, which relieve the parents of the child and eliminate the risk of spontaneous suffocation of a child left unattended in an excessively tilted cradle [26,28]. The system for automatic monitoring and correction of the child’s body position, as described by Sudharsanan and Karthikeyan (2013), may be helpful for this purpose. The authors proposed placing an accelerometer on the child’s forehead to monitor its body position while sleeping. If an incorrect body position is detected, two servomotors can automatically correct it by tilting the cradle in the proper direction. Therefore, this cradle is designed to prevent SIDS [29] automatically.
Offering solutions based on the Internet of Things (IoT) is relatively popular within the literature. With the developments of computer science, automatic adaptive systems are proposed using various sensors: sound, a child’s body temperature, the environment, air humidity, heart rate, or the amount of carbon dioxide in the exhaled air. Some sensors can also detect unusual baby movements or incorrect positions. The alarm signal can be generated by software that detects irregularities; the mechatronic cradle executive systems will activate and adjust the rocking parameters of the cradle, while the data acquisition system, using cloud techniques, archives the sensor readings. One of the first systems to detect and identify the types of crying from a baby was proposed by Chau-Kai-Hsieh and Chiung Lin, with the title of their invention filed in 1997 as “Baby Cry Recognizer” US 5668780. Table 5 lists numerous scientific publications describing the various concepts of remote supervision of automatic cradles.
Table 5.
Swing Automation Systems in Mechatronic Cradles.
Table 5 shows that the number of scientific publications describing mechatronic cradle systems has increased in recent years. In addition to these publications, there have been attempts to reproduce the rocking movement in the mother’s arms through a mechanized cradle. They focused on the motion analysis of a mother’s embrace while rocking a baby, the development of an excitation apparatus [45], and the rocking motion of the baby sleeping on the mother’s lap [37]. A common feature of the systems described in Table 5 included the detection and appropriate classification of the types of crying from a baby. Based on this, the device can run at an appropriate operating program [59,60,61,62].
Figure 4 shows the operation scheme and data flow structures connected to the mechatronic cradles described in the scientific publications. Each cradle was equipped with actuators that put the cradle in sway mode. Built-in sensors monitored the temperature, air humidity, sound, body position, and mattress moisture. With the help of cameras, a video was transmitted directly to the parents’ devices such as their smartphones or laptops. The collected data was automatically sent to the system, which, thanks to the constantly updated data, was able to change the sway mode of the child or send a message to the parent at the time of danger. At the same time, after receiving information from the system, the parent could decide to introduce or not introduce changes in sway mode, turning on a light, fan, or calming music. A flow diagram of the mechatronic cradles described in Table 5 is shown in Figure 4.
Figure 4.
The information flow diagram in mechatronic cradles (summary of Table 5).
The center of the diagram shown in Figure 4 represents the sway of an infant. The sway is set in motion through actuators. The parameters of the cradle’s movement and the baby’s current needs are read by sensors, and the entire system’s operation is managed by software. Parents can directly or indirectly supervise the work of the described system and the baby directly or remotely using its sensors (video, sound, and others). They can adjust the software signals by interrupting or changing their operations. The black arrows indicate the automatic flow of information between the mechatronic cradle and (IoT) elements. Blue arrows indicate the flow of information between the mechatronic devices, and the parents. Green arrows indicate the flow of information between the child and the parents.
5. Kinematics of the Gait of a Pregnant Woman: A Brief Review of the Literature and Basic Calculations
A fetus in intrauterine life is stimulated kinematically by the gait of the pregnant woman. The gait of a pregnant woman is modeled by changes in the position of the center of mass (CoM) within her body while walking at a comfortable speed, the so-called physiological. The first step in evaluating gait is to establish the value of the velocity of various body heights in the advanced pregnancy stage. Knowing the velocity value produced during walking makes it possible to compute the parameters of harmonic movement (amplitude and frequency) concerning the body’s center of gravity. Attaining these parameters allow ilding a cradle with a mechanically forced motion corresponding to the “anthropo-mechanical” parameters. According to Gedliczka and Pochopień, nonpregnant women between the ages of twenty and forty, with a height of 1.61 m, had an average speed of 1.49 m/s while walking [63]. The angular range of motion within the joints of the lower limbs of a pregnant woman did not change significantly when compared to the studied control group; however, a change in the length of stride was observed by 3 to 4 cm shorter than the control. [64]. The average total length of a pregnant woman’s right and left steps (in the third trimester) was 1.247 m, and the duration of one gait cycle was 1.086 s [65].
The inverted pendulum model, a standard human gait model, can determine the approximate characteristics of the movement of the center of mass within the examined body [66]. This movement follows a roulette described by the trochoid equation or a specific trochoid like a cycloid. The epicycloid represents the path of a point at the end of the radius on a wheel that rolls without skidding on a flat surface. Figure 5 depicts a graphic representation of this movement.
Figure 5.
The center of mass (CoM) of a walking pregnant woman with a fetus.
The cycloid is defined by two parametric Cartesian equations: and . In the equations, θ is the angle between the radius of the circle and the vertical direction, R is the radius of the circle, r is the distance of the point attached to the radius from the center of the circle, and zo is the height of the center of the circle. The variables x and z define a point’s coordinates attached to the radius. The first derivative of the trajectory θ corresponds to the angular velocity ω of the cycloids [66].
Considering the data provided by Carpentier [66], a graph on the dependence of the vertical coordinate on the horizontal coordinate, at the center of gravity of two women, with two body heights was prepared (1.67 m and 1.83 m—Figure 6). The dependence of the change in position of the center of mass (CoM) in time is shown in Figure 6. The graphical interpretation of the cycloid equations based on the adopted constants is showed in Table 6.
Figure 6.
The calculated changes of the center of mass (CoM) for two women with different heights: dependent on the distance traveled and time.
Table 6.
Data adopted in the cycloid equations.
The graphs presented in Figure 6 show that in a woman with a height of 1.67 m, whose step is about 600 mm, the coordinate position of the center of mass varied from −13 mm through +15 mm. This change occurred in 0.48 s, which translates into movement of the center of mass (CoM) at a frequency of about 2 Hz. The presented relationships make it possible to design the trajectory of cradle movement to correspond to the spatial positioning of the pelvis. The cradle could be equipped with a mechanism allowing for frequency fluctuations to be programmed according to the natural swing cycle of the baby in the womb while depending on the woman’s height and changes in the position of her body’s center of gravity.
To map the changes in a walking woman’s CoM, and the child’s movement, the planes and anatomical axes of the child’s body within the cradle should be shifted so that their zero point coincides with the CoM of the pregnant woman. The shifted system of the anatomical childs axes is shown in Figure 7.
Figure 7.
Shifted arrangement of child axes and anatomical planes.
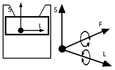
The characteristics of the anthropo-mechanical cradle motion are shown in Figure 8. Schematically shown elements of the acceleration, within the mother’s gait, regarding her center of mass (CoM), aL, aF, and aS, are acting in three orthogonal axes, L, F, and S (X, Y, and Z). This figure was prepared based on data provided by Jansen et al. in Figure 1 in the reference [67] and in association with Figure 3, Figure 5 and Figure 7 in this paper.
Figure 8.
Schematic representation of the action of the accelerations aL, aF and aS acting in the three axes L, F, and S on the child during the mother’s gait.
The following insights for the design of anthropo-mechanical cradles are as mentioned:
- When selecting the parameters of the movement of the anthropo-mechanical cradle, apart from the amplitude in the vertical axis (Z axis in mm) and the frequency (in Hz), it is worth taking into account the remaining parameters of the dynamics of the movement of the woman’s center of mass (CoM) while walking, i.e., amplitudes and accelerations acting on the three anatomical axes of the body (L, F, and S).
- At each tilt, the directions of the accelerations aL, aF, and aS change in the cradle. The direction of the CoM acceleration vector changes only for the S (vertical) and F (transverse) axes during the mother’s gait. For the L axis, the direction of the acceleration vector is constant. Thus, the resultant movement of CoM is quite complex. It takes place simultaneously within the three axes L, F, and S. The challenge would be to obtain a cradle movement where the position of the fetus during pregnancy and the parameters of the physiological gait of a given mother would be correlated. It would then be possible to program the cradle to adjust to each child individually and imitate the movement of being in its mother’s womb. It seems that typical cradles (Table 3) do not best reflect the movement of the CoM within a pregnant woman’s gait. Therefore, a new solution for the cradle structure should be proposed.
- The frequency of the cradle’s motion must not exceed the resonant frequency of the baby’s organs, as it could pose a danger to the child’s health. Fortunately, these frequencies are larger than the postulated range (up to 2 Hz). As is known, the resonant frequency of the human body ranges from 5 to 10 Hz—depending on the individual’s body structure and position—lying, standing, or sitting [68]. However, excitations of a lower frequency can stimulate the abdominal organs to experience strong vibrations [69].
The recommended rocking parameters of a child include an amplitude (A) of 28 mm and a frequency (f) of up to 2 Hz, which are confirmed in the literature. Byrne et al. studied the effects of rocking on 36 full-term infants (24–72 h of age) on the experimenter’s shoulder. When they used horizontal rocking movements, with 30 cycles per minute (f = 2 Hz) and a duration of up to 3 min, they obtained the best effects of calming the child [70]. Peak acceleration level (amax) may be computed by using the formula: (m/s2). Therefore, the recommended rocking motion parameters mentioned above result in amax = 0.07 m/s2. Vrugt and Pederson recommend amax values between 0.025 and 0.075 m/s2 [71].
Inappropriate motor stimulation, such as inharmonious shaking or rocking, can be fatal or cause permanent disability. Shaking can cause complications such as brain damage, cerebral palsy, hearing loss, blindness, learning difficulties, seizures, and paralysis [72]. Babies between the ages of 2 and 4 months are most at risk of shaking injuries. Accidental stimulation leads to an emotional disturbance in the child. Rhythmic stimuli allow for the synchronization of rhythms, leading to the facilitation of selective attention and the learning of perception [73]. At the time of birth, significant environmental changes occur, differing from what life has been in the womb of the baby’s mother. Increasing attention has been paid to environmental and ectopic changes, indicating a significant role in developmental and behavioral outcomes such as optimal growth and development [74].
The calming effect of walking by the mother on children was reported in the literature. Esposito et al. monitored the responses of 12 healthy infants aged 1–6 months. The scientists wanted to compare holding a crying baby with carrying an infant while walking for 30 s or longer. The study found that the babies that were carried were more relaxed and soothed than the babies whose mothers sat and held them. Thus, maternal walking is more effective in calming infants than other non-rhythmic motions [75]. Infant carrying is a biological norm for human caregiving and results in a carrying-induced calming response for the child [76]. Carrying during walking is a well-known intuitive and multicultural mother’s reaction to a baby crying. The effectiveness of this effect has been confirmed by scientific research [77]. Therefore, using motion parameters in the cradle that resemble the walking mother positively affects the infant without the risk of overstimulation.
6. Conclusions
The harmonic movement has a beneficial calming effect on normal developing babies and a beneficial therapeutic effect on premature babies. The literature cited in Section 2 of the article highlights that constant stimulation of babies’ vestibular system due to systematic rocking improves development and the formation of a restful and consistent sleep cycle. Thus, rocking allows for the transition from being awake to sleeping easier. However, using cradles could increase the risk of suffocation and injury if a limb gets stuck or the baby falls out. Therefore, cradles should meet the minimum requirements described in the standards cited in the Introduction.
Mechatronic cradles that mechanize a rocking movement have been described in the literature (usually having an added remote supervision function). However, such devices can be dangerous and may have excessive movement on the child. The information and calculations within the cited literature made it possible to use physiological movements that do not increase the risk of overstimulation; therefore, the parameters of this movement were calculated, and five innovative concepts of cradle design were proposed. The review of the literature and own analysis described in this study suggest that:
- The harmonic movement has a beneficial effect on babies; in particular, rhythmic rocking of the cradle has a positive impact on the development of an infant’s brain and a beneficial therapeutic effect on premature babies. Cradle rocking can naturally link a baby’s two stages of life: when the fetus is rocked in the womb by the mother’s motion of locomotion and the period of independent walking.
- A crucial component of a cradle’s design involves the safety requirements to prevent falls and entrapment. To avoid the risk of the child falling out: footholds in the cradles are not allowed, minimum side heights are strictly defined, and the maximum age of a child sleeping in the cradle is five months. An excessive tilt of the cradle greater than 10° should be avoided to prevent strangulation or suffocation risks.
- The multidisciplinary literature review and kinematic analyses suggest that cradles should be classified from the point of view of the possibilities and limitations of a child’s rocking motion parameters and not from a view of the external forms. That is why we proposed a classification of cradles into six types, offering from 2 to 5 degrees of freedom in various configurations (tilting, yawing, hammock, Sarong, swing, and surging cradle).
- Modern technology enables the design of cradle movement to include more thoughtful parameters and ensure the safety of the child. This includes calculating the approximate movement characteristics of the center of mass within the human body while in motion, as well as designing the limits of a cradle’s tilt to correspond with the directions and parameters of the spatial positions of the pelvis during human gait patterns.
- Compared to mechanically driven cradles, it is preferable to use “anthropo-mechanical” cradle movements to prevent a child from being overstimulated. Child movement in an “anthropo-mechanical” cradle should be maintained within the parameters of the passive motion, and speed performed within the mother’s womb while walking can be considered safe. The movement parameters in such a safe cradle should be determined based on the mother’s height. According to our analysis, safe cradle movements could be achieved by having a vertical amplitude ranging from −13 to +15 mm and a frequency of up to 2 Hz. The frequencies of the cradle’s movement must not coincide with the resonant frequencies of the baby’s organs, as it can pose dangerous effects on the child’s health.
Author Contributions
Conceptualization, M.S.; Methodology, M.S.; Validation, M.S.; Formal Analysis, J.P. and M.S.; Investigation, M.S. and M.Z.; Resources, M.S. and M.Z.; Data Curation, M.S.; Writing—Original Draft Preparation, M.S., J.P. and M.Z.; Writing—Review and Editing, M.S., M.Z. and J.P.; Visualization, M.Z., M.S. and A.J.; Supervision, M.S.; Funding Acquisition, M.Z. All authors have read and agreed to the published version of the manuscript.
Funding
The study was supported by the funding for statutory R&D activities as the research task “Transport systems design In the context of social and environmental needs ”no. 0416/SBAD/0004 of the Faculty of Civil and Transport Engineering, Poznan University of Technology. Poland.
Institutional Review Board Statement
Ethical review and approval were waived for this study due to this article not directly describing the experimental research conducted by the authors. The authors calculated all data within this article or taken from the cited literature.
Informed Consent Statement
Not applicable.
Data Availability Statement
All data, models, and code generated or used during the study appear in the submitted article.
Conflicts of Interest
The authors declare no conflict of interest. The funders had no role in the design of the study; in the collection, analyses, or interpretation of data; in the writing of the manuscript; or in the decision to publish the results.
References
- Branowski, B.; Zabłocki, M.; Sydor, M. Experimental Analysis of New Furniture Joints. Bioresources 2018, 13, 370–382. [Google Scholar] [CrossRef]
- Réh, R.; Krišťák, Ľ.; Hitka, M.; Langová, N.; Joščák, P.; Čambál, M. Analysis to Improve the Strength of Beds Due to the Excess Weight of Users in Slovakia. Sustainability 2019, 11, 624. [Google Scholar] [CrossRef]
- Branowski, B.; Starczewski, K.; Zabłocki, M.; Sydor, M. Design Issues of Innovative Furniture Fasteners for Wood-Based Boards. Bioresources 2020, 15, 8472–8495. [Google Scholar] [CrossRef]
- Skorupińska, E.; Wiaderek, K.; Sydor, M. The Withdrawal Resistance of T-Nuts in Various Furniture Materials. Drv. Ind. 2022, 73, 271–277. [Google Scholar] [CrossRef]
- Hitka, M.; Gejdoš, M.; Klement, I.; Simanová, Ľ. Dimensional Solution for Beds from Wood Composites for the Bariatric Population. BioRes 2022, 17, 6656–6667. [Google Scholar] [CrossRef]
- Branowski, B.; Zabłocki, M.; Kurczewski, P.; Sydor, M. A Method for Modeling the Individual Convenient Zone of a Human. Int. J. Environ. Res. Public Health 2022, 19, 10405. [Google Scholar] [CrossRef] [PubMed]
- Parsons, G.G.; Carlson, A.A. Functional Beauty; Oxford University Press: Oxford, UK, 2009; p. 272. ISBN 9780191709296. [Google Scholar]
- Bonenberg, A.; Branowski, B.; Kurczewski, P.; Lewandowska, A.; Sydor, M.; Torzyński, D.; Zabłocki, M. Designing for Human Use: Examples of Kitchen Interiors for Persons with Disability and Elderly People. Hum. Factors Man. 2019, 29, 177–186. [Google Scholar] [CrossRef]
- Agran, P.F.; Anderson, C.; Winn, D.; Trent, R.; Walton-Haynes, L.; Thayer, S. Rates of Pediatric Injuries by 3-Month Intervals for Children 0 to 3 Years of Age. Pediatrics 2003, 111, e683–e692. [Google Scholar] [CrossRef]
- Reynolds, H.M. A Foundation for Systems Anthropometry: Phase 1; Highway Safety Research Institute, University of Michigan: Ann Arbor, MI, USA, 1977; p. 131. [Google Scholar]
- Baek, S.; Yu, H.; Roh, J.; Lee, J.; Sohn, I.; Kim, S.; Park, C. Effect of a Recliner Chair with Rocking Motions on Sleep Efficiency. Sensors 2021, 21, 8214. [Google Scholar] [CrossRef]
- Obladen, M. Swinging and Rocking: Two Millennia of Debating the Cradle. Neonatology 2021, 118, 198–205. [Google Scholar] [CrossRef]
- Pignataro, O.; Rossi, L.; Gaini, R.; Oldini, C.; Sambataro, G.; Nino, L. The Evolution of the Vestibular Apparatus According to the Age of the Infant. Int. J. Pediatr. Otorhinolaryngol. 1979, 1, 165–170. [Google Scholar] [CrossRef] [PubMed]
- Clark, D.L.; Kreutzberg; Chee, F.K.W. Vestibular Stimulation Influence on Motor Development in Infants. Science 1977, 196, 1228–1229. [Google Scholar] [CrossRef] [PubMed]
- Cordero, L.; Clark, D.; Schott, L. Effects of Vestibular Stimulation on Sleep States in Premature Infants. Amer J. Perinatol 1986, 3, 319–324. [Google Scholar] [CrossRef] [PubMed]
- Tuck, S.J.; Monin, P.; Duvivier, C.; May, T.; Vert, P. Effect of a Rocking Bed on Apnoea of Prematurity. Arch. Dis. Child. 1982, 57, 475–477. [Google Scholar] [CrossRef]
- Chisholm, J.S. Swaddling, Cradleboards and the Development of Children. Early Hum. Dev. 1978, 2, 255–275. [Google Scholar] [CrossRef]
- Thelen, E. Determinants of Amounts of Stereotyped Behavior in Normal Human Infants. Ethol. Sociobiol. 1980, 1, 141–150. [Google Scholar] [CrossRef]
- Malcuit, G.; Pomerleau, A.; Brosseau, N. Cardiac and Behavioral Responses to Rocking Stimulations in One- and Three-Month-Old Infants. Percept Mot Ski. 1988, 66, 207–217. [Google Scholar] [CrossRef]
- Bayer, L.; Constantinescu, I.; Perrig, S.; Vienne, J.; Vidal, P.-P.; Mühlethaler, M.; Schwartz, S. Rocking Synchronizes Brain Waves during a Short Nap. Curr. Biol. 2011, 21, R461–R462. [Google Scholar] [CrossRef]
- Korner, A.F.; Guilleminault, C.; Van den Hoed, J.; Baldwin, R.B. Reduction of Sleep Apnea and Bradycardia in Preterm Infants on Oscillating Water Beds: A Controlled Polygraphic Study. Pediatrics 1978, 61, 528–533. [Google Scholar] [CrossRef]
- Osborn, D.A.; Henderson-Smart, D.J. Kinesthetic Stimulation for Treating Apnea in Preterm Infants. Cochrane Database Syst. Rev. 2000, 1999, CD000499. [Google Scholar] [CrossRef]
- Kramer, L.I.; Pierpont, M.E. Rocking Waterbeds and Auditory Stimuli to Enhance Growth of Preterm Infants. Preliminary Report. J. Pediatr. 1976, 88, 297–299. [Google Scholar] [CrossRef] [PubMed]
- Byard, R.W.; Beal, S.; Bourne, A.J. Potentially Dangerous Sleeping Environments and Accidental Asphyxia in Infancy and Early Childhood. Arch. Dis. Child. 1994, 71, 497–500. [Google Scholar] [CrossRef] [PubMed]
- Beal, S.M.; Moore, L.; Collett, M.; Montgomery, B.; Sprod, C.; Beal, A. The Danger of Freely Rocking Cradles. J. Paediatr. Child Health 1995, 31, 38–40. [Google Scholar] [CrossRef] [PubMed]
- Moore, L.; Bourne, A.J.; Beal, S.; Collett, M.; Byard, R.W. Unexpected Infant Death in Association with Suspended Rocking Cradles. Am. J. Forensic Med. Pathol. 1995, 16, 177–180. [Google Scholar] [CrossRef] [PubMed]
- Ackerman, J.; Gilbert-Barness, E. Suspended Rocking Cradles, Positional Asphyxia, and Sudden Infant Death. Arch. Pediatr. Adolesc. Med. 1997, 151, 573–575. [Google Scholar] [CrossRef]
- Saha, A.; Batra, P.; Bansal, A. Strangulation Injury from Indigenous Rocking Cradle. J. Emerg. Trauma Shock 2010, 3, 298. [Google Scholar] [CrossRef]
- Nimityongskul, P.; Anderson, L.D. The Likelihood of Injuries When Children Fall Out of Bed. J. Pediatr. Orthop. 1987, 7, 184–186. [Google Scholar] [CrossRef]
- Lyons, T.J.; Oates, R.K. Falling out of Bed: A Relatively Benign Occurrence. Pediatrics 1993, 92, 125–127. [Google Scholar] [PubMed]
- Macgregor, D.M. Injuries Associated with Falls from Beds. Inj. Prev. 2000, 6, 291–292. [Google Scholar] [CrossRef]
- Wegmann, H.; Orendi, I.; Singer, G.; Eberl, R.; Castellani, C.; Schalamon, J.; Till, H. The Epidemiology of Fractures in Infants – Which Accidents Are Preventable? Injury 2016, 47, 188–191. [Google Scholar] [CrossRef]
- Kokulu, K.; Algın, A.; Özdemir, S.; Akça, H.Ş. Characteristics of Injuries among Infants Who Fall from Bed. Injury 2021, 52, 281–285. [Google Scholar] [CrossRef] [PubMed]
- Ng, I.; Seow, E.; Lee, L.; Ho, L. Closed Head Injuries in Children Following the Use of a Sarong Cradle. Singapore Med. J. 1997, 38, 517–519. [Google Scholar] [PubMed]
- D’Apolito, K. Comparison of a Rocking Bed Standard Bed for Decreasing Withdrawal Symptoms in Drug-Exposed Infants. MCN Am. J. Mater. Child. Nurs. 1999, 24, 138–144. [Google Scholar] [CrossRef] [PubMed]
- Warrington, S.A.; Wright, C.M. ALSPAC Study Team Accidents and Resulting Injuries in Premobile Infants: Data from the ALSPAC Study. Arch. Dis. Child. 2001, 85, 104–107. [Google Scholar] [CrossRef]
- Veselovský, J.; Baďura, R. Slovakian Folk Wooden Cradle Design, Construction, Typology and Kinematics. Acta Fac. Xylologiae 2017, 59, 155–1666. [Google Scholar] [CrossRef]
- Anderson, W. A Plea for Uniformity in the Delimitation of the Regions of the Abdomen. J Anat Physiol 1892, 26, 543–547. [Google Scholar]
- Lu, C.-H.; Luo, C.-H.; Chen, Y.-J.; Yeh, T.-F. An Automatic Swinging Instrument for Better Neonatal Growing Environment. Rev. Sci. Instrum. 1997, 68, 3192–3196. [Google Scholar] [CrossRef]
- Ching-Hsing, L.; Cheng-Hsing, L.; Yung-Jung, C.; Tsu-Fuh, Y. Adaptive Cradle for the Neonatal Growth. In Proceedings of the 20th Annual International Conference of the IEEE Engineering in Medicine and Biology Society, Hong Kong, China, 1 November 1998; Volume 20, pp. 1803–1807. [Google Scholar]
- Burunkaya, M.; Güler, İ. Remote Control of Microcontroller-Based Infant Stimulating System. J. Med. Syst. 2000, 24, 131–140. [Google Scholar] [CrossRef]
- Hu, Y.; Gui, W. Adaptive Sway Control for Baby Bassinet Based on Artificial Metabolic Algorithm. In Proceedings of the 2009 Chinese Control and Decision Conference, Guilin, China, 17–19 June 2009; pp. 2426–2429. [Google Scholar]
- Bang, S.; Lam, R.; LoCicero, N. Rock Me Baby: The Automatic Baby Rocker; San Jose State University, Department of Mechanical and Aerospace Engineering: San Jose, CA, USA, 2011. [Google Scholar]
- Sudharsanan, S.; Karthikeyan, B. The Design of a Real-Time Accelerometer-Based Baby Sleeping Position Monitoring and Correction System. IJBET 2013, 12, 189. [Google Scholar] [CrossRef]
- Chao, C.-T.; Wang, C.-W.; Chiou, J.-S.; Wang, C.-J. An Arduino-Based Resonant Cradle Design with Infant Cries Recognition. Sensors 2015, 15, 18934–18949. [Google Scholar] [CrossRef]
- Bhatnagar, N.; Shinghal, K.; Saxena, A.; Tiwari, N.; Bhatnagar, S.; Kumar, S. Design of Automatic & Indigenous E-Cradle. Imp. J. Interdiscip. Res. 2016, 2, 328–333. [Google Scholar]
- Elmas, F.; Yilmaz, A.; Garip, M. Rocking Motion of the Baby Sleeping on the Mother’s Lap: Modeling and Prototype Automatic Swing Cradle Design. In Proceedings of the 2017 Electric Electronics, Computer Science, Biomedical Engineerings’ Meeting (EBBT), Istanbul, Turkey, 20 April 2017; pp. 1–4. [Google Scholar]
- Liu, Y.; Zheng, D.; Lin, T.; Liu, X.; Wang, D.; Hopfgartner, F. Smart Crib Control System Based on Sentiment Analysis. In Proceedings of the 2018 IEEE 16th Intl Conf on Dependable, Autonomic and Secure Computing, 16th Intl Conf on Pervasive Intelligence and Computing, 4th Intl Conf on Big Data Intelligence and Computing and Cyber Science and Technology Congress(DASC/PiCom/DataCom/CyberSciTech), Athens, Greece, 12 August 2018; pp. 222–229. [Google Scholar]
- Anish, M.N.; Ajith, T.G.; Ashraf, A.; Shaji, R.; Sangeetha, C. Infant Cry Detection Based On Artificial Neural Network for an Intelligent Baby Cradle. In Proceedings of the 2019 International Conference on Intelligent Computing and Control Systems (ICCS), Madurai, India, 5 May 2019; pp. 27–30. [Google Scholar]
- Jabbar, W.A.; Shang, H.K.; Hamid, S.N.I.S.; Almohammedi, A.A.; Ramli, R.M.; Ali, M.A.H. IoT-BBMS: Internet of Things-Based Baby Monitoring System for Smart Cradle. IEEE Access 2019, 7, 93791–93805. [Google Scholar] [CrossRef]
- Nasimsha, N.; Kumar, G.M.; Rajalakshmi, T.; Gafoor, E.R. Automated Cradle with Incubator for Infants. Biomed. Eng. Appl. Basis Commun. 2020, 32, 2050037. [Google Scholar] [CrossRef]
- Prusty, V.; Rath, A.; Biswal, P.K.; Rout, K.K. Internet of Things Based Smart Baby Cradle. In Innovative Data Communication Technologies and Application; Lecture Notes on Data Engineering and Communications Technologies; Raj, J.S., Bashar, A., Ramson, S.R.J., Eds.; Springer International Publishing: Cham, Switzerland, 2020; Volume 46, pp. 793–799. ISBN 978-3-030-38039-7. [Google Scholar]
- Duman, U.; Aydin, E. IoT Based Baby Cradle System with Real Time Data Tracking. In Proceedings of the 2020 5th International Conference on Computer Science and Engineering (UBMK), Diyarbakır, Turkey, 9 September 2020; pp. 274–279. [Google Scholar]
- Shahadi, H.I.; Muhsen, D.H.; Haider, H.T.; Taherinia, A.H. Design and Implementation of a Smart Baby Crib. IOP Conf. Ser. Mater. Sci. Eng. 2020, 671, 012050. [Google Scholar] [CrossRef]
- Devi, R. Design and Development of IOT Based Baby Cradle. In Proceedings of the International Conference on Emerging Technologies: AI, IoT and CPS for Science & Technology Applications; CEUR Workshop Proceedings (CEUR-WS.org): Chandigarh, India, 2021; Volume 3058, p. 17. [Google Scholar]
- Pratap, N.L.; Anuroop, K.; Devi, P.N.; Sandeep, A.; Nalajala, S. IoT Based Smart Cradle for Baby Monitoring System. In Proceedings of the 2021 6th International Conference on Inventive Computation Technologies (ICICT), Coimbatore, India, 20 January 2021; pp. 1298–1303. [Google Scholar]
- Malhotra, R.; Bansal, I.; Muskan; Sandhu, M. The Smart Anti COVID Cradle with Geometrical Interventions. In Proceedings of the AIP Conference Proceedings 2357; AIP Publishing: Rajpura, India, 2022; p. 100014. [Google Scholar]
- Kumar, V.S.; Pullagura, L.; Kumari, N.V.; Pooja Nayak, S.; Devi, B.P.; Alharbi, A.; Asakipaam, S.A. Internet of Things-Based Patient Cradle System with an Android App for Baby Monitoring with Machine Learning. Wirel. Commun. Mob. Comput. 2022, 2022, 1–11. [Google Scholar] [CrossRef]
- Reyes-Galaviz, O.F.; Cano-Ortiz, S.D.; Reyes-García, C.A. Evolutionary-Neural System to Classify Infant Cry Units for Pathologies Identification in Recently Born Babies. In Proceedings of the 2008 Seventh Mexican International Conference on Artificial Intelligence, Mexico, Mexico, 27 October 2008; pp. 330–335. [Google Scholar]
- Saraswathy, J.; Hariharan, M.; Yaacob, S.; Khairunizam, W. Automatic Classification of Infant Cry: A Review. In Proceedings of the 2012 International Conference on Biomedical Engineering (ICoBE), Penang, Malaysia, 27 February 2012; pp. 543–548. [Google Scholar]
- Zamzmi, G.; Kasturi, R.; Goldgof, D.; Zhi, R.; Ashmeade, T.; Sun, Y. A Review of Automated Pain Assessment in Infants: Features, Classification Tasks, and Databases. IEEE Rev. Biomed. Eng. 2018, 11, 77–96. [Google Scholar] [CrossRef]
- Ji, C.; Mudiyanselage, T.B.; Gao, Y.; Pan, Y. A Review of Infant Cry Analysis and Classification. J. Audio Speech Music Proc. 2021, 2021, 8. [Google Scholar] [CrossRef]
- Gedliczka, A.; Pochopień, P. Atlas Miar Człowieka: Dane do Projektowania i Oceny Ergonomicznej: Antropometria, Biomechanika, Przestrzeń Pracy, Wymiary Bezpieczeństwa/Atlas of Human Measures: Data for Ergonomic Design and Assessment: Anthropometry, Biomechanics, Work Space, Safety Dimensions; Centralny Instytut Ochrony Pracy: Warszawa, Poland, 2001; ISBN 978-83-88703-38-6. [Google Scholar]
- Forczek, W.; Staszkiewicz, R. Changes of kinematic gait parameters due to pregnancy. Acta Bioeng. Biomech. 2012, 14, 113–119. [Google Scholar]
- Branco, M.; Santos-Rocha, R.; Aguiar, L.; Vieira, F.; Veloso, A. Kinematic Analysis of Gait in the Second and Third Trimesters of Pregnancy. J. Pregnancy 2013, 2013, 1–9. [Google Scholar] [CrossRef]
- Carpentier, J.; Benallegue, M.; Laumond, J.-P. On the Centre of Mass Motion in Human Walking. Int. J. Autom. Comput 2017, 14, 542–551. [Google Scholar] [CrossRef]
- Jansen, K.; De Groote, F.; Duysens, J.; Jonkers, I. How Gravity and Muscle Action Control Mediolateral Center of Mass Excursion during Slow Walking: A Simulation Study. Gait Posture 2014, 39, 91–97. [Google Scholar] [CrossRef]
- Brownjohn, J.M.W.; Zheng, X. Discussion of Human Resonant Frequency. In Proceedings of the Second International Conference on Experimental Mechanics; Chau, F.S., Quan, C., Eds.; The International Society for Optical Engineering: Bellingham, WA, USA, 2001; Volume 4317, pp. 469–474. [Google Scholar]
- Lucas, L.K.; Ko, Y.H. Modelling of the Human Body Under the Exposure to Recumbent Whole-Body Vibration. IOP Conf. Ser. Mater. Sci. Eng. 2020, 815, 012015. [Google Scholar] [CrossRef]
- Byrne, J.M.; Horowitz, F.D. Rocking as a Soothing Intervention: The Influence of Direction and Type of Movement. Infant Behav. Dev. 1981, 4, 207–218. [Google Scholar] [CrossRef]
- Vrugt, D.T.; Pederson, D.R. The Effects of Vertical Rocking Frequencies on the Arousal Level in Two-Month-Old Infants. Child Dev. 1973, 44, 205. [Google Scholar] [CrossRef] [PubMed]
- Thomas, S. Soothing Crying Babies and Preventing Shaken Baby Syndrome. Inter. J. Nurs. Educ. 2016, 8, 34. [Google Scholar] [CrossRef]
- Provasi, J.; Blanc, L.; Carchon, I. The Importance of Rhythmic Stimulation for Preterm Infants in the NICU. Children 2021, 8, 660. [Google Scholar] [CrossRef]
- Roach, J.A. Newborn Stimulation. Awhonn Lifelines 2003, 7, 530–535. [Google Scholar] [CrossRef] [PubMed]
- Esposito, G.; Yoshida, S.; Ohnishi, R.; Tsuneoka, Y.; Rostagno, M.; Del Carmen Rostagno, M.; Yokota, S.; Okabe, S.; Kamiya, K.; Hoshino, M.; et al. Infant Calming Responses during Maternal Carrying in Humans and Mice. Curr. Biol. 2013, 23, 739–745. [Google Scholar] [CrossRef]
- Berecz, B.; Cyrille, M.; Casselbrant, U.; Oleksak, S.; Norholt, H. Carrying Human Infants—An Evolutionary Heritage. Infant Behav. Dev. 2020, 60, 101460. [Google Scholar] [CrossRef]
- Bornstein, M.H.; Putnick, D.L.; Suwalsky, J.T.D.; Rigo, P.; Esposito, G.; Swain, J.E.; Su, X.; Du, X.; Zhang, K.; Cot, L.R.; et al. Neurobiology of Culturally Common Maternal Responses to Infant Cry. In Parenting: Selected Writings of Marc H. Bornstein; World Library of Psychologists; Routledge: New York, NY, USA, 2022; p. 18. ISBN 978-1-00-316757-0. [Google Scholar]
Publisher’s Note: MDPI stays neutral with regard to jurisdictional claims in published maps and institutional affiliations. |
© 2022 by the authors. Licensee MDPI, Basel, Switzerland. This article is an open access article distributed under the terms and conditions of the Creative Commons Attribution (CC BY) license (https://creativecommons.org/licenses/by/4.0/).











